|
|
(21), (22) Заявка: 2008117234/28, 29.04.2008
(24) Дата начала отсчета срока действия патента:
29.04.2008
(46) Опубликовано: 27.12.2009
(56) Список документов, цитированных в отчете о поиске:
ЦИКУЛИН М.А. и др. Излучательные свойства ударных волн в газах, М., Наука, 1977, с.49. RU 2232388 С2, 10.07.2004. RU 2168158 С2, 27.05.2001. SU 1514134 C, 30.03.1994. SU 610053 А, 30.05.1978. US 3851173 А, 26.11.1974.
Адрес для переписки:
607188, Нижегородская обл., г. Саров, пр. Мира, 37, ФГУП “РФЯЦ-ВНИИЭФ”, начальнику ОПИНТИ
|
(72) Автор(ы):
Егоров Владимир Васильевич (RU), Осипов Роберт Степанович (RU), Цыганов Вячеслав Александрович (RU)
(73) Патентообладатель(и):
Российская Федерация, от имени которой выступает государственный заказчик – Государственная корпорация по атомной энергии “Росатом” (RU), Федеральное государственное унитарное предприятие “Российский федеральный ядерный центр – Всероссийский научно-исследовательский институт экспериментальной физики” – ФГУП “РФЯЦ-ВНИИЭФ” (RU)
|
(54) СПОСОБ ОПРЕДЕЛЕНИЯ ПАРАМЕТРОВ УДАРНОЙ ВОЛНЫ И УСТРОЙСТВО ИОНИЗАЦИОННОГО ТИПА ДЛЯ РЕГИСТРАЦИИ ИНФРАКРАСНОГО ИЗЛУЧЕНИЯ
(57) Реферат:
Изобретение относится к измерительной технике и может использоваться для регистрации быстропротекающих процессов и определения параметров детонационной и ударной волн. При ударноволновом воздействии на исследуемую область регистрируют электромагнитное излучение, сопровождающее распространяющуюся в области исследования ударную волну. При этом предварительно проецируют область исследования на фотоприемник и охлаждают его до достижения температуры фотоприемника минимального стационарного значения, соответствующего температуре азота, использующегося в качестве хладагента и находящегося в твердом агрегатном состоянии. Регистрацию электромагнитного излучения осуществляют по инфракрасной части электромагнитного спектра путем преобразования его в видимое излучение. В качестве устройства фоторегистрации используют полупроводниковое устройство ионизационного типа, содержащее фотоприемник, систему его охлаждения и устройство контроля фототока фотоприемника. Техническим результатом является расширение функциональных возможностей способа и устройства. 2 н.п. ф-лы, 3 ил.
Изобретение относится к измерительной технике и может использоваться для регистрации быстропротекающих процессов, например взрыв, горение, быстрое взаимодействие материалов между собой, разряд, распространение детонационных и ударных волн, излучение источников электромагнитного излучения и т.д., а конкретно к способам и устройствам определения параметров ударных и детонационных волн (скорости движения, распределение в пространстве и во времени температуры и плотности давления, пространственной структуры, дифракции и интерференции волн и т.д.).
Известен из описания к патенту России 2168158 (опубликовано 27.05.01 г.) способ регистрации давления и перемещения ударной волны. Данный способ основан на том, что в исследуемой диэлектрической среде возбуждают ударную волну (УВ) путем соударения с металлической пластиной и регистрируют напряжение на датчике, размещенном в этой среде, по которому определяют давление и момент времени прихода к датчику фронта УВ. До прихода к датчику УВ регистрируют ЭДС электромагнитной индукции, обусловленную изменением магнитного поля датчика из-за движения пластины, по которой определяют моменты времени совпадения обращенной к датчику поверхности пластины с фронтом падающей или отраженной УВ.
Недостатком данного способа является то, что он не позволяет регистрировать разнодинамичность УВ, температуру и пространственно-временное распределение, пространственную структуру УВ, фазовые переходы в веществе при воздействии на него УВ. Размещение датчика в области распространения УВ вносит искажения в измерения и приводит к его уничтожению, что негативно сказывается на результатах.
Другой способ определения параметров ударной волны известен из описания к патенту России 2232388 (опубликовано 10.07.04 г.). Данный способ включает ударноволновое воздейсвие на исследуемую область и регистрацию электромагнитного излучения, сопровождающего фронт распространяющейся в данной области УВ, путем направления потока излучения в устройство регистрации, чувствительное к нему, и фиксирования момента его появления, после чего определяют требуемые для конкретного исследования параметры УВ. Известный способ позволяет определять скорость детонации маломощных детонирующих шнуров. Для этого устройство определения содержит два фоторезистора, рабочий диапазон которых лежит в области длин волн видимого излучения электромагнитного спектра, установленных на определенном расстоянии друг от друга, источник питания и хронограф, соединенные между собой, средства крепления волновода между фоторезисторами и инициирующее устройство. В качестве хронографа применен цифровой электронный измеритель времени, запуск и остановка которого осуществляются сигналами от фоторезисторов, реагирующих на световое излучение, проходящего над ними фронта детонационной волны волновода, инициированного при помощи инициирующего устройства. Скорость детонации определяют как среднюю скорость прохождения детонационной волной расстояния между фоторезисторами.
Недостатком известного способа является ограниченная возможность его применения, связанная с регистрацией общего свечения профиля фронта УВ в фиксированных точках по ходу движения УВ, что позволяет определять скорость движения фронта УВ, однако отсутствует возможность регистрации пространственно-временного распределения энергии излучения, а также абсолютных значений энергии, мощности, температуры, давления и разнодинамичности. Следует также сказать, что регистрация излучения осуществляется под углом 90° по отношению к нормали фронта УВ, т.к. индикатриса излучения равна нулю и датчик регистрирует излучение от неровностей фронта, при плоском фронте УВ излучение может быть не зарегистрировано.
Известен способ определения параметров УВ, который выбран в качестве прототипа, т.к. по количеству сходных признаков и решаемой задаче является наиболее близким аналогом к заявляемому («Излучательные свойства ударных волн», Цикулин М.А., Попов Е.Г. Издательство Наука, Москва 1977 г., стр.49). Данный способ включает ударноволновое воздействие на исследуемую область и регистрацию электромагнитного излучения видимого диапазона, сопровождающего фронт ударной волны, распространяющийся в этой области, путем направления потока излучения в устройство фоторегистрации, чувствительное к нему, и фиксирования распределения энергии излучения в пространстве и во времени, после чего определяют требуемые для конкретного исследования параметры ударной волны. Недостатком известного способа является невозможность регистрации электромагнитного излучения при температуре ниже 10000 К, что ограничивает область применения.
Известно устройство ионизационного типа для фотографической регистрации ИК-излучения с названием «Устройство для получения изображений» по авторскому свидетельству 610053, опубликованному 05.06.78 г. в Бюллетене 21. Данное устройство включает в себя расположенные по ходу излучения систему фокусировки, газоразрядную ячейку, состоящую из фотоприемника и прозрачного контрэлектрода с газоразрядным промежутком между ними, расположенных в газонаполняемой камере, систему охлаждения фотоприемника, узел откачки и нагнетания газа и регистрирующее устройство. Внутренняя поверхность приемника покрыта светонепроницаемым слоем анизатронной проводимости, на который нанесено вторично-эмиссионное покрытие. Данное устройство обеспечивает фотографическую регистрацию ИК-излучения объектов, имеющих температуру не ниже 400 К.
Наиболее близким к заявляемому изобретению является устройство ионизационного типа для фотографической регистрации ИК-излучения (а.с. 1514134, опубликовано 30.03.1994 г.). Данное устройство аналогично предыдущему, отличие его конструкции от предыдущей в том, что она снабжена экранирующей камерой с фокусирующим элементом, расположенной совместно с газонаполненной камерой в вакуумированном корпусе, при этом система охлаждения выполнена в виде магистрали прокачки жидкого гелия, содержащей три теплообменника, установленных с возможностью теплового контакта соответственно с фотоприемником и стенками газонаполненной и экранирующей камер, а узел откачки газа снабжен регулятором расхода и выполнен в виде рукава магистрали прокачки жидкого гелия. Данное устройство обеспечивает фотографическую регистрацию ИК-излучения объектов, имеющих температуру ниже 400 К, вплоть до 70 К.
Вышепредставленные известные устройства включают в свою конструкцию постоянные источники питания и предназначены для регистрации ИК-излучения при низких температурах.
Недостатками известного устройства являются:
– техническая сложность охлаждения до температуры 55 К оптических каналов, имеющих длину до 20 метров, жидким гелием в условиях взрывного эксперимента, которое необходимо для устранения фонового излучения;
– объединение в едином объеме экранирующей и газоразрядной камер, устройства фоторегистрации с наблюдаемым объектом приводит к разрушению перечисленного оборудования, что существенно сужает функциональные возможности способа;
– использование источника постоянного питания также ограничивает функциональные возможности известного устройства, например невозможно осуществить фоторегистрацию излучения при исследовании газодинамических процессов, т.к. при постоянном питании световой сигнал быстропротекающих газодинамических процессов подавляется длительным световым излучением продуктов взрыва;
– хранение и использование жидкого гелия для охлаждения усложняет исследования в лабораторных условиях и ограничивает область применения;
– невозможность исследования воздействия УВ на материалы и устройства в естественных условиях, без охлаждения, при котором вещества изменяют свои свойства;
– ограничение на использование ряда взрывчатых веществ (ВВ), т.к. охлаждение до указанных выше температур может приводить к непредсказуемости поведения каких-то типов ВВ.
Данное изобретение решает задачу создания способа и устройства для фоторегистрации электромагнитного излучения инфракрасного диапазона (1-11 мкм), сопровождающего ударно-волновые процессы, протекающие в интервале времени 0,2-30 мкс при температурах до 1000 К, для определения пространственно-временного распределения температуры, давления и разнодинамичности исследуемого процесса, а также других параметров УВ (скорости, эффектов, связанных с откольными явлениями, фазовыми переходами при воздействии и распространении УВ и т.д.).
Техническим результатом при решении данной задачи является расширение функциональных возможностей способа определения параметров ударной волны и устройства регистрации.
Указанный технический результат достигается тем, что по сравнению с известным способом определения параметров ударной волны, включающим ударноволновое воздействие на исследуемую область и регистрацию электромагнитного излучения, сопровождающего фронт распространяющейся в данной области ударной волны, путем направления потока излучения в фоторегистратор, чувствительный к нему, и фиксирования распределения энергии излучения в пространстве и во времени, определение требуемых для конкретного исследования параметров ударной волны, отличительным является то, что регистрацию электромагнитного излучения осуществляют путем преобразования волн инфракрасной части электромагнитного спектра в видимое излучение, при этом в качестве фоторегистратора используют устройство ионизационного типа, фотоприемник которого охлаждают до начала фоторегистрации путем заполнения теплообменника, находящегося в тепловом контакте с ним, жидким азотом до достижения температуры фотоприемника минимального стационарного значения, после чего теплообменник герметизируют от окружающей среды и производят откачку паров азота до достижения температуры фотоприемника второго минимального стационарного значения, соответствующего охлаждению азота в нем до твердого агрегатного состояния, причем охлаждение фотоприемника в фазе откачки паров азота осуществляют при периодической подаче импульсов питания на фоторегистратор и контроле величины темнового тока фотоприемника, и при достижении им стационарного минимального значения производят подачу импульсного питания на фоторегистратор во время излучения ударной волны, одновременно с фоторегистрацией определяют мощность излучения по величине фототока фотоприемника.
Также указанный технический результат достигается тем, что по сравнению с известным устройством ионизационного типа для регистрации инфракрасного излучения, содержащим источник питания и фотоприемник с системой охлаждения, в которую входит теплообменник, установленный с возможностью теплового контакта с фотоприемником, отличительным является то, что в качестве источника питания используют импульсный источник тока с синхронизатором времени подачи импульса питания, со временем излучения ударной волны в исследуемой области, в качестве хладагента в системе охлаждения фотоприемника используют жидкий азот с возможностью заполнения им теплообменника и перевода его в твердое агрегатное состояние, устройство дополнительно снабжено узлом откачки паров азота и устройством контроля тока фотоприемника, выполненным в виде сопротивления, последовательно включенного в цепь питания фотоприемника, и измерительного устройства, с возможностью определения мощности излучения по величине фототока фотоприемника в процессе его охлаждения и в процессе фоторегистрации излучения.
Осуществление регистрации электромагнитного излучения путем преобразования волн инфракрасной части электромагнитного спектра в видимое излучение и использование в качестве фоторегистратора устройства ионизационного типа позволяет расширить спектр регистрируемых параметров, для чего был выбран спектральный диапазон излучения 1-11 мкм, который характерен тем, что дает возможность исследовать газодинамические процессы, так, например, при снижении температуры в газодинамических процессах, основная энергия излучения смещается в этот диапазон и при изменении температуры с 10000 К до 1500 К процент энергии, излучаемый в указанном выше диапазоне, повышается с 11% до 90%. Это позволяет компенсировать падение мощности излучения при низких температурах и тем самым поднимает чувствительность способа.
Охлаждение фотоприемника до начала фоторегистрации путем заполнения теплообменника, находящегося в тепловом контакте с ним, жидким азотом позволяет снизить величину темнового тока фоторегистратора в десятки раз и расширить диапазон длительностей экспозиций ИК-излучения с 1 мкс до 30 мкс, а также повысить чувствительность способа (устройства).
Применение в системе охлаждения фотоприемника в качестве хладагента жидкого азота дает возможность довести охлаждение до температуры, которая способствует снижению фонового почернения фотопленки, повышению ее чувствительности и расширению диапазона экспозиций.
Охлаждение фотоприемника в фазе откачки паров азота при периодической подаче импульсов питания на фоторегистратор и контроле величины темнового тока фотоприемника, а при достижении им стационарного минимального значения подача импульсного питания на фоторегистратор во время излучения ударной волны позволяет управлять чувствительностью фоторегистратора и защитить его от световых потоков, сопровождающих взрыв.
Герметизация теплообменника от окружающей среды и откачка паров азота до достижения температуры фотоприемника второго минимального стационарного значения, соответствующего охлаждению азота в нем до твердого агрегатного состояния, позволяет обеспечить оптимальную величину скорости откачки паров азота, которая не должна быть быстрой и приводящей к откачке азота в жидкой фазе, а также не должна быть медленной, которая не может позволить достичь азоту твердого агрегатного состояния. Контроль снижения величины темнового тока фоторегистратора позволяет контролировать скорость откачки.
Последовательное включение сопротивления в цепь питания фотоприемника и наличие измерительного устройства для определения мощности излучения по величине фототока фотоприемника в процессе его охлаждения и в процессе фоторегистрации излучения позволяет осуществлять контроль глубины охлаждения по величине напряжения на сопротивлении, при протекании по нему темнового тока, а также определить динамику разогрева исследуемой области, в которой осуществляются газодинамические процессы.
Применение в качестве источника питания импульсного источника тока с синхронизатором времени подачи импульса питания, со временем излучения ударной волны в исследуемой области позволяет осуществлять регистрацию только во времени протекания ударно-волнового процесса или в течение отдельной фазы данного процесса, что защищает устройство регистрации от световых потоков, сопровождающих взрыв.
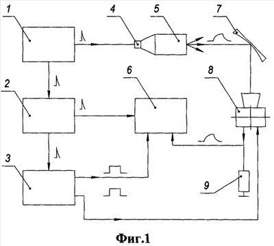
На фиг.1 изображена схема, поясняющая заявляемый способ определения параметров ударной волны;
На фиг.2 представлена принципиальная схема полупроводниковой камеры ионизационного типа для регистрации инфракрасного излучения;
На фиг.3 схематично представлен теплообменник с узлом откачки паров азота, входящие в систему охлаждения фотоприемника.
Принятые обозначения:
1 – высоковольтная установка для подрыва капсюля-детонатора;
2 – синхронизатор;
3 – импульсный источник питания;
4 – капсюль-детонатор;
5 – заряд ВВ;
6 – двухлучевой осциллограф;
7 – фокусирующее зеркало;
8 – ПКИТ;
9 – сигнальное сопротивление;
10 – прозрачный электрод для ИК-излучения;
11 – фотоприемник;
12 – газоразрядный промежуток;
13 – прозрачный электрод для видимого света;
14 – фотопленка;
15 – стенки теплообменника;
16 – герметизирующий фланец;
17 – наливное отверстие;
18 – клапан;
19 – магистраль откачки паров азота;
20 – штуцер;
21 – насос;
22 – жидкий азот.
В качестве примера конкретного выполнения заявляемого устройства может служить полупроводниковая камера ионизационного типа (ПКИТ), включающая импульсный источник питания с синхронизатором времени подачи импульса питания, со временем излучения ударной волны в исследуемой области и фотоприемник с системой охлаждения, в которую входит теплообменник, установленный с возможностью теплового контакта с фотоприемником. Для фоторегистрации используют пленку, чувствительную к видимому спектру излучения – РФ-3. ПКИТ снабжена фокусирующим зеркалом, отражающим в ИК-свете и служащим для переноса изображения исследуемой области, где протекает газодинамический процесс, в плоскость фотоприемника. Входное окно ПКИТ выполнено из фтористого бария, прозрачного к спектру излучения с длинами волн 0,9-11 мкм, для устранения его запотевания во время охлаждения фотоприемника, осуществляют его подогрев или обдув вентилятором. ПКИТ состоит из прозрачного к ИК-излучению и видимого свету электродов, фотоприемника, выполненного из кремния, легированного индием, и фотопленки. Между фотоприемником и электродом, прозрачным к видимому свету, находится газоразрядный промежуток, предназначенный для преобразования пространственной проводимости фотоприемника в видимое свечение газового разряда. Теплообменник системы охлаждения фотоприемника представляет собой сосуд Дьюара, а в качестве хладагента используют жидкий азот с возможностью заполнения им теплообменника и перевода его в твердое агрегатное состояние. Для перевода азота из жидкого агрегатного состояния в твердое агрегатное состояние в верхней части сосуда Дьюара предусмотрен герметичный фланец с наливным отверстием, клапаном и штуцером, соединенным магистралью с насосом. Клапан служит для герметизации наливного отверстия после заливки жидкого азота в теплообменник, а штуцер с насосом является узлом откачки паров азота. С целью безопасности магистраль для откачки паров азота может быть выполнена в виде резинового шланга, выполняющего роль выпускного клапана в случае прекращения или существенного снижения скорости откачки. ПКИТ снабжена устройством контроля тока фотоприемника, выполненным в виде сопротивления, последовательно включенного в цепь питания фотоприемника, и измерительного устройства, с возможностью определения мощности излучения по величине фототока фотоприемника в процессе его охлаждения и в процессе фоторегистрации излучения. В качестве измерительного устройства используют двухлучевой осциллограф.
Процесс определения параметров ударной волны в исследуемой области путем фоторегистрации электромагнитного излучения, сопровождающего фронт распространяющейся в данной области ударной волны, осуществляется следующим образом.
Областью исследования при использовании заявляемого изобретения является любая ударно-волновая поверхность, любое вещество в любом агрегатном состоянии. Ударно-волновым устройством воздействия на область исследования может являться любое устройство, генерирующее УВ, например разгонное устройство, пучок протонов, взрывное устройство, включающее заряд взрывчатого вещества (ВВ) с капсюлем-детонатором, и т.д. Меняя область исследования и конструкцию ударно-волнового устройства, можно определять следующие параметры УВ и физических явлений, сопровождающих УВ, например температуру, давление, разнодинамичность УВ, столкновения УВ, последовательность выхода УВ, откольные явления при воздействии УВ, фазовые переходы и т.д.
Рассмотрим опыт с применением одного из вышеперечисленных вариантов ударно-волновых устройств – заряд ВВ с капсюлем-детонатором. Параметры УВ определяют путем преобразования волн инфракрасной части электромагнитного спектра в видимое излучение. Преобразование осуществляют с помощью ПКИТ (8, фиг.1), которую калибруют до проведения опыта и при этом используют оптическую схему, как и для фоторегистрации.
Калибровочные отметки наносят на фотопленку (14, фиг.2), которую потом используют для фоторегистрации. Юстировку поверхности, которая при проведении опыта станет источником ИК-излучения при выходе на нее УВ, производят до опыта, в видимом свете по шаблону ПКИТ, в котором фотоприемник (11, фиг.2) заменен, например, папиросной бумагой. ПКИТ впоследствии устанавливается на место шаблона. Охлаждение фотоприемника (11, фиг.2) ПКИТ (8, фиг.1) осуществляют до проведения опыта. Сосуд Дьюара выполнен с двумя стенками (15, фиг.2), объем между которыми отвакуумирован. В сосуд Дьюара через наливное отверстие (17, фиг.3) при открытом клапане (18, фиг.3) заливают жидкий азот (22, фиг.3) до достижения температуры фотоприемника первого минимального стационарного значения, соответствующего температуре жидкого азота 77 К. Дальнейшее охлаждение азота в сосуде осуществляют путем откачки его паров насосом (21, фиг.3) через штуцер (20, фиг.3) и магистраль (19, фиг.3), в качестве которой используют резиновый шланг, обеспечивающий безопасность процесса откачки. Скорость откачки паров азота контролируют по величине фототока и длительности пребывания его на минимальном уровне, соответствующем температуре азота в твердом агрегатном состоянии. Стабилизацию температуры охлаждения фотоприемника осуществляют путем герметизации азота от окружающей среды за счет устранения основного теплопритока через верхнюю часть сосуда Дьюара и образования буферной вакуумной области между поверхностью азота и фланцем сосуда (16, фиг.3).
В сосуде Дьюара азот охлаждается до температуры 63 К и переходит в твердое агрегатное состояние, а температура фотоприемника достигает второго минимального стационарного значения, это позволяет расширить диапазон длительностей экспозиции с 1 мкс до 30 мкс. Контроль величины фототока осуществляют по величине напряжения на сигнальном сопротивлении (9, фиг.1), включенном в цепь питания фотоприемника, при подаче импульса питания на него от импульсного источника питания (3, фиг.1).
Объем сосуда и скорость откачки подбираются экспериментально таким образом, чтобы время пребывания фотоприемника в охлажденном состоянии, соответствующем пребыванию азота в твердом агрегатном состоянии с температурой 63 К, было достаточным для осуществления фоторегистрации при проведении опыта. Величина сигнального сопротивления (Rc) должна быть намного меньше суммарной величины сопротивления импульсного источника питания (около 50 Ом) и сопротивления фотоприемника (100 Ом и более). Для регистрации ИК-излучения, сопровождающего УВ, в нужное время и с необходимой длительностью экспозиции осуществляют управление чувствительностью ПКИТ за счет выбора момента и длительности подачи импульса питания. Начало экспозиции синхронизуется с временем подрыва капсюля детонатора и заряда ВВ (4, 5, фиг.1). Запуск импульсного источника питания (3, фиг.1) осуществляют через синхронизатор (2, фиг.1), представляющий собой двухканальную электрическую линию задержки, от электрического импульса высоковольтной установки (1, фиг.1). Одновременно этим же импульсом подрывают капсюль-детонатор (4, фиг.1). Время задержки импульса питания, которое определяется задержкой в синхронизаторе, соответствует времени задержки выхода УВ на поверхность, на которую предварительно оптически через фокусирующее зеркало (7, фиг.1) настроена ПКИТ. Возникающее излучение при ударно-волновом процессе поступает через фокусирующее зеркало (7, фиг.1) на фотоприемник (11, фиг.2).
ПК-излучение, к которому чувствителен фотоприемник, образует в нем распределение проводимости. При приложении к электродам (10, 13, фиг.2) импульсного напряжения от источника питания (3, фиг.2) в газоразрядном промежутке (12, фиг.2) образуется пространственный газовый разряд, свечение которого соответствует распределению проводимости в фотоприемнике (11, фиг.2). Видимое свечение газового разряда регистрируется фотопленкой (14, фиг.2).
Длительность экспозиции соответствует длительности импульса питания. При длительности импульса питания, превышающего по величине длительность излучения, осуществляют интегральную фоторегистрацию процесса, а при меньшей величине осуществляют фоторегистрацию отдельной фазы процесса излучения. Регистрацию излучения осуществляют в спектральном диапазоне 1-11 мкм. Во время фоторегистрации осуществляют осциллографический контроль мощности излучения по импульсу напряжения, возникающего на сигнальном сопротивлении (9, фиг.2) при протекании фототока между электродами (10, 13, фиг.2), который регистрируют на одном из лучей осциллографа (6, фиг.1), а на другом луче регистрируют время подачи и длительность импульса питания, подаваемого на ПКИТ. Такой совместный контроль позволяет определить начало и длительность экспозиции ИК-излучения на фотопленку (14, фиг.3) ПКИТ, а также распределение мощности ИК-излучения во времени. Фотография ИК-излучения УВ с регистрируемой поверхности, получаемая на фотопленке, позволяет определить распределение плотности энергии по излучающей поверхности. Сравнивая плотность почернения на данной фотографии с плотностью почернения, получаемой при фотографии эталонного источника, определяют абсолютную энергию излучения, по которой определяют температуру излучающей поверхности, а также ее распределение по поверхности. По распределению плотности почернения на фотографии регистрируемой поверхности определяют разнодинамичность УВ.
Таким образом, по сравнению с прототипом заявляемый способ определения параметров УВ и устройство фоторегистрации обладают более широкими функциональными возможностями и позволяют исследовать ударно-волновые процессы, протекающие во временном интервале 0,2-30 мкс при температурах от 1000 К и более, а также регистрировать как фазу процесса, например взаимодействия УВ с областью исследования, так и осуществлять интегральную фоторегистрацию процесса и определять распределение мощности излучения во времени, пространственно-временное распределение температуры, давления, разнодинамичность, скорость и т.д.
Формула изобретения
1. Способ определения параметров ударной волны, включающий ударноволновое воздействие на исследуемую область, фоторегистрацию электромагнитного излучения, сопровождающего фронт распространяющейся в данной области ударной волны, фиксирование распределения энергии излучения в пространстве и во времени и определение требуемых для конкретного исследования параметров ударной волны, отличающийся тем, что фоторегистрацию электромагнитного излучения осуществляют путем преобразования волн инфракрасной части электромагнитного спектра в видимое излучение, при этом в качестве фоторегистратора используют устройство ионизационного типа, фотоприемник которого охлаждают до начала фоторегистрации путем заполнения теплообменника, находящегося в тепловом контакте с ним, жидким азотом до достижения температуры фотоприемника минимального стационарного значения, после чего теплообменник герметизируют от окружающей среды и производят откачку паров азота до достижения температуры фотоприемника второго минимального стационарного значения, соответствующего охлаждению азота в нем до твердого агрегатного состояния, причем охлаждение фотоприемника в фазе откачки паров азота осуществляют при периодической подаче импульсов питания на фоторегистратор и контроле величины темнового тока фотоприемника, и при достижении им стационарного минимального значения производят подачу импульсного питания на фоторегистратор во время излучения ударной волны, одновременно с фоторегистрацией определяют мощность излучения по величине фототока фотоприемника.
2. Устройство ионизационного типа для регистрации инфракрасного излучения, содержащее источник питания и фотоприемник с системой охлаждения, в которую входит теплообменник, установленный с возможностью теплового контакта с фотоприемником, отличающееся тем, что в качестве источника питания используют импульсный источник тока с синхронизатором времени подачи импульса питания со временем излучения ударной волны в исследуемой области, в качестве хладагента в системе охлаждения фотоприемника используют жидкий азот с возможностью заполнения им теплообменника и перевода его в твердое агрегатное состояние, устройство дополнительно снабжено узлом откачки паров азота и устройством контроля тока фотоприемника, выполненным в виде сопротивления, последовательно включенного в цепь питания фотоприемника, и измерительного устройства.
РИСУНКИ
|
|