|
|
(21), (22) Заявка: 2008137059/28, 15.09.2008
(24) Дата начала отсчета срока действия патента:
15.09.2008
(46) Опубликовано: 27.12.2009
(56) Список документов, цитированных в отчете о поиске:
RU 2342642 C1, 27.12.2008. RU 2029264 С1, 20.02.1995. RU 2169912 C1, 27.06.2001. SU 1663460 А1, 15.07.1991.
Адрес для переписки:
440026, г.Пенза, ул. Володарского, 8/10, ОАО “НИИФИ”
|
(72) Автор(ы):
Полунин Владимир Святославович (RU), Тихомиров Дмитрий Вячеславович (RU), Шараева Вера Петровна (RU)
(73) Патентообладатель(и):
Открытое акционерное общество “Научно-исследовательский институт физических измерений” (RU)
|
(54) ДАТЧИК ДАВЛЕНИЯ
(57) Реферат:
Изобретение относится к контрольно-измерительной технике и может быть использовано для измерения давления с повышенной точностью в широком диапазоне температур. Технический результат направлен на повышение точности измерения давления во всем рабочем диапазоне температур. Датчик давления содержит корпус с закрепленной в нем мембраной. На мембране сформированы тензорезисторы, соединенные в два измерительных моста и выполненные с одинаковой топологией. Причем мосты выполнены из одного и того же материала и соединены встречно и скоммутированы таким образом, что имеют противоположное чередование тензорезисторов в части знака изменения их сопротивлений при воздействии давления. 3 ил.
Изобретение относится к контрольно-измерительной технике и может быть использовано для измерения давления с повышенной точностью в широком диапазоне температур.
Известен датчик давления, содержащий корпус с закрепленной в нем мембраной, на которой сформированы тензорезисторы, объединенные в мостовую схему, и контактные площадки, предназначенные для подключения к внешним устройствам [1].
Недостатком данного устройства является невысокая точность измерения, обусловленная неполной температурной компенсацией во всем рабочем диапазоне температур. Это связано с нелинейной зависимостью выходного сигнала, вследствие чего температурную погрешность удается скомпенсировать на определенном узком температурном участке, в то время как на других участках происходит иногда увеличение температурной погрешности.
Наиболее близким к предлагаемому по технической сущности является датчик давления, содержащий корпус с закрепленной в нем мембраной, на которой сформированы тензорезисторы, соединенные в два измерительных моста, причем оба моста выполнены с одинаковой топологией, причем тензорезисторы одного моста расположены попарно, симметрично с тензорезисторами другого моста относительно центра мембраны. Температурные коэффициенты сопротивления и тензочувствительности тензорезисторов одного моста на порядок больше соответствующих коэффициентов другого моста. Коэффициенты резисторов обоих мостов имеют один и тот же порядок [2].
Недостатком известного датчика является то, что в широком температурном диапазоне функции изменения обоих мостов имеют нелинейный характер и обычным вычитанием этих двух сигналов точность коррекции температурной погрешности не обеспечивается.
Кроме того, формирование топологии из двух тензоматериалов приводит к различной временной стабильности тензорезисторов одного моста по сравнению с тензорезисторами другого из-за неодинаковой структуры тензорезисторов. В результате чего точность измерения снижается.
Цель изобретения – повышение точности измерения давления во всем рабочем диапазоне температур за счет линеаризации температурной характеристики выходного сигнала мостовой схемы с сохранением величины выходного сигнала.
Поставленная задача достигается тем, что в датчике давления, содержащем корпус с закрепленной в нем мембраной, на которой сформированы тензорезисторы, соединенные в два измерительных моста и выполненные с одинаковой топологией, согласно изобретению мосты выполнены из одного и того материала и соединены встречно, и скоммутированы таким образом, что имеют противоположное чередование тензорезисторов в части знака изменения их сопротивлений при воздействии давления.
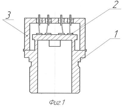
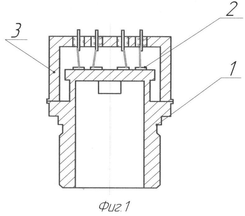
На фиг.1 показана конструкция датчика давления; на фиг.2 – размещение тензорезисторов на мембране (топология); на фиг.3 – измерительная схема.
Датчик включает корпус 1, мембрану 2, выполненную за одно целое с корпусом. На мембране сформированы два моста, защищенные от окружающей среды гермокорпусом 3. При этом один из мостов состоит из тензорезисторов R1-R4, а другой – из тензорезисторов R5-R8, причем мостовые схемы скоммутированы таким образом: в первом мосту тензорезисторы R1, R3 уменьшают свое сопротивление при воздействии давления (т.е. имеют отрицательные знаки изменения сопротивлений), а тензорезисторы R2, R4 увеличивают свое сопротивление при воздействии давления (т.е. имеют положительные знаки изменения сопротивлений), а во втором мосту тензорезисторы R5, R7, наоборот, увеличивают свое сопротивление при воздействии давления, а тензорезисторы R6, R8 уменьшают свое сопротивление при воздействии давления.
К входным диагоналям мостовых схем подводится напряжение питания Uпит. одинаковой полярности. Выходные диагонали мостовых схем соединены встречно. При таком соединении тензорезисторы с отрицательным знаком изменения сопротивлений первой мостовой схемы оказываются подключенными параллельно тензорезисторам с отрицательным знаком изменения сопротивлений второй мостовой схемы (R1||R6; R3||R8), тензорезисторы с положительным знаком изменения сопротивлений первой мостовой схемы подключаются параллельно тензорезисторам с положительным знаком изменения сопротивлений второй мостовой схемы (R2||R5; R4||R7).
Датчик работает следующим образом.
При подаче напряжения питания на мостовые схемы на их выходных диагоналях возникают начальные выходные сигналы. Так как выходные диагонали мостовых схем включены встречно, то начальные выходные сигналы их вычитаются и на выходе получается разностный сигнал, в идеальном случае равный нулю.
При подаче измеряемого давления на воспринимающую мембрану 2 последняя прогибается. Тензорезисторы R1-R8 испытывают деформацию. Вследствие этого на выходе мостовой измерительной схемы появляются выходные сигналы. Ввиду того, что тензорезисторы мостовых схем, подключенные встречно, соединены между собой с одинаковым знаком изменения сопротивления, вычитание выходных сигналов не происходит и на выходе объединенных выходных диагоналей выходной сигнал имеет величину, равную величине выходного сигнала одиночной мостовой схемы.
При влиянии на мостовые схемы температуры их начальные выходные сигналы изменяются. Так как тензорезисторы обоих мостовых схем выполнены из одного и того же материала в едином технологическом цикле и имеют одинаковую топологию, то нелинейный характер изменения начальных выходных сигналов обоих мостовых схем во всем температурном диапазоне будет иметь одинаковое значение, и следовательно, при вычитании их друг из друга нелинейный характер температурной погрешности начальных выходных сигналов обоих мостовых схем взаимно компенсируется и изменение результирующего начального выходного сигнала от температуры во всем рабочем диапазоне будет иметь линейный характер, что позволит повысить точность измерения давления за счет более полной компенсации температурной погрешности начального выходного сигнала.
Таким образом, применение данного технического решения позволяет проводить линеаризацию температурной погрешности начального выходного сигнала во всем рабочем диапазоне температур с сохранением чувствительности измерительной мостовой схемы и существенно улучшить проведение компенсации за счет выполнения тензорезисторов обоих мостовых схем с одинаковой топологией и одинаковым сопротивлением, что уменьшает технологические разбросы их характеристик.
Источники информации
1. АС 2064829 С1 «Датчик давления». Приоритет 10.11.84, опубликован 15.12.94. Бюл. 23.
2. АС 1663460 А1 «Датчик давления». Приоритет 13.12.89, опубликован 15.07.91. Бюл. 26.
Формула изобретения
Датчик давления, содержащий корпус с закрепленной в нем мембраной, на которой сформированы тензорезисторы, соединенные в два измерительных моста и выполненные с одинаковой топологией, отличающийся тем, что мосты выполнены из одного и того же материала и соединены встречно и скоммутированы таким образом, что имеют противоположное чередование тензорезисторов в части знака изменения их сопротивлений при воздействии давления.
РИСУНКИ
|
|