|
|
(21), (22) Заявка: 2008132916/28, 08.08.2008
(24) Дата начала отсчета срока действия патента:
08.08.2008
(46) Опубликовано: 27.12.2009
(56) Список документов, цитированных в отчете о поиске:
RU 48223 U1, 27.09.2005. RU 2344388 C2, 20.01.2009. RU 2337337 C2, 27.10.2008. RU 2004115780 A, 10.11.2005. RU 2004102178 A, 10.07.2005.
Адрес для переписки:
634061, г.Томск, пр. Комсомольский, 62, ОАО “Манотомь”, А.А. Щукину
|
(72) Автор(ы):
Свинолупов Юрий Григорьевич (RU), Гетц Александр Юрьевич (RU), Машкин Алексей Александрович (RU), Матросов Максим Александрович (RU)
(73) Патентообладатель(и):
Открытое акционерное общество “Манотомь” (RU)
|
(54) МАНОМЕТР
(57) Реферат:
Изобретение относится к приборостроению, в частности к области создания стрелочных манометров, термометров и других приборов, корпуса которых имеют цилиндрическую форму различного диаметра с защитным органическим стеклом, расположенным над циферблатом. Технический результат направлен на создание манометров с цилиндрическими корпусами приборов аналогичной конструкции с подсветкой шкалы для расширения области их применения. Манометр содержит цилиндрический корпус, циферблат с нанесенной на него шкалой с рабочим углом 270 градусов и нерабочим углом 90 градусов, стрелочный указатель, расположенный над циферблатом, и защитное прозрачное органическое стекло, имеющее форму диска и расположенное над циферблатом со стрелкой. Причем в защитное стекло устанавливают электрический источник света на глубину, равную размеру источника света, при этом источник света расположен в нижней нерабочей части циферблата, а по периметру цилиндрической части диска защитного стекла на внутренней торцевой поверхности выполнена требуемой глубины канавка с матовой поверхностью сторон, а часть защитного стекла перед источником света закрыта оптически непрозрачным экраном. 3 ил.
Изобретение относится к приборостроению, в частности к области создания стрелочных манометров, термометров и других приборов, корпуса которых имеют цилиндрическую форму различного диаметра с защитным органическим стеклом, расположенным над циферблатом.
В качестве аналогов могут быть использованы конструкции приборов типа МПЗУ, МП4У, ДМ 2010Сr и другие [1], а наиболее близким техническим решением является конструкция прибора МПЗУ.
Недостатком такого прибора является то, что в темных помещениях показаний приборов не видно, что ограничивает область их применения.
Изобретение направлено на создание манометров с цилиндрическими корпусами приборов аналогичной конструкции с подсветкой шкалы для расширения области их применения.
Технический результат достигается за счет того, что в конструкции манометра, имеющего цилиндрический корпус, циферблат в виде диска с нанесенной на него шкалой с рабочим углом 270 градусов и нерабочим углом 90 градусов, стрелочный указатель, расположенный над циферблатом, и защитное прозрачное органическое стекло, например, из полиметилметакрилата (далее плексиглас) [2], имеющее форму диска и расположенное над циферблатом со стрелкой, в защитное стекло устанавливают электрический источник света на глубину, равную размеру источника света, причем источник света расположен в нижней нерабочей части циферблата, а по периметру внутренней торцевой цилиндрической части диска защитного стекла выполнена канавка требуемой глубины с матовой поверхностью сторон, а часть защитного стекла перед источником света закрыта оптически не прозрачным экраном.
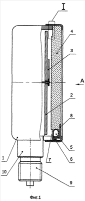
Чертеж, поясняющий суть изобретения, приведен на фиг.1, на котором изображен продольный разрез манометра, где 1 – корпус прибора, 2 – циферблат прибора, 3 – стрелочный указатель, 4 – защитное стекло, 5 – источник света с электрическими выводами 6, 7 – канавка с матовой поверхностью сторон а и б, 8 – оптически не прозрачный экран, 9 – штуцер, являющийся частью держателя 10, закрепленного неподвижно в корпусе 1; на фиг.2 увеличенно показан фрагмент I канавки 7 с матовой поверхностью сторон а и б; на фиг.3 – вид А на фиг.1 с указанием на шкале циферблата 2 рабочего угла =270° и нерабочего угла =90°.
Устройство функционирует следующим образом.
Функционирование манометра (фиг.1), содержащего цилиндрический корпус 1, циферблат 2 в виде диска с нанесенной на него шкалой с рабочим углом =270° и нерабочим углом =90° (фиг.3), стрелочный указатель 3, расположенный над циферблатом 2, и защитное оптически прозрачное органическое стекло 4, выполненное из плексигласа (далее защитное стекло), имеющее форму диска и расположенное над циферблатом 2 со стрелкой 3, с подсветкой шкалы циферблата 2 предназначено для работы прибора в затемненном помещении и осуществляется путем установки электрического источника света 5 в защитное стекло 4 на глубину, равную размеру источника света 5, причем источник света 5 расположен в нижней нерабочей части циферблата 2 (угол =90° на фиг.3), а по периметру внутренней торцевой часта диска защитного стекла 4 выполнена требуемой глубины канавка 7 с матированной поверхностью сторон а и б [3], от которых лучи света направляются внутрь [4] оптически прозрачного защитного стекла 4 и, многократно отражаясь от его стенок, идут в разных направлениях и диффузионно рассеиваются, создавая равномерный поток света, который падает на белый циферблат 2 с изображенной на его поверхности шкалой, причем белый цвет поверхности циферблата 2 увеличивает освещенность [3] циферблата 2 и тем самым, создавая подсветку шкалы, улучшает визуальное наблюдение за функциональными рабочими показаниями прибора в затемненном помещении (фотоснимок, фиг.4).
Таким образом, преимущество приборов с подсветкой шкалы заключается в том, что расширяет их область применения и увеличивает их эксплуатационные возможности.
Источники информации
1. Номенклатурный каталог продукции ОАО Maнотомъ, www manotom-tmz.ru.
2. Справочник по физике авторов Б.М.Яворского и А.А.Детлафа, с.278; М., 1964.
3. Элементарный справочник по физике под редакцией академика Г.С Ландсберга, том 3, с.216-220; М., 1970.
4. Учебник по физике автора Л.С.Жданова, с.387; М., 1977.
Формула изобретения
Манометр, содержащий цилиндрический корпус, циферблат в виде диска с нанесенной на него шкалой с рабочим углом 270° и нерабочим углом 90°, стрелочный указатель, расположенный над циферблатом, и защитное прозрачное органическое стекло, имеющее форму диска и расположенное над циферблатом со стрелкой, отличающийся тем, что в защитное стекло устанавливают электрический источник света на глубину, равную размеру источника света, причем источник света расположен в нижней нерабочей части циферблата, а по периметру внутренней торцевой цилиндрической части диска защитного стекла выполнена требуемой глубины канавка с матовой поверхностью сторон, а часть защитного стекла перед источником света закрыта оптически непрозрачным экраном.
РИСУНКИ
|
|