|
|
(21), (22) Заявка: 2007135218/28, 23.02.2005
(24) Дата начала отсчета срока действия патента:
23.02.2005
(43) Дата публикации заявки: 27.03.2009
(46) Опубликовано: 27.12.2009
(56) Список документов, цитированных в отчете о поиске:
RU 2176732 С2, 10.12.2001. RU 2092795 С1, 10.10.1997. WO 01/31298 А2, 03.05.2001.
(85) Дата перевода заявки PCT на национальную фазу:
24.09.2007
(86) Заявка PCT:
US 2005/006138 20050223
(87) Публикация PCT:
WO 2006/091199 20060831
Адрес для переписки:
129090, Москва, ул.Б.Спасская, 25, стр.3, ООО “Юридическая фирма Городисский и Партнеры”, пат.пов. А.В.Мицу, рег. 364
|
(72) Автор(ы):
СЕДДОН Стефен (GB), ШАНАХАН Юджин М. (US), ДЖОУНС Стивен М. (US), СТАК Чарлз Пол (US)
(73) Патентообладатель(и):
МАЙКРО МОУШН, ИНК. (US)
|
(54) РАСХОДОМЕР С ОДНИМ ВВОДОМ И МНОЖЕСТВЕННЫМ ВЫВОДОМ
(57) Реферат:
Изобретение может быть использовано для измерения расхода топлива: бензина, сжатого или сжиженного газа. Расходомер содержит корпус (201), в котором размещены распределитель (203) потока, сенсорный элемент (204) первого потока, сенсорный элемент (205) второго потока, электронный измеритель (20), часть приемного трубопровода (202) для входного потока флюида, часть первого выходного трубопровода (206) и часть второго выходного трубопровода (207). Сенсорные элементы (204) и (205) содержат сенсорные элементы расходомера Кориолиса. Входной поток может быть измерен сенсорным элементом (204) на первом выходном трубопроводе (206), сенсорным элементом (205) на втором выходном трубопроводе (207) или одновременно сенсорным элементом (204) и сенсорным элементом (205). Электронный измеритель принимает сигналы сенсорных элементов и формирует соответствующий сигнал измерения первого потока и соответствующий сигнал измерения второго потока. Размещение в одном корпусе сдвоенной системы сенсорных элементов позволяет использовать одно электронное устройство для питания и для измерения расхода двух потоков, что обеспечивает уменьшение общего размера и снижение стоимости. 3 н. и 17 з.п. ф-лы, 4 ил.
Область техники, к которой относится изобретение
Изобретение относится к расходомеру с одним вводом и множественным выводом и, более точно, к расходомеру с одним вводом и множественным выводом, который может быть использован для измерения расхода топлива и альтернативного топлива.
Предшествующий уровень техники
Колебательные трубчатые датчики, например массовые расходомеры Кориолиса, обычно действуют посредством регистрации смещения колеблющегося трубопровода, содержащего перетекающее вещество. Свойства вещества в трубопроводе, например, массовый расход, плотность и тому подобные, могут быть определены обработкой измеренных сигналов, принятых от преобразователей смещения, связанных с трубопроводом. Колебательные моды колеблющейся заполненной веществом системы обычно подвержены суммарному воздействию параметров несущего трубопровода и вещества в нем, таких как масса, жесткость и степень демпфирования колебаний.
Типичный массовый расходомер Кориолиса содержит один или несколько трубопроводов, которые включены в трубопроводную линию или другую транспортную систему, переносящую вещество, например, флюиды, буровые растворы и тому подобное. Каждый трубопровод может быть рассмотрен как имеющий набор собственных колебательных мод, например, простой изгиб, крутильные, радиальные, и связанные моды. При обычном измерении массового расхода расходомером Кориолиса трубка возбуждается на одной или нескольких колебательных модах при протекании вещества по трубке, а смещение трубки измеряется в точках, разнесенных вдоль трубки. Возбуждение обычно обеспечивается специальным возбудителем, например, электромеханическим устройством, таким как соленоидный возбудитель, периодически возмущающий трубку на звуковой частоте. Массовый расход может быть определен измерением времени задержки или разности фаз между смещениями в местах расположения преобразователей. Два таких преобразователя (или тензометрических датчика) обычно используются для измерения колебательного отклика потока по трубке или трубкам, и они обычно располагаются в положениях сверху и снизу по течению относительно возбудителя. Два тензометрических датчика подключены к электронной контрольно-измерительной аппаратуре с помощью кабеля, например, двух независимых пар проводов. Контрольно-измерительная аппаратура принимает сигналы от двух тензометрических датчиков и обрабатывает сигналы для получения измеренного значения массового расхода.
Расходомеры используются для измерений массового расхода большого многообразия протекающих флюидов. Одно из потенциальных применений расходомеров Кориолиса – измерение и распределение альтернативных топлив. Рынок альтернативного топлива продолжает расширяться в связи с ростом загрязнения окружающей среды и в связи с проблемами стоимости и доступности неэтилированного бензина и другого традиционного топлива. Фактически, многие государства оказываются вынужденными заниматься продвижением законодательства по использованию альтернативного топлива.
Использование расходомеров Кориолиса для альтернативного топлива возможно при заправке машин, например, автомобилей, автобусов и т.п. Обычно заправка личных машин осуществляется на заправочных станциях, использующих традиционные бензиновые насосы или распределители сжатого природного газа (CNG) для альтернативного топлива. Традиционные распределители бензина требуют наличия двух отдельных и независимых измерителей для одновременной заправки двух машин. Вместе с тем, общая стоимость и размеры топливного насоса для альтернативного топлива должны быть минимизированы, чтобы изготовление насоса было конкурентоспособным в условиях роста промышленности. Таким образом, имеется потребность в разработке рентабельного топливного расходомера, который мог бы обеспечить два измерения расхода топлива одновременно.
Сущность изобретения
Технической задачей настоящего изобретения является решение проблем, связанных с распределением и измерением расхода топлива, например, распределением и измерением расхода альтернативного топлива путем создания расходомера с одним вводом и множественным выводом.
Расходомер согласно изобретению содержит приемный трубопровод для приема флюидного потока и делитель потока, связанный с приемным трубопроводом. Делитель потока делит флюидный поток, по меньшей мере, на первый поток и второй поток. Расходомер дополнительно содержит сенсорный элемент первого потока, связанный с делителем потока, включающим в себя первый выходной трубопровод для формирования первого сигнала расхода, соответствующего первому потоку. Расходомер дополнительно содержит, по меньшей мере, сенсорный элемент второго потока, связанный с делителем потока и имеющий второй выходной трубопровод для формирования второго сигнала расхода, соответствующего второму потоку. Входной поток может измеряться сенсорным элементом первого потока в первом выходном трубопроводе, может измеряться сенсорным элементом второго потока во втором выходном трубопроводе, или может одновременно измеряться сенсорным элементом первого потока и сенсорным элементом второго потока, размещенными соответственно в первом выходном трубопроводе и во втором выходном трубопроводе.
Расходомер с одним вводом и множественным выводом предоставлен в соответствии с вариантом реализации изобретения. Расходомер содержит приемный трубопровод для приема флюидного потока и делитель потока, связанный с приемным трубопроводом. Делитель потока разделяет флюидный поток, по меньшей мере, на первый поток и второй поток. Расходомер дополнительно содержит сенсорный элемент первого потока, связанный с делителем потока, включающим в себя первый выходной трубопровод, и предназначенный для формирования первого сигнала расхода, соответствующего первому потоку. Расходомер дополнительно содержит, по меньшей мере, сенсорный элемент второго потока, связанный с делителем потока, включающим в себя второй выходной трубопровод, и предназначенный для формирования второго сигнала расхода, соответствующего второму потоку. Расходомер дополнительно содержит электронный измеритель, который принимает первый сигнал расхода и второй сигнал расхода и формирует соответствующее измерение первого топливного потока и соответствующее измерение второго топливного потока. Расходомер дополнительно содержит корпус, который включает в себя делитель потока, сенсорный элемент первого потока, сенсорный элемент второго потока, электронный измеритель, по меньшей мере, часть приемного трубопровода, по меньшей мере, часть первого выходного трубопровода и, по меньшей мере, часть второго выходного трубопровода. Входной поток может измеряться через первый выходной трубопровод сенсорным элементом первого потока, может измеряться через второй выходной трубопровод сенсорным элементом второго потока или может одновременно измеряться и через первый выходной трубопровод сенсорным элементом первого потока и через второй выходной трубопровод сенсорным элементом второго потока.
В соответствии с вариантом реализации изобретения предложен способ формирования расходомера с одним вводом и множественным выводом. Способ содержит следующие шаги: использование приемного трубопровода для приема флюидного потока и делителя потока, связанного с приемным трубопроводом. Делитель потока делит флюидный поток, по меньшей мере, на первый поток и второй поток. Способ дополнительно содержит использование сенсорного элемента первого потока, связанного с делителем потока, включающим в себя первый выходной трубопровод, и предназначенного для формирования первого сигнала расхода, соответствующего первому потоку. Способ дополнительно содержит использование, по меньшей мере, сенсорного элемента второго потока, связанного с делителем потока, включающим в себя второй выходной трубопровод, и предназначенного для формирования второго сигнала расхода, соответствующего второму потоку. Входной поток может измеряться сенсорным элементом первого потока через первый выходной трубопровод, а также может измеряться сенсорным элементом второго потока через второй выходной трубопровод, или может одновременно измеряться сенсорным элементом первого потока через первый выходной трубопровод и сенсорным элементом второго потока через второй выходной трубопровод.
Согласно одному аспекту сенсорный элемент первого потока и сенсорный элемент второго потока содержат сенсорные элементы расходомера Кориолиса.
Согласно другому аспекту флюидный поток содержит топливо или альтернативное топливо, например, сжатый природный газ (CNG) или сжиженный нефтяной газ (LPG).
Согласно еще одному аспекту, расходомер дополнительно содержит корпус, который включает в себя делитель расхода, сенсорный элемент первого потока, по меньшей мере, сенсорный элемент второго потока, по меньшей мере, часть приемного трубопровода, по меньшей мере, часть первого выходного трубопровода и, по меньшей мере, часть второго выходного трубопровода.
Согласно еще одному аспекту, делитель потока делит флюидный поток на первый поток и второй поток, и причем угол между первым потоком и вторым потоком составляет около сорока пяти градусов.
Согласно еще одному аспекту, делитель потока делит флюидный поток на первый поток и второй поток, и причем угол между первым потоком и вторым потоком составляет около девяноста градусов.
Согласно еще одному аспекту сенсорный элемент первого потока и сенсорный элемент второго потока содержат, по меньшей мере, один трубопровод первого потока для транспортировки первого потока, по меньшей мере, один трубопровод второго потока для транспортировки второго потока, первый возбудитель колебаний, по меньшей мере, одного трубопровода первого потока, второй возбудитель колебаний, по меньшей мере, одного трубопровода второго потока, два или более первых тензометрических датчиков для измерения результирующего колебательного движения, по меньшей мере, одного трубопровода первого потока и формирования первого сигнала расхода, и два или более вторых тензометрических датчиков для измерения результирующего колебательного движения, по меньшей мере, одного трубопровода второго потока и формирования второго сигнала расхода.
Согласно еще одному аспекту, расходомер дополнительно содержит электронный измеритель, который принимает первый сигнал расхода и второй сигнал расхода и формирует соответствующий сигнал измерения первого потока топлива и соответствующий сигнал измерения второго потока топлива.
Краткое описание чертежей
В дальнейшем изобретение поясняется описанием предпочтительных вариантов воплощения со ссылками на сопровождающие чертежи, на которых
фиг.1 изображает расходомер Кориолиса, содержащий сборку расходомера и электронный измеритель, согласно изобретению;
фиг.2 – схему расходомера с одним вводом и множественными выводами, согласно изобретению;
фиг.3 – схему расходомера с одним вводом и множественными выводами, согласно другому варианту реализации изобретения;
фиг.4 – грань корпуса, на которой размещены приемный трубопровод, первый выходной трубопровод и второй выходной трубопровод, согласно изобретению.
Подробное описание предпочтительных вариантов воплощения изобретения
На фиг.1-4 и в описании раскрыты примеры для специалистов в данной области техники, из которых виден наилучший вариант использования изобретения. Специалистам в данной области техники очевидно, что описанные ниже признаки изобретения могут быть различным образом объединены для формирования множества вариантов воплощения. Изобретение не ограничено описанными ниже отдельными примерами, но только формулами и их эквивалентами.
Расходомер Кориолиса 5 (фиг.1) содержит сборку расходомера 10 и электронный измеритель 20. Электронный измеритель 20 подключен к сборке расходомера 10 посредством линии 100 связи для передачи значений плотности, массового расхода, объемного расхода, общего массового расхода, температуры и другой информации по каналу 26. Специалистам в данной области техники очевидно, что настоящее изобретение может быть использовано с расходомером Кориолиса любого типа, независимо от количества возбудителей, тензометрических датчиков, трубопроводов, или рабочего режима колебаний.
Сборка расходомера 10 содержит пару фланцев 101 и 101′, патрубки 102 и 102′, возбудитель 104, тензометрические датчики 105-105′ и трубопроводы 103А и 103B. Возбудитель 104 и тензометрические датчики 105 и 105′ присоединяются к трубопроводам 103А и 103B.
Фланцы 101 и 101′ присоединены к патрубкам 102 и 102′. Патрубки 102 и 102′ могут быть присоединены к противоположным концам проставки 106. Проставка 106 устанавливает расстояние между патрубками 102 и 102′ для избежания нежелательных колебаний в трубопроводах 103A и 103B. Когда сборка расходомера 10 помещается в трубопроводную систему (не показана), переносящую измеряемое вещество, то вещество попадает в сборку 10 расходомера через фланец 101, проходит через впускной патрубок 102, где полное количество вещества направляется в трубопроводы 103А и 103B, протекает через трубопроводы 103A и 103B и поступает в выпускной патрубок 102′, где оно выходит из сборки 10 расходомера через фланец 101′.
Трубопроводы 103А и 103B подбираются и соответствующим образом устанавливаются на впускном патрубке 102 и выпускном патрубке 102′ так, чтобы имелось по существу то же самое массовое распределение, моменты инерции и модули упругости около изгибных осей W-W и W’-W’, соответственно. Трубопроводы проходят с внешней стороны относительно коллектора параллельно друг другу.
Трубопроводы 103А и 103B возбуждаются возбудителем 104 в противоположных направлениях относительно их соответствующих изгибных осей W и W’, на которых устанавливается первая противофазная изгибная мода расходомера. Возбудитель 104 может представлять собой одно из многих хорошо известных устройств, например, это может быть магнит, установленный на трубопроводе 103A, и противоположно установленная катушка на трубопроводе 103B. Проходящий через катушку переменный ток заставляет колебаться оба трубопровода. Соответствующий сигнал подается от электронного измерителя 20 через соединение 110 на возбудитель 104.
Электронный измеритель 20 принимает сенсорные сигналы по линиям 111 и 111′, соответственно. Электронный измеритель 20 производит и подает управляющий сигнал на соединение 110, который запускает возбудитель 104, заставляя колебаться трубопроводы 103A и 103B. Электронный измеритель 20 обрабатывает левые и правые сигналы скорости от тензометрических датчиков 105 и 105′ для вычисления массового расхода. Канал 26 обеспечивает ввод и вывод, позволяющий электронному измерителю 20 взаимодействовать с оператором или с другими электронными системами. Выше описан исключительно пример работы расходомера Кориолиса, который не ограничивает приложения настоящего изобретения.
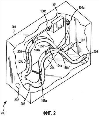
На фиг.2 показана схема расходомера 200 с одним впуском и двойным выпуском в соответствии с вариантом реализации изобретения. Расходомер 200 может содержать сдвоенный выходной измеритель, как показано, или может включать в себя более двух выходов. Расходомер 200 может быть использован для измерения первого потока и второго потока протекающего флюида, например, топлива. Топливо может включать в себя обычное топливо, например бензин, и дизельное топливо, и дополнительно может включать в себя альтернативные топлива, например, сжатый природный газ (CNG), сжиженный нефтяной газ (LPG), и другие альтернативы бензину и дизельному топливу, включая топливо с различным процентным содержанием жидких и газообразных компонентов. Вместе с тем, ясно, что может измеряться расход и других веществ, что соответствует приведенному описанию и прилагаемым формулам.
Расходомер 200 содержит корпус 201, приемный трубопровод 202, делитель 203 потока, сенсорный элемент 204 первого потока и соответствующий первый выходной трубопровод 206, по меньшей мере, сенсорный элемент 205 второго потока и соответствующий второй выходной трубопровод 207 и электронный измеритель 20.
Корпус 201 содержит делитель 203 потока, сенсорный элемент 204 первого потока, сенсорный элемент 205 второго потока, по меньшей мере, часть приемного трубопровода 202, по меньшей мере, часть первого выходного трубопровода 206 и, по меньшей мере, часть второго выходного трубопровода 207. Приемный трубопровод 202, первый выходной трубопровод 206 и второй выходной трубопровод 207 могут выступать из корпуса 201 в некоторых вариантах реализации.
Делитель 203 потока связан с приемным трубопроводом 202 и с сенсорным элементом 204 первого потока и сенсорным элементом 205 второго потока. Сенсорный элемент 204 первого потока связан с первым выходным трубопроводом 206, а сенсорный элемент 205 второго потока связан с вторым выходным трубопроводом 207. Поток флюида входит через приемный трубопровод 202 и делитель 203 потока. В делителе 203 потока поток флюида может течь непосредственно через сенсорный элемент 204 первого потока, непосредственно через сенсорный элемент 205 второго потока, или может течь одновременно через сенсорный элемент 204 первого потока и через сенсорный элемент 205 второго потока. Флюид протекает через один сенсорный элемент 204 первого потока и сенсорный элемент 205 второго потока, или через оба, и выходит из одного первого выходного трубопровода 206 и из второго выходного трубопровода 207, или из обоих. Первый сигнал расхода и/или второй сигнал расхода формируются сенсорным элементом 204 первого потока и сенсорным элементом 205 второго потока и подаются на электронный измеритель 20 через соединения 100a и/или соединения 100b. Электронный измеритель 20 получает первый сигнал расхода и/или второй сигнал расхода и генерирует соответствующее измерение первого потока топлива и/или соответствующее измерение второго потока топлива. Измерения первого и второго потока топлива могут быть использованы электронным измерителем 20 для осуществления расчетной операции с топливом и затем могут быть переданы оператору или на компьютерное устройство по каналу 26. Соответственно, входной поток может быть измерен сенсорным элементом 204 первого потока через первый выходной трубопровод 206, может быть измерен сенсорным элементом 205 второго потока через второй выходной трубопровод 207, или может быть одновременно измерен сенсорным элементом 204 первого потока через первый выходной трубопровод 206 и сенсорным элементом 205 второго потока через второй выходной трубопровод 207. Следует отметить, что расходомер 200 может включать в себя более двух выходных трубопроводов и более двух поточных сенсорных элементов.
Делитель потока 203 делит входной поток на первый поток и второй поток. В одном варианте реализации делитель 203 потока делит поток на два с углом между первым и вторым потоком около сорока пяти градусов. В другом варианте реализации делитель 203 потока делит поток с углом между первым и вторым потоком около девяноста градусов. Следует отметить, что два данных угла указаны исключительно для примера. Возможны и другие углы, что также отвечает данному изобретению и формуле изобретения.
Сенсорный элемент 204 первого потока и сенсорный элемент 205 второго потока содержат поточный сенсорный элемент любого типа. В одном варианте реализации сенсорный элемент 204 первого потока и сенсорный элемент 205 второго потока содержат сенсорные элементы типа расходомера Кориолиса. В одном варианте реализации сенсорный элемент 204 первого потока и сенсорный элемент 205 второго потока могут быть выполнены так, что два сенсорных элемента имеют несколько различающиеся колебательные характеристики, чтобы избежать проблем с устойчивостью и эффективностью работы.
В варианте реализации, показанном на чертеже, сенсорный элемент 204 первого потока содержит, по меньшей мере, один трубопровод 103a первого потока для транспортировки первого потока, и сенсорный элемент 205 второго потока содержит, по меньшей мере, один трубопровод 103b второго потока для транспортировки второго потока. Показано, что, по меньшей мере, один трубопровод 103a первого потока и, по меньшей мере, один трубопровод 103b второго потока могут содержать элементы расходомера в виде сдвоенной трубки. Кроме того, в другом варианте реализации, по меньшей мере, один трубопровод 103a первого потока и, по меньшей мере, один трубопровод 103b второго потока могут содержать элементы расходомера в виде единственной трубки и могут дополнительно включать в себя две соответственные балансные трубки (фиг.3). Вариант реализации с одним трубопроводом может быть применен там, где измеряемый флюидный поток имеет небольшие значения плотности.
В одном варианте реализации сенсорные элементы 204 и 205 потока могут содержать по существу U-образный трубопровод(ы), как показано. Кроме того, в варианте реализации, показанном на фиг.4, сенсорные элементы 204 и 205 потока могут содержать по существу прямой трубопровод(ы). Вместе с тем, могут также использоваться и другие формы трубопроводов, что соответствует формуле изобретения.
Сенсорный элемент 204 первого потока дополнительно содержит первый возбудитель 104a для генерирования колебаний, по меньшей мере, одного трубопровода 103a первого потока и два или несколько первых тензометрических датчиков 105a и 105a’ для измерения результирующего колебательного движения, по меньшей мере, одного трубопровода 103a первого потока и получения первого сигнала расхода. Аналогично, сенсорный элемент 205 второго потока дополнительно содержит второй возбудитель 104b для генерирования колебаний, по меньшей мере, одного трубопровода 103b второго потока и два или несколько вторых тензометрических датчиков 105b и 105b’ для измерения результирующего колебательного движения, по меньшей мере, одного трубопровода 103b второго потока и получения второго сигнала расхода.
В некоторых вариантах реализации измеритель 200 может включать в себя некоторую методику регулирования давления для предотвращения изменений потока при любом выпуске, вызванных наличием потока вещества из других выпусков. Соответственно, подходящий регулятор давления (или регуляторы) может быть подключен в любой точке выше по течению относительно датчиков 204, 205 расхода, и т.д., включая положение до приемного трубопровода 202. Кроме того, один или несколько регуляторов давления могут быть подключены снизу по течению относительно датчиков 204, 205 расхода и т.д.
На фиг.3 показана схема расходомера 200 с одним вводом и множественными выводами в соответствии с другим вариантом реализации изобретения. В этом варианте реализации сенсорный элемент 204 первого потока и сенсорный элемент 205 второго потока содержат однотрубные расходомеры, содержащие прямые трубопроводы 303a и 303b, связанные с балансовыми плечами 304a и 304b. Прямые трубопроводы 303a и 303b могут быть присоединены к делителю 203 потока, к первому выходному трубопроводу 206 и к второму выходному трубопроводу 207 с помощью первых фланцев 310a и 311a и вторых фланцев 310b и 311b.
На фиг.4 показана грань корпуса 201, на которой размещены приемный трубопровод 202, первый выходной трубопровод 206 и второй выходной трубопровод 207 в соответствии с вариантом реализации изобретения. В этом варианте реализации приемный трубопровод 202, первый выходной трубопровод 206 и второй выходной трубопровод 207. Вместе с тем, должно быть ясно, что в альтернативных вариантах реализации приемный трубопровод 202, первый выходной трубопровод 206 и второй выходной трубопровод 207 могут произвольно располагаться на различных внешних гранях расходомера 200. Приемный трубопровод 202, первый выходной трубопровод 206 и второй выходной трубопровод 207 могут включать в себя резьбу (например, трубную резьбу) для съемного присоединения внешних трубопроводов к расходомеру 200.
Топливный расходомер с одним вводом и двойным выводом в соответствии с данным изобретением может использоваться в любом из вариантов реализации, предоставляя ряд преимуществ, если это требуется. Изобретение предоставляет топливный расходомер, осуществляющий измерение расхода топлива и распределение альтернативного топлива. Изобретение предоставляет топливный расходомер, пригодный для измерения потока топлива первой и второй очереди.
Важно, что стоимость топливного расходомера оказывается ниже благодаря совместному использованию компонентов. В одном варианте реализации, в рамках изобретения, могут использоваться один корпус и ввод. Поскольку два независимых сенсорных элемента потока расположены в одной оболочке, то общий размер топливного расходомера (и всей измерительной системы) может быть уменьшен, что снижает стоимость установки сенсора в газовом насосе. Кроме того, размещение в пределах одной оболочки сдвоенной системы сенсорных элементов дает возможность использования одного электронного устройства для питания и для измерения расхода двух потоков.
Формула изобретения
1. Расходомер (200) с одним вводом и множественным выводом, содержащий приемный трубопровод (202) для приема входного потока флюида, распределитель(203) потока, связанный с приемным трубопроводом (202), сенсорный элемент (204) потока, связанный с распределителем (203) потока и включающий в себя первый выходной трубопровод (206), и предназначенный для формирования первого сигнала расхода, соответствующего потоку через первый выходной трубопровод, по меньшей мере, сенсорный элемент (205) потока, связанный с распределителем (203) потока и включающий в себя второй выходной трубопровод (207), и предназначенный для формирования второго сигнала расхода, соответствующего потоку через второй выходной трубопровод, причем входной поток может быть измерен сенсорным элементом (204) на первом выходном трубопроводе (206) или сенсорным элементом (205) на втором выходном трубопроводе (207).
2. Расходомер по п.1, отличающийся тем, что сенсорный элемент (204) и сенсорный элемент (205) содержат сенсорные элементы расходомера Кориолиса.
3. Расходомер по п.1, отличающийся тем, что предназначен для измерения потока флюида, содержащего традиционное топливо или альтернативное топливо, например сжатый природный газ (CNG) или сжиженный нефтяной газ (LPG).
4. Расходомер по п.1, отличающийся тем, что дополнительно содержит корпус (201), в котором размещены распределитель (203) расхода, сенсорный элемент (204), сенсорный элемент (205), по меньшей мере, часть приемного трубопровода (202), по меньшей мере, часть первого выходного трубопровода (206) и, по меньшей мере, часть второго выходного трубопровода (207).
5. Расходомер по п.1, отличающийся тем, что распределитель (203) расхода делит флюидный поток на первый поток и второй поток, причем угол между первым потоком и вторым потоком составляет около 45°.
6. Расходомер по п.1, отличающийся тем, что распределитель (203) потока делит флюидный поток на первый поток и второй поток, при этом угол между первым потоком и вторым потоком составляет около 90°.
7. Расходомер по п.1, отличающийся тем, что содержит сенсорный элемент (204) первого потока и сенсорный элемент (205) второго потока, по меньшей мере, один трубопровод (103а) для транспортировки первого потока, по меньшей мере, один трубопровод (103b) для транспортировки второго потока, первый возбудитель (104а) для генерирования колебаний, по меньшей мере, в одном трубопроводе (103а), второй возбудитель (104b) для генерирования колебаний, по меньшей мере, в одном трубопроводе (103b), два или более первых датчиков (105а) и (105а’) для измерения результирующего колебательного движения, по меньшей мере, одного трубопровода (103а) первого потока и формирования первого сигнала расхода, два или более вторых датчиков (105b) и (105b’) для измерения результирующего колебательного движения, по меньшей мере, одного трубопровода (103b) второго потока и формирования второго сигнала расхода.
8. Расходомер (200) по п.3, отличающийся тем, что дополнительно содержит электронный измеритель (20), который принимает первый сигнал расхода и второй сигнал расхода и формирует соответствующий сигнал измерения первого потока и соответствующий сигнал измерения второго потока.
9. Расходомер (200) с одним вводом и множественным выводом, содержащий приемный трубопровод (202) для приема потока флюида, распределитель (203) потока, связанный с приемным трубопроводом (202), сенсорный элемент (204) потока, связанный с распределителем (203) потока и включающий в себя первый выходной трубопровод (206), и предназначенный для формирования первого сигнала расхода, соответствующего потоку через первый выходной трубопровод, по меньшей мере, сенсорный элемент (205) потока, связанный с распределителем (203) потока и включающий в себя второй выходной трубопровод (207), и предназначенный для формирования второго сигнала расхода, соответствующего потоку через второй выходной трубопровод, электронный измеритель (20), принимающий первый сигнал расхода и второй сигнал расхода и формирующий соответствующий сигнал измерения первого потока и соответствующий сигнал измерения второго потока, корпус (201), в котором размещены распределитель (203) потока, сенсорный элемент (204) потока, сенсорный элемент (205) потока, электронный измеритель (20), по меньшей мере, часть приемного трубопровода (202), по меньшей мере, часть первого выходного трубопровода (206) и, по меньшей мере, часть второго выходного трубопровода (207), причем входной поток может быть измерен сенсорным элементом (204) потока на первом выходном трубопроводе (206), может быть измерен сенсорным элементом (205) потока на втором выходном трубопроводе (207), или может быть измерен одновременно сенсорным элементом (204) потока на первом выходном трубопроводе (206) и сенсорным элементом (205) потока на втором выходном трубопроводе (207).
10. Расходомер (200) по п.9, отличающийся тем, что сенсорный элемент (204) потока и сенсорный элемент (205) потока содержат сенсорные элементы расходомера Кориолиса.
11. Расходомер (200) по п.9, отличающийся тем, что предназначен для измерения потока флюида, содержащего традиционное топливо или альтернативное топливо, например сжатый природный газ (CNG) или сжиженный нефтяной газ (LPG).
12. Расходомер (200) по п.9, отличающийся тем, что распределитель (203) потока делит флюидный поток на первый поток и второй поток, при этом угол между первым потоком и вторым потоком составляет около 45°.
13. Расходомер (200) по п.9, отличающийся тем, что распределитель (203) потока делит флюидный поток на первый поток и второй поток, при этом угол между первым потоком и вторым потоком составляет около 90°.
14. Расходомер (200) по п.9, отличающийся тем, что содержит сенсорный элемент (204) первого потока и сенсорный элемент (205) второго потока, по меньшей мере, один трубопровод (103а) первого потока для транспортировки первого потока, по меньшей мере, один трубопровод (103b) второго потока для транспортировки второго потока, первый возбудитель (104а) для генерирования колебаний, по меньшей мере, в одном трубопроводе (103а) первого потока, второй возбудитель (104b) для генерирования колебаний, по меньшей мере, в одном трубопроводе (103b) второго потока, два или несколько первых датчиков (105а) и (105а’) для измерения результирующего колебательного движения, по меньшей мере, одного трубопровода (103а) первого потока и формирования первого сигнала расхода, два или несколько вторых датчиков (105b) и (105b’) для измерения результирующего колебательного движения, по меньшей мере, одного трубопровода (103b) второго потока и формирования второго сигнала расхода.
15. Способ формирования расходомера (200) с одним вводом и множественным выводом, заключающийся в том, что используют приемный трубопровод (202) для приема входного потока флюида, используют распределитель (203) потока, связанный с приемным трубопроводом (202), используют сенсорный элемент (204) потока, связанный с распределителем (203) потока и включающий в себя первый выходной трубопровод (206), и предназначенный для формирования первого сигнала расхода, соответствующего потоку через первый выходной трубопровод, используют, по меньшей мере, сенсорный элемент (205) потока, связанный с распределителем (203) потока и включающий в себя второй выходной трубопровод (207), и предназначенный для формирования второго сигнала расхода, соответствующего потоку через второй выходной трубопровод, причем входной поток может быть измерен сенсорным элементом (204) на первом выходном трубопроводе (206), может быть измерен сенсорным элементом (205) на втором выходном трубопроводе (207).
16. Способ по п.15, отличающийся тем, что сенсорный элемент (204) и сенсорный элемент (205) содержат сенсорные элементы расходомера Кориолиса.
17. Способ по п.15, отличающийся тем, что осуществляют измерение потока флюида, содержащего традиционное топливо или альтернативное топливо, например сжатый природный газ (CNG) или сжиженный нефтяной газ (LPG).
18. Способ по п.17, отличающийся тем, что дополнительно используют корпус (201), в котором размещают распределитель (203) потока, сенсорный элемент (204), сенсорный элемент (205), по меньшей мере, часть приемного трубопровода (202), по меньшей мере, часть первого выходного трубопровода (206) и, по меньшей мере, часть второго выходного трубопровода (207); и используют электронный измеритель (20), посредством которого принимают первый сигнал расхода и второй сигнал расхода и формируют соответствующие сигналы измерения первого потока топлива и соответствующие сигналы измерения второго потока топлива.
19. Способ по п.15, отличающийся тем, что посредством распределителя (203) потока делят флюидный поток на первый поток и второй поток, причем угол между первым потоком и вторым потоком устанавливают около 45°.
20. Способ по п.15, отличающийся тем, что посредством распределителя (203) потока делят флюидный поток на первый поток и второй поток, причем угол между первым потоком и вторым потоком устанавливают около 90°.
РИСУНКИ
|
|