|
|
(21), (22) Заявка: 2008107046/02, 27.02.2008
(24) Дата начала отсчета срока действия патента:
27.02.2008
(43) Дата публикации заявки: 10.09.2009
(46) Опубликовано: 27.12.2009
(56) Список документов, цитированных в отчете о поиске:
ж. “Flight International”, 29.08.2006-01.09.2006, c.30-35, проект RATTLRS. RU 2301395 C2, 20.06.2007. RU 2148244 C1, 27.04.2000. CA 2543129 A1, 24.11.2005.
Адрес для переписки:
143966, Московская обл., г. Реутов, ул. Гагарина, 33, ОАО “ВПК “НПО машиностроения”
|
(72) Автор(ы):
Асатуров Сергей Михайели (RU), Ефремов Герберт Александрович (RU), Киселев Виктор Михайлович (RU), Мельников Валерий Юрьевич (RU), Прохорчук Юрий Алексеевич (RU), Хомяков Михаил Алексеевич (RU)
(73) Патентообладатель(и):
Открытое акционерное общество “Военно-промышленная корпорация “Научно-производственное объединение машиностроения” (RU)
|
(54) СПОСОБ ПОРАЖЕНИЯ ЛЕГКОУЯЗВИМЫХ НАЗЕМНЫХ ЦЕЛЕЙ СВЕРХЗВУКОВОЙ РАКЕТОЙ И УСТРОЙСТВО ДЛЯ ЕГО ОСУЩЕСТВЛЕНИЯ
(57) Реферат:
Изобретение относится к ракетной технике. Крылатую ракету на конечном этапе полета переводят на траекторию пологого пикирования и поддерживают ее высокую сверхзвуковую скорость вплоть до ее соударения с земной поверхностью в точке с запрограммированным недолетом до геометрического центра области расположения цели или с заданным положением относительно цели. Вывод цели из строя обеспечивается как за счет готовых поражающих элементов боевой части, выполненной в виде тонкостенного корпуса, так и за счет фрагментов корпуса и оборудования ракеты. Повышается эффективность воздействия ракеты на легкоуязвимые наземные цели за счет усиления осколочно-фугасного действия ее боевой части. 2 н.п. ф-лы, 3 ил.
Изобретение относится к ракетной технике, а более конкретно к системам, предназначенным для борьбы с критичными по времени мобильными целями, такими как:
– боевая авиация на аэродромах базирования (на открытой стоянке или взлетно-посадочной полосе),
– пусковые установки, мобильные командные пункты и РЛС подвижных ракетных комплексов,
– небронированная или легкобронированная автомобильная техника и живая сила на марше или в районах сосредоточения;
а также стационарными центрами управления и связи, радиолокационными станциями, топливонасыщенными объектами и прочими узловыми элементами военных баз и военно-промышленных объектов на территории противника.
В настоящее время основным средством борьбы с такого рода целями, в большинстве своем относящимися к классу легкоуязвимых наземных целей, являются осколочные и осколочно-фугасные боеприпасы авиационных бомб, бомбовые кассеты с управляемым рассредоточением зарядов, позволяющие поразить большой участок площади, управляемые авиационные планирующие кассеты, запускаемые вне зоны ПВО объекта, и пр. Носителями большинства перечисленных средств являются самолеты тактической авиации, их боевое применение предполагает участие в выборе объекта поражения и наведении боеприпаса на цель летчика или оператора, находящегося на борту самолета, что в условиях противодействия противника может привести к потерям самолетов и их экипажей.
Известны также средства поражения такого рода целей, основанные на принципе «выстрелил-забыл», например крылатые ракеты с кассетными боевыми частями (КР «Томагавк» BGM-109D). Однако большое подлетное время, вследствие дозвуковой скорости полета ракеты, не позволяет рассматривать ее в качестве средства борьбы с критичными по времени мобильными целями. Также, несмотря на низкий уровень демаскирующих признаков и малую высоту полета, КР «Томагавк» уязвима в условиях противодействия современной ПВО, например истребительной авиации.
В этой связи усилия разработчиков ракетного оружия направлены на создание сверх- и гиперзвуковых средств поражения, которые по сравнению с современными образцами вооружения обладают существенными боевыми преимуществами, такими как:
– малое подлетное время средств поражения, значительно снижающее время устаревания данных целеуказания и не позволяющее противнику принять меры эффективного противодействия (например, вывод мобильных целей из-под удара);
– сравнительно низкая уязвимость, обусловленная минимальным временем пролета зон возможного обнаружения и перехвата современными и перспективными средствами ПВО и ПРО;
– повышенная поражающая способность боевых частей благодаря высокой кинетической энергии.
В качестве примера подобных разработок можно привести отечественную сверхзвуковую КР «Яхонт» («Яхонт» – противокорабельная ракета нового поколения», «Военный парад», 2, 1998, стр.22-24, [1]) и американские программы по сверхзвуковым (RATTLRS) и гиперзвуковым ракетам SED-WR и HyFly.
Перспективные сверх- и гиперзвуковые ракеты планируется оснащать различными, как правило, взаимозаменяемыми боевыми частями (БЧ): проникающими, осколочно-фугасными, кассетными и пр. При этом в рамках американских программ повышенное внимание уделено разработке проникающих БЧ – кинетических и активных (снаряжаемых взрывчатым веществом (ВВ)). На настоящее время повышенная поражающая способность высокоскоростных средств поражения подтверждена применительно к бронебойным БЧ противотанковых ракет (программы КЕМ, СКЕМ, НАТМ), а также продемонстрирована на боеприпасах, предназначенных для поражения заглубленных высокозащищенных наземных целей. При этом проникающая способность средств поражения, характеризующихся скоростью встречи с целью до 1200 м/с, превысила соответствующие показатели существующих бетонобойных БЧ на порядок большей массы (типа BLU-113/В и BLU-109/B). В тоже время в проанализированных источниках отсутствуют данные о задействовании «фактора скорости» (точнее – кинетической энергии) в интересах повышения эффективности осколочно-фугасного действия БЧ.
По мнению авторов, наиболее близкой по технической сущности к заявленному изобретению является сверхзвуковая КР, разрабатываемая в рамках программы RATTLRS (Revolutionary Approach То Time-critical Long-Range Strike) («Flight international)), 29.08 – 01.09.2006, стр.30-35, [2]). Устройство данной КР и способ применения ракеты, оснащенной кассетной БЧ, рассмотрены в качестве ближайшего аналога.
Крылатую ракету, разрабатываемую в рамках программы RATTLRS, планируется оснащать кассетной БЧ с отделяемыми на сверхзвуковой скорости суббоеприпасами (см. стр.9 указанного источника, где представлено фото эксперимента по сверхзвуковому отделению суббоеприпасов). Известно, что схема боевого применения ракет в подобном оснащении, например баллистической ракеты «Lance» с кассетной БЧ с самонаводящимися суббоеприпасами, разработанной по программе «Assault Вгеакег» («International Defense Review)), 1982, 9, стр.1207-1211, [3]), предусматривает:
– полет ракеты в точку с заданными координатами, лежащую в области возможного расположения, в данном случае – мобильной цели;
– вскрытие корпуса ракеты посредством срабатывания пиротехнических устройств, например детонирующих удлиненных или вышибных зарядов (см. фото, стр.1209, [3]);
– выброс суббоеприпасов (также посредством пиротехнических устройств) и их последующее автономное движение, в процессе которого головка самонаведения (ГСН) каждого производит обзор зоны области возможного расположения цели и обеспечивает последующее наведение суббоеприпаса на обнаруженную цель.
Однако одной из характерных особенностей сверхзвуковой (М>3÷4) КР – ближайшего аналога, имеющей турбореактивный двигатель, является применение аэродинамической схемы с лобовым воздухозаборником (см. рис., стр.31, [2]). Известно, что на ракетах, выполненных по подобной схеме, например КР «Яхонт» (стр.23, [1]), боевые части размещают в пределах центрального тела воздухозаборника, как правило, в задней его части (за аппаратурой системы управления), что обеспечивает лучшую проникающую способность БЧ при поражении основных типовых целей, таких как крупный надводный корабль. В тоже время боковая поверхность БЧ ракеты, выполненной по данной схеме, отделена от ее наружной поверхности несколькими оболочками (теплоизолированная стенка центрального тела – стенки канала воздухозаборника – наружная оболочка ракеты), что делает практически нереализуемым «организованное вскрытие» корпуса ракеты, необходимое в случае применения традиционной кассетной БЧ. Данное обстоятельство ограничивает площадь, накрываемую поражающими элементами БЧ, а в совокупности с относительно небольшой массой самой БЧ (заявленная масса БЧ сверхзвуковой КР RATTLRS ~250 кг, которая почти в 2 раза меньше БЧ дозвуковой КР «Томагавк») обуславливает невысокую эффективность ракеты в комплектации, предназначенной для поражения легкоуязвимых наземных целей.
Задачей, решаемой изобретением, является повышение эффективности воздействия сверхзвуковой ракеты на легкоуязвимые наземные цели за счет усиления осколочно-фугасного действия ее боевой части.
Указанная цель достигается тем, что в отличие от известного способа поражения цели, в рамках которого вскрытие корпуса ракеты и последующий выброс поражающих элементов ее боевой части (суббоеприпасов) производят путем срабатывания специальных пиротехнических устройств по команде от системы управления (например, в момент достижения ракетой заданной точки траектории), а поражающие элементы ракеты формируют за счет подрыва БЧ, в заявленном изобретении предложено:
– ракету на конечном этапе ее полета перевести на траекторию пологого пикирования с поддержанием высокой сверхзвуковой скорости;
– корпус ракеты вскрыть путем ее соударения с земной поверхностью в точке с запрограммированным недолетом до геометрического центра области расположения цели или с заданным положением относительно цели (например, при наличии в составе системы управления ракеты ГСН);
– поражающие элементы ракеты формировать как за счет ее боевой части, так и за счет фрагментов корпуса и оборудования, образовавшихся вследствие процессов, инициированных соударением ракеты с земной поверхностью и сохранивших после этого высокую кинетическую энергию.
Для осуществления данного способа стрельбы в известном устройстве для поражения цели, представляющем собой планер ракеты, оснащенный воздушно-реактивной двигательной установкой, системой управления и боевой частью, согласно заявленному изобретению боевая часть ракеты выполнена в виде тонкостенного корпуса, в котором размещено большое количество готовых поражающих элементов, например стальных шариков.
Положительный эффект предлагаемого изобретения обеспечивается за счет совместного использования для усиления осколочно-фугасного действия боевой части высокой кинетической энергии ракеты и потенциальной энергии ее двигательной установки, которая «заключена» как в находящемся под давлением наддува топливном баке ракеты, содержащем пары и жидкую фазу высококалорийного углеводородного топлива, так и в камере сгорания двигателя, содержащей сжатые высокотемпературные продукты сгорания.
Процессы, протекающие при высвобождении указанной энергии, можно описать следующим образом.
После соударения двигающейся с высокой сверхзвуковой (М>2) скоростью ракеты с земной поверхностью с углом встречи до 10÷15° происходит ее рикошетирование. При этом, вследствие резкого возрастания напряжений в конструкции ракеты, происходит вскрытие ее корпуса, в том числе топливного бака. Разгерметизация бака, который даже в конце полета содержит находящиеся под давлением пары и остатки топлива, сопровождается их интенсивным истечением с образованием в окружающем пространстве аэрозольного облака с высокой концентрацией высококалорийного горючего. Взаимодействие раскаленных (t>1500°С) элементов конструкции воздушно-реактивного двигателя и его высокотемпературных продуктов сгорания с аэрозольным облаком вызывает взрыв, сопровождающийся выделением в объеме облака большого количества энергии и, как следствие, приводит к полному разрушению корпуса ракеты, в том числе оболочки ее БЧ. Готовые поражающие элементы БЧ, а также фрагменты конструкции корпуса и оборудования ракеты, сохранившие после «рикошета» высокую кинетическую энергию, разлетаются на значительное расстояние, образуя зону поражения в форме вытянутого в направлении полета КР эллипса.
В качестве средства поражения рекомендуется использовать ракету, оснащенную двигательной установкой с прямоточным воздушно-реактивным двигателем (ПВРД). Во-первых, прямоточные двигатели используют, как правило, комбинированную насосовытеснительную подачу топлива с избыточным давлением в баке не менее 3-х атмосфер. Во-вторых, внутренний воздушный тракт ПВРД от воздухозаборника до сопла двигателя представляет собой единый объем, свободный от каких-либо промежуточных устройств (см., например, фиг.1). В рассматриваемом случае это приводит к инициации взрыва именно внутри корпуса ракеты и, как следствие, действию прежде всего растягивающих сил, способствующих его разрушению на мелкие фрагменты. В-третьих, корпус ПВРД, представляющий собой цилиндр длиной порядка одного метра и имеющий многослойную оболочку из жаропрочной стали, при взрыве образует осколки, обладающие высокой поражающей способностью.
Реализация указанного выше положительного эффекта подтверждена результатами летных испытаний сверхзвуковой противокорабельной КР с ПВРД в режиме стрельбы по береговой цели.
Предлагаемое средство поражения легкоуязвимых наземных целей, выполненное, например, на базе схемного решения КР «Яхонт», можно воплотить следующим образом (см. фиг.1 и 2).
Сверхзвуковая КР (1) со взаимозаменяемой боевой частью (2) выполнена по нормальной аэродинамической схеме и оснащена двигательной установкой с ПВРД (3), имеющей лобовой осесимметричный воздухозаборник (4). Основными агрегатами фюзеляжа КР (1) являются центральное тело воздухозаборника (4), в котором размещена аппаратура системы управления (5) и боевая часть (2), топливный бак (6) тороцилиндрической формы и ПВРД (3). КР (1) в комплектации, предназначенной для поражения легкоуязвимых наземных целей, оснащена кинетической (не содержащей ВВ) БЧ (7), выполненной в виде тонкостенного корпуса, армированного стальными шариками массой порядка нескольких грамм.
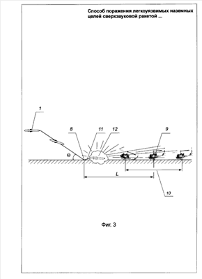
Схема боевого применения КР (1) с БЧ (7) предусматривает (см. фиг.3):
– полет КР (1) с высокой сверхзвуковой скоростью в область назначенной цели;
– пологое (угол ~10÷15°) пикирование КР (1) с работающим ПВРД (3) в точку (8) с недолетом (L) до геометрического центра (9) области расположения площадной легкоуязвимой цели (10);
– соударение и рикошетирование ракеты (11) от земной поверхности и, как следствие, вскрытие корпуса КР (1), включая топливный бак (6);
– взрыв (12) образовавшейся топливно-воздушной смеси, сопровождающийся полным разрушением корпуса ракеты, включая корпус боевой части, и выбросом поражающих элементов БЧ (7), которые вместе с фрагментами корпуса и оборудования КР (1) поражают цель (10).
Резюмируя изложенное, следует отметить, что изобретение позволяет за счет малой модернизации придать новое качество уже существующим (разработанным) ракетам, при этом могут быть созданы универсальные сверхзвуковые КР, использующие высокую кинетическую энергию для повышения эффективности воздействия как на прочные морские и наземные объекты в варианте оснащения традиционной проникающей БЧ, так и на легкоуязвимые наземные цели в варианте оснащения кинетической (не содержащей ВВ) БЧ. Также необходимо отметить, что кинетическая БЧ характеризуются абсолютной безопасностью эксплуатации и минимальным побочным воздействием, которое, например, могло бы быть вызвано невзорвавшимися суббоеприпасами кассетной БЧ.
Формула изобретения
1. Способ поражения легкоуязвимых целей сверхзвуковой ракетой, включающий обеспечение полета ракеты в точку с заданными координатами, лежащую в области расположения цели и вскрытие корпуса ракеты с формированием поражающих элементов ракеты, отличающийся тем, что на конечном этапе полета ракету переводят на траекторию пологого пикирования, в процессе движения по которой поддерживают ее сверхзвуковую скорость, а вскрытие корпуса ракеты производят путем соударения ракеты с земной поверхностью в точке с запрограммированным недолетом до геометрического центра области расположения цели или с заданным положением относительно цели, при этом поражающие элементы формируют как за счет боевой части ракеты, выполненной в виде тонкостенного корпуса, в котором размещено большое количество готовых поражающих элементов, так и за счет фрагментов корпуса ракеты и оборудования, образовавшихся при соударении ракеты с земной поверхностью.
2. Сверхзвуковая ракета для поражения легкоуязвимых целей, содержащая планер с воздушно-реактивной двигательной установкой, системой управления и боевой частью, отличающаяся тем, что воздушно-реактивная двигательная установка выполнена прямоточной, а система управления выполнена с возможностью обеспечения перевода ракеты на ее конечном этапе полета на траекторию пологого пикирования, в процессе движения по которой поддерживают ее сверхзвуковую скорость, и с возможностью обеспечения соударения ракеты с земной поверхностью в точке с запрограммированным недолетом до геометрического центра области расположения цели или с заданным положением относительно цели, при этом боевая часть ракеты выполнена в виде тонкостенного корпуса, в котором размещено большое количество готовых поражающих элементов.
РИСУНКИ
|
|