|
|
(21), (22) Заявка: 2007105586/12, 19.05.2005
(24) Дата начала отсчета срока действия патента:
19.05.2005
(30) Конвенционный приоритет:
15.07.2004 US 10/891,964
(43) Дата публикации заявки: 20.08.2008
(46) Опубликовано: 27.12.2009
(56) Список документов, цитированных в отчете о поиске:
US 6138377 А, 31.10.2000. US 6059444 A, 09.05.2000. RU 2214374 C2, 20.10.2001. RU 737382 A1, 30.05.1980. RU 687022 A1, 25.09.1979. RU 98117509 A, 19.02.1996.
(85) Дата перевода заявки PCT на национальную фазу:
15.02.2007
(86) Заявка PCT:
US 2005/017485 20050519
(87) Публикация PCT:
WO 2006/019456 20060223
Адрес для переписки:
105215, Москва, а/я 26, пат.пов. Н.А.Рыбиной, рег. 508
|
(72) Автор(ы):
БОЛИНД Майкл Л. (US), НЕЛЬСОН Кристофер Р. (US), ПЕТЕРСЕН Брюс Линн (US), ПОРТЕР Майкл Дж. (US)
(73) Патентообладатель(и):
ЮНАЙТЕД СТЕЙТС ДЖИПСУМ КОМПАНИ (US)
|
(54) УСТАНОВКА И СПОСОБ ОХЛАЖДЕНИЯ И ПРЕКРАЩЕНИЯ ПАРООБРАЗОВАНИЯ ОБОЖЖЕННОГО ШТУКАТУРНОГО ГИПСА
(57) Реферат:
Настоящее изобретение касается установки и способа охлаждения и прекращения парообразования горячего обожженного штукатурного гипса, используемого в производстве гипсовых плит или упакованной штукатурки. Установка для охлаждения обожженного штукатурного гипса, содержит корпус, который ограничивает камеру, вход для подачи штукатурного гипса в камеру, выход для выпуска штукатурного гипса из камеры, псевдоожиженную подушку, которая находится в жидкостном соединении с камерой и предназначена для пропуска воздуха через штукатурный гипс для образования псевдоожиженного слоя внутри камеры. Также содержит устройство для распыления воды, которое размещено внутри камеры для распыления воды и охлаждения штукатурного гипса внутри камеры. Устройство для распыления воды содержит вращающийся узел в камере, который получает воду и распыляет ее при вращении. Использование данного изобретения заключается в повышение эффективности производства гипсовых плит или упакованной штукатурки. 3 н. и 21 з.п. ф-лы, 10 ил.
Настоящее изобретение относится к усовершенствованной установке и способу охлаждения и прекращения парообразования обожженного (кальцинированного) штукатурного гипса (полугидрата сульфата кальция). Охлаждение штукатурного гипса представляет интерес для гипсовой промышленности на протяжении многих десятилетий. Штукатурный гипс физически и термодинамически не стабилен при высоких температурах. Для сохранения его свойств штукатурный гипс необходимо быстро проветрить и охладить ниже температуры кальцинации (250°F). Это особенно верно, когда обожженный штукатурный гипс следует хранить некоторое время. Примером охладителя штукатурного гипса является Патент США 6138377, переуступленный Гипсовой Компании США, и это описание приведено здесь в качестве ссылки.
Горячий и испаряющийся обожженный штукатурный гипс, хранимый в контейнерах, со временем будет стареть. Этот процесс старения неблагоприятно влияет на многие желательные свойства штукатурного гипса, включая консистенцию разлива, степень гидратации, время застывания, ответный сигнал ускорителя и потенциал для развития прочности. Если бункер для хранения не выливает свое содержимое на основании принципа расходования запасов в порядке получения, свойства штукатурного гипса, удаленного из бака для хранения, могут радикально изменяться. Таким образом, охлаждение и прекращение парообразования обожженного штукатурного гипса до его хранения является важным для долговременной стойкости к старению.
Не считая стойкости к старению при хранении, дополнительная проблема создается механической энергией шарового барабанного перемалывания в течение обработки штукатурного гипса. Механическая энергия добавляет больше теплоты штукатурному гипсу, тем самым препятствуя соблюдению температурных требований для упаковывания штукатурного гипса многими заводами. Таким образом, немедленное охлаждение и прекращение парообразования горячего обожженного штукатурного гипса позволяет надлежащим образом упаковать гипс.
Охладители предшествующего уровня техники, такие как змеевиковый охладитель, описанный в Патенте США 6138377, имеют высокую стоимость начального капитала. Более точно, змеевики и жидкостная система теплообмена, используемая в змеевиковом охладителе, являются дорогостоящими. Также, намного более широкий змеевиковый охладитель требуется для охлаждения такого же объема выпуска штукатурного гипса по сравнению с изобретением, описанным здесь. Более того, когда штукатурный гипс, охлажденный при помощи установки, описанной здесь, используется для изготовления продукции, такой как сухая штукатурка, количество требуемой воды и добавок снижается по сравнению со штукатурным гипсом, охлаждаемым другими способами. Таким образом, настоящее изобретение обладает преимуществом по экономичности и рабочим характеристикам над охладителями предшествующего уровня техники.
Настоящее изобретение касается установки и способа охлаждения и прекращения парообразования горячего обожженного штукатурного гипса, такого, который используется при производстве сухой штукатурки или изделий из штукатурки. Установка представляет собой охладитель для штукатурного гипса с псевдоожиженным слоем, охладитель включает в себя устройство для распыления воды, распыляющий воду на штукатурный гипс. Как правило, горячий и испаряющийся обожженный штукатурный гипс транспортируется в охладитель из котла для обжига, и штукатурный гипс затем охлаждается и вентилируется. Охладитель может быть выполнен на линии производства штукатурного гипса, где штукатурный гипс может храниться в течение некоторого периода времени после процесса охлаждения, или он может также быть непосредственно выполнен на линии производства сухой штукатурки, где штукатурный гипс становится доступным для немедленного использования. Каждый блок охладителя может быть расположен отдельно, или несколько блоков могут быть соединены последовательно или параллельно, в зависимости от выработки и требований к охлаждению системы.
Охладитель в своем основном понимании содержит корпус охладителя, имеющий камеру, и вход для штукатурного гипса и выход для штукатурного гипса. Охладитель дополнительно включает в себя устройство для распыления воды или распределитель для распыления и распределения жидкости, предпочтительно воды, в камере. Охладитель также включает в себя псевдоожиженную подушку и мешалку для перемещения и распределения штукатурного гипса внутри камеры. Более того, также описаны виды очистки, такие как использование сжатого воздуха для предотвращения засорения устройства для распыления воды.
Горячий и испаряющийся порошок штукатурного гипса входит в камеру из котла для обжига при температуре в диапазоне от 290 до 320°F, транспортируется в охладитель и разжижается в псевдоожиженной подушке, расположенной на дне камеры корпуса охладителя. В зависимости от расстояния и режима транспортировки от котла для обжига к охладителю, штукатурный гипс, входящий в охладитель, может быть при температуре ниже, чем температура в котле для обжига. Штукатурный гипс может быть при такой низкой температуре, как 260-250°F.
Псевдоожиженная подушка, как правило, представляет собой цилиндрическую камеру, имеющую перфорированную верхнюю поверхность и донную поверхность с входом для воздуха. Как описано в Патенте США 6138377, псевдоожиженная подушка может иметь любую форму, включая квадратную или прямоугольную. Псевдоожиженная подушка имеет относительно малую высоту по сравнению с высотой камеры и расположена так, чтобы перфорированная верхняя поверхность содержала донную поверхность камеры. Воздух, подаваемый нагнетательным вентилятором, поступает во вход для воздуха, диффундирует через перфорированную верхнюю поверхность и входит в камеру корпуса охладителя. Для повышения эффективности разжижения штукатурного гипса используется перемешивающее устройство для перемешивания порошка штукатурного гипса с воздухом для предотвращения прохождения воздуха напрямую через порошок, особенно в натуральном штукатурном гипсе. Перемешивающее устройство имеет перемешивающий пропеллер, установленный на валу, который проходит через верх корпуса и простирается вниз к пропеллеру, который предпочтительно расположен сразу над перфорированным верхом псевдоожиженной подушки. В альтернативном воплощении перемешивающее устройство простирается от дна корпуса, и вал проходит сквозь трубу в псевдоожиженной подушке, так что пропеллер расположен сразу над перфорированным верхом псевдоожиженной подушки. Каждое перемешивающее устройство также имеет уплотнительное устройство для предотвращения выхода штукатурного гипса из камеры в месте прохождения вала. Перемешивающее устройство приводится в действие мотором с подходящей скоростью вращения (обороты в минуту) для обеспечения достаточного разжижения. Специалисту в данной области техники очевидно, что может быть использовано одно или более перемешивающих устройств, и они могут простираться от псевдоожиженного слоя, как описано в Патенте США 6138377.
В течение процесса охлаждения пар от штукатурного гипса и паровая смесь нагнетаются вверх и выходят из камеры сквозь выход для штукатурного гипса. В альтернативном воплощении охладитель включает в себя выход для воздуха. Такой выход описан в Патенте США 6138377. В альтернативном воплощении, выход для воздуха расположен наверху корпуса охладителя и находится в прямом жидкостном соединении с камерой, таким образом обеспечивая возможность удаления пара из камеры. Зона отделения расположена наверху камеры корпуса под выходом для воздуха. Зона отделения представляет собой простирающийся вверх участок камеры, который обеспечивает дополнительное пространство камеры для осуществления возможности падения частичек порошка штукатурного гипса назад из выходящего воздуха, таким образом снижая захват частичек воздухом, который выходит через выход для воздуха.
В любом воплощении устройство для распыления воды расположено в камере для распыления воды или другой жидкости, которая охлаждает штукатурный гипс. Может быть использовано одно неподвижное отверстие или множество неподвижных отверстий. В таком воплощении форсунка закреплена в отверстии в стенке камеры и источник подачи воды присоединен к отверстию снаружи камеры. Однако экспериментальные исследования показали, что штукатурный гипс собирается на неподвижных точках или точках распределения и вокруг них, вызывая накопление штукатурного гипса вокруг неподвижной точки или точек распределения, препятствуя работе и требуя немедленной остановки и разборки для очистки. В предпочтительном воплощении диск или другой вращательный элемент или распределитель, имеющий множество отверстий или форсунок, установлен на вращающемся валу. Вал включает в себя канал или трубопровод для подачи воды к форсункам диска. Мотор присоединен к валу для вращения вала и, следовательно, диска. Вращение вынуждает любой штукатурный гипс, который может попытаться прилипнуть к форсункам или области вокруг форсунок, отбрасываться, таким образом уменьшая накопление штукатурного гипса на форсунках и устраняя или снижая накопление штукатурного гипса вокруг форсунок и засорение охладителя затвердевшим гипсом.
Под действием псевдоожиженной подушки и распыления воды штукатурный гипс охлаждается, и его парообразование снижается, когда он достигает выхода для штукатурного гипса наверху смесительной камеры. Охлажденный и провентилированный штукатурный гипс, как правило, находится при температуре от 250 до 220°F, когда он выходит из корпуса охладителя, что намного ниже температуры кальцинации, составляющей 250°F. Охлажденный и провентилированный штукатурный гипс может затем храниться без риска возникновения по существу неблагоприятных воздействий по причине старения или может быть использован в производственном процессе. При охлаждении ниже 212°F температуры парообразования штукатурный гипс предпочтительно высушивается и дополнительно охлаждается путем подачи штукатурного гипса во второй псевдоожиженный слой. Этот второй слой действует как сушильная камера для испарения оставшейся воды, а также для охлаждения штукатурного гипса.
Сущность изобретения поясняется на чертежах,
где на фиг.1 изображен вид спереди установки для охлаждения штукатурного гипса с псевдоожиженным слоем, описанной здесь, включающий вырез, показывающий диск для распыления воды.
На фиг.2 изображен вид сбоку установки для охлаждения штукатурного гипса с псевдоожиженным слоем с фиг.1.
На фиг.3 изображен вид сверху установки для охлаждения штукатурного гипса с псевдоожиженным слоем, показывающий перегородку.
На фиг.4 изображен вид сверху установки для охлаждения штукатурного гипса с псевдоожиженным слоем, включающий в себя вырез, показывающий диск для распыления воды.
На фиг.5 изображен вид сбоку узла для распыления воды, включающий вырез, показывающий вал и диск внутри камеры.
На фиг.6 изображен вид спереди диска для распыления воды.
На фиг.7 изображен частичный разрез диска для распыления воды.
На фиг.8 изображен вид сбоку альтернативного воплощения установки для охлаждения штукатурного гипса с псевдоожиженным слоем, имеющей выход для воздуха.
На фиг.9 изображен вид сбоку альтернативного воплощения установки для охлаждения штукатурного гипса с псевдоожиженным слоем, имеющей мешалку, установленную сквозь псевдоожиженный слой.
На фиг.10 изображена схема подачи воздуха и воды в устройство для охлаждения штукатурного гипса.
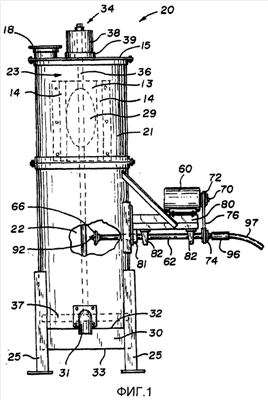
На фиг.1-4 показана установка 20 для охлаждения штукатурного гипса с псевдоожиженным слоем для охлаждения и прекращения парообразования горячего обожженного штукатурного гипса. Установка 20 для охлаждения штукатурного гипса главным образом содержит корпус 21, имеющий расположенную в нем камеру 22. Корпус 21, как правило, выполнен цилиндрическим, хотя могут быть использованы другие формы. В примере для обработки 40 т штукатурного гипса в час камера 23 имеет диаметр 24 дюйма и высоту примерно 7,5 футов. Корпус может иметь другие размеры, в зависимости от применения и желаемой производительности. В качестве примера, камера, предназначенная для производительности, составляющей 80 т в час, имеет диаметр 36 дюймов.
Корпус 21 охладителя имеет вход 19 для штукатурного гипса и выход 29 для штукатурного гипса, оба из которых расположены около верха корпуса 21 охладителя. Перегородка 23 размещена в боковой стенке камеры 22 около выхода 29 для штукатурного гипса для регулирования потока через выход 29. Как вход 19, так и выход 29 для штукатурного гипса находятся в жидкостном соединении с камерой 22. Как вход 19, так и выход 29 для штукатурного гипса имеют размер, обеспечивающий поток штукатурного гипса с желаемой производительностью. Горячий и испаряющийся порошок штукатурного гипса входит в камеру 22 охладителя 20 для штукатурного гипса из котла для обжига (не показано) при температуре, как правило, в диапазоне от 260 до 320°F.
В процессе охлаждения и прекращения парообразования штукатурный гипс поступает в камеру 22 через вход 19 и охлаждается потоком воздуха из псевдоожиженной подушки 30 и водой из распылительного распределителя 66 и затем вытесняется через выход 29. Охлажденный штукатурный гипс после этого может быть упакован или отправлен на другие станции обработки, например на линии производства сухой штукатурки.
Установка 20 для охлаждения штукатурного гипса может быть расположена отдельно или соединена последовательно или параллельно с несколькими другими охладителями, в зависимости от требований системы к охлаждению. В предпочтительном воплощении установка 20 для охлаждения штукатурного гипса является компактной и вертикальной, таким образом снижая занимаемую ею площадь на заводе. Как показано на Фиг.1-4, ножки 25 оборудованы на корпусе 21 охладителя для поддержания установки 20 для охлаждения штукатурного гипса в вертикальном положении. Специалисту в данной области техники очевидно, что для поддержания корпуса могут быть использованы другие структуры.
Для разжижения порошка штукатурного гипса внутри камеры 22 на дне корпуса 21 охладителя расположена псевдоожиженная подушка 30. Псевдоожиженная подушка 30 представляет собой, как правило, цилиндрическую камеру, имеющую перфорированную верхнюю поверхность 32 и донную поверхность 33 с входом 46 для воздуха. В предпочтительном воплощении перфорированная верхняя поверхность 32 представляет собой наслоение кварцевых волокон или другой разжижающей среды, сжатое между двумя перфорированными пластинами. Пластины имеют отверстия диаметром 3/8 дюйма, центры которых разнесены и расположены в шахматном порядке через 9/16 дюйма, в результате чего открытая площадь составляет примерно 40%. Может быть использована другая разжижающая среда, известная специалистам в данной области техники, такая как сетка из нержавеющей стали. Несмотря на то, что в предпочтительном воплощении псевдоожиженная подушка 30 и камера 22 имеют цилиндрическую форму, они могут иметь любую форму. Псевдоожиженная подушка 30 присоединена к дну корпуса 21 охладителя. Перфорированная верхняя поверхность 32 формирует дно камеры 22. Псевдоожиженная среда рассеивает воздух, когда он входит в камеру 22. Воздух, подаваемый нагнетательным вентилятором (не показано), поступает в псевдоожиженную подушку 30 через вход для воздуха 46, диффундирует сквозь перфорированную верхнюю поверхность 32 и входит в камеру 22 корпуса 21 охладителя. Этот воздух помогает разжижить порошок штукатурного гипса так, что он эффективно протекает через камеру 22. Этот поток воздуха также используется для способствования удалению пара из порошка штукатурного гипса.
Для предотвращения прямого прохождения разжижающего воздуха сквозь порошок штукатурного гипса и для минимизации накопления порошка штукатурного гипса на поверхностях внутри камеры 22 необязательная мешалка 34 используется для перемешивания порошка штукатурного гипса с воздухом. Если штукатурный гипс способен разжижаться без перемешивания, мешалка 34 может не быть включена, так как охладитель 20 будет функционировать без перемешивающего блока 34.
Мешалка 34 имеет перемешивающий пропеллер 37, установленный на валу 36, который проходит сквозь верх 15 корпуса 21, так что пропеллер 37 расположен непосредственно над перфорированной верхней поверхностью 32 псевдоожиженной подушки 30. Пропеллер не должен обязательно иметь какую-либо определенную форму. В предпочтительном воплощении пропеллер 37 представляет собой пару брусков из нержавеющей стали шириной дюйма и высотой 2 дюйма, простирающихся от вала к окрестности стенок камеры 22. Очевидно, что могут быть использованы другие механизмы для перемешивания штукатурного гипса, такие как качающаяся рамная мешалка. Если используется прямоугольный или другой некруглый корпус 21, пропеллер 37 имеет размер, позволяющий ему вращаться без контакта со стенками камеры 22.
Мешалка 34 также имеет блок 38 передач. Блок 38 передач преобразует горизонтальное вращение мотора 40 в вертикальное вращение для вала 36. Блок 38 передач также включает в себя опору для удержания вала 36 в фиксированном положении с возможностью вращения. В предпочтительном воплощении блок 38 передач представляет собой редукторный электродвигатель, производимый Falk, имеющий номер детали 05UWFQZA71AB. Специалисту в данной области техники очевидно, что для передачи энергии мешалке могут быть использованы другие механизмы, такие как ремни и шестерни, червячные передачи, планетарные передачи и другие известные средства. Для предотвращения или снижения количества штукатурного гипса, который выходит из камеры 22 сквозь отверстие, через которое вал 36 входит в камеру 22, в отверстии используется избыточное давление воздуха или другое уплотнение. Воздух подается к уплотнению 39 из трубопровода снаружи блока 38 передач. Трубопровод присоединен шлангами или системой труб к источнику сжатого воздуха 119 на заводе, как показано на фиг.10. В предпочтительном воплощении воздух регулируется до давления в 1 фунт на квадратный дюйм или давления, достаточного для препятствования выходу штукатурного гипса через отверстие из камеры 22. В предпочтительном воплощении мотор 40 вращается со скоростью примерно 60 оборотов в минуту, несмотря на то, что подходят и другие скорости вращения.
В альтернативном воплощении, показанном на фиг.9, перемешивающее устройство 34 простирается вверх в камеру 22 через псевдоожиженную подушку 30. Вал 36 проходит через трубу 170, простирающуюся от дна корпуса 21, и через перфорированную верхнюю поверхность 32. Такое расположение описано в Патенте США 6138377. В других отношениях альтернативное воплощение перемешивающего устройства, простирающегося через псевдоожиженную подушку 30, подобно перемешивающему устройству, описанному ранее.
Перегородка 23 оборудована на выходе 29 для штукатурного гипса для снижения или предотвращения непосредственного перемещения штукатурного гипса от входа 19 для штукатурного гипса к выходу 29 для штукатурного гипса. Перегородка 23 представляет собой десятиразмерную пластину из нержавеющей стали, присоединенную к стенке корпуса 21. Перегородка 23 включает в себя основной участок 13, шириной примерно 8 дюйма, фланкированный двумя боковыми участками 14 шириной примерно 4 7/8 дюйма. Боковые участки 14 расположены под углом примерно 130° к поверхности основного участка 13. Когда перегородка 23 присоединена к корпусу 21, она занимает арку примерно в 80°. Перегородка 23 предпочтительно имеет достаточный размер для превышения размеров выхода 29 для штукатурного гипса.
Корпус 21 дополнительно включает в себя смотровое окно 18. Смотровое окно 18 может быть оборудовано съемной металлической крышкой для возможности доступа к камере 22. Смотровое окно 18 может также быть оборудовано прозрачной крышкой для наблюдения за камерой 22 в ходе работы охладителя 20. В альтернативных воплощениях смотровое окно 18 может быть оставлено открытым для окружающего воздуха или снабжено подходящим каналом для обеспечения выхода 150 для воздуха, что будет описано позже.
В предпочтительном воплощении выход 29 для штукатурного гипса ведет к удлиненной трубе 28, которая простирается вниз, вдоль стороны корпуса 21. Около дна камеры расположено выпускное отверстие 27 в выборочном жидкостном соединении с удлиненной трубой. Жидкостное соединение регулируется клапаном, который обычно находится в закрытом положении. Клапан открывается, когда оператор желает опустошить камеру 22 с порошком штукатурного гипса, например, после остановки производственной линии или в случае переполнения. Второе выпускное отверстие 31 может быть расположено в корпусе примерно через 180° от первого для увеличения скорости разгрузки и для более легкой полной очистки камеры 22 от штукатурного гипса. Второе выпускное отверстие 31 не обязательно должно быть соединено с удлиненной трубой 28, хотя может быть соединено с ней для обеспечения заключенного пути для размещения штукатурного гипса.
Установка 20 для охлаждения штукатурного гипса достигает разжижения посредством нагнетательного вентилятора низкого давления в соединении с псевдоожиженной подушкой 30 и перемешивающими устройствами 34. В предпочтительном воплощении используется нагнетательный вентилятор, имеющий производительность примерно 20 Cfm на квадратный фут площади горизонтального поперечного сечения камеры 22 и обеспечивающий высоту нагнетания примерно 6 фунтов на квадратный дюйм. Это создает требуемый перепад давлений для осуществления разжижения порошка штукатурного гипса в охладителе 20 для штукатурного гипса.
На фиг.1-6 изображено устройство для распыления воды или распределитель согласно предпочтительному воплощению, который включает в себя мотор 60, вал 62, имеющий канал 64 для подачи жидкости через него, и распылительный распределитель 66, включающий в себя множество каналов 92 в жидкостном соединении с каналом 64 вала 62.
Мотор 60 предпочтительно представляет собой электромотор, способный вращать сборку вала 62 и распылительного распределителя 66 со скоростью вращения 1750 оборотов в минуту. Мотор включает в себя ведущий вал 70 и приводной шкив 72. Шкив 74 установлен на валу 62 и присоединен к приводному шкиву 72 приводным ремнем 76. Специалистам в данной области техники очевидно, что другие приспособления могут быть использованы для передачи мощности от мотора к валу, такие как коробка передач или прямая передача на вал.
В предпочтительном воплощении, мотор 60 и вал 62 установлены на опорную сборку 80. Опорная сборка 80 прикреплена или приварена к внешней поверхности корпуса 21. Вал 62 установлен на опорную сборку 80 посредством подшипников 82, которые позволяют валу 62 вращаться вокруг своей оси. Вал расположен в, по существу, горизонтальном положении и простирается в камеру 22 сквозь отверстие в корпусе 21. Уплотнение 81 вала расположено вокруг вала 62 в точке его входа в отверстие. Уплотнение 81 вала препятствует выходу материала, находящегося внутри камеры 23, сквозь отверстие. В предпочтительном воплощении уплотнение 81 вала включает в себя воздушный канал для возможности подачи сжатого воздуха из пространства снаружи от уплотнения к внутреннему пространству уплотнения. Примером такого уплотнения являются уплотнения марки CinchSeal®, изготовляемые Damar Inc., Cherry Hill, Нью-Джерси. При использовании уплотнений марки CinchSeal® сжатый воздух от источника сжатого воздуха 119 на заводе, как правило, под давлением от 80 до 100 фунтов на квадратный дюйм, снижается до 5-15 фунтов на квадратный дюйм и подается к уплотнению 81 вала посредством подходящих труб или шланга.
Распылительный распределитель 66, показанный подробно на фиг.6 и 7, как правило, представляет собой диск круглой формы. Он не обязательно должен быть круглым, он может иметь любую удобную форму. В предпочтительном воплощении распылительный распределитель 66 имеет диаметр примерно 4 дюйма и толщину примерно 3/4 дюйма на участке диска 95. Внутреннее пространство распылительного распределителя 66 включает в себя камеру 90. Из камеры 90 к периметру распылительного распределителя 66 простираются распылительные каналы 92, имеющие отверстия, выходящие в атмосферу. Распылительные каналы 92 позволяют жидкости в камере 90 вытесняться из распылительного распределителя 66. В предпочтительном воплощении имеется восемь распылительных каналов 92. Очевидно, что количество каналов может меняться для соответствия желаемой поливной норме. В предпочтительном воплощении распылительные каналы 92 имеют диаметр примерно 1/16 дюйма. Диаметр и любые другие размеры распылительных каналов 92 могут меняться в соответствии с желательной поливной нормой и желательной структурой распределения. Форсунки могут быть установлены в распылительные каналы 92 для создания структурного распыления, несмотря на то, что они не являются необходимыми для достижения желаемых результатов охлаждения.
Распылительный распределитель 66 включает в себя участок буртика 94 для обеспечения присоединения к валу 26. В предпочтительном воплощении резьба (не показано) на буртике 94 используется для соединения участка буртика 94 с соответствующей резьбой (не показано) на валу 62. Специалисту в данной области техники очевидно, что для присоединения распылительного распределителя 66 к валу 62 могут быть использованы другие структуры. Заклепки, сварка, клей и установочные винты являются некоторыми из примеров. Более того, вал 62 и распылительный распределитель 66 могут быть выполнены как единая деталь.
В предпочтительном воплощении распылительный распределитель 66 состоит из двух частей. Основной корпус 100 включает в себя участок буртика 94 и участок диска 95 и крышку 102. Такая конструкция обеспечивает доступ к камере 90, когда крышка 102 снята, а также делает возможным производство путем механической обработки. Такая конструкция также обеспечивает возможность очистки распылительных каналов 92. Крышка удерживается крепежами 104. В предпочтительном воплощении крепежи 104 представляют собой винты, однако могут быть использованы другие съемные крепежи. Если нет необходимости в доступе к внутреннему пространству, крышка 102 может быть присоединена к основному корпусу 100 сваркой или клеем.
В альтернативном воплощении распылительный распределитель 66 может иметь конструкцию трубопроводов, простирающихся радиально от вала 62. Трубопроводы находятся в жидкостном соединении с каналом 64, позволяя жидкости проходить из канала 64 в трубопроводы и вытесняться из трубопроводов сквозь отверстия. Специалистам в данной области техники очевидно, что трубопровод не обязательно должен простираться перпендикулярно оси вала, но также может быть расположен под углом к валу, при условии, что силы вращения, возникающие, когда сборка вращается, являются достаточными для препятствования накоплению или прилипанию штукатурного гипса к распределителю 66.
В другом альтернативном воплощении распылительный распределитель 66 может быть исключен путем размещения радиальных каналов в вале 62, что делает возможным прохождение жидкости от канала 64 к радиальным каналам и ее высвобождение в камеру 22. В таком воплощении вал 62 простирается поперек части или по всему диаметру камеры 22, при этом радиальные каналы размещены в различных местах вдоль длины вала внутри камеры 22.
В любом из воплощений воду подают к вращающемуся валу 62 через жидкостное соединение 96. Пример такого соединения представляет собой высокоскоростное однопоточное шарнирное соединение номер 9177К32, поставляемое McMaster-Carr. Жидкостное соединение 96 позволяет неподвижной трубе или шлангу 97 подавать воду в канал 64 вращающегося вала 62. Вода может подаваться из любого количества источников, таких как городская водопроводная вода, бак гравитационной подачи или насос, при условии, что может быть произведено достаточное количество воды. В предпочтительном воплощении, как показано на фиг.10, вода поступает из городского водопровода 115 и хранится в напорном баке на 30 галлон. Вода выкачивается из бака водяным насосом 110, способным накачивать 5 галлонов в минуту.
Охлаждение, происходящее в охладителе для штукатурного гипса, может быть отрегулировано путем настройки количества воды, подаваемой распылительным распределителем 66. В предпочтительном воплощении водяной насос 110 подает воду к сборке трехходового клапана, имеющей вход для воды 121 и вход для сжатого воздуха 122 от источника сжатого воздуха 119 на заводе и выход 123 для подачи любой смеси из этих двух входящих сред, включая только воздух или только воду. Выход клапана присоединен посредством подходящего трубопровода к жидкостному соединению 97 для подачи воды к распылительному распределителю 66 через канал 64 в валу 62. В предпочтительном воплощении либо воздух, либо вода выходит из выхода 123. В типичном применении воздух поступает к клапану под давлением примерно от 80 до 100 фунтов на квадратный дюйм. Клапан регулируется средством управления 130, которое получает сигнал от термопары или другого датчика температуры 135, размещенного в камере 22. Если средство управления 130 определяет температуру меньше 212°F, он регулирует сборку 120 клапана так, чтобы в распылительный распределитель 66 поступал только воздух. Когда температура равна или превосходит 220°F, сборка 120 клапана регулируется так, чтобы вода поступала в распылительный распределитель 66. Специалистам в данной области техники очевидно, что также может поступать смесь воздуха и воды, смесь, изменяющаяся для достижения желаемой скорости охлаждения и потребления воды. При работе, предпочтительно, чтобы воздух или вода подавались в распределитель все время, пока в камере 22 находится штукатурный гипс, для предотвращения попадания штукатурного гипса в распределитель 66, что может вызвать засорение распределителя 66.
В альтернативном воплощении, показанном на фиг.8 и 9, пар от смеси штукатурного гипса нагнетается вверх и выходит из камеры 22 через выход 150 для воздуха. Выход 150 для воздуха расположен непосредственно наверху корпуса 21 охладителя или около него и над уровнем выхода 29 для штукатурного гипса, таким образом позволяя удалить пар из камеры 22. Зона отделения 160 представляет собой простирающийся вверх участок камеры 22, расположенный над выходом 29 для штукатурного гипса. По мере удаления воздуха из камеры 22 сквозь выход 150 для воздуха, зона отделения 160 образует пространство для возможности падения и возвращения назад частичек порошка штукатурного гипса до возможного входа в выход 150 для воздуха, таким образом предотвращая вовлечение частиц порошка штукатурного гипса в воздух, который выходит через выход 150 для воздуха. Выход 150 для воздуха, как правило, находится в жидкостном соединении с пылеуловителем (не показано), который собирает и фильтрует любые частицы штукатурного гипса, оставшиеся в воздухе. Однако оказалось, что выход для воздуха не является необходимым, и достаточное охлаждение достигается путем обеспечения возможности выхода пара из камеры 22 через выход 29 для штукатурного гипса.
Требования к рабочим характеристикам системы охлаждения могут также быть удовлетворены путем использования более чем одной установки 20 для охлаждения либо параллельно, либо последовательно. Подобное приспособление описано в Патенте США 6138377. Дополнительно, если требуется дальнейшая сушка или охлаждение ниже 212°F, штукатурный гипс, выходящий из выхода 29 для штукатурного гипса, может быть подан в сушильную камеру, такую как сушилка с псевдоожиженным слоем, знакомую специалистам в данной области техники. Может подойти любая сушилка, обеспечивающая поток воздуха без передачи тепла штукатурному гипсу.
Несмотря на то, что здесь при описании предпочтительных и альтернативных воплощений изобретения были показаны определенные варианты воплощения настоящего изобретения, следует понимать, что у прилагаемой формулы изобретения широкий диапазон эквивалентов и более широкие рамки, чем у описанных воплощений.
Формула изобретения
1. Установка для охлаждения обожженного штукатурного гипса, содержащая: корпус, ограничивающий камеру, вход для подачи штукатурного гипса в камеру, выход для выпуска штукатурного гипса из камеры, псевдоожиженную подушку, находящуюся в жидкостном соединении с камерой и предназначенную для пропуска воздуха через штукатурный гипс для образования псевдоожиженного слоя внутри камеры, и устройство для распыления воды, размещенное внутри камеры для распыления воды и охлаждения штукатурного гипса внутри камеры, причем устройство для распыления воды содержит вращающийся узел в камере, получающий воду и распыляющий ее при вращении.
2. Установка по п.1, в которой устройство для распыления воды содержит распылительную форсунку, расположенную в стенке, ограничивающей камеру, причем выход для штукатурного гипса расположен наверху камеры, а устройство для распыления воды расположено на высоте между высотой псевдоожиженной подушки и высотой выхода для штукатурного гипса.
3. Установка по п.1, в которой вращающийся узел содержит диск, имеющий периметр и каналы в соединении с отверстиями по периметру диска, распыляющими воду по мере вращения диска.
4. Установка по п.1, в которой узел вращается со скоростью 1800 об./мин.
5. Установка по п.1, в которой узел вращается со скоростью, достаточной для вытеснения штукатурного гипса около отверстий.
6. Установка по п.1, также содержащая мешалку, расположенную внутри камеры, причем устройство для распыления воды содержит отверстие для подачи воды в камеру.
7. Установка по п.6, в которой устройство для распыления воды выполнено с возможностью перемещения внутри камеры.
8. Установка по п.7, в которой устройство для распыления воды включает в себя полый вал, имеющий первый конец и второй конец, причем первый конец принимает воду, а второй конец находится в соединении с распределителем воды, при этом распределитель воды имеет каналы для распределения воды, полученной из полого вала, причем распределитель воды выполнен с возможностью вращения внутри камеры.
9. Установка для охлаждения обожженного штукатурного гипса, содержащая: корпус, ограничивающий камеру, вход для подачи штукатурного гипса в камеру, выход для выпуска штукатурного гипса из камеры, псевдоожиженную подушку, находящуюся в жидкостном соединении с камерой, причем псевдоожиженная подушка расположена с возможностью пропускания воздуха на штукатурный гипс для образования псевдоожиженного слоя из штукатурного гипса, и отверстие внутри камеры, выполненное в жидкостном соединении с источником воды, причем отверстие расположено с возможностью распыления воды на штукатурный гипс внутри камеры.
10. Установка по п.9, которая дополнительно содержит мешалку, имеющую по меньшей мере часть, расположенную над псевдоожиженной подушкой для перемешивания штукатурного гипса внутри камеры и смешивания порошка штукатурного гипса с воздухом.
11. Установка по п.9, в которой вышеуказанное отверстие выполнено с возможностью перемещения внутри камеры, причем выход для штукатурного гипса расположен наверху камеры, а устройство для распыления воды расположено на высоте между высотой псевдоожиженной подушки и высотой выхода для штукатурного гипса.
12. Установка по п.9, в которой вышеуказанное отверстие является частью узла, выполненного с возможностью вращения внутри камеры.
13. Установка по п.9, также содержащая источник сжатого воздуха, причем отверстие выполнено в выборочном соединении с источником воды и в выборочном соединении с источником воздуха, причем отверстие расположено с возможностью распыления воздуха или воды на штукатурный гипс внутри камеры.
14. Установка по п.13, которая также содержит датчик температуры для отслеживания температуры штукатурного гипса внутри камеры, причем датчик производит сигнал, относящийся к температуре, и устройство управления для приема сигнала и регулирования количества воздуха или воды, поступающей в отверстие.
15. Установка по п.9, в которой отверстие выполнено с возможностью вращения вокруг горизонтальной оси перпендикулярной корпусу.
16. Способ охлаждения обожженного штукатурного гипса, включающий в себя этапы, на которых осуществляют: ввод штукатурного гипса в камеру; продувку воздуха вверх сквозь штукатурный гипс от более низкой части камеры для образования воздушного псевдоожиженного слоя, содержащего порошок штукатурного гипса и воздух, распыление воды из устройства для распыления воды внутри камеры на штукатурный гипс для охлаждения штукатурного гипса, вытеснение штукатурного гипса из камеры.
17. Способ по п.16, в котором: обеспечивают камеру, имеющую вход для штукатурного гипса и выход для штукатурного гипса, причем выход для штукатурного гипса расположен наверху камеры, обеспечивают псевдоожиженную подушку, находящуюся в жидкостном соединении с камерой для продувки воздуха сквозь штукатурный гипс внутри камеры для образования псевдоожиженного слоя, осуществляют распыление воды из устройства для распыления воды на штукатурный гипс внутри камеры, причем устройство для распыления воды расположено на высоте между высотой псевдоожиженной подушки и высотой выхода для штукатурного гипса, и тем самым обожженный штукатурный гипс охлаждается и его парообразование прекращается.
18. Способ по п.16, в котором распыляемую воду распыляют на штукатурный гипс внутри камеры посредством устройства для распыления воды, которое содержит вращающийся узел в камере, получающий воду и распыляющий ее при вращении, причем силы вращения, возникающие при вращении узла, являются достаточными для предотвращения накопления или прилипания штукатурного гипса к узлу.
19. Способ по п.16, в котором порошок штукатурного гипса выходит из камеры с воздухом.
20. Способ по п.1, в котором псевдоожиженная подушка является дном камеры.
21. Способ по п.16, в котором корпус ограничивает камеру, причем устройство для распыления воды вращается вокруг горизонтальной оси, перпендикулярной к корпусу.
22. Способ по п.16, в котором порошок штукатурного гипса, выходящий из камеры, находится при температуре от 121,1°С (250°F) до 104,4°С (220°F).
23. Способ по п.16, в котором порошок штукатурного гипса, выходящий из камеры, находится при температуре ниже, чем 121,1°С (250°F) или равной ей.
24. Способ по п.16, в котором порошок штукатурного гипса, выходящий из камеры, находится при температуре ниже, чем 100°С (212°F) или равной ей.
РИСУНКИ
|
|