|
(21), (22) Заявка: 2008113212/12, 07.09.2006
(24) Дата начала отсчета срока действия патента:
07.09.2006
(30) Конвенционный приоритет:
07.09.2005 KR 10-2005-0083436 24.10.2005 KR 10-2005-0100414 28.12.2005 KR 10-2005-0132044 28.03.2006 KR 10-2006-0028071
(46) Опубликовано: 27.12.2009
(56) Список документов, цитированных в отчете о поиске:
US 4087141 А, 03.09.1976. JP 62-171789 А, 31.10.1987. KR 20-1999-0027380 А, 15.07.1999.
(85) Дата перевода заявки PCT на национальную фазу:
07.04.2008
(86) Заявка PCT:
KR 2006/003566 20060907
(87) Публикация PCT:
WO 2007/029978 20070315
Адрес для переписки:
129090, Москва, ул.Б.Спасская, 25, стр.3, ООО “Юридическая фирма Городисский и Партнеры”, пат.пов. С.А. Дорофееву
|
(72) Автор(ы):
БАЕ Сунг-Воок (KR), АН Дзонг-Хиеок (KR), ЧО Хиеон-По (KR), ЧОИ Чанг-Бонг (KR)
(73) Патентообладатель(и):
ЭлДжи ЭЛЕКТРОНИКС ИНК. (KR)
|
(54) ДВЕРНАЯ РУЧКА ХОЛОДИЛЬНИКА
(57) Реферат:
Настоящее изобретение относится к дверной ручке холодильника. В настоящем изобретении элемент (40) отделки установлен в установочном канале (36), имеющемся в стержне (30) ручки. Установочный канал (36) с элементом (40) отделки, установленным в нем, защищен прозрачной или полупрозрачной крышкой (42) ручки. Концевые соединительные детали (45) крышки предусмотрены на обоих концах крышки (42) ручки и соединены с соединительными ребрами корпуса (31) стержня (30) ручки или основания (34) крышки. Концевые соединительные детали (45) крышки выступают и проходят от обоих концов крышки (42) ручки перпендикулярно другим участкам. В качестве элемента (40) отделки можно использовать светящееся тело или драгоценный камень. С дверной ручкой согласно настоящему изобретению, сконструированной как изложено выше, эстетическое ощущение дверной ручки улучшено, чтобы выполнять различные требования потребителя к конструкции, и стержень (30) ручки стал более прочным для увеличения надежности дверной ручки. 3 н. и 14 з.п. ф-лы, 11 ил.
Область техники
Настоящее изобретение относится к холодильникам и, более конкретно, к дверной ручке холодильника, используемой для того, чтобы открывать или закрывать дверь, которая открывает или закрывает пространство для хранения в холодильнике.
Уровень техники, к которой относится изобретение
Конфигурация холодильника, установленного с обычной дверной ручкой, будет описана со ссылкой на фиг.1. Пространство 3 для хранения образует в холодильнике основной корпус 1. Пространство 3 для хранения можно разделять на холодильную камеру и морозильную камеру, которые расположены в верхнем и нижнем участках основного корпуса 1, соответственно. На обоих концах передней лицевой поверхности верхнего участка основного корпуса 1 обеспечена пара дверей 5 холодильной камеры для того, чтобы выборочно открывать или закрывать холодильную камеру, а на передней лицевой поверхности нижнего участка основного корпуса 1 установлена дверь 7 морозильной камеры для того, чтобы выборочно открывать или закрывать морозильную камеру.
Дверные ручки 5′ и 7′ установлены на дверях 5 холодильной камеры и двери 7 морозильной камеры, соответственно. Дверные ручки 5′ и 7′ сконструированы так, что держатели 6′ и 8′ ручек, поддерживающие оба конца каждого из стержней 6 и 8 ручек, прикреплены к дверям 5 и 7, соответственно. Оба конца каждого из стержней 6 и 8 ручек вставлены в держатели 6′ и 8′ ручек и закреплены в них.
Стержни 6 и 8 ручек могут содержать основные корпуса 6a и 8a, образующие корпуса стержней 6 и 8 ручек, и элементы 6b и 8b отделки для украшения передних лицевых поверхностей, соответственно. В этом случае основные корпуса 6a и 8a в общем выполняют из металлического материала, такого как алюминий, а элементы 6b и 8b отделки в общем выполняют из материала, такого как пластмасса.
Однако в обычной описанной выше дверной ручке имеются следующие проблемы.
Во-первых, каждый из стержней 6 ручки обычных дверных ручек 5′ и 7′ является удлиненным отдельным стержнем. Таким образом, когда потребитель захватывает и тянет стержни 6 ручек его/ее рукой, стержни 6 ручек многократно деформируются и восстанавливаются из-за их упругой деформации. Таким образом, во время использования соединение между стержнями 6 ручек и держателями 6′ и 8′ ручек может ослабнуть так, что стержни 6 ручек оторвутся или треснут, и это может вызвать проблему неудобства для потребителя.
Кроме того, так как основные корпуса 6a и 8a и элементы 6b и 8b отделки стержней 6 ручек выполняют из различных материалов, например металла и пластмасс, они имеют различные коэффициенты теплового расширения. Таким образом, основные корпуса 6a и 8a и элементы 6b и 8b отделки расширяются или укорачиваются с различной интенсивностью согласно изменениям во внутренней температуре, которая может вызвать разделение между ними. В частности, в случае, когда стержни 6 ручек собирают при низкой температуре, а используют при высокой температуре, основные корпуса 6a и 8a, выполненные из металлического материала, чувствительного к тепловым изменениям, расширяются больше. Поэтому основные корпуса 6a и 8a поднимают держатели 6′ и 8′ ручек, тем самым вызывая проблему, состоящую в том, что элементы 6b и 8b отделки, относительно нечувствительные к тепловым изменениям, отделяются или трескаются.
Кроме того, поскольку известные стержни 6 и 8 ручек сконструированы так, что элементы 6b и 8b отделки просто установлены на основных корпусах 6a и 8a, имеется проблема, состоящая в том что невозможно выполнять желания потребителей, желания которых разнообразны.
Известные стержни 6 и 8 ручек функционируют только как части, которые потребитель захватывает и тянет, чтобы открывать или закрывать двери 5 и 7. Однако поскольку потребитель не может видеть стержни 6 и 8 ручек, намереваясь открывать или закрывать двери холодильника в темноте, например ночью, потребитель должен включать дополнительную лампу и затем захватывать стержни 6 и 8 ручек, чтобы открывать или закрывать двери 5 и 7.
Раскрытие
Техническая проблема
Соответственно, настоящее изобретение задумано, чтобы решить вышеупомянутые проблемы предшествующего уровня техники. Цель настоящего изобретения состоит в том, чтобы создать дверную ручку со сравнительно высокой прочностью.
Другая цель настоящего изобретения состоит в том, чтобы создать дверную ручку, которую можно по-разному украшать.
Дополнительная цель настоящего изобретения состоит в том, чтобы создать дверную ручку, компоненты которой жестко соединены друг с другом.
Еще одна дополнительная цель настоящего изобретения состоит в том, чтобы разнообразить внешний вид передней лицевой поверхности дверной ручки.
Еще одна дополнительная цель настоящего изобретения состоит в том, чтобы изготавливать различные виды дверных ручек со сведенными к минимуму изменениями конструкции компонентов.
Еще одна дополнительная цель настоящего изобретения состоит в том, чтобы создать дверную ручку, которую можно легко обнаруживать даже в темноте, устанавливая в ней светящееся тело.
Техническое решение
Согласно объекту настоящего изобретения для достижения целей создана дверная ручка холодильника, содержащая стержень ручки, имеющий установочный канал, выполненный в продольном направлении в его передней лицевой поверхности, и полупрозрачную или прозрачную крышку ручки для укрытия установочного канала; элемент отделки, установленный в установочном канале и видный с наружной стороны крышки ручки; держатели ручек, предусмотренные на обоих концах стержня ручки для прикрепления и поддерживания стержня ручки на одной стороне двери.
Предпочтительно, стержень ручки имеет цилиндрическую форму такую, что в нем образовано пространство.
Предпочтительно, стержень ручки включает в себя корпус стержня ручки, имеющий зацепляющие ребра, проходящие параллельно на обоих концах его поперечного сечения, и основание крышки, соединенное с зацепляющими ребрами корпуса стержня ручки для прикрепления к корпусу стержня ручки, при этом в основании крышки предусмотрен установочный канал так, что элемент отделки и крышка ручки прикреплены к нему.
Предпочтительно, концевые соединительные детали крышки, прикрепляемые к обоим концам основания крышки, предусмотрены на обоих концах крышки ручки, и основание крышки выполнено с соединительными ребрами, соответствующими соединительным отверстиям, образованным в концевых соединительных деталях крышки так, чтобы крышка ручки и основание крышки соединялись друг с другом.
Предпочтительно, выступы крышки образованы на обоих продольных концах крышки ручки, а соединительные углубления образованы в положениях в установочном канале, соответствующих выступам крышки так, что выступы крышки могут размещаться в соединительных углублениях.
Предпочтительно, элемент отделки выполняют из драгоценного камня или светящегося тела.
Предпочтительно, каждый из держателей ручки включает в себя корпус держателя, выполненный с установочной канавкой стержня, в которую устанавливается и зацепляется конец стержня ручки, и концевую защитную деталь, предусмотренную на конце корпуса держателя, чтобы закрывать конец стержня ручки.
Предпочтительно, концевая защитная деталь держателя ручки образована с соединительным сквозным отверстием для соединения с каждой из концевых соединительных деталей, образованных на обоих концах крышки ручки, и колпачок прикреплен к соединительному сквозному отверстию.
Предпочтительно, крышку ручки получают инжекционным формованием синтетической пластмассы, а стержень ручки получают прессованием металлического материала.
Согласно другому объекту настоящего изобретения для достижения целей создана дверная ручка холодильника, содержащая стержень ручки, имеющий установочный канал в продольном направлении в его передней лицевой поверхности, и прозрачную или полупрозрачную крышку ручки для укрытия установочного канала; элемент отделки, установленный в установочном канале и видный с наружной стороны через крышку ручки; держатели ручки, предусмотренные на обоих концах стержня ручки, чтобы прикреплять и поддерживать стержень ручки на одной стороне двери, при этом на обоих концах крышки ручки образованы концевые соединительные детали крышки, проходящие к стержню ручки так, что концевые соединительные детали крышки соединены соответственно с обоими концами стержня ручки.
Предпочтительно, стержень ручки включает в себя корпус стержня ручки, имеющий зацепляющие ребра, проходящие параллельно на обоих концах ее поперечного сечения, и основание крышки, соединенное с зацепляющими ребрами корпуса стержня ручки, чтобы прикреплять его к корпусу стержня ручки, при этом в основании крышки предусмотрен установочный канал так, что элемент отделки и крышка ручки прикреплены к нему.
Предпочтительно, концевые соединительные детали крышки ручки соединяются с соединительным ребром, образованным на корпусе стержня ручки.
Предпочтительно, концевые соединительные детали крышки ручки соединяются с соединительным ребром, образованным на основании крышки.
Предпочтительно, элемент отделки выполняют из драгоценного камня или светящегося тела.
Предпочтительно, каждый из держателей ручки включает в себя корпус держателя, выполненный с установочной канавкой стержня, в которую устанавливают и зацепляют конец стержня ручки, и концевую защитную деталь, предусмотренную на конце корпуса держателя, чтобы закрывать конец стержня ручки.
Предпочтительно, концевая защитная деталь держателя ручки выполнена с соединительным сквозным отверстием для соединения с каждой из концевых соединительных деталей, образованных на обоих концах крышки ручки, а колпачок прикреплен к сквозному соединительному отверстию.
Согласно другому объекту настоящего изобретения для достижения целей создана дверная ручка холодильника, содержащая стержень ручки, включающий в себя корпус стержня ручки, удлиненный в одном направлении и имеющий открытую переднюю лицевую поверхность, и крышку ручки, прикрепленную к открытой передней лицевой поверхности корпуса стержня ручки; элемент отделки, установленный в любом положении на передней лицевой поверхности корпуса стержня ручки за исключением положения, в котором установлена крышка ручки; держатели ручки, предусмотренные на обоих концах стержня ручки для прикрепления и поддержки стержня ручки на одной стороне двери.
Предпочтительно, канавку элемента отделки, выполненную с возможностью размещения материала элемента отделки, выполняют на передней лицевой поверхности элемента отделки, а крышку элемента отделки, выполненную из прозрачного или полупрозрачного материала, устанавливают в канавке для элемента отделки так, чтобы внутреннюю часть канавки элемента отделки можно было видеть с наружной стороны.
Предпочтительно, материал элемента отделки, включающий в себя драгоценный камень или светящееся тело, вводят в канавку элемента отделки.
Предпочтительно, элемент отделки и крышку элемента отделки получают инжекционным формованием синтетической пластмассы, и крышка элемента отделки содержит светящийся материал или фотолюминесцентный материал.
Предпочтительно, первые обращенные друг к другу крепежные ступеньки для установки крышки ручки образуют внутри открытой передней лицевой поверхности корпуса стержня ручки, а вторые обращенные друг к другу крепежные ступеньки для установки элемента отделки образуют на участках, внутренних относительно первых крепежных ступенек, в которых зацепляющие выступы, захватываемые первыми крепежными ступеньками, проходящими в продольном направлении крышки ручки на обоих концах задней лицевой поверхности крышки ручки, и множество крючков, захватываемых вторыми крепежными ступеньками, образуют по обоим концам задней лицевой поверхности элемента отделки.
Предпочтительно, корпус стержня ручки и крышку ручки получают прессованием металлического материала.
Согласно другому объекту настоящего изобретения для достижения целей создана дверная ручка холодильника, содержащая держатели ручек, присоединенные к двери, и стержень ручки с обоими концами, прикрепленными к держателям ручек и поддерживаемыми ими, в которой элемент отделки установлен по меньшей мере на одной стороне держателя ручки и стержня ручки.
Предпочтительно, элемент отделки испускает свет и установлен внутри стержня ручки или держателей ручек, а держатели ручки и стержень ручки по меньшей мере являются частично прозрачными или полупрозрачными, чтобы передать свет от элемента отделки наружу.
Предпочтительно, элемент отделки вставляют между держателями ручек и стержнем ручки, он содержит светящееся тело в нем и является прозрачным или полупрозрачным, чтобы передавать свет наружу.
Предпочтительно, элемент отделки имеет форму кольца и содержит светящееся тело в нем.
Предпочтительно, элемент отделки имеет цилиндрическую форму так, что стержень ручки или держатели ручек проходят через него, и светящееся тело устанавливают внутрь элемента отделки.
Предпочтительно, светящееся тело в элементе отделки является телом, выбранным из светоизлучающего диода, лампы, излучающего свет материала и флуоресцентного материала.
Положительный эффект
У дверной ручки холодильника согласно настоящему изобретению, сконструированной как описано выше, прочность дверной ручки является относительно усиленной. Таким образом, имеются преимущества, заключающиеся в том, что не происходит никакой деформации после действия дверной ручки, долговечность ее улучшена, и на ней можно выполнять различные элементы отделки.
Дополнительно согласно варианту осуществления настоящего изобретения компоненты дверной ручки жестко соединены друг с другом. Таким образом, имеются преимущества, заключающиеся в том, что прочность всей дверной ручки относительно высока, и можно свести к минимуму возникновение относительной деформации между компонентами с различными свойствами.
Кроме того, согласно другому варианту осуществления настоящего изобретения имеется преимущество, заключающееся в том, что можно выполнять различные виды дверных ручек со сведенными к минимуму изменениями конструкции их компонентов.
Кроме того, согласно настоящему изобретению, поскольку в дверной ручке содержится светящееся тело и оно испускает свет, имеются преимущества, заключающиеся в том, что потребитель может легко находить дверную ручку даже в темноте, и сама дверная ручка может действовать как источник света, приводя к повышению удобства для потребителя.
Описание чертежей
Фиг.1 – вид в перспективе, изображающий конфигурацию передней лицевой поверхности холодильника с обычной дверной ручкой.
Фиг.2 – вид в перспективе, изображающий основные участки дверной ручки холодильника согласно предпочтительному варианту осуществления настоящего изобретения в состоянии, когда дверная ручка установлена на двери.
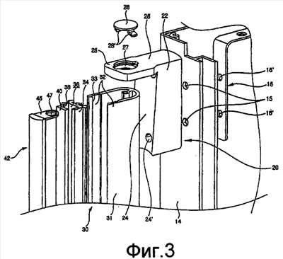
Фиг.3 – вид в перспективе с разнесением деталей, изображающий конфигурацию дверной ручки варианта осуществления, показанного на фиг.2.
Фиг.4 – вид поперечного сечения, показывающий основные участки дверной ручки варианта осуществления, показанного на фиг.2.
Фиг.5 – вид в поперечном разрезе, изображающий основные участки дверной ручки согласно другому варианту осуществления настоящего изобретения.
Фиг.6 – вид спереди, изображающий конфигурацию передней лицевой поверхности холодильника, оснащенного дверной ручкой согласно другому варианту осуществления настоящего изобретения.
Фиг.7 – вид в перспективе с разнесением деталей, изображающий конфигурацию дверной ручки варианта осуществления, показанного на фиг.6.
Фиг.8 – вид в перспективе, изображающий конфигурацию дверной ручки варианта осуществления, показанного на фиг.6.
Фиг.9 – вид поперечного сечения, изображающий основные участки дверной ручки варианта осуществления, показанного на фиг.6.
Фиг.10 – вид в перспективе с разнесением деталей, изображающий элемент отделки и крышку элемента отделки дверной ручки варианта осуществления, показанного на фиг.6.
Фиг.11 – частичный вид спереди, изображающий дверную ручку согласно дополнительному варианту осуществления настоящего изобретения, установленную на двери холодильника.
Лучший способ реализации изобретения
В дальнейшем конфигурации дверных ручек холодильника согласно предпочтительным вариантам осуществления настоящего изобретения будут описаны подробно со ссылкой на прилагаемые чертежи.
Обращаясь теперь к фиг.2-4, отметим, что двери 10 для того, чтобы открывать или закрывать пространство для хранения холодильника, имеют переднюю лицевую поверхность, образованную передней панелью 12. Конечно в передней панели 12 может быть предусмотрена внешняя дверь для покрытия слоя изоляции. Дверь 10 имеет заднюю лицевую поверхность, образованную облицовочным материалом для двери (не показан).
Кроме того, стержни элементов отделки (не показаны) образуют боковые поверхности и верхнюю и нижнюю поверхности двери 10. Среди стержней элементов отделки имеется боковой стержень 14 элемента отделки, определяющий одну боковую поверхность и защищающий участок края передней панели 12. Сквозные отверстия 15 образованы в участках бокового стержня 14 отделочного элемента, который защищает край передней панели 12, чтобы устанавливать держатели 20 ручек, которые будут пояснены позже. Крепежные скобы 16 со сквозными отверстиями 16′ в положениях, соответствующих сквозным отверстиям 15, размещены на внутренней поверхности бокового стержня 14 декоративного элемента. Крепежные скобы 16 присоединяют к боковому стержню 14 декоративного элемента вместе с держателями 20 ручек посредством винтов (не показаны).
Держатели 20 ручек устанавливают на участках бокового стержня 14 декоративного элемента, которые соответствуют краю передней панели 12, определяющей переднюю лицевую поверхность двери 10. Каждый из держателей 20 ручек имеет корпус 22 держателя. Корпус 22 держателя имеет по существу удлиненную шестигранную форму. Установочное углубление 24 стержня образовано в корпусе 22 держателя в продольном направлении. Корпус 22 держателя имеет по существу удлиненную шестигранную форму. Установочное углубление 24 стержня образовано на противоположной стороне стороны, на которой корпус 22 держателя соединен с боковым стержнем 14 декоративного элемента. Соединительное отверстие 24′ образовано в установочном углублении 24 стержня корпуса 22 держателя. Соединительное отверстие 24′ является участком, через который проходит винт для соединения со стержнем 30 ручки, который будет пояснен позже.
Концевая защитная деталь 26 образована, чтобы выступать на конце корпуса 22 держателя. Концевая защитная деталь 26 выступает от конца корпуса 22 держателя в направлении, противоположном к боковому стержню 14 декоративного элемента. Соединительное сквозное отверстие 27 образовано в концевой защитной детали 26. Соединительное сквозное отверстие 27 используют для соединения основания 23 крышки и крышки 42 ручки, которая будет объясняться позже. Соединительное сквозное отверстие 27 закрыто колпачком 28. Таким образом, колпачок 28 закрывает соединительное сквозное отверстие 27 так, что соединенные участки основания 34 крышки и крышки 42 ручки нельзя увидеть снаружи. Колпачок 28 имеет форму диска и обеспечен упругими ножками 28′ на обоих боковых концах этого колпачка 28 так, что упругие ножки можно зацеплять с соединительным сквозным отверстием 27 концевой защитной детали 26.
Стержень ручки 30 включает в себя корпус 31 стержня ручки и основание 34 крышки. В зависимости от параметров конструкции корпус 31 стержня ручки и основание 34 крышки можно выполнять за одно целое друг с другом. Здесь в стержне 30 ручки образовано заданное пространство. Это пространство функционирует укрепляя прочность стержня 30 ручки так, что стержень ручки не может быть легко деформирован. Таким образом, благодаря образованию пространства корпус 31 стержня ручки имеет определенную форму, укрепляющую его прочность. В частности, прочность можно укреплять, устанавливая основание 34 крышки или подобную деталь на входе пространства, образованного в корпусе 31 стержня ручки. Оба конца стержня 30 ручки соединены с держателями 20 ручек и поддерживаются ими.
Корпус 31 стержня ручки проходит в вертикальном или боковом направлении двери 10, и оба конца корпуса 31 стержня ручки соединены с держателями 20 ручки и таким образом поддерживаются дверью 10. Корпус 31 стержня ручки можно выполнять прессованием металлического материала. Таким образом, корпус 31 стержня ручки имеет однородное поперечное сечение в продольном направлении. В этом варианте осуществления корпус 31 стержня ручки имеет в поперечном сечении полуцилиндрическую форму, в которой оба боковых конца проходят линейно и параллельно на конкретное расстояние. Таким образом, образованы зацепляющие ребра 32, проходящие вперед на обоих боковых концах поперечного сечения корпуса 31 стержня ручки. Зацепляющие выступы 33 образованы на переднем конце каждого из зацепляющих ребер 32. Зацепляющие ребра 32 и зацепляющие выступы 33 непрерывно образованы для удлинения в продольном направлении корпуса 31 стержня ручки.
Основание 34 крышки зацепляют с зацепляющими ребрами 32 корпуса 31 стержня ручки. Основание 34 крышки имеет такую же длину, что и корпус 31 стержня ручки, и функционирует для укрепления стержня 30 ручки посредством соединения со стержнем 30 ручки. Крючки 35, улавливаемые зацепляющими выступами 33, образованы на обоих концах задней лицевой поверхности основания 34 крышки в продольном направлении. Соединительные ребра 35′ также образованы на основании 34 крышки. Соединительные ребра 35′ являются участками, которые подлежат соединению с концевой соединительной деталью 45 крышки 42 ручки, которая будет объясняться позже.
Установочный канал 36 образован для удлинения в продольном направлении в передней лицевой поверхности основания 34 крышки. Дополнительный элемент 40 отделки помещают в установочный канал 36. Можно использовать различные виды элементов отделки в качестве элемента 40 отделки. Например, элементы отделки, имеющие цвета или выполненные из материалов, отличающихся от материала корпуса 31 стержня ручки или основания 34 крышки, или можно использовать светящиеся тела, чтобы придавать различные эстетические качества.
Кроме того, для элемента 40 отделки можно использовать драгоценный камень, такой как кристалл, так чтобы дверная ручка выглядела более изящной. Как пример, элемент 40 отделки может быть камнем Сваровски (Swarovski).
Соединительные углубления 38 образованы в установочном канале 36 основания 34 крышки в положениях, отстоящих от передней лицевой поверхности элемента 40 отделки. Соединительные углубления 38 проходят в продольном направлении основания 34 крышки. Соединительные углубления 38 образованы в противоположных положениях в установочном канале 36.
Крышку 42 ручки устанавливают в установочном канале 36, в котором был помещен элемент 40 отделки. Крышку 42 ручки выполняют из прозрачного материала. Например, крышку 42 ручки получают инжекционным формованием прозрачного материала полистирола. Крышку 42 ручки снабжают выступами 43 крышки, подлежащими установке в соединительные углубления 38. Выступы 43 крышки размещают в соединительные углубления 38 так, чтобы крышку 42 ручки можно было соединять с основанием крышки 34. Выступы 43 крышки образуют для удлинения в продольном направлении по обоим концам стороны крышки 42 ручки.
Концевые соединительные детали 45 крышки образованы на обоих концах крышки 42 ручки. Концевые соединительные детали 45 крышки выполнены перпендикулярными к другим участкам крышки 42 ручки. Сквозное отверстие 47 образовано в каждой из концевых соединительных деталей 45 крышки. Концевые соединительные детали 45 крышки используют для соединения их с основанием 34 крышки.
В дальнейшем будет подробно описана работа дверной ручки холодильника, сконструированной, как изложено выше, согласно варианту осуществления настоящего изобретения.
Сначала объясним действие узла дверной ручки по настоящему изобретению. Элемент 40 отделки помещают в установочном канале 36 основания 34 крышки. В это время двухстороннюю пленку или клей предпочтительно используют так, чтобы элемент 40 отделки нельзя было легко отделить от установочного канала 36.
После того как элемент 40 отделки прикрепили к основанию 34 крышки, крышку 42 ручки прикрепляют к основанию 34 крышки. С этой целью выступы 43 крышки 42 ручки помещают в соединительные углубления 38 установочного канала 36. Когда крышка 42 ручки установлена по всей длине основания 34 крышки, сквозные отверстия 47 концевых соединительных деталей 45 крышки располагают в положениях, соответствующих соединительным ребрам 35′ основания 34 крышки.
В этом состоянии основание 34 крышки прикрепляют к корпусу 31 стержня ручки. Конечно, элемент 40 отделки или крышку 42 ручки можно устанавливать в состоянии, когда основание 34 крышки собрано с корпусом 31 стержня ручки. Основание 34 крышки присоединяют к корпусу 31 стержня ручки таким образом, что крючки 35 на обоих концах задней лицевой поверхности основания крышки улавливаются зацепляющими выступами 33, образованными на зацепляющих ребрах 32 корпуса 31 стержня ручки. Когда основание 34 крышки собирают со стержнем 30 ручки, зацепляющие ребра 32 немного упруго деформируются и затем восстанавливаются в свое первоначальное состояние для прикрепления основания 34 крышки.
Затем держатели 20 ручки соединяют с корпусом 31 стержня ручки. С этой целью винты, проходящие через соединительные отверстия 24′, образованные в установочных канавках 24 стержня держателей 20 ручки, прикрепляют к корпусу 31 стержня ручки. Таким образом, корпус 31 стержня ручки и держатели 20 ручки соединяют друг с другом.
Держатели 20 ручки соединяют с боковым стержнем 14 элемента отделки. Таким образом, в состоянии, в котором корпуса 22 держателей 20 ручки размещены на внешней стороне бокового стержня 14 элемента отделки и крепежные скобы 16 размещены на его внутренней стороне, винты, проходящие через сквозные отверстия 16′ крепежных скоб 16 и сквозные отверстия 15 бокового стержня 14 элемента отделки, прикрепляют к корпусу 22 держателя. Таким образом, держатели 20 ручки присоединяют к боковому стержню 14 элемента отделки.
Тем временем, винт прикрепляют к соединительному ребру 35′ основания 34 крышки и концевой соединительной детали 45 крышки через соединительное сквозное отверстие 27 концевой защитной детали 26 каждого из держателей 20 ручки. Таким образом, держатели 20 ручки, корпус 31 стержня ручки и крышку 42 ручки соединяют друг с другом. Затем колпачок 28 устанавливают в соединительном сквозном отверстии 27 концевой защитной детали 26 каждого из держателей 20 ручки так, чтобы концевую защитную деталь 45 крышки или подобную деталь нельзя было видеть снаружи.
Конечно, держатели 20 ручки и крышку 42 ручки можно непосредственно соединять в зависимости от параметров конструкции. Это потому, что корпус 31 стержня ручки соединяют с корпусами 22 держателей 20 ручки посредством винтов. В этом случае нет необходимости образовывать соединительное сквозное отверстие 27 в концевой защитной детали 26, а также использовать колпачок 28.
Когда имеющиеся на обоих концах стержня 30 ручки держатели 20 ручки соединяют с боковым стержнем 14 элемента отделки, то таким образом дверную ручку прикрепляют к двери 10.
В этом варианте осуществления основание 34 крышки и корпус 31 стержня 30 ручки выполнены прессованием металлического материала, а крышка 42 ручки выполнена инжекционным формованием материала синтетической пластмассы. Таким образом, может быть различие в их коэффициентах теплового расширения, но состояние их соединения не изменяется в зависимости от изменений окружающей среды, так как оба конца крышки 42 ручки соединены с основанием 34 крышки посредством концевых соединительных деталей 45 крышки.
Следует упомянуть, что в этом варианте осуществления стержень 30 ручки можно выполнять не отдельно, а за одно целое с корпусом 31 стержня ручки и крышкой 42 ручки. Однако в этом случае установочный канал 36 можно образовывать в передней лицевой поверхности стержня 30 ручки, соответствующей крышке 42 ручки, элемент 40 отделки можно помещать в установочном канале, а установочный канал 36 можно закрывать прозрачной крышкой 42 ручки.
Крышка 42 ручки не обязательно является полностью прозрачной и может быть по меньшей мере полупрозрачной или прозрачной.
Способ реализации изобретения
Между тем, на фиг.5 представлена дверная ручка согласно другому варианту осуществления настоящего изобретения. Для описания этого варианта осуществления компоненты, соответствующие компонентам предыдущего варианта осуществления, описанного выше, обозначены аналогичными ссылочными позициями, но дополнены ссылочной позицией 100, и ниже будут описаны только отличающиеся компоненты.
В этом варианте осуществления соединительное ребро 131′ образовано переходящим в корпус 131 стержня 130 ручки в продольном направлении корпуса 131 стержня ручки. Соединительное ребро 131′ используют для соединения с торцевыми соединительными деталями 145 крышки. Соединительное ребро 131′ образовано по всей длине корпуса 131 стержня ручки. Это потому что корпус стержня ручки 131 образуют прессованием металлического материала.
Зацепляющие ребра 132 образованы параллельно на обоих продольных концах открытого участка корпуса 131 стержня ручки. Зацепляющие выступы 133 образованы на передних концах зацепляющих ребер 132 по всем длинам зацепляющих ребер 132. Зацепляющие выступы 133 зацепляющих ребер 132 на обоих концах обращены друг к другу.
Основание 134 крышки устанавливают в открытый участок корпуса 131 стержня ручки, при захвате их зацепляющими ребрами 132. Основание 134 крышки сконструировано так, что крючки 135, подлежащие захвату зацепляющими выступами 133 зацепляющих ребер 132, образованы на задней стороне основания крышки параллельными в положениях, соответствующих зацепляющим выступам 133.
Установочный канал (не показан) образован в передней лицевой поверхности основания 134 крышки. Например, элемент отделки (не показан) установлен в установочном канале. Соединительные углубления 138 образованы на входе установочного канала основания 134 крышки. Соединительные углубления 138 образованы удлиненными в продольном направлении основания 134 крышки.
Крышку 142 ручки прикрепляют к основанию 134 крышки, а выступы 143 крышки выполнены удлиненными на обоих концах крышки ручки в ее продольном направлении. Выступы 143 крышки помещают в соединительных углублениях 138 так, чтобы крышку 142 ручки можно было соединять с основанием 134 крышки.
Концевые соединительные детали 145 крышки образованы на обоих концах крышки 142 ручки перпендикулярными к другим участкам крышки 142 ручки. Сквозные отверстия 147 образованы в концевых соединительных деталях 145 крышки, и сквозные отверстия 147 образованы в положениях, соответствующих соединительному ребру 131′, как показано на фиг.5. Таким образом, концевые соединительные детали 145 крышки соединяют с корпусом стержня 131 ручки. Поскольку крышку 142 ручки соединяют непосредственно с корпусом стержня 131 ручки, как изложено выше, основание 134 крышки можно отделять от корпуса 131 стержня ручки, только когда крышку 142 ручки отделяют от корпуса 131 стержня ручки.
Дверную ручку холодильника согласно этому упомянутому выше варианту осуществления собирают по существу таким же способом, как в предыдущем варианте осуществления. Однако после того как крышку 142 ручки соединяют с соединительным ребром 131′ корпуса 131 стержня ручки, весь стержень 130 ручки соединяют в один блок так, что состояние соединения крышки 142 ручки, основания 134 крышки и корпуса 131 стержня ручки становится более прочным по сравнению с предыдущим вариантом осуществления.
Теперь дверная ручка согласно дополнительному варианту осуществления настоящего изобретения будет описана со ссылкой на фиг.6-10.
Этот вариант осуществления будет объясняться в связи с двухдверным типом холодильника (side-by-side). Двери 232 и 232′ установлены на передней лицевой поверхности основного корпуса 230 холодильника. Двери 232 и 232′ используют для того, чтобы выборочно открывать или закрывать пространство для хранения, образованное в основном корпусе 230 холодильника. Дверная ручка 234 установлена на переднем конце каждой из дверей 232 и 232′.
Дверная ручка 234 включает в себя держатели 236 ручки, установленные на верхнем и нижнем концах передней лицевой поверхности каждой из дверей 232 и 232′, а стержень 238 ручки каждого из обоих концов поддерживают держатели 236 ручки. Держатели 236 ручки обеспечивают поддерживание стержня 238 ручки отстоящим на некоторое расстояние от передней лицевой поверхности каждой из дверей 232 и 232′. Следует отметить, что хотя дверная ручка 234 в этом варианте осуществления установлена на двери вертикально ее можно также устанавливать в горизонтальном направлении в зависимости от типа двери.
Стержень 238 ручки включает в себя корпус 240 стержня ручки по существу с U-образным поперечным сечением. Корпус 240 стержня ручки выполнен удлиненным в продольном направлении, в то время как его передний концевой участок открыт к передней части каждой из дверей 232 и 232′. Таким образом, корпус 240 стержня ручки выполняют инжекционным формованием синтетической пластмассы или прессованием металлического материала, чтобы он имел такую же площадь поперечного сечения по всей длине. Корпус 240 стержня ручки предпочтительно выполняют из металлического материала, например алюминия.
На передних концах открытого участка корпуса 240 стержня ручки по обеим сторонам образованы первые крепежные ступеньки 242. Первые крепежные ступеньки 242 выполнены удлиненными по всей длине корпуса 240 стержня ручки. Первые крепежные ступеньки 242 на обеих сторонах обращены друг к другу. В положениях, внутренних относительно положений, в которых образованы первые крепежные ступеньки 242, образованы вторые крепежные ступеньки 244, обращенные друг к другу. Вторые крепежные ступеньки 244 также выполнены удлиненными в продольном направлении корпуса 240 стержня ручки.
В корпусе 240 стержня ручки образовано соединительное ребро 246 для соединения с держателями 236 ручки. Соединительное ребро 246 выполнено удлиненным в продольном направлении корпуса 240 стержня ручки на участке, соответствующем центру внутренней лицевой поверхности корпуса 240 стержня ручки.
Крышку 250 ручки прикрепляют к переднему концу открытого участка корпуса 240 стержня ручки. В этом варианте осуществления используют по меньшей мере две крышки 250 ручки. Хотя крышка 250 ручки имеет выпукло изогнутую лицевую поверхность, обращенную лицевой стороной к каждой из дверей 232 и 232′, в этом варианте осуществления это не является обязательным ограничением для нее. Крышку 250 ручки также образуют посредством экструзии и предпочтительно выполняют из металлического материала. Например, крышку 250 ручки можно выполнять из алюминия.
Крючки 252, подлежащие захвату первыми крепежными ступеньками 242, выполняют на обоих концах задней лицевой поверхности крышки 250 ручки. Крючки 252 образованы, чтобы они были обращены в противоположных направлениях на обоих концах каждого из участков, выступающих от задней лицевой поверхности крышки 250 ручки. Крючки 252 также проходят в продольном направлении крышки 250 ручки. Соединительное ребро 254 для соединения с держателями 236 ручки образовано по центру задней лицевой поверхности крышки 250 ручки.
При этом элемент 260 отделки присоединяют и устанавливают вместе с крышкой 250 ручки на корпусе 240 стержня ручки. Элемент 260 отделки прикрепляют к участку корпуса 240 стержня ручки, в котором крышка 250 ручки не установлена. Как видно из фиг.6, в этом варианте осуществления элемент 260 отделки помещен немного выше центрального участка стержня 238 ручки. Однако положение элемента 260 отделки не ограничено этим. Кроме того, поскольку количество крышек 250 ручки разнообразно, количество элементов 260 отделки можно изменять.
Элемент 260 отделки образуют инжекционным формованием материала синтетической пластмассы. Таким образом, элемент 260 отделки может иметь различную форму, отличающуюся от корпуса 240 стержня ручки и крышки 250 ручки. Например, элемент 260 отделки можно выполнять из синтетических пластмасс различных цветов, и они могут иметь различные формы, поскольку их форма поперечного сечения не является обязательно совместимой в целом.
В этом варианте осуществления, как показано на фиг.7 и 10, элемент 260 отделки выполнен удлиненным, в общем, в одном направлении, но имеет различные формы поперечного сечения на соответствующих участках в отличие от крышки 250 ручки. Что касается подробной конфигурации элемента 260 отделки, то следует отметить, что образовано множество крючков 262, проходящих назад от задней лицевой поверхности элемента отделки. Множество крючков 262 образовано на определенных расстояниях по обеим сторонам задней лицевой поверхности элемента 260 отделки. Выступ 263 крючка образован на переднем конце каждого из крючков 262 для его захвата второй крепежной ступенькой 244 корпуса 240 стержня ручки. Крючки 262 могут упруго деформироваться относительно сильно ввиду их материала и формы.
Открытая канавка 264 элемента отделки образована в передней лицевой поверхности элемента 260 отделки. Канавка 264 элемента отделки образована пониженной в передней лицевой поверхности элемента 260 отделки. Вокруг периферии канавки 264 элемента отделки образовано множество соединительных углублений 266.
Декоративную крышку 270 устанавливают в канавке 264 элемента 260 отделки. Декоративную крышку 270 можно также выполнять посредством инжекционного формования и выполнять из материала синтетической пластмассы. В частности, декоративную крышку 270 предпочтительно выполняют из прозрачного материала. Это должно обеспечивать дополнительный элемент отделки, установленный в канавке 264 для элемента отделки, который можно видеть снаружи. Конечно, декоративная крышка 270 может иметь определенный цвет и быть сконструированной, чтобы служить отдельным элементом отделки.
Крышка 270 элемента отделки имеет соединительные выступы 272 в положениях, соответствующих соединительным углублениям 266 канавки 264 элемента отделки. Поскольку соединительные выступы 272 помещают в соединительные углубления 266, крышку 270 элемента отделки прикрепляют к элементу 260 отделки, помещенному в канавку 264 элемента отделки. В этом состоянии потребитель не может произвольно отделять крышку 270 элемента отделки от элемента 260 отделки.
В дальнейшем будет описано подробно действие дверной ручки холодильника согласно этому варианту осуществления, сконструированной как изложено выше.
Сначала будет объясняться процесс изготовления стержня 238 ручки. Корпус 240 стержня ручки и крышку 250 ручки выполняют посредством экструзии. Конечно можно выполнять дополнительную обработку на внешних поверхностях корпуса 240 стержня ручки и крышки 250 ручки, чтобы они имели внешний вид с заданными цветами или рисунками.
Кроме того, элемент 260 отделки и крышку 270 элемента отделки выполняют посредством инжекционного формования. Элемент 260 отделки можно выполнять различных цветов и форм, соответственно выбирая материал в процессе формования и конструируя прессформы для формования заданной формы. Фактически инжекционное формование обеспечивает больше различных цветов и форм, чем экструзия. Таким образом, элемент 260 отделки и крышка 270 элемента отделки могут иметь различные цвета и формы.
Затем крышку 250 ручки прикрепляют к корпусу 240 стержня ручки. Следовательно, крышку 250 ручки прикрепляют к корпусу 240 стержня ручки таким образом, что крючки 252 крышки 250 ручки захватываются первыми крепежными ступеньками 242 корпуса 240 стержня ручки. Здесь когда крышку ручки 250 прикрепляют к корпусу 240 стержня ручки, используют упругую деформацию передних концов открытого участка корпуса 240 стержня ручки и задних выступающих участков крышки 250 ручки.
В этом варианте осуществления используют две крышки 250 ручки, и их длины изменяют согласно установочному положению элемента 260 отделки. Т.е. в этом варианте осуществления, как видно на фиг.6, крышка 250 ручки, установленная на верхнем конце корпуса 240 стержня ручки, относительно короче, чем крышка ручки на его нижнем конце.
После того как каждую крышку 250 ручки закрепляют в заданном положении на корпусе 240 стержня ручки, в оставшемся положении закрепляют элемент 260 отделки. В это время выступы 263 крючков 262 элемента 260 отделки захватываются вторыми крепежными ступеньками 244 корпуса 240 стержня ручки. При таком действии установки элемента 260 отделки используют упругую деформацию 262 крючков.
Тем временем декоративную крышку 270 устанавливают в канавке 264 элемента 260 отделки. Если декоративная крышка 270 выполнена из прозрачного материала, потребитель может видеть внутреннюю часть канавки 264 для элемента отделки. Таким образом, поскольку элемент отделки, содержащийся в канавке 264 элемента отделки, можно видеть снаружи, стержень 238 ручки может иметь более красивый внешний вид.
Следует отметить, что в канавке 264 элемента отделки можно помещать различные материалы элемента отделки, такие как драгоценные камни, светящиеся тела или предметы с конкретными цветами.
Стержень 238 ручки, сконструированный как изложено выше в этом варианте осуществления, прикрепляют к каждой из дверей 232 и 232′ с помощью соединения к держателям 236 ручки, прикрепленным к каждой из дверей 232 и 232′, используя соединительные ребра 246 и 254. Когда стержень 238 ручки прикрепляют к каждой из дверей 232 и 232′, используя держатели 236 ручки, как изложено выше, потребитель может открывать или закрывать каждую из дверей 232 и 232′, захватывая стержень 238 ручки своей рукой.
Теперь дверная ручка согласно еще одному дополнительному варианту осуществления настоящего изобретения будет описана со ссылкой на фиг.11. Как видно на фиг.11, дверные ручки 334 и 334′ прикрепляют к дверям 332 и 332′, прикрепленным к основному корпусу холодильника, соответственно. Дверные ручки 334 и 334′ служат в качестве участков, к которым потребитель прикладывает усилия, чтобы открывать или закрывать двери 332 и 332′.
Каждая из дверных ручек 334 и 334′ включает в себя держатели 336 ручки, присоединенные к каждой из дверей 332 и 332′, и стержень 338 ручки, оба конца которого соединены с держателями 336 ручки. Держатели 336 ручки и стержень 338 ручки можно конструировать подобно элементам предыдущих вариантов осуществления.
В этом варианте осуществления элемент 340 отделки содержится в какой-либо стороне каждой из дверных ручек 334 и 334′, и элемент 340 отделки может быть, например, светящимся телом. Таким образом, светящееся тело, такое как светоизлучающий диод или лампа, которая испускает свет, используя подаваемую энергию, или серебристое, или флуоресцентное вещество, устанавливают на одной стороне каждой из дверных ручек 334 и 334′.
Как элемент 340 отделки в этом варианте осуществления, светящееся тело можно устанавливать на стороне внутренней части держателя 336 ручки. В случае когда светящийся корпус установлен в держателе 336 ручки, по меньшей мере часть держателя 336 ручки необходимо выполнять из пропускающего свет материала так, чтобы свет мог выходить наружу. Например, если светоизлучающий диод или упомянутое выше подобное устройство установлено в держателе 336 ручки и конец держателя 336 ручки (соседний со стержнем 338 ручки) частично выполнен из пропускающего свет материала, свет, порождаемый от внутреннего светоизлучающего диода, может выходить наружу через часть держателя 336 ручки.
Как вариант, светящееся тело можно также устанавливать в стержне 338 ручки. Даже в случае, когда светящееся тело, такое как светоизлучающий диод, установлено в стержне 338 ручки, по меньшей мере часть стержня 338 ручки необходимо выполнять из пропускающего свет материала. Другими словами, станет очевидно, что весь стержень 338 ручки выполняют из пропускающего свет материала.
В качестве другого примера, светящиеся корпуса, такие как светоизлучающие диоды, можно устанавливать на соединениях между стержнем 338 ручки и держателями 336 ручки. Таким образом, как показано на фиг.11, элемент 340 отделки вставляют между держателями 336 ручки и стержнем 338 ручки. Элемент 340 отделки образован так, что имеет такую же форму поперечного сечения, как стержень 338 ручки, например круглое сечение, и имеет светящееся тело, такое как светоизлучающий диод или лампа в нем. Как вариант, элемент 340 отделки можно выполнять из материала, содержащего серебристое вещество или покрытого серебристым веществом, чтобы излучать свет в темноте. Другими словами, элемент 340 отделки можно выполнять из фотолюминесцентного материала, способного не только поглощать свет в течение яркого времени, но и испускать свет в темноте.
Элемент 340 отделки устанавливают введенным между стержнем 338 ручки и держателями 336 ручки. Например, элемент 340 отделки можно выполнить в форме кольца и имеющим светящееся тело, такое как светоизлучающий диод или лампа, содержащаяся в нем. Как вариант, элемент 340 отделки можно выполнять имеющим цилиндрическую форму и вставленным между стержнем 338 ручки и каждым из держателей 336 ручки. Если элемент 340 отделки образован в цилиндрической форме, стержень 338 ручки и держатели 336 ручки соединены и поддерживаются, проходя через внутреннюю часть элемента 340 отделки, и будет очевидно, что светящееся тело, такое как светоизлучающий диод или лампа, необходимо устанавливать, чтобы не мешать стержню 338 ручки и держателям 336 ручки.
Если элемент 340 отделки выполнен из материала, способного испускать свет, в этом варианте осуществления потребитель может легко открывать или закрывать двери 332 и 332′ холодильника даже в темноте. Кроме того, такой элемент 340 отделки может по существу иметь функцию освещения в кухне. Таким образом, входя в кухню ночью, потребитель может двигаться очень удобным образом благодаря освещению от светящегося корпуса. Дополнительно, если светоизлучающий диод или лампу используют в качестве светящегося тела, его предпочтительно включать или выключать, используя дополнительное переключающее устройство.
Между тем, элемент 340 отделки этого описанного выше варианта осуществления можно рассматривать как основание 34 или 134 крышки и элемент 260 отделки предыдущих вариантов осуществления. Таким образом, основание 34 или 134 крышки и элемент 260 отделки (или крышку 270 элемента отделки) непосредственно можно выполнять из светящегося материала или фотолюминесцентного материала, подобно элементу 340 отделки.
Очевидно, что специалисты в данной области техники могут выполнять различные изменения и модификации в пределах основной технической сущности описанного выше изобретения, и возможности настоящего изобретения необходимо рассматривать на основании прилагаемой формулы изобретения.
Промышленная применимость
Дверную ручку холодильника согласно описанному выше настоящему изобретению можно накладывать по-разному на дверь для того, чтобы открывать или закрывать холодильную камеру или морозильную камеру в холодильнике, имеющем холодильную камеру, обеспеченную в верхнем участке, и морозильную камеру в нижнем участке, или в холодильнике, имеющем холодильную камеру и морозильную камеру параллельно.
Формула изобретения
1. Дверная ручка холодильника, содержащая стержень ручки, включающий в себя корпус стержня ручки, имеющий зацепляющие ребра, проходящие параллельно на обоих концах его поперечного сечения, основание крышки, соединенное с зацепляющими ребрами корпуса стержня ручки, для прикрепления к корпусу стержня ручки, установочный канал, выполненный в продольном направлении в передней лицевой поверхности основания крышки, и полупрозрачную или прозрачную крышку ручки для укрытия установочного канала, элемент отделки, установленный в установочном канале и видимый с наружной стороны через крышку ручки, и держатели ручки, предусмотренные на обоих концах стержня ручки для прикрепления и удерживания стержня ручки на одной стороне двери, при этом в основании крышки выполнен такой установочный канал, что элемент отделки и крышка ручки прикрепляются к нему.
2. Дверная ручка по п.1, в которой стержень ручки имеет такую цилиндрическую форму, что в нем образовано пространство.
3. Дверная ручка по п.1, в которой на обоих концах ручки крышки выполнены концевые соединительные детали крышки, прикрепляемые к обоим концам основания крышки, а основание крышки выполнено с соединительными ребрами, соответствующими соединительным отверстиям, выполненным в концевых соединительных деталях крышки так, что крышка ручки и основание крышки соединены друг с другом.
4. Дверная ручка по п.3, в которой на обоих продольных концах крышки ручки выполнены выступы, а в положениях в установочном канале, соответствующих выступам крышки, выполнены соединительные углубления так, что выступы крышки размещаются в соединительные углубления.
5. Дверная ручка по п.1, в которой элемент отделки выполнен из драгоценного камня или светящегося тела.
6. Дверная ручка по любому из пп.1-5, в которой каждый из держателей ручки включает в себя корпус держателя, выполненный с установочной канавкой стержня, в которую устанавливается и зацепляется конец стержня ручки, и концевую защитную деталь, образованную на конце корпуса держателя для закрывания конца стержня ручки.
7. Дверная ручка по п.6, в которой концевая защитная деталь держателя ручки выполнена с соединительным сквозным отверстием для соединения с каждой из концевых соединительных деталей, выполненных на обоих концах крышки ручки, а к соединительному сквозному отверстию прикреплен колпачок.
8. Дверная ручка по п.1, в которой крышка ручки получена инжекционным формованием синтетической пластмассы, а стержень ручки получен прессованием металлического материала.
9. Дверная ручка холодильника, содержащая стержень ручки, включающий в себя корпус стержня ручки, имеющий зацепляющие ребра, проходящие параллельно на обоих концах его поперечного сечения, и основание крышки, соединенное с зацепляющими ребрами корпуса стержня ручки с возможностью прикрепления к корпусу стержня ручки, установочный канал в продольном направлении в передней лицевой поверхности стержня ручки, и прозрачную или полупрозрачную крышку ручки для укрывания установочного канала, элемент отделки, установленный в установочном канале и видный с наружной стороны через крышку ручки, и держатели ручки, предусмотренные на обоих концах стержня ручки для прикрепления и удерживания стержня ручки на одной стороне двери, при этом на обоих концах крышки ручки выполнены концевые соединительные детали крышки, проходящие к стержню ручки так, что концевые соединительные детали крышки соединяются соответственно с обоими концами стержня ручки, а установочный канал в основании крышки выполнен с возможностью прикрепления к нему элемента отделки и крышки ручки.
10. Дверная ручка по п.9, в которой концевые соединительные детали крышки ручки соединены с соединительными ребрами, выполненными на корпусе стержня ручки.
11. Дверная ручка по п.9, в которой концевые соединительные детали крышки ручки соединены с соединительными ребрами, выполненными на основании крышки.
12. Дверная ручка по любому из пп.9-11, в которой элемент отделки выполнен из драгоценного камня или светящегося тела.
13. Дверная ручка по п.12, в которой каждый из держателей ручки включает в себя корпус держателя, выполненный с установочной канавкой стержня, в которую размещается и зацепляется конец стержня ручки, и концевую защитную деталь, выполненную на конце корпуса держателя для укрывания конца стержня ручки.
14. Дверная ручка по п.13, в которой концевая защитная деталь держателя ручки выполнена с соединительным сквозным отверстием для соединения с каждой из концевых соединительных деталей, предусмотренных на обоих концах крышки ручки, а к соединительному сквозному отверстию прикреплен колпачок.
15. Дверная ручка холодильника, содержащая держатели ручки, присоединенные к двери, и стержень ручки, обоими концами прикрепленный к держателям ручки и поддерживаемый ими, и при этом по меньшей мере на одной стороне держателя ручки и стержня ручки установлен элемент отделки, выполненный прозрачным или полупрозрачным, чтобы передавать свет к наружной стороне, и содержащий в себе светящееся тело, причем элемент отделки имеет форму кольца со светящимся телом внутри или такую цилиндрическую форму, через которую проходят стержни ручки или держатели ручки, со светящимся телом внутри.
16. Дверная ручка по п.15, в которой элемент отделки выполнен светящимся и установлен внутри стержня ручки или держателей ручки, и держатели ручки и стержень ручки, по меньшей мере, частично выполнены прозрачными или полупрозрачными, чтобы передавать свет от элемента отделки к наружной стороне.
17. Дверная ручка по любому из пп.15 или 16, в которой светящееся тело в элементе отделки выбрано из светоизлучающего диода, лампы, испускающего свет материала и флуоресцентного материала.
РИСУНКИ
|