|
(21), (22) Заявка: 2007100585/06, 12.07.2005
(24) Дата начала отсчета срока действия патента:
12.07.2005
(30) Конвенционный приоритет:
14.07.2004 IL 163,015
(43) Дата публикации заявки: 20.07.2008
(46) Опубликовано: 27.12.2009
(56) Список документов, цитированных в отчете о поиске:
US 4355683 A, 26.10.1982. US 4205529 A, 03.06.1980. WO 03004937 A1, 16.01.2003. SU 1357034 A1, 07.12.1986. SU 1649215 A1, 15.05.1991.
(85) Дата перевода заявки PCT на национальную фазу:
12.01.2007
(86) Заявка PCT:
IL 2005/000766 20050712
(87) Публикация PCT:
WO 2006/006177 20060119
Адрес для переписки:
125009, Москва, а/я 184, для ППФ “ЮС”, пат.пов. С.М.Кочемазову
|
(72) Автор(ы):
АССАФ Гад (IL)
(73) Патентообладатель(и):
Агам Энерджи Систем ЛТД (IL)
|
(54) УСТРОЙСТВО И СПОСОБ ОБЕЗВОЖИВАНИЯ
(57) Реферат:
Устройство и способ предназначены для осушения воздуха в замкнутом пространстве. Устройство содержит теплообменник “десикант/воздух”, имеющий первый впускной канал десиканта и резервуар для десиканта. Резервуар имеет первый выпускной канал десиканта, второй выпускной канал десиканта и второй впускной канал десиканта. Первый впускной канал десиканта и первый выпускной канал десиканта могут быть соединены с источником теплоты, второй впускной канал десиканта подводит разбавленный десикант в резервуар, и второй выпускной канал десиканта отводит концентрированный десикант из резервуара. Второй впускной канал десиканта и выпускной канал десиканта соединены с теплообменником “десикант/десикант” для передачи теплоты разбавленному десиканту, поступающему в резервуар. Также предложен способ обезвоживания. Технический результат – повышение качества осушки воздуха. 2 н. и 18 з.п. ф-лы, 4 ил.
Область техники
Настоящее изобретение относится к устройствам и способам обезвоживания и более конкретно к регенератору жидкого десиканта (РЖД) для обезвоживания воздуха в замкнутом пространстве, а также к способу обезвоживания.
Уровень техники
В патенте США 6266975 раскрыт регенератор десиканта (соляного раствора) на основе парового компрессора. Регенерация позволяет поддерживать концентрацию десиканта, поскольку пар эффективно поглощается даже во влажных условиях. В патенте США 6463750 раскрыто устройство для обезвоживания воздуха в замкнутом пространстве, которое содержит теплообменник вода/ соляной раствор для нагревания холодного свежего воздуха, подаваемого в теплообменник снаружи, и для обезвоживания воздуха в замкнутом пространстве путем конденсации пара.
Краткое описание изобретения
В отличие от вышеупомянутых устройств обезвоживания настоящее изобретение основано на регенераторе, который удаляет воду из водного раствора. Для такого регенератора может эффективно использоваться отходящее тепло низкого качества.
Таким образом, одной главной целью настоящего изобретения является создание регенерирующего устройства и способа обезвоживания, а также способа на основе жидкого десиканта для удаления жидкости из десиканта, который нагревается до контакта обезвоживаемого воздуха в замкнутом пространстве.
В соответствии с настоящим изобретением поэтому предусматривается устройство регенерации жидкого десиканта, содержащее: теплообменник “десикант/воздух”, имеющий первый впускной канал десиканта и резервуар для десиканта; упомянутый резервуар, имеющий первый выпускной канал десиканта, второй выпускной канал десиканта и второй впускной канал десиканта; упомянутый первый впускной канал десиканта и упомянутый первый выпускной канал десиканта, соединенные со средством для передачи теплоты упомянутому десиканту, и упомянутый второй впускной канал десиканта, подводящий разбавленный десикант в упомянутый резервуар, и упомянутый второй выпускной канал десиканта, отводящий концентрированный десикант из упомянутого резервуара, причем упомянутый второй впускной канал десиканта и упомянутый выпускной канал десиканта соединены с теплообменником “десикант/десикант” для передачи теплоты разбавленному десиканту, поступающему в упомянутый резервуар.
Кроме того, упомянутое средство для передачи теплоты содержит отработавшие газы процесса сгорания.
Кроме того, упомянутое средство для передачи теплоты содержит конденсатор паров и нагреватель.
Кроме того, упомянутый нагреватель является котлом.
Кроме того, упомянутый котел нагревается топливной горелкой или паром.
Кроме того, пар, генерированный из десиканта, направляется на нагрев десиканта в испаритель десиканта.
Кроме того, упомянутое отработавшие газы получают от газовой турбины, соединенной по жидкости с газовым компрессором через камеру сгорания.
Кроме того, упомянутый газовый компрессор получает воздух от воздушного охладителя.
Кроме того, устройство содержит насосное средство для управления расходом разбавленного десиканта, поступающего в упомянутый регенератор, и концентрированного десиканта, выходящего из упомянутого регенератора.
Кроме того, упомянутый теплообменник “десикант/десикант” может быть соединен с резервуаром разбавленного десиканта.
Кроме того, массовый расход потока десиканта в регенераторе как минимум в два раза больше объема сконденсировавшейся воды.
Изобретение, кроме того, предлагает способ обезвоживания, включающий: наличие теплообменника “десикант/воздух”, имеющего первый впускной канал десиканта и резервуар для десиканта, причем упомянутый резервуар имеет первый выпускной канал десиканта, второй выпускной канал десиканта и второй впускной канал десиканта, упомянутый первый впускной канал десиканта и упомянутый первый выпускной канал десиканта соединены со средством для передачи теплоты упомянутому десиканту, и упомянутый второй впускной канал десиканта подводит разбавленный десикант в упомянутый резервуар, а упомянутый второй выпускной канал десиканта отводит концентрированный десикант из упомянутого резервуара, упомянутый второй впускной канал десиканта и упомянутый выпускной канал десиканта соединены с теплообменником “десикант/десикант” для передачи теплоты разбавленному десиканту, поступающему в упомянутый резервуар, и перемещение концентрированного десиканта со скоростью, выше чем скорость испарения воды из десиканта.
Кроме того, этап управления массовым расходом в упомянутом регенераторе проводят так, чтобы он был как минимум в 10 раз больше скорости испарения воды.
Причем упомянутый способ, кроме того, содержит этап управления массовым потоком воздуха в испаритель “десикант/воздух”, который проводят так, чтобы он превышал скорость испарения десиканта как минимум на коэффициент 10.
Кроме того, теплообменник “десикант/десикант” передает теплоту и пары в конденсатор водяных паров, причем упомянутая теплота далее передается от конденсатора в замкнутое воздушное пространство через теплообменник “воздух/вода”, причем сконденсировавшаяся вода возвращается из упомянутого конденсатора водяных паров в упомянутый теплообменник “десикант/воздух”, этим замыкая воздушную цепь между испарителем “десикант/воздух” и упомянутым конденсатором водяных паров.
Кроме того, упомянутый регенератор удаляет воду, сконденсировавшуюся в конденсаторе паров десиканта, и сконденсировавшиеся пары проходят через конденсатор паров в испаритель с мгновенным вскипанием.
Кроме того, упомянутый регенератор удаляет воду из устройства обезвоживания “воздух/десикант”.
Кроме того, способ содержит этап установления отношения теплообмена между потоком разбавленного десиканта, поступающим в упомянутый регенератор, и потоком концентрированного десиканта, выходящим из упомянутого регенератора.
Кроме того, способ содержит этап циркуляции упомянутого десиканта в регенераторе при массовом расходе как минимум в 10 раз больше скорости испарения.
Кроме того, теплообменник “десикант/воздух” эксплуатируется при числе Рейнольдса меньше 2000.
Краткое описание чертежей
Теперь для цели более полного понимания настоящее изобретение будет описано в связи с некоторыми лучшими вариантами его осуществления со ссылками на прилагаемые чертежи.
При конкретной ссылке на подробные фигуры чертежей подчеркивается, что показанные там детали даны только для примера и для целей иллюстрированного описания лучших вариантов осуществления настоящего изобретения и представлены для изложения того, что считается наиболее полезным и легко понятным описанием принципов и концептуальных аспектов настоящего изобретения. В связи с этим конструкционные детали изобретения показаны только в такой детализации, которая необходима для основного понимания изобретения и объяснения того, как данное описание, взятое вместе с чертежами, позволит специалисту в данной области техники осуществить несколько форм изобретения на практике. На чертежах:
Фиг.1 является схематическим видом в разрезе регенерирующего устройства для обезвоживания в соответствии с настоящим изобретением;
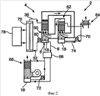
Фиг.2 является схематическим видом в разрезе еще одного варианта осуществления регенерирующего устройства для обезвоживания в соответствии с настоящим изобретением;
Фиг.3 является схематическим видом в разрезе двухступенчатого устройства по варианту осуществления, представленному на Фиг.2; и
Фиг.4 является схематическим видом в разрезе еще одного варианта осуществления регенерирующего устройства для обезвоживания в соответствии с настоящим изобретением.
Подробное описание лучших вариантов осуществления изобретения
На Фиг.1 показано регенерирующее устройство 2 для обезвоживания в соответствии с настоящим изобретением, которое содержит регенератор 4 жидкого десиканта, имеющий впускной канал 6 для приема разбавленного жидкого десиканта, например соляного раствора, и выпускной канал 8 для выхода концентрированного десиканта. Впускной канал 6 и выпускной канал 8 проходят через теплообменник 10. Как известно, например, из вышеупомянутых патентов США 6266975 и 6463750, положения которых включены в настоящий документ путем ссылки, регенератор 4 состоит из теплообменника 12 “воздух/десикант”, камеры-отстойника 14, резервуара 16 для десиканта 16 и воздуходувки или вентилятора 18, который подает воздух в камеру-отстойник 14. Камера-отстойник 14 может быть дополнительно снабжена нагревателем 20 воздуха для нагрева воздуха перед подачей в камеру-отстойник.
Кроме того, предусмотрен нагреватель 22 десиканта, получающий теплоту от парогенератора 24, который получает газ от турбины 26, которая в свою очередь получает газ от газового компрессора 28 через камеру сгорания 30. Нагреватель 22 соединен с резервуаром 16 для десиканта каналом 32 и с впускным каналом десиканта 34 каналом 36. В газовый компрессор 28 подается воздух, выходящий из воздушного охладителя 38, который имеет жидкостное сообщение с испарителем 40 мгновенного вскипания через насос 41. Последний эксплуатационно соединен через паровой компрессор 42 с конденсатором 44 паров десиканта и испарителем 46 с естественным испарением. Резервуары 16 для десиканта регенератора 4 и испарителя 46 соединены по жидкости каналами 48, 50, проходящими через теплообменник 10. Также предусмотрены насосы 52, 54, 56 для перемещения жидкости.
Регенератор 4 десиканта заменяет разбавленный десикант, поступающий в регенератор 4 по впускному каналу 6, концентрированным десикантом, выходящим из регенератора 4 по выпускному каналу 8. Концентрированный десикант имеет высокую температуру по сравнению с разбавленным и передает теплоту из регенератора 4 в конденсатор 44 паров. Эта теплота повышает температуру разбавленного десиканта, который служит в качестве поглотителя паров. Высокая температура повышает давление паров десиканта и уменьшает его действие как поглотителя паров. Если обмен десиканта в регенераторе чрезмерно мал, то концентрация десиканта в регенераторе может стать чрезмерно большой и давление паров чрезмерно малым; другими словами, давление паров может быть ниже давления воздуха в регенераторе. При такой ситуации процесс регенерации будет остановлен. Кроме того, при малой скорости обмена концентрация десиканта может стать настолько высокой, что жидкость будет кристаллизоваться и прекратит выполнять свою функцию.
Жидкий десикант характеризуется давлением паров, которое является низким по сравнению с давлением паров воды при той же температуре. Отношение давления паров десиканта к давлению паров воды при той же температуре называется “активностью” . Так, например, десикант LiCl при концентрации S=25% характеризуется давлением паров, которое вдвое меньше давления паров воды при той же температуре, и имеет активность =50%. При S=40% активность =25%.
Пусть S1 является концентрацией разбавленного десиканта в растворе (кг соли на кг раствора) и S2 будет концентрацией десиканта в регенераторе (S2>S1). Если М1 является массовым расходом в регенераторе и М2 является расходом десиканта на выходе регенератора, и если Е является массой паров, удаляемых из десиканта в регенераторе, то массовый баланс десиканта (соли) требует, чтобы

Общий массовый баланс потока будет равен:

Умножая уравнение (2) на S1 и извлекая из уравнения (1), получаем:

Решение для M1 дает:

(со ссылкой только на варианты осуществления, показанные на Фиг.2 и Фиг.4).
Для того чтобы находиться в стабильном состоянии, Е должно быть равно скорости, с которой пары конденсируются на десиканте, С=Е=, например, 10 кг/ч при относительной влажности 85% и температуре 18°С, которые представляют условия, типичные для многих теплиц. Содержание паров составляет: W=11 г паров на кг воздуха.
Для поддержания в теплице желательного климата необходимо, чтобы устройство обезвоживания удаляло паровую нагрузку в теплице. Например, в каком-то данном замкнутом пространстве паровая нагрузка составляет 10 кг/ч или 2,78 г/с.
Различаются три типа обезвоживания
1) Энтальпия и температура десиканта большие по сравнению с энтальпией расчетного воздуха, подаваемого в устройство. Энтальпия десиканта определяется как энтальпия воздуха на поверхности раздела с десикантом.
2) Энтальпия десиканта равна энтальпии воздуха, подаваемого в конденсаторы паров путем прямого контакта между воздухом и десикантом (инвариантный обмен энтальпии).
3) Энтальпия десиканта меньше энтальпии воздуха.
Для того чтобы быть эффективной в случаях (1) и (2), активность десиканта должна быть малой по сравнению с требуемой относительной влажностью в замкнутом пространстве:  должна превышать 20%. Если нет, каждый килограмм воздуха будет удалять меньше 1 грамма паров, что потребовало бы большого расхода воздуха и крупных систем для удаления паровой нагрузки. Это требует больших денежных и энергетических расходов. Таким образом, в обезвоживающем устройстве, установленном в теплице, где DRH=85%, активность разбавленного десиканта должна составлять  <65%. Для хлорида лития S1>20%. Для такой же активности при использовании в качестве десиканта хлорида кальция S1>25%.
В регенераторе 4 давление паров десиканта должно быть высоким по сравнению с давлением воздуха, подаваемого в теплообменники “воздух/десикант”, выполненные как воздушный охладитель 38 и испаритель 40 мгновенного вскипания. Температура десиканта определяется характером источника теплоты. Так, в регенераторе 4 температура вытяжной трубы в позиции 58 (Фиг.1) составляет 60°С, и температура десиканта составляет 50°С. Если температура воздуха составляет 30°С и RH=70%, давление паров составляет 30 мбар. Для испарения активность десиканта должна превышать 25%, для десиканта LiCl, S2<40%. При более низкой активности и более высокой концентрации десикант не будет испаряться при этой температуре, и регенератор не будет функционировать.
Теперь со ссылкой на Фиг.2, на которой показан одноступенчатый регенератор с устройством 2 рекуперации теплоты. Показан регенератор 4, который состоит из испарителя 60 десиканта 60, конденсатора 62 водяных паров, водяного охладителя/ воздушного нагревателя 64 и устройства 66 обезвоживания десиканта. Резервуары 16 устройства 66 обезвоживания десиканта и испаритель 60 соединены по жидкости через теплообменник 68 “десикант/десикант”. Также предусмотрены циркуляционные насосы 70, 72 и водяной выпускной канал 74, отводящий воду из резервуара 16 конденсатора 62 водяных паров. Испаритель 60 десиканта соединен впускным каналом 36 для десиканта и выпускным каналом 38 для десиканта с теплообменником 76 десиканта 76, в который десикант подается из нагревателя 78. Также предусмотрен циркуляционный насос 80 для перемещения десиканта через теплообменник 76.
Похожий двухступенчатый регенератор показан на Фиг.3. Как можно видеть, вторая ступень дополнительно содержит испаритель 82 мгновенного вскипания, соединенный по жидкости с конденсатором 84 паров десиканта через паровой компрессор 86. Конденсатор 84 паров эксплуатационно взаимосвязан с резервуаром, 16 испарителя 60 десиканта через теплообменник 88. Циркуляция жидкости между конденсатором 84 и испарителем 60 осуществляется посредством насоса 90, который также перемещает жидкость в устройство 66 обезвоживания десиканта и из него. Теплообменник 76 соединен по жидкости с котлом 92 десиканта, который нагревается топливной горелкой 94. Также предусмотрен теплообменник 96. Теплообменник 76 использует пар из котла 92 десиканта для нагрева десиканта в испарителе 60.
Теплота и пары рекуперируются конденсатором 62 водяных паров. Вода передает теплоту замкнутому пространству посредством воздушного нагревателя 64. Температура воды, поступающей в конденсатор 62, обычно приблизительно на 10°С выше температуры в замкнутом пространстве, которая составляет, например, 28°С или больше для теплицы при 18°С. Вода нагревается в конденсаторе 62 приблизительно на 10°С, и, таким образом, температура воды изменяется в пределах 28-38°С. Давление паров воды при 38°С составляет 76 мбар. При 28°С давление паров воды составляет 38 мбар. Для испарения десиканта в испарителе 60 давление паров десиканта должно превышать давление паров воды в конденсаторе 62.
Десикант в регенераторе нагревается нагревателем 78 горячей воды (Фиг.2) или котлом 92 (Фиг.3) до температуры, например, 75°С. При этой температуре активность десиканта должна быть больше 25% и соленость, например LiCl, должна быть S2<40%. Фактически, для соляного раствора СаСl при этой активности жидкость будет кристаллизоваться.
Для S1>20% и S2<40%, например S1=22% and S2=38%, и для паровой нагрузки 10 кг/ч применяется уравнение (4): M1=10*S2/(S2-S1).
Таким образом, M1=10*38/(38-22)=2,375*10=23,75 кг/ч.
Фактический предел для массового расхода десиканта, поступающего в регенератор, составляет: M1=E°S2/(S2-S1). Практически для всех применений концентрация в регенераторе составляет S2<2S1, и поэтому M1>2E.
Если входной поток в регенератор не превышает 2Е, десикант будет кристаллизоваться. Наиболее активный десикант, такой как LiBr, будет работать только при высокой температуре, которая вызывает существенное загрязнение регенератора.
Для повышения эффективности работы регенератора настоящего изобретения между потоками разбавленного десиканта и концентрированного десиканта предусмотрен теплообменник 68 (Фиг.2), 88 (Фиг.3).
Еще один вариант осуществления изобретения показан на Фиг.4. Показан регенератор 98 десиканта и воздушно-водяной конденсатор 100, эксплуатационно соединенный с регенератором. Также показаны теплообменники 102, 104 в соединении по жидкости с регенератором 98 и конденсатором 100. Нагреватель 106 соединен с впускным каналом 108 и выпускным каналом 110 регенератора 98 для нагрева десиканта в регенераторе. Нагретый десикант циркулирует с заданной скоростью посредством насоса 112.
Определено, что хорошие результаты могут быть получены, если массовый расход десиканта больше массы воды, например по меньшей мере вдвое больше массы испарившейся воды. Также массовый поток воздуха в испаритель десиканта должен превышать количество испаряемого десиканта на коэффициент 10, и массовый расход при циркуляции десиканта должен быть как минимум в 10 раз больше скорости испарения десиканта.
Кроме того, необходимо отметить, что отношение между разбавленным десикантом, поступающим в регенератор, и концентрированным десикантом на выходе регенератора должно регулироваться циркуляционным насосом, содержащимся в устройстве, для перемещения десиканта в регенератор. Также, для эффективной работы теплообменников “десикант/воздух”, число Рейнольдса для воздуха в веществе наполнителя, используемом в теплообменнике, должно быть меньше 2000.
Специалисту в данной области техники будет понятно, что настоящее изобретение не ограничивается подробностями вышеприведенного описания вариантов осуществления и может быть реализовано в других конкретных формах без отхода от его сути или существенных признаков. Приведенные варианты осуществления должны поэтому рассматриваться во всех аспектах как иллюстративные, а не ограничительные, поскольку объем изобретения определяется прилагаемой формулой изобретения, а не вышеприведенным описанием, и все изменения, подпадающие под значение и серию эквивалентов, поэтому считаются охватываемыми в ней.
Формула изобретения
1. Устройство регенерации жидкого десиканта, содержащее: теплообменник “десикант/воздух”, имеющий первый впускной канал десиканта и резервуар для десиканта; упомянутый резервуар, имеющий первый выпускной канал десиканта, второй выпускной канал десиканта и второй впускной канал десиканта; упомянутый первый впускной канал десиканта и упомянутый первый выпускной канал десиканта, соединенные со средством для передачи теплоты упомянутому десиканту, и упомянутый второй впускной канал десиканта, подводящий разбавленный десикант в упомянутый резервуар, и упомянутый второй выпускной канал десиканта, отводящий концентрированный десикант из упомянутого резервуара, причем упомянутый второй впускной канал десиканта и упомянутый выпускной канал десиканта соединены с теплообменником “десикант/десикант” для передачи теплоты разбавленному десиканту, поступающему в упомянутый резервуар.
2. Устройство по п.1, отличающееся тем, что упомянутое средство для передачи теплоты содержит отработавшие газы процесса сгорания.
3. Устройство по п.1, отличающееся тем, что упомянутое средство для передачи теплоты содержит конденсатор паров и нагреватель.
4. Устройство по п.3, отличающееся тем, что упомянутый нагреватель является котлом.
5. Устройство по п.4, отличающееся тем, что упомянутый котел нагревается топливной горелкой или паром.
6. Устройство по п.5, отличающееся тем, что пар, генерированный из десиканта, направляется на нагрев десиканта в испаритель десиканта.
7. Устройство по п.2, отличающееся тем, что упомянутые отработавшие газы получают от газовой турбины, соединенной по жидкости с газовым компрессором, через камеру сгорания.
8. Устройство по п.7, отличающееся тем, что упомянутый газовый компрессор получает воздух от воздушного охладителя.
9. Устройство по п.1, кроме того, содержащее насосное средство для управления расходом разбавленного десиканта, поступающего в упомянутый регенератор, и концентрированного десиканта, выходящего из упомянутого регенератора.
10. Устройство по п.1, отличающееся тем, что упомянутый теплообменник “десикант/десикант” может быть соединен с резервуаром разбавленного десиканта.
11. Устройство по п.1, отличающееся тем, что массовый расход потока десиканта в регенераторе как минимум в два раза больше объема сконденсировавшейся воды.
12. Способ обезвоживания, включающий: наличие теплообменника “десикант/воздух”, имеющего первый впускной канал десиканта и резервуар для десиканта, причем упомянутый резервуар имеет первый выпускной канал десиканта, второй выпускной канал десиканта и второй впускной канал десиканта, упомянутый первый впускной канал десиканта и упомянутый первый выпускной канал десиканта соединены со средством для передачи теплоты упомянутому десиканту, и упомянутый второй впускной канал десиканта подводит разбавленный десикант в упомянутый резервуар, а упомянутый второй выпускной канал десиканта отводит концентрированный десикант из упомянутого резервуара, упомянутый второй впускной канал десиканта и упомянутый выпускной канал десиканта соединены с теплообменником “десикант/десикант” для передачи теплоты разбавленному десиканту, поступающему в упомянутый резервуар, и перемещение концентрированного десиканта со скоростью выше, чем скорость испарения воды из десиканта.
13. Способ по п.12, кроме того, содержащий этап управления массовым расходом в упомянутом регенераторе так, чтобы он был, как минимум, в 10 раз больше скорости испарения воды.
14. Способ по п.12, причем упомянутый способ, кроме того, содержит этап управления массовым потоком воздуха в испаритель “десикант/воздух” для того, чтобы он превышал скорость испарения десиканта, как минимум, на коэффициент 10.
15. Способ по п.14, отличающийся тем, что теплообменник “десикант/десикант” передает теплоту и пары в конденсатор водяных паров, причем упомянутая теплота далее передается от конденсатора в замкнутое воздушное пространство через теплообменник “воздух/вода”, причем сконденсировавшаяся вода возвращается из упомянутого конденсатора водяных паров в упомянутый теплообменник “десикант/воздух”, этим замыкая воздушную цепь между испарителем “десикант/воздух” и упомянутым конденсатором водяных паров.
16. Способ по п.12, отличающийся тем, что упомянутый регенератор удаляет воду, сконденсировавшуюся в конденсаторе паров десиканта, и сконденсировавшиеся пары проходят через конденсатор паров в испаритель с мгновенным вскипанием.
17. Способ по п.12, отличающийся тем, что упомянутый регенератор удаляет воду из устройства обезвоживания “воздух/десикант”.
18. Способ по п.12, кроме того, содержащий этап установления отношения теплообмена между потоком разбавленного десиканта, поступающим в упомянутый регенератор, и потоком концентрированного десиканта, выходящим из упомянутого регенератора.
19. Способ по п.12, кроме того, содержащий этап циркуляции упомянутого десиканта в регенераторе при массовом расходе, как минимум, в 10 раз больше скорости испарения.
20. Способ по п.12, отличающийся тем, что теплообменник “десикант/воздух” эксплуатируется при числе Рейнольдса меньше 2000.
РИСУНКИ
|