|
|
(21), (22) Заявка: 2008111819/11, 27.03.2008
(24) Дата начала отсчета срока действия патента:
27.03.2008
(46) Опубликовано: 27.12.2009
(56) Список документов, цитированных в отчете о поиске:
US 2002155740 A1, 24.10.2002. US 6253419 B1, 03.07.2001. US 2007186380 A1, 16.08.2007. WO 9854925 A1, 03.12.1998. JP 2006295384 A, 26.10.2006. SU 1550240 A1, 15.03.1990.
Адрес для переписки:
129090, Москва, ул. Б.Спасская, 25, стр.3, ООО “Юридическая фирма Городисский и Партнеры”, пат.пов. С.А.Дорофееву, рег. 146
|
(72) Автор(ы):
ЧЭНЬ Стефен (CN)
(73) Патентообладатель(и):
И-ЛИД ЭЛЕКТРОНИКС КО., ЛТД. (CN)
|
(54) ШИРОКОУГОЛЬНАЯ ДВУХШАРНИРНАЯ КОНСТРУКЦИЯ
(57) Реферат:
Изобретение относится к шарнирным соединениям. Широкоугольная двухшарнирная конструкция содержит соединительную пластину, прочный шарнир и кулачковый шарнир. Соединительная пластина имеет два удерживающих отверстия, предназначенных для удерживания соответственно прочного шарнира и кулачкового шарнира. Прочный шарнир имеет крепежную ось на одном конце, прикрепленную к соединительной пластине, и подвижную втулку на другом конце. Кулачковый шарнир имеет один конец, прикрепленный к соединительной пластине, и стержень, проходящий через анкерную пластину, первый элемент, второй элемент и пружину для крепления его посредством гайки. Прочный шарнир служит в качестве оси поворота на первой стадии для поворота в положение, подобное положению при использовании ноутбука. Кулачковый шарнир служит в качестве другой оси для поворота на второй стадии для поворота в положение, подобное положению планшетного компьютера при использовании его в положении «спина к спине». Достигается возможность поворота электронного устройства под разными углами для облегчения выполнения операции ввода. 10 з.п. ф-лы, 11 ил.
ПРЕДПОСЫЛКИ СОЗДАНИЯ ИЗОБРЕТЕНИЯ
Область техники, к которой относится изобретение
Настоящее изобретение относится к широкоугольной двухшарнирной конструкции и, в частности, к двухшарнирной конструкции, предназначенной для обеспечения возможности поворота электронного устройства под разными углами для облегчения для пользователя выполнения операции ввода как в карманном, так и в настольном компьютере.
Описание предшествующего уровня техники
Преобладающая тенденция в сфере разработки компьютеров связана с тем, что все больше внимания уделяется портативности. Большинство производителей компьютеров осуществляют значительные инвестиции, направленные на то, чтобы сделать компьютер, который можно использовать в любом месте в любое время. Время работы без подзарядки и производительность также представляют собой важное значение. Достижение данных целей должно базироваться на энергосберегающих элементах, создаваемых производителями полупроводников, и аккумуляторных батареях большой емкости, создаваемых производителями батарей. Преодоление ограничений, связанных с использованием места, должно базироваться на результатах деятельности специалистов по разработке систем. В большинстве блокнотных компьютеров (ноутбуков) в настоящее время используются складное шасси, состоящее из двух частей. Одна часть предназначена для экрана компьютера, а другая часть предназначена для клавиатуры. Две части могут быть разложены (раскрыты) по существу перпендикулярно друг другу так, чтобы они опирались на стол для использования. Но это неудобно для работы в режиме карманного компьютера (при удерживании руками). Модель для работы в режиме карманного компьютера в большинстве случаев представляет собой планшетный компьютер, который имеет экран, расположенный на шасси. При использовании пользователь держит компьютер одной рукой и держит перо другой рукой в качестве функциональной клавиши для выполнения записи на экране.
Несмотря на то что планшетный компьютер облегчает выполнение операции по типу карманного компьютера при удерживании руками, многие важные операции компьютера связаны с вводом текста. Поскольку в планшетном компьютере перо используется в качестве основного средства ввода, он работает медленнее и требует больше усилий по сравнению с обычной работой на клавиатуре. Следовательно, несмотря на то что мобильность повышается, операция ввода становится ограничением. В результате планшетный компьютер не получил распространения на рынке. В большинстве случаев он ограничен особыми случаями применения, такими как обход врачом больничных палат, прием имущества на складе и тому подобное, которые требуют просто указания опций без ввода большого текста.
Для облегчения операции ввода в некоторых планшетных компьютерах предусмотрена веерообразная клавиатурная таблица на сенсорном экране, чтобы обеспечить для пользователей возможность держать компьютер двумя руками и нажимать клавиши двумя большими пальцами рук. Поскольку две руки должны держать компьютер, диапазон перемещения больших пальцев ограничен. Кроме того, большие пальцы, естественно, являются более неловкими при работе. Следовательно, скорость работы будет медленнее, чем на обычной реальной клавиатуре.
Имеется другая конструкция, в которой используется скользящая реальная клавиатура. Когда существует необходимость выполнить большой объем работы по вводу текста, задняя клавиатура, спрятанная внутри шасси, может быть выдвинута. Однако подход при работе с ней также будет таким же, как подход при использовании сенсорной клавиатурной таблицы (таблицы клавиш) на экране, и требует использования пальцев пользователя, отличных от больших пальцев рук, для удерживания компьютера, и операция ввода выполняется посредством использования больших пальцев. Поскольку удерживаемая руками часть представляет собой клавиатуру, а экран простирается назад, центр тяжести компьютера расположен вне зоны двух рук. Удерживание компьютера представляет собой трудную задачу, и обычные пользователи не могут удерживать его в таком положении в течение продолжительного времени.
СУЩНОСТЬ ИЗОБРЕТЕНИЯ
Для решения вышеуказанных проблем рабочие клавиши и экран должны быть расположены «спина к спине», при этом клавиатурная таблица воспроизводится на экране, отображающем клавиши, с задней стороны, и каждая клавиша должна быть снабжена тактильным датчиком, так что глаза пользователя могут видеть клавиатурную таблицу на экране для определения схемы размещения клавиш и положения пальцев с задней стороны, в этом случае остальные пальцы, отличные от больших пальцев, могут быть освобождены для выполнения работы на клавишах.
Но такой новый рабочий интерфейс и способ работы могут затруднить «контакт» с пользователем. Это особенно неудобно для начинающих. У многих людей это даже отбивает охоту покупать или использовать. Обеспечение двух альтернативных способов использования и одновременное предоставление пользователям возможности сделать выбор создают значительный стимул для пользователя. Один способ подобен обычному подходу при работе с ноутбуком, который обеспечивает возможность раскрытия экрана 91 под углом 1, составляющим приблизительно 90 градусов, и имеет клавиатуру 921, расположенную над корпусом 92 (см. фиг.1). Подобный способ работы такой же, как на обычном ноутбуке, и пользователи используют его без проблем. Единственная помеха состоит в том, что при его использовании требуется верхняя поверхность стола.
Для преодоления недостатков обычных технических средств и способов экран должен быть выполнен поворачиваемым на широкий угол, превышающий 270 градусов, с тем чтобы пальцы пользователя, отличные от больших пальцев, могли держать одну сторону, на которой расположены клавиши, в то время когда экран обращен к пользователю, и корпус и экран могут быть сложены под углом, не превышающим 90 градусов. Следовательно, цель изобретения состоит в разработке широкоугольной двухшарнирной конструкции, которая включает в себя соединительную пластину, прочный шарнир и кулачковый шарнир. Двухшарнирная конструкция соединяет первое шасси и второе шасси электронного устройства, с тем чтобы обеспечить для пользователей возможность избирательного переворота устройства в рабочее положение обычного блокнотного компьютера (ноутбука) или в рабочее положение вплотную, «спина к спине», в соответствии с их предпочтением. Следовательно, пользователь может выполнять операцию ввода на столе или держа компьютер руками так, как желательно.
Вышеуказанные, а также дополнительные цели, признаки и преимущества изобретения станут более очевидными из нижеследующего подробного описания, которое приведено далее со ссылкой на сопровождающие чертежи.
КРАТКОЕ ОПИСАНИЕ ЧЕРТЕЖЕЙ
Фиг.1 представляет собой схематический вид обычного портативного электронного устройства в положении использования.
Фиг.2 представляет собой вид в перспективе одного варианта осуществления изобретения.
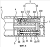
Фиг.3 представляет собой вид в перспективе изобретения.
Фиг.4 представляет собой выполненный с пространственным разделением элементов вид в перспективе изобретения.
Фиг.5 представляет собой сечение изобретения.
Фиг.6 представляет собой схематический вид-1 одного варианта осуществления изобретения в рабочем положении.
Фиг.7 представляет собой схематический вид-2 одного варианта осуществления изобретения в рабочем положении.
Фиг.8 представляет собой сечение одного варианта осуществления изобретения.
Фиг.9 представляет собой схематический вид-3 одного варианта осуществления изобретения в рабочем положении.
Фиг.10 представляет собой схематический вид-4 одного варианта осуществления изобретения в рабочем положении.
Фиг.11 представляет собой другое сечение одного варианта осуществления изобретения.
ОПИСАНИЕ ПРЕДПОЧТИТЕЛЬНЫХ ВАРИАНТОВ ОСУЩЕСТВЛЕНИЯ
Как показано на фиг.2-6, широкоугольная двухшарнирная конструкция в соответствии с изобретением включает в себя соединительную пластину 1, обладающий сопротивлением (прочный) шарнир 2 и кулачковый шарнир 3, которые смонтированы на электронном устройстве А для соединения первого шасси 4 и второго шасси 5. Первое шасси 4 имеет дисплейный экран 41. Второе шасси 5 имеет, по меньшей мере, одну зону 51 с клавишами, которые могут представлять собой сенсорные клавиши.
Соединительная пластина 1 имеет первое удерживающее отверстие 11 и второе удерживающее отверстие 12, которые представляют собой некруглые сквозные отверстия, предназначенные для удерживания соответственно прочного шарнира 2 и кулачкового шарнира 3.
Прочный шарнир 2 имеет крепежную ось 22 на одном конце, прикрепленную к соединительной пластине 1, и подвижную гильзу 21 на другом конце с, по меньшей мере, одним крепежным отверстием 211, образованным в ней для обеспечения крепления к одному концу первого шасси 4. Гильза 21 имеет полую ось 212 на другом конце, в котором должен быть болт (стержневой элемент) 221 крепежной оси 22. Крепежная ось 22 имеет удерживающую часть 222 на одной стороне, подлежащую удерживанию в первом удерживающем отверстии 11 соединительной пластины 1.
Кулачковый шарнир 3 имеет один конец, прикрепленный к соединительной пластине 1, и стержень 31, проходящий через анкерную пластину 32, первый элемент 33, второй элемент 34 и пружину 35 для крепления его посредством гайки 36.
Стержень 31 проходит через второе удерживающее отверстие 12 соединительной пластины 1 и имеет участок 311 с винтовой резьбой на одном конце и многоугольный участок 312, подлежащий удерживанию во втором удерживающем отверстии 12 для приведения его в движение вместе с соединительной пластиной 1.
Анкерная пластина 32 имеет первый придающий жесткость пластинчатый элемент 321 с отверстием 3211 и отверстием 3212 для крепления, образованными в нем, и второй придающий жесткость пластинчатый элемент 322, перпендикулярный первому придающему жесткость пластинчатому элементу 321 и подлежащий креплению к одному концу второго шасси 5.
Первый элемент 33 имеет круглое сквозное отверстие 331, через которое проходит стержень 31, и первую криволинейную поверхность 332 для обеспечения воздействия кулачком на одной стороне и фиксирующий выступ 335 на другой стороне 334, подлежащий вводу в отверстие 3212 для крепления с обеспечением фиксации.
Второй элемент 34 имеет прямоугольное отверстие 341, через которое проходит стержень 31 для обеспечения приведения их в движение вместе, и вторую криволинейную поверхность 342 на одной стороне, предназначенную для обеспечения воздействия кулачком и для взаимодействия с первой криволинейной поверхностью 332 первого элемента 33.
Пружина 35 поджимает второй элемент 34 при нормальных условиях.
Гайка 36 прикреплена к имеющему винтовую резьбу участку 311 стержня 31 для удерживания элементов, разъясненных выше. Она также может обеспечить регулирование упругой силы пружины 35, поджимающей второй элемент 34, для образования силы сопротивления, когда второй элемент 34 может повернуться. Сила сопротивления немного превышает силу сопротивления повороту, обеспечиваемую обладающим сопротивлением шарниром во время поворота.
Посредством конструкции, разъясненной выше, изобретение обеспечивает для пользователей два типа подходов к использованию. Один подход подобен использованию обычного блокнотного компьютера (ноутбука), который выполнен с возможностью «раскрытия» под максимальным углом, составляющим приблизительно 180 градусов (см. фиг.6, 7 и 8). Во время перевода в другое положение сначала раскрывают первое шасси 4; крепежная ось 22 прочного шарнира 2 служит в качестве оси переворачивания для первой стадии, а именно гильза 21 может поворачиваться, в то время как крепежная ось остается неподвижной, так что первое шасси 4 может быть свободно повернуто на угол от 0 до 180 градусов (предпочтительно на 90-130 градусов). В результате этого зона 51 с клавишами на втором шасси 5 может быть использована подобно обычному блокнотному компьютеру (ноутбуку) или дисплейный экран 41 на первом шасси 4 может выглядеть подобно обычному экрану. Другой подход к использованию заключается в повороте первого шасси 4 более чем на 270 градусов так, что первое шасси 4 и второе шасси 5 будут расположены вплотную, «спина к спине» (см. фиг.9, 10 и 11). Во время перевода (переворота) в другое положение сначала поворачивают первое шасси 4, при этом крепежная ось 22 прочного шарнира 2 служит в качестве оси поворота, и первое шасси 4 поворачивают больше чем на 180 градусов, и оно может быть непрерывно повернуто дальше вниз. Между тем, поворачивающее усилие превышает усилие, действующее со стороны пружины 35, поджимающей второй элемент 34, так что стержень 31 становится центром поворота, а также становится осью поворота на второй стадии, предназначенного для приведения в действие стержня 31 и второго элемента 34 (см. фиг.11). Вторая криволинейная поверхность 342 для обеспечения воздействия кулачком скользит по первой криволинейной поверхности 332 для обеспечения воздействия кулачком и перемещается к вершине h. Следовательно, первое шасси 4 может непрерывно поворачиваться вокруг кулачкового шарнира 3 приблизительно на 180 градусов. В результате общий угол переворота может достигать значений, составляющих, по меньшей мере, от 270 градусов до 360 градусов. Таким образом, первое и второе шасси 4 и 5 переводятся в положение, при котором они расположены вплотную, «спина к спине», для использования в виде планшетного компьютера. Первое и второе шасси 4 и 5 можно удерживать руками для выполнения операции ввода.
В заключение, посредством использования двухшарнирной конструкции по изобретению пользователи могут иметь две альтернативы при использовании. Одна заключается в использовании электронного устройства подобно обычному ноутбуку, а другая – в повороте экрана более чем на 270 градусов для размещения клавиатуры и экрана вплотную, «спина к спине». Следовательно, пользователь может затратить меньше времени на пробы и ошибки при изучении новых рабочих интерфейсов. Данная конструкция позволяет эффективно преодолеть недостатки обычных технических средств.
Несмотря на то что предпочтительные варианты осуществления изобретения были приведены в целях раскрытия, модификации раскрытых вариантов осуществления изобретения, а также другие варианты его осуществления могут стать очевидными для специалистов в данной области техники. Соответственно, приложенная формула изобретения предназначена для охватывания всех вариантов осуществления, которые не отходят от сущности и объема изобретения.
Формула изобретения
1. Широкоугольная двухшарнирная конструкция, содержащая соединительную пластину, прочный шарнир и кулачковый шарнир, в которой: соединительная пластина имеет первое удерживающее отверстие и второе удерживающее отверстие, предназначенные для удерживания соответственно прочного шарнира и кулачкового шарнира; прочный шарнир имеет крепежную ось на одном конце, прикрепленную к соединительной пластине, и подвижную втулку на другом конце; и кулачковый шарнир имеет один конец, прикрепленный к соединительной пластине, и стержень, проходящий через анкерную пластину, первый элемент, второй элемент и пружину для крепления его посредством гайки; при этом прочный шарнир служит в качестве оси поворота на первой стадии для поворота в положение, подобное положению при использовании ноутбука, при этом кулачковый шарнир служит в качестве другой оси для поворота на второй стадии для поворота в положение, подобное положению планшетного компьютера при использовании его в положении «спина к спине».
2. Широкоугольная двухшарнирная конструкция по п.1, в которой двухшарнирная конструкция смонтирована на электронном устройстве для соединения первого шасси и второго шасси.
3. Широкоугольная двухшарнирная конструкция по п.2, в которой первое шасси имеет дисплейный экран и второе шасси имеет, по меньшей мере, одну зону с клавишами.
4. Широкоугольная двухшарнирная конструкция по п.1 или 2, в которой втулка имеет, по меньшей мере, одно крепежное отверстие на другой стороне для крепления к одному концу первого шасси.
5. Широкоугольная двухшарнирная конструкция по п.1 или 2, в которой анкерная пластина прикреплена к одному концу второго шасси.
6. Широкоугольная двухшарнирная конструкция по п.1 или 2, в которой анкерная пластина имеет первый придающий жесткость пластинчатый элемент и второй придающий жесткость пластинчатый элемент, которые перпендикулярны друг к другу, при этом второй придающий жесткость пластинчатый элемент прикреплен к одному концу второго шасси.
7. Широкоугольная двухшарнирная конструкция по п.1, в которой первое удерживающее отверстие и второе удерживающее отверстие представляют собой некруглые сквозные отверстия.
8. Широкоугольная двухшарнирная конструкция по п.1, в которой втулка имеет осевое отверстие, через которое должен проходить болт крепежной оси.
9. Широкоугольная двухшарнирная конструкция по п.1, в которой стержень проходит через второе удерживающее отверстие и имеет участок с винтовой резьбой на одном конце и многоугольный участок, удерживаемый посредством второго удерживающего отверстия для обеспечения приведения его в движение вместе с соединительной пластиной.
10. Широкоугольная двухшарнирная конструкция по п.1, в которой первый элемент имеет первую криволинейную поверхность на одной его стороне, предназначенную для обеспечения воздействия кулачком.
11. Широкоугольная двухшарнирная конструкция по п.1, в которой второй элемент имеет вторую криволинейную поверхность на одной его стороне, предназначенную для обеспечения воздействия кулачком.
РИСУНКИ
|
|