Патент на изобретение №2377395

Published by on




РОССИЙСКАЯ ФЕДЕРАЦИЯ



ФЕДЕРАЛЬНАЯ СЛУЖБА
ПО ИНТЕЛЛЕКТУАЛЬНОЙ СОБСТВЕННОСТИ,
ПАТЕНТАМ И ТОВАРНЫМ ЗНАКАМ
(19) RU (11) 2377395 (13) C1
(51) МПК

E21B43/14 (2006.01)

(12) ОПИСАНИЕ ИЗОБРЕТЕНИЯ К ПАТЕНТУ

Статус: по данным на 17.09.2010 – действует

(21), (22) Заявка: 2008123461/03, 09.06.2008

(24) Дата начала отсчета срока действия патента:

09.06.2008

(46) Опубликовано: 27.12.2009

(56) Список документов, цитированных в отчете о
поиске:
RU 2221136 C1, 10.01.2004. SU 603742 А, 03.04.1978. SU 632827 А, 25.11.1978. RU 2289022 C1, 10.12.2006. RU 2318992 C1, 10.03.2008. SU 1642068 A1, 15.04.1991.

Адрес для переписки:

423236, Республика Татарстан, г. Бугульма, ул. М. Джалиля, 32, “ТатНИПИнефть”, сектор создания и развития промышленной собственности

(72) Автор(ы):

Гарифов Камиль Мансурович (RU),
Ибрагимов Наиль Габдулбариевич (RU),
Фадеев Владимир Гелиевич (RU),
Ахметвалиев Рамиль Нафисович (RU),
Кадыров Альберт Хамзеевич (RU),
Рахманов Илгам Нухович (RU),
Глуходед Александр Владимирович (RU),
Балбошин Виктор Александрович (RU)

(73) Патентообладатель(и):

Открытое акционерное общество “Татнефть” им. В.Д. Шашина (RU)

(54) УСТАНОВКА ДЛЯ ОДНОВРЕМЕННО-РАЗДЕЛЬНОЙ ЭКСПЛУАТАЦИИ ДВУХ ПЛАСТОВ В СКВАЖИНЕ

(57) Реферат:

Изобретение относится к нефтедобывающей промышленности, в частности к скважинным насосным установкам. Обеспечивает уменьшение габаритов установки и ее узлов. Сущность изобретения: установка включает колонну лифтовых труб, пакер, хвостовик и штанговый насос с дополнительным всасывающим клапаном, сообщенным выходом с отверстием в цилиндре насоса, делящим этот цилиндр по длине на две части, пропорциональные производительностям соответствующих пластов. Согласно изобретению установка снабжена кожухом, который присоединен с зазором к цилиндру для поступления продукции через этот зазор в цилиндр. Между хвостовиком и штанговым насосом установлен двухканальный корпус, в одном из каналов которого размещен дополнительный всасывающий клапан. Второй канал сообщен с входом штангового насоса. При этом входы первого и второго каналов сообщены с надпакерным пространством скважины и хвостовиком или наоборот. Выход дополнительного всасывающего клапана сообщен с зазором между кожухом и цилиндром. 2 ил.

Изобретение относится к нефтедобывающей промышленности, в частности к скважинным насосным установкам.

Известна скважинная установка для одновременно-раздельной эксплуатации двух пластов, содержащая колонну лифтовых труб, колонну штанг, пакер, хвостовик и дифференциальный насос (см. книга «Одновременная раздельная эксплуатация многопластовых нефтяных месторождений», Р.А.Максутов, Б.Е.Доброскок, Ю.В.Зайцев. – М.: «Недра», 1974, стр.89, рис.54). В этой установке производится раздельный подъем продукции пластов: нижнего – по колонне лифтовых труб, верхнего – по эксплуатационной колонне скважины.

Недостатками установки являются: сложная конструкция, невозможность глушения скважины для проведения подземных ремонтов, невозможность исследования пластов в процессе эксплуатации (определение забойных и пластовых давлений), при необходимости извлечения насоса он поднимается вместе с верхним пакером, что способствует его износу и снижению надежности работы установки, кроме того, в результате «поршневого» эффекта, создаваемого пакером при подъеме, происходит излив продукции из эксплуатационной колонны скважины.

Наиболее близкой по технической сущности к предлагаемой является установка для одновременно-раздельной эксплуатации двух пластов в скважине (патент РФ 2221136, БИ 1 за 2004 г.), содержащая колонну лифтовых труб, пакер, хвостовик и штанговый насос с основным и дополнительным боковым всасывающими клапанами.

Недостатком установки является большой поперечный габарит из-за размещенного сбоку от цилиндра дополнительного всасывающего клапана, что ограничивает размер и пропускную способность самого клапана, а также возможность спуска в скважины с уменьшенным диаметром эксплуатационной колонны (ЭК).

Технической задачей, решаемой предлагаемой установкой, является уменьшение ее поперечного размера и увеличение размеров дополнительного клапана.

Указанная задача решается предлагаемой установкой для одновременно-раздельной эксплуатации двух пластов в скважине, включающей колонну лифтовых труб, пакер, хвостовик и штанговый насос с дополнительным всасывающим клапаном, сообщенным выходом с отверстием в цилиндре насоса, делящим этот цилиндр по длине на две части, пропорциональные производительностям соответствующих пластов.

Новым является то, что она снабжена кожухом, который присоединен с зазором к цилиндру для поступления продукции через этот зазор в цилиндр, а между хвостовиком и штанговым насосом установлен двухканальный корпус, в одном из каналов которого размещен всасывающий клапан, а второй сообщен с входом штангового насоса, причем входы первого и второго каналов сообщены с надпакерным пространством скважины и хвостовиком или наоборот, а выход дополнительного всасывающего клапана сообщен с зазором между кожухом и цилиндром.

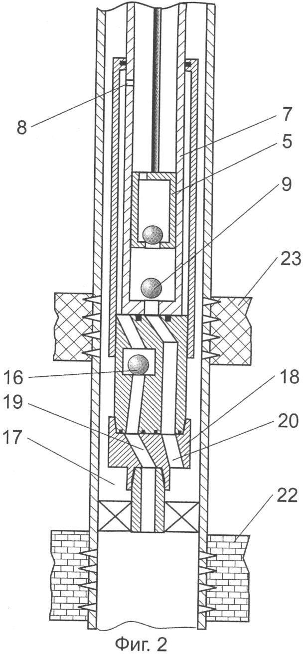
На фиг.1 показана схема установки при забойном давлении верхнего пласта, превышающем забойное давление нижнего.

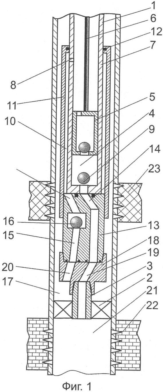
На фиг.2 показана схема установки при забойном давлении нижнего пласта, превышающем забойное давление верхнего.

Установка (см. фиг.1) содержит колонну лифтовых труб 1, пакер 2, с которым хвостовиком 3 соединен насос 4, содержащий плунжер 5 со штангами 6 и цилиндр 7 с отверстием 8 и с основным всасывающим клапаном 9, установленный на входе насоса 4. На цилиндр 7 надет с зазором 10 для протекания жидкости кожух 11, герметично с помощью уплотнителя 12 присоединенный к цилиндру 7 выше отверстия 8. К нижнему концу кожуха 11 и насоса 4 присоединен корпус 13 с каналом 14, соединенным выходом с основным всасывающим клапаном 9, и каналом 15, соединенным своим выходом с зазором 10 и оснащенным дополнительным всасывающим клапаном 16.

Входами в зависимости от условий эксплуатации один из каналов 14 или 15 сообщен с межтрубным пространством 17, а другой 15 или 14 – с хвостовиком 2. Причем выход канала 15 с дополнительным клапаном 16 сообщен через зазор 10 с отверстием 8 в стенке цилиндра 7, а выход канала 14 – с основным всасывающим клапаном 9 насоса 4.

Для унификации установки и переключения входов каналов 14 и 15 на межтрубное пространство 17 или хвостовик 2 установлен поворотный барабан 18 с отверстием 19, сообщенным входом с хвостовиком 2, и отверстием 20, сообщенным входом с межтрубным пространством 17. При повороте барабана 18 на определенный угол (например 180°) входы отверстий 19 и 20 соответственно одновременно переходят на сообщение с межтрубным пространством 17 и с хвостовиком 2. При этом выходы отверстий 19 и 20 сообщены с каналами 14 и 15. Хвостовик 2 сообщен с пространством 21 под пакером 2, которое сообщено с нижним пластом 22. А межтрубное пространство 17 сообщено с верхним пластом 23.

Работает установка следующим образом.

При ходе штанг 6 (фиг.1) с плунжером 5 вверх под ним создается разрежение, и продукция нижнего пласта 22 через подпакерное пространство 21, хвостовик 3, отверстие 19 в барабане 18 канал 14 корпуса 13 и основной всасывающий клапан 9 поступает в цилиндр 7 насоса 4.

После прохождения нижним торцом плунжера 5 отверстия 8 в цилиндр 7 поступает через межтрубное пространство 17, отверстие 20 барабана 18, канал 15 с дополнительным всасывающим клапаном 16, зазор 10 под кожухом 11 и отверстие 8, продукция верхнего пласта 23.

При этом основной всасывающий клапан 9 закрывается, т.к. забойное давление на уровне насоса 4 у верхнего пласта 23 больше, чем у нижнего 22. Поэтому в оставшуюся часть хода плунжера 5 в цилиндр 7 поступает продукция только верхнего пласта 23.

При ходе вниз жидкость в цилиндре 7 насоса 4 перетекает через плунжер 5, и при следующем ходе все повторяется вновь, а продукция пластов 22 и 23 перекачивается вверх по колонне лифтовых труб 1.

В случае если, наоборот, забойное давление нижнего пласта 22 выше, чем у верхнего 23, поворотом барабана 18 (см. фиг.2) на 180° перед монтажом установки сообщают основной клапан 9 с межтрубным пространством 17, а отверстие 8 и дополнительный клапан 16 – через хвостовик 3 с нижним пластом 22.

Тогда установка работает также, только сначала в цилиндр 7 поступает продукция верхнего пласта 23, а затем, после прохождения торцом плунжера 5 отверстия 8, нижнего пласта 22.

Причем конструкция устройства может быть выполнена без поворотного барабана 18, тогда она применяется только на конкретных скважинах:

А) вход канала 15 (фиг.1) с дополнительным всасывающим клапаном сообщен с надпакерним пространством 17, а вход канала 14 корпуса 13 с хвостовиком 3 – на скважинах с забойным давлением нижнего пласта 22 меньшим, чем у верхнего пласта 23;

Б) вход канала 15 (фиг.2) с дополнительным всасывающим клапаном сообщен с хвостовиком 3, а вход канала 14 корпуса 13 с надпакерним пространством 17 – на скважинах с забойным давлением нижнего пласта 22 большим, чем у верхнего пласта 23 (это нужно для того, чтобы 1 и 2 пункты формул не объединили, сузив защиту патента).

Кожух имеет наружный диаметр, ненамного превышающий диаметр цилиндра 7 насоса 4, поэтому позволит спустить установку в скважину даже с малыми диаметрами ЭК. Кроме того, проходы самого дополнительного клапана 15 могут быть увеличены, что позволит применять установку в скважинах с вязкой нефтью.

Формула изобретения

Установка для одновременно-раздельной эксплуатации двух пластов в скважине, включающая колонну лифтовых труб, пакер, хвостовик и штанговый насос с дополнительным всасывающим клапаном, сообщенным выходом с отверстием в цилиндре насоса, делящим этот цилиндр по длине на две части, пропорциональные производительностям соответствующих пластов, отличающаяся тем, что она снабжена кожухом, который присоединен с зазором к цилиндру для поступления продукции через этот зазор в цилиндр, а между хвостовиком и штанговым насосом установлен двухканальный корпус, в одном из каналов которого размещен дополнительный всасывающий клапан, а второй канал сообщен с входом штангового насоса, причем входы первого и второго каналов сообщены с надпакерным пространством скважины и хвостовиком или наоборот, а выход дополнительного всасывающего клапана сообщен с зазором между кожухом и цилиндром.

РИСУНКИ

Categories: BD_2377000-2377999