|
|
(21), (22) Заявка: 2008133251/03, 12.08.2008
(24) Дата начала отсчета срока действия патента:
12.08.2008
(46) Опубликовано: 27.12.2009
(56) Список документов, цитированных в отчете о поиске:
RU 2231635 C1, 27.06.2004. RU 2159323 C1, 20.11.2000. RU 2191864 C2, 27.10.2002. RU 2288320 C2, 27.11.2006. US 4666341 А, 19.05.1987. US 5423632 А, 13.06.1995. US 5829919 А, 03.11.1998.
Адрес для переписки:
443112, г.Самара, ул. Крайняя, 18-17, Н.Б. Болотину
|
(72) Автор(ы):
Болотин Николай Борисович (RU)
(73) Патентообладатель(и):
Болотин Николай Борисович (RU)
|
(54) КОМПЛЕКС ДЛЯ ОБУСТРОЙСТВА МОРСКОГО МЕСТОРОЖДЕНИЯ УГЛЕВОДОРОДОВ
(57) Реферат:
Изобретение относится к области разработки месторождений углеводородов, находящихся в акватории. Комплекс содержит морскую платформу, добывающую скважину и устройство для нагнетания воды в скважину, содержащее, в свою очередь, насос с приводом, выход которого соединен с нагнетательной скважиной. После насоса по линии воды подключен теплообменник, установленный в выхлопном устройстве газотурбинного привода, содержащего, в свою очередь, газотурбинный двигатель и свободную турбину, ротор которой соединен с электрогенератором, соединенным электрической связью с приводом насоса для перекачки углеводородов. Обеспечивает повышение пластового давления и улучшение прогрева твердых углеводородов для их плавления и испарения. 2 з.п. ф-лы, 1 ил.
Изобретение относится к области разработки месторождении углеводородов, находящихся в акватории, в том числе нефти и газогидратов.
Известна платформа морского бурения нефтяных и газовых скважин по патенту РФ 2166611, которая имеет буровую площадку, установленную на плавсредствах.
Недостаток: низкая надежность устройства, неспособность его противостоять штормам, течению и смещению ледяного покрова.
Известна морская буровая платформа по заявке РФ на изобретение 2007129582. Морская буровая платформа содержит основание и опоры.
Известно изобретение по патенту РФ на изобретение 2288320. Морская платформа содержит основание и опоры с защитным блоком и источник электроэнергии, подключенный к потребителям энергии.
Известен способ добычи газа из твердых газогидратов, согласно которому в газогидратной залежи создаются неравновесные термобарические условия путем снижения давления и подвода тепла, при этом теплоподвод осуществляют введением твердого сорбента в зону залегания газогидрата для поглощения воды с удельным тепловыделением, превышающим теплоту диссоциации твердого газогидрата (см. патент RU 2159323, Е21В 43/00,1999).
Недостатком этого способа является необходимость создания наземных сооружений для подачи в зону залегания газогидрата через скважину твердого сорбента и последующей регенерации сорбента, а также малая площадь контакта сорбента в вертикальном стволе скважины с породой, содержащей газогидрат.
Из известных способов наиболее близким к предлагаемому по технической сущности и достигаемому результату является способ разработки месторождений твердых углеводородов, включающий разбуривание залежи системой сгруппированных по площади залежи скважин с горизонтальными участками, в каждой группе которой через один ряд скважин производят закачку теплоносителя в одни продуктивные пласты, а из другого осуществляют отбор углеводородов из других продуктивных пластов, причем в смежных группах скважин попеременно чередуют продуктивные пласты, в которые производят закачку теплоносителя и из которых отбирают углеводороды, см. патент US 5016709, Е21В 43/24,1991.
Известны устройство и способ для термической разработки твердых углеводородов по патенту РФ 2231635, прототип.Техническим результатом этого изобретения является обеспечение интенсификации процессов теплопередачи между пластами и сокращения затрат на производство и закачку теплоносителя. Способ включает разбуривание залежи пересекающей пласты скважиной с системой горизонтальных боковых секций, формирование теплового поля в одном из пластов и отбор углеводородов из другого пласта. При этом бурение вышеупомянутой скважины производят с двумя горизонтальными ступенями, соответственно в верхнем продуктивном и нижнем пластах, из которых осуществляют бурение по меньшей мере двух боковых горизонтальных стволов в каждом пласте, замыкающихся друг с другом на проектной стыковочной траектории с образованием замкнутых каналов циркуляции между пластами. Герметизируют околоскважинное пространство путем установки на концах горизонтальных стволов заколонных пакеров и производят дискретную перфорацию упомянутых стволов с образованием двух секций перфорации в начале и конце каждого ствола. Затем осуществляют подачу под действием перепада давления между пластами горячей воды из нижнего пласта в верхний и принудительную подачу охлажденной воды из верхнего пласта в нижний до восстановления коллекторских свойств продуктивного пласта. После чего перекрывают участки боковых стволов между секциями перфорации внутриколонными пакерами для сообщения разобщенных секций перфорации с околоскважинными пространствами. При этом в процессе эксплуатации поддерживают непрерывную циркуляцию по образованным замкнутым каналам горячей воды из нижнего пласта и охлажденной – из верхнего. Полученные продукты разложения гидратов – газ и воду направляют для разделения в сепаратор.
Эти устройство и способ позволяет повысить эффективность процесса теплового воздействия за счет реализации принципа многоуровнего воздействия на пласты и, как следствие, увеличить степень нефтеизвлечения углеводородов.
К недостаткам способа и устройства относятся большой расход теплоносителя, отсутствие мощного источника энергии, а также сложность реализации многоуровневой схемы теплового воздействия, что в итоге снижает экономичность процесса разработки, повышая удельные затраты на единицу добываемой продукции.
Задачи создания изобретения: повышение пластового давления и улучшение прогрева твердых углеводородов для их плавления и испарения газогидратов при их наличии.
Решение указанных задач достигнуто в морской буровой платформе, содержащей добывающую скважину и устройство для нагнетания воды в скважину, содержащее, в свою очередь, насос с приводом, вход которого соединен с водоемом, а выход – с нагнетательной скважиной, отличающейся тем, что после насоса по линии воды подключен теплообменник, установленный в выхлопном устройстве газотурбинного привода, содержащего, в свою очередь, газотурбинный двигатель и свободную турбину, ротор которой соединен с насосом для перекачки нефти. К газотурбинному приводу подсоединен электрогенератор, а к насосу подсоединен электрический привод, соединенный электрическими связями с электрогенератором. Газотурбинный двигатель содержит воздухозаборник, компрессор, камеру сгорания и турбину. К камере сгорания подключена топливная система двигателя, содержащая топливный насос с приводом, регулятор расхода и отсечной клапан.
Предложенное техническое решение обладает новизной, изобретательским уровнем и промышленной применимостью, т.е. всеми критериями изобретения. Новизна и изобретательский уровень подтверждаются проведенными патентными исследованиями.
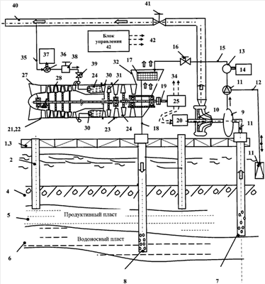
Сущность изобретения раскрывается на чертеже, где приведена схема комплекса для обустройства морского месторождения углеводородов на базе морской буровой платформы.
Морская буровая платформа 1 содержит установленное на опорах 2 основание 3. Основание 3 установлено на грунте 4, ниже которого находится продуктивный пласт 5, под которым имеется водоносный пласт 6. Морская буровая платформа 6 имеет колонну добывающей скважины 7 и колонну нагнетательной скважины 8.
Колонна добывающей скважины 8 подключена к входу в сепаратор 9, первый выход из которого подключен к перекачивающему насосу 10, а второй выход – к первому входу трехходового крана 11. Ко второму входу трехходового крана 10 подсоединен водозаборный патрубок 12, а к его выходу – водяной насос 13 с приводом 14. Трубопровод подачи воды 15 через управляемый клапан 16 соединен с входом в теплообменник 17, выход которого соединен трубопроводом подачи горячей воды 18 с колонной нагнетательной скважины 8. Перекачивающий насос 10 соединен валом 19 с приводом перекачивающего насоса 20.
В состав устройства входит по меньшей мере один газотурбинный привод 21, содержащий газотурбинный двигатель 22 и свободную турбину 23 с ротором свободной турбины 24, который соединен с электрогенератором 25 валом 26.
Кроме того, в состав газотурбинного двигателя 22 входят: воздухозаборное устройство 27, компрессор 28, камера сгорания 29 с форсунками 30, турбина 31 с ротором турбины 32 и выхлопное устройство 33, установленное за свободной турбиной 23. Внутри выхлопного устройства 33 установлен теплообменник 17. К электрогенератору 25 электрическими связями 34 подсоединен привод 14 насоса 13 и другие потребители электроэнергии (не показано).
К форсункам 30 камеры сгорания 29 подключена топливная система двигателя 35, содержащая насос 36 с приводом 37, регулятор расхода 38 и отсечной клапан 39.
Топливная система двигателя 35 подсоединена к основному трубопроводу 40, предназначенному для перекачки добываемого продукта, который содержит задвижку 41. В системе предусмотрен блок управления 42, соединенный электрическими связями 34 с приводами 14 и 37, регулятором 38 и отсечным клапаном 39, а также датчиками контроля (не показано).
При работе запускают газотурбинный двигатель 22, для этого с блока управления 39 подаются электрические команды на привода 14 и 37 и открытие отсечного клапана 39. Топливо (нефть, или природный газ или газогидраты) по топливной системе двигателя 35 топливным насосом 37 подается в форсунки 30 камеры сгорания 29, где воспламеняется при помощи электрозапальников (электрозапальники не показаны).
В результате продукты сгорания раскручивают ротор турбины 32 и ротор свободной турбины 24. Электрогенератор 25 вырабатывает электроэнергию, которая электрическими связями 34 подается на привод перекачивающего насоса 20 и к другим потребителям электроэнергии.
Приводится в действие насос для перекачки углеводородов 10, который повышает давление добываемого продукта (углеводородов) в основной магистрали 40. Одновременно насос 13 забирает воду или из водоема или из сепаратора 9, в зависимости от положения трехходового крана 11 и по трубопроводу подачи воды 15 через управляемый клапан 16 вода поступает в теплообменник 17, где подогревается выхлопными газами, выходящими из газотурбинного привода 21 в выхлопное устройство 33, и далее по трубопроводу подачи горячей воды 18 поступает в нагнетательную скважину 1. Давление в продуктивном пласте 5 повышается. При наличии твердых газогидратов они расплавляются и становятся пригодными для отбора в добывающих скважинах.
Применение источника тепловой энергии, работающего на добываемом топливе, дает ряд преимуществ, связанных с тем, что в отдаленные районы страны трудно доставить топливо и компактный и мощный источник энергии, каким является газотурбинная установка. Кроме того, применение замкнутой схемы подогрева без расходования воды также дает преимущество, уменьшает загрязнение добываемой смеси.
Применение в качестве основного теплоносителя горячей воды, имеющей высокую температуру и большую теплоемкость, позволяет быстрее и эффективнее произвести термическую обработку продуктивного пласта, состоящего преимущественно из углеводородов в твердой фазе и льда и не загрязняет окружающую среду, т.к. вода непрерывно циркулирует по замкнутому контуру, отделяясь в сепараторе. Кроме того, утилизация тепла в выхлопном устройстве газотурбинной установки повышает ее КПД. Обеспечивается автоматическое согласование распределения мощности, идущей на подогрев воды и привод компрессора и насоса для перекачки нефти и сепаратора. Предложенное устройство позволяет:
– утилизировать ранее не используемую энергию газотурбинного двигателя для подогрева воды перед ее подачей в продуктивный пласт и способствовать разложению газовых гидратов на газ и воду при их добыче,
– поддерживать высокое пластовое давление в продуктивных пластах за счет закачки горячей воды,
– обеспечить экологичность процесса добычи углеводородов (нефти, газа или газогидратов) за счет возврата пластовой воды в продуктивный пласт (или ниже него – в водоносный пласт),
– обеспечить работу газотурбинной установки на добываемых углеводородах.
Формула изобретения
1. Комплекс для обустройства морского месторождения углеводородов, содержащий морскую платформу, добывающую скважину и устройство для нагнетания воды в скважину, содержащее, в свою очередь, насос с приводом, выход которого соединен с нагнетательной скважиной, отличающийся тем, что после насоса по линии воды подключен теплообменник, установленный в выхлопном устройстве газотурбинного привода, содержащего, в свою очередь, газотурбинный двигатель и свободную турбину, ротор которой соединен с электрогенератором, соединенным электрической связью с приводом насоса для перекачки углеводородов.
2. Комплекс для обустройства морского месторождения углеводородов по п.1, отличающийся тем, что газотурбинный двигатель содержит воздухозаборник, компрессор, камеру сгорания и турбину.
3. Комплекс для обустройства морского месторождения углеводородов по п.2, отличающийся тем, что к камере сгорания подключена топливная система двигателя, содержащая топливный насос с приводом, регулятор расхода и отсечной клапан.
РИСУНКИ
|
|