|
|
(21), (22) Заявка: 2008106346/03, 18.02.2008
(24) Дата начала отсчета срока действия патента:
18.02.2008
(43) Дата публикации заявки: 27.08.2009
(46) Опубликовано: 27.12.2009
(56) Список документов, цитированных в отчете о поиске:
US 6454001 А, 24.09.2002. SU 968331 А, 23.10.1982. SU 1640362 А1, 07.04.1991. GB 618997 А, 02.03.1949. US 3039534 А, 19.06.1962. GB 1294721 А, 01.11.1972. US 3955625 А, 11.05.1976. US 5667015 А, 16.09.1997.
Адрес для переписки:
246050, Республика Беларусь, г.Гомель, а/я 82, С.В. Громыко
|
(72) Автор(ы):
Галай Михаил Иванович (BY), Демяненко Николай Александрович (BY), Бутов Юрий Александрович (BY), Гнедько Николай Антонович (BY), Лашкин Леонид Петрович (BY), Призенцов Александр Иванович (BY), Сухачев Виктор Иванович (BY)
(73) Патентообладатель(и):
Республиканское унитарное предприятие “Производственное объединение “Белоруснефть” (BY)
|
(54) СПОСОБ ТАМПОНИРОВАНИЯ СКВАЖИНЫ С СОЗДАНИЕМ МОСТА, УСТРОЙСТВО ДЛЯ ЕГО ОСУЩЕСТВЛЕНИЯ И БАРЬЕР ДЛЯ ТАМПОНАЖНОГО РАСТВОРА
(57) Реферат:
Изобретения относятся к области строительства подземных резервуаров, в частности к способам и устройствам создания цементных мостов в скважине с одновременной установкой эксплуатационной колонны. Устройство включает колонну труб и присоединенную к ней несущую трубу с центральным проходным каналом и радиальными отверстиями. К несущей трубе присоединен барьер для тампонажного раствора, состоящий из складывающегося материала и вспомогательных конструкций, обеспечивающих раскрытие барьера и удерживание его в раскрытом положении. Барьер выполнен в виде полой оболочки с замкнутым вокруг несущей трубы объемом. Вспомогательные конструкции выполнены в виде гибкого каркаса, состоящего из многозвенных лент, в закрытом положении барьера укрывающих оболочку. Также устройство содержит центраторы, установленные на несущей трубе по обе стороны от барьера. Соединенные между собой элементы устройства образуют эксплуатационную колонну скважины. При осуществлении способа присоединяют несущую трубу к колонне труб, спускают в скважину на колонне труб барьер в закрытом положении к необсаженной части скважины, выбранной для создания моста. Продавливают тампонажный раствор вниз по колонне труб и несущей трубе до полного заполнения объема оболочки, что приводит к перемещению барьера из закрытого положения в открытое. Позволяет при упрощенной конструкции устройства повысить качество тампонирования скважин со сложным профилем, а также избежать повреждения устройства во время проведения работ. 3 н. и 5 з.п. ф-лы, 7 ил.
Изобретения относятся к области строительства подземных резервуаров, в частности к способам и устройствам создания цементных мостов в скважине с одновременной установкой эксплуатационной колонны.
Известен аппарат для тампонирования скважин /GB 618997, МПК Е21В 33/136, 1949.03.02/, состоящий из канального трубчатого элемента, прикрепленного между уступом и цементной передней частью, трубчатого корпуса, имеющего центральную часть уменьшенного диаметра, позволяющего сформировать полость, оснащенную плечевыми механизмами, между корпусом и трубчатым элементом. Установленная в полости резиновая юбка формирует обратный клапан с отверстиями в корпусе. В процессе операций, предшествующих цементированию, протекание жидкости через эти отверстия предотвращается рукавом, удерживаемым в исходном положении срезаемыми винтами, жидкость проходит вниз через инструмент и наружу в скважину через обратный клапан. Когда все готово для начала операции по цементированию шар подается по колонне труб в гнездо на рукаве, закрывая проход через инструмент. Давление жидкости в обсадной трубе увеличивается, винты срезаются, рукав опускается вниз, открывая отверстия для спуска цемента по колонне в пространство между обсадной трубой и скважиной через обратный клапан и через отверстия. Когда винты срезаются, болт, присоединенный к головке одного из них, и который упирается в элемент стальной ленты, выталкивается наружу, таким образом позволяя ленте свободно падать и высвобождать кольцеобразный барьер, сформированный из подпружиненных лепестковых сегментов. Этот барьер закрывает пространство между элементом и скважиной, предотвращая попадание жидкого цементного раствора ниже инструмента.
Недостатком данного устройства является то, что наличие значительного количества сопрягаемых подвижных деталей, требующих высокой точности при изготовлении, снижает надежность работы всей системы, лепестковые сегменты не позволяют надежно изолировать полости над и под аппаратом для тампонирования скважин. Кроме того, отсутствие защитных элементов повышает риск повреждения лепестковых сегментов во время спускоподъемных операций.
Известен также мост, используемый при цементировании скважин в земле /US 3039534, МПК Е21В 33/068, Е21В 33/136, 1962.06.19/, состоящий из тонкого округлого корпуса из гибкого материала, имеющего тонкую устойчивую округлую и неперфорированную центральную часть с центральным отверстием в ней и сравнительно узкий выступающий край на периферии центральной части внизу, на внешней части корпуса устроены сегменты, состоящие из множества составных элементов, выступающих радиально от центральной части и изгибающихся в этой части посредством этих составных элементов, может взаимодействовать со стенками открытого ствола скважины, обеспечения его перекрытие. Множество расположенных на расстоянии друг от друга лепестков шарнирно присоединены во внутренних концах в отверстиях в цельных опорных конструкциях на нижней стороне центральной части корпуса и прилегающей периферийной закраины. Каждый из лепестков имеет спиральную пружину, присоединенную к ним и к корпусу для приведения лепестков в открытое положение. В данном положении лепестки располагаются вокруг корпуса и прилегают к стенкам скважины для предотвращения движения корпуса вниз, лепестки изгибаются относительно оси корпуса, располагаются и пересекаются относительно друг друга таким образом, чтобы размещаться рядом со стенками скважины в указанной центральной части корпуса и удерживаться под давлением спиральных пружин с клинообразным штифтом на конце позиционирующего шеста, введенного внутрь, протянутого через скважину и фрикционно зафиксированного в скважине, чтобы удерживаться там, пока корпус помещен в стволе скважины на конце шеста, а лепестки вытягиваются спиральными пружинами при удалении клинообразного штифта.
Недостаток данного устройства заключается в том, что лепестковые сегменты не позволяют надежно изолировать полости над и под аппаратом для тампонирования скважин, их форма с внешним краем, который вписан в окружность, исключает возможность перекрытия открытого ствола скважины с непредсказуемым профилем, наличие значительного количества сопрягаемых подвижных деталей, требующих высокой точности при изготовлении, снижает надежность работы всей системы, в конструкции отсутствует колонна труб, которую можно было бы использовать в качестве обсадной колонны.
Известна установка для тампонирования скважин с эксплуатационными колоннами /GB 1294721, МПК Е21В 33/136, 1972.11.01/, которая включает в себя верхние и нижние наборы ножей с пружинами, которые выталкивают их наружу для того, чтобы ножи могли упереться в обсадные колонны, и лопасти корзины, каждая из которых снабжена пружинами, выталкивающими лопасть наружу. При использовании устройство опускается вниз на канате до тех пор, пока рессорные лопасти на пусковом механизме проходят до конца кабеля. Затем лопасти изгибаются наружу так, что поднимается рукав и таким образом высвобождаются шарики. Пружина толкает стержень вниз, заставляя плашки выдвигаться за пределы стакана (втулки, гильзы) для того, чтобы упереться в обсадную колонну. Плашки высвобождаются пусковым механизмом и стаканом, которые смещаются вверх, для того, чтобы упереться в обсадную колонну. Ударное усилие срезает штифт, освобождая механизм и стакан, при этом лопасти корзины раскрываются. Шарики из гравия или стекла сыплются на лопасти корзины, при этом цемент поступает в механизм, который, в свою очередь, имеет стеклянный диск, разбиваемый устройством, удерживающим гравий. В другом варианте устройства гравий может быть опущен в контейнере.
Недостатком данной установки является то, что ее можно использовать только в обсаженных скважинах, необходимость использования канатной техники для доставки гравия удорожает технологический процесс, наличие значительного количества сопрягаемых подвижных деталей, требующих высокой точности при изготовлении, снижает надежность работы всей системы.
Известна цементирующая корзина /US 3955625, МПК Е21В 33/136, Е21В 33/13, 1976.05.11/ для использования при цементировании стволов нефтяных и газовых скважин. В отличие от известных корзин, в которых используются металлические рейки, чтобы сформировать негибкую часть лепестков корзины в данном изобретении используются проволочные петли, такие как стальная пружинная проволока для негибких элементов лепестка корзины.
Недостатком данной цементирующей корзины является то, что ее можно использовать только в обсаженных скважинах или открытых стволах, так как в случае несанкционированного выхода из обсаженной части скважины в открытый ствол это устройство невозможно вернуть в исходное положение, кроме того, слабая несущая способность петель из пружинной проволоки значительно ограничивает объем заливаемого тампонажного раствора. Отсутствие радиальных отверстий, гидравлически связывающих внутреннюю полость несущей трубы с затрубным пространством, не позволяет проводить прямую закачку тампонажного раствора, что значительно ограничивает область применения данного устройства.
Известен также скважинный барьер /US 5667015, МПК Е21В 33/136, Е21В 33/13, 1997.09.16/ для отделения двух жидкостей в газовой или нефтяной скважине. Барьер включает противоположно расположенные наборы реек, которые выступают наклонно от центрально расположенного зажимного приспособления. Набор верхних и нижних брезентовых материалов может быть присоединен к каждому из наборов реек, чтобы обеспечить больший уплотняющий эффект. В предпочтительном варианте исполнения рейки также расположены перекрестно, чтобы минимизировать общую длину барьера, а также сохранять требуемую функциональность.
Недостатком данного устройства также является то, что наличие двух противоположно расположенных барьеров значительно усложняет конструкцию, а во время спуска устройства в скважину наличие постоянно открытого нижнего барьера будет препятствовать свободному перетоку скважинной жидкости и тем самым затруднит спуск устройства к месту установки. Кроме того, наличие несущей штанги для спуска устройства значительно усложнит разбуривание цементного стакана из-за наличия в нем стальной несущей штанги.
Наиболее близким к заявляемым способу и устройству тампонирования скважины, а также барьеру для тампонажного раствора, является способ и агрегат для тампонирования скважин согласно патенту US 6454001, МПК Е21В 33/136, Е21В 33/13, опубликованного 2002.09.24. Один из вариантов способа заключается в том, что определяют пространственные характеристики скважины в месте, выбранном для установки моста до того, как в скважину будет спущен барьер и подбирают габариты барьера таким образом, чтобы он взаимодействовал со скважиной в месте, выбранном для установки моста, присоединяют барьер скважины к несущей трубе, присоединяют несущую трубу с барьером к колонне труб. Барьер для тампонажного раствора содержит складывающийся материал и имеет множество вспомогательных конструкций, присоединенных к нему. Вспомогательные конструкции шарнирно присоединены одними концами к несущей трубе, при этом конструкции вращаются независимо друг от друга. Вторые концы вспомогательных конструкций взаимодействуют с необсаженной частью скважины. Спускают барьер для жидкости на колонне труб на место, выбранное для установки моста в необсаженной части скважины, при этом сохраняют барьер в закрытом положении до и в процессе спуска данного барьера в выбранное местоположение, перемещают барьер из закрытого положения в открытое положение, в котором барьер взаимодействует со стволом скважины, и поддерживают барьер в открытом положении, в котором барьер для жидкости перекрывает скважину в месте, выбранном для установки моста, с помощью создания усилия, направленного вниз. Вытесняют тампонажную жидкость через колонну труб с доставкой тампонажной жидкости в скважину над барьером для жидкости, в то время как барьер присоединен к колонне труб, увеличивают силу, направленную вниз на барьер после того, как барьер для жидкости достигает места, выбранного для установки моста, поддерживают вес барьера для жидкости и тампонажной жидкости в скважине посредством колонны труб без пакера в скважине, извлекают колонну труб после того, как тампонажная жидкость затвердеет до такой степени, что сможет поддерживать свой собственный вес в скважине.
Согласно патенту US 6454001 один из вариантов устройства для тампонирования скважины в месте, выбранном для установки моста, содержит колонну труб, спущенную в скважину, с центральным проходным каналом, несущую трубу с центральным проходным каналом, соединенную с колонной труб, при этом центральные проходные каналы колонны труб и несущей трубы соединены между собой, несущая труба имеет множество отверстий, которые пересекают ее центральный канал, барьер для жидкости, расположенный вокруг несущей трубы ниже множества отверстий, множество вспомогательных конструкций барьера, шарнирно соединенных с несущей трубой и присоединенных к барьеру, и груз, воздействующий на часть конструкций барьера для жидкости с силой, направленной вниз, таким образом, что конструкции будут поворачиваться радиально от несущей трубы и принуждать барьер для жидкости открываться до взаимодействия со скважиной.
Согласно вышеуказанному патенту барьер для тампонажного раствора состоит из складывающегося брезентового материала и удерживающих его вспомогательных конструкций, предотвращающих его раскрытие за пределами полностью открытого места и поддерживающих барьер в открытом положении в месте, выбранном для установки цементного моста, одними концами шарнирно соединенных с несущей трубой, которая содержит центральный проходной канал с множеством радиальных отверстий, пересекающих ее центральный канал, для выхода тампонажного раствора. При этом нижний уровень барьера расположен ниже радиальных отверстий несущей трубы. Барьер удерживается в закрытом положении разъемными стропами, закрученными вокруг барьера, усилие сцепления которых преодолевается при установке барьера в месте, выбранном для установки моста. В открытом положении барьер радиально простирается наружу от несущей трубы, касаясь скважины в месте, выбранном для установки цементного моста.
Недостатком данного способа и устройства является то, что во время спуска компоновки в скважину всегда есть риск повреждения и полного разрушения барьера для раствора вследствие его трения о стенки скважины, особенно в момент прохождения муфтовых стыков труб, из которых состоит колонна труб. Кроме того, конструкция предусматривает разрушение несущей трубы после установки цементного моста, с последующим разбуриванием цементного стакана, спуском эксплуатационной колонны и еще одним этапом цементирования. Механизм принудительного раскрытия барьера для жидкости (под действием силы, направленной вниз) состоит из значительного числа взаимосвязанных подвижных элементов, что снижает надежность работы всего агрегата в целом. Жесткий раскрывающийся каркас барьера для жидкости не позволяет полностью перекрыть открытый ствол скважины вследствие того, что профиль скважины имеет сложную кавернозную форму. Крепление брезентового материала происходит только к элементам раскрывающегося каркаса, оставляя открытым стык барьера для жидкости и несущей трубы, через который может перетекать тампонажный раствор.
Задачей изобретений является создание высокотехнологичного способа тампонирования необсаженной части скважины с одновременной установкой эксплуатационной колонны, а также устройств для реализации данного способа, обладающих высокой надежностью при достаточной простоте конструкции.
Поставленная задача в способе тампонирования скважины с созданием моста заключается в том, что определяют пространственные характеристики скважины в месте, выбранном для создания моста, используют барьер для тампонажного раствора, состоящий из складывающегося материала и удерживающих его вспомогательных конструкций, подбирают габариты барьера таким образом, чтобы он в открытом положении взаимодействовал со стенкой необсаженной части скважины по всему периметру в месте, выбранном для создания моста, определяют объем вытесняемого тампонажного раствора, необходимый для создания моста, закрепляют по радиусу барьер к несущей трубе, снабженной радиальными отверстиями для выхода тампонажного раствора в полость барьера, присоединяют несущую трубу с барьером к колонне труб, спускают барьер в закрытом положении на колонне труб к месту, выбранному для создания моста в необсаженной части скважины, вытесняют тампонажный раствор вниз по колонне труб и несущей трубы для улавливания ее барьером до образования моста, перед спуском в скважину присоединяют к несущей трубе выше и ниже барьера центраторы, диаметры которых превышают поперечные габариты барьера в сложенном положении, используют материал барьера в виде полой оболочки с замкнутым вокруг несущей трубы объемом под тампонажный раствор, при этом перемещение барьера из закрытого положения в открытое обеспечивают продавливанием тампонажного раствора до полного заполнения объема оболочки, а соединенные между собой колонна труб, несущая труба с центраторами и барьером образуют эксплуатационную колонну.
В качестве тампонажного раствора может быть применен цементный раствор.
Поставленная задача в устройстве для тампонирования скважины решается за счет того, что в устройстве, включающем последовательно соединенные и спускаемые через техническую колонну скважины колонну труб с центральным проходным каналом для подачи тампонажного раствора, причем колонна труб имеет длину, достаточную для достижения необсаженной части скважины ниже технической колонны, несущую трубу с центральным проходным каналом, соединенным с центральным проходным каналом колонны труб, и радиальными отверстиями для выхода тампонажного раствора, присоединенный по радиусу к несущей трубе барьер для тампонажного раствора, состоящий из складывающегося материала и вспомогательных конструкций, обеспечивающих раскрытие барьера и удержание его в раскрытом положении, нижний уровень барьера находится ниже радиальных отверстий несущей трубы, согласно изобретению содержит, по меньшей мере, два центратора, установленные на несущей трубе по обе стороны от барьера, диаметры которых больше поперечного габарита сложенного барьера, материал барьера выполнен в виде полой оболочки, снабженной в верхней части отверстиями, обеспечивающими гидравлическую связь ее внутреннего объема с затрубным пространством, с замкнутым вокруг несущей трубы объемом, в открытом положении барьера полностью заполненной тампонажным раствором и контактирующей со стенкой необсаженной части скважины по всему ее периметру, а колонна труб, несущая труба с центраторами и барьером образуют эксплуатационную колонну скважины.
Устройство может содержать обратный клапан, расположенный на несущей трубе ниже или выше нижнего центратора.
Кроме этого оболочка может прикрепляться к несущей трубе верхней и нижней горловинами, причем верхняя горловина закрепляется с возможностью перемещения вдоль несущей трубы, а нижняя – жестко.
Поставленная задача в барьере для тампонажного раствор решается за счет того, что в барьере, расположенном вокруг несущей трубы, содержащей центральный проходной канал с множеством радиальных отверстий, пересекающих центральный канал, для выхода тампонажного раствора, состоящем из складывающегося материала и соединенных с ним вспомогательных конструкций, обеспечивающих радиальное раскрытие барьера и удерживание его в раскрытом положении, причем конструкции, обеспечивающие раскрытие барьера, одними концами шарнирно соединены с несущей трубой, а другими концами в открытом положении барьера контактируют со стенкой скважины, конструкции, обеспечивающие удерживание барьера в открытом положении, одними концами соединены с несущей трубой, а другими – с конструкциями, обеспечивающими удерживание барьера в раскрытом положении, причем нижний уровень барьера расположен ниже радиальных отверстий, и удерживаемом в закрытом положении разъемными стропами, закрученными вокруг барьера, согласно изобретению материал барьера выполнен в виде полой оболочки с замкнутым вокруг несущей трубы объемом под тампонажный раствор, причем верхняя горловина оболочки закреплена на несущей трубе с возможностью перемещения вдоль несущей трубы, а нижняя горловина оболочки закреплена на несущей трубе неподвижно, в верхней части оболочки выполнены отверстия, обеспечивающие гидравлическую связь ее внутреннего объема с окружающим пространством, вспомогательные конструкции, обеспечивающие раскрытие барьера, выполнены в виде гибкого каркаса, состоящего из многозвенных лент, в закрытом положении барьера укрывающих оболочку, причем для соединения лент с несущей трубой, а ее звеньев между собой, используются шарниры, оболочка посредством пластин закреплена на гибком каркасе, конструкции, удерживающие барьер в открытом положении, выполнены в виде тяг или строп.
В частном случае исполнения многозвенные ленты в закрытом положении удерживаются между собой скрутками из проволоки или любого другого вязального или крепежного материала.
Кроме этого пластины, прижимающие оболочку к гибкому каркасу, могут крепиться при помощи заклепок, болтов или на электрозаклепках, а также любым другим способом, обеспечивающим надежность крепления.
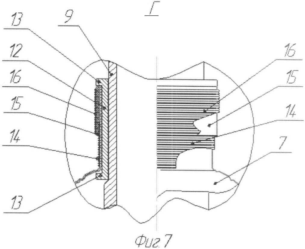
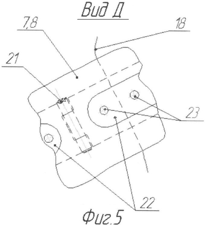
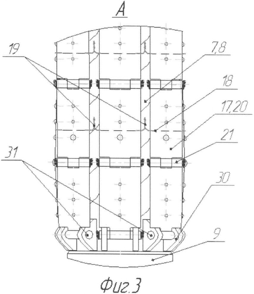
Заявляемые изобретения представлены на следующих чертежах: на фиг.1 схематически показано заявляемое устройство в закрытом положении во время спуска в техническую колонну; на фиг.2 – устройство с раскрытым барьером в месте, выбранном для установки цементного моста; на фиг.3 – вид А на фиг.1; на фиг.4 – вид Б на фиг.2; на фиг.5 – вид Д на фиг.4; на фиг.6 – вид В на фиг.2; на фиг.7 – вид Г на фиг.2.
На фиг.1 барьер 1 для тампонажного раствора показан в процессе спуска в скважину 2, которая содержит ствол 3 и техническую колонну 4, зацементированную в ней. Барьер 1 показан в закрытом положении 5 на фиг.1 и схематически показан в открытом положении 6 на фиг.2 в месте, выбранном для создания цементного моста, которое может быть определено кавернограммой или другим геофизическим способом исследования скважин. Барьер 1 содержит складывающуюся оболочку 7, которая в закрытом положении 5 барьера 1 находится в свернутом положении 8 и уложена вокруг несущей трубы 9. На фиг.2 оболочка 7 показана в открытом положении 10. Верхняя горловина 11 оболочки 7 закреплена на подвижной втулке 12 с буртами 13 (фиг.7) витками вязальной проволоки 14. При этом верхний край 15 горловины 11 завернут вниз, облегает витки вязальной проволоки 14 и закреплен вторым рядом вязальной проволоки 16 или любым другим способом таким образом, чтобы общий габарит позволял свободно проходить через техническую колонну 4.
Снаружи оболочка 7 укрыта закрепленными на ней многозвенными лентами 17, которые связаны между собой в закрытом положении 5 (фиг.3) при помощи поволоки 18 или любых других вязальных материалов, скрутками 19. При этом проволока 18 для защиты от повреждений во время спуска в скважину уложена между пластинами 20 (фиг.4, 5), составляющими многозвенные ленты 17, соединенными между собой шарнирами 21, и оболочкой 7, которая прижимается к многозвенным лентам 17 внутренними пластинами 22. При этом пластины 22 прижаты к пластинам 20 заклепками 23 или любым другим способом (например, болтами).
К нижней части 24 несущей трубы 9 присоединен центратор 25, на нижнем конце которого размещена воронка 26. Сверху несущая труба соединена с центратором 27, который, в свою очередь, соединен с колонной труб 28, при этом диаметры центраторов 25 и 27 превышают поперечные габариты барьера 1 в сложенном положении 5. Между несущей трубой 9 и центратором 25 установлен обратный клапан 29.
Многозвенные ленты 17 в радиальном направлении закреплены на несущей трубе 9 при помощи шарниров 30 и могут свободно поворачиваться вокруг осей 31, которые закреплены в шарнирах 30 любым известным способом (например, стопорными шайбами или развальцовкой). Нижняя горловина 32 оболочки 7 (фиг.6) закреплена на проточке 33, выполненной в нижней части несущей трубы 9, витками вязальной проволоки 34. При этом свободная часть 35 горловины 32 завернута вниз на витки проволоки 34 и поверху обвязана витками вязальной проволоки 36 или любым другим способом таким образом, чтобы общий габарит компоновки позволял свободно проходить через техническую колонну 4. В верхней части оболочки 7 расположено одно или несколько отверстий 37 (фиг.2), обеспечивающих гидравлическую связь ее внутреннего объема с окружающим пространством. На несущей трубе 9 размещена скоба 38, на которой закреплены гибкие тяги или стропы 39, нижние концы 40 которых закреплены на многозвенных лентах 17 и удерживают их в открытом положении 10.
Выше проточки 33 на несущей трубе 9 выполнены радиальные отверстия 41, которыми гидравлически связываются между собой внутренняя полость 42, образованная оболочкой 7, центральный проходной канал 43 несущей трубы 9 и через него центральный проходной канал 44, образованный колонной труб 28.
Способ тампонирования скважины с созданием моста заключается в следующем.
До начала тампонажных работ определяют пространственные характеристики скважины 2 в месте, выбранном для установки моста до того, как в скважину 2 будет спущен барьер 1 для тампонажного раствора, подбирают габариты барьера таким образом, чтобы он взаимодействовал со скважиной 2 в месте, выбранном для создания моста. Барьер 1 содержит складывающийся материал в виде полой оболочки 7 с замкнутым вокруг несущей трубы 9 объемом под тампонажный раствор, и множество удерживающих оболочку конструкций (поз.17, 39), присоединенных одним концом с несущей трубе 9 и удерживающих оболочку 7 в открытом положении 10. Затем присоединяют к несущей трубе 9 выше и ниже барьера 1 центраторы 25, 27, диаметры которых превышают поперечные габариты барьера в сложенном положении, присоединяют несущую трубу 9 к колонне труб 28 и спускают всю конструкцию к месту, выбранному для установки моста в необсаженной части скважины 2, при этом сохраняют барьер 1 в закрытом положении до и во время спуска данного барьера в выбранное местоположение. Вытесняют тампонажный раствор через колонну труб 28 и несущую трубу 9, перемещая барьер 1 из закрытого положения в открытое 10 за счет продавливания тампонажного раствора до полного заполнения объема оболочки 7, приводящее к ее соприкосновению со стенкой необсаженной части скважины 2 по всему периметру. При этом соединенные между собой колонна труб 28, несущая труба 9 с центраторами 25, 27 и барьером 1 образуют эксплуатационную колонну.
В качестве тампонажного раствора можно использовать, например, цемент.
Устройство для тампонирования скважины работает следующим образом.
Собранный на поверхности вокруг несущей трубы 9 барьер 1 в закрытом положении 5 с присоединенными сверху и снизу к несущей трубе 9 центраторами 27 и 25 устанавливается в нижней части колонны труб 28. Между нижним центратором 25 и несущей трубой 9 смонтирован обратный клапан 29, а ниже центратора 25 установлена приемная воронка 26. Во время спуска вся компоновка скользит внутри технической колонны 4 и опирается на центраторы 25 и 27, которые тем самым защищают барьер 1 от повреждений. Открытый обратный клапан 29 обеспечивает свободную циркуляцию жидкости. Спуск барьера 1 производят до проектной глубины. После завершения спуска обратный клапан 29 закрывается, и с устья скважины (не показано) тампонажным насосом (не показан) в центральный проходной канал 44 колонны труб 28 подается цементный раствор, который проходит через центральный проходной канал 43 несущей трубы 9, откуда через радиальные отверстия 41 попадает во внутреннюю полость 42 оболочки 7, постепенно заполняя и раздувая ее.
Под действием распирающего давления скрутки 19 вязальной проволоки поочередно снизу вверх разрываются, постепенно обеспечивая полное раскрытие барьера 1. Отверстия 37 в верхней части оболочки 7 создают необходимое гидравлическое сопротивление, содействующее полному заполнению внутренней полости 42 оболочки 7 цементным раствором. В процессе раскрытия многозвенная лента 17 достигает стенок открытого ствола 3 в скважине 2, прилегает к ним, обеспечивая плавное и плотное прижатие оболочки 7. Происходит расклинивание барьера 1 в скважине 2, и при дальнейшей закачке цементного раствора обеспечивается герметичное и качественное изолирование колонны труб 28. После затвердевания цементного раствора цементный стакан, образованный в центральных проходных каналах 44 и 43 соответственно колонны труб 28 и несущей трубы 9, разбуривается, одновременно разрушается обратный клапан 29. Таким образом, сформированная эксплуатационная колонна, состоящая из колонны труб 28, несущей трубы 9 с барьером 1 и центраторами 25 и 27, готова к работе. Воронка 26 обеспечивает в последующем безаварийный спуск и подъем необходимого внутрискважинного оборудования.
Таким образом, использование заявляемого способа позволит значительно упростить процесс тампонирования необсаженной части скважины, так как, в отличие от прототипа, исключаются следующие этапы: разрушение несущей трубы, последующий спуск эксплуатационной колонны и повторное тампонирование скважины. При это качество тампонирования скважин, даже со сложным профилем, только возрастает за счет использования устройств, обладающих высокой надежностью при относительной простоте конструкции, которая позволяет избегать повреждения устройства во время проведения спуско-подъемных операций и несанкционированного перетекания тампонажного раствора из барьера.
Формула изобретения
1. Способ тампонирования скважины с созданием моста, заключающийся в том, что определяют пространственные характеристики скважины в месте, выбранном для создания моста, используют барьер для тампонажного раствора, состоящий из складывающегося материала и удерживающих его вспомогательных конструкций, подбирают габариты барьера таким образом, чтобы он в открытом положении взаимодействовал со стенкой необсаженной части скважины по всему периметру в месте, выбранном для создания моста, определяют объем вытесняемого тампонажного раствора, необходимый для создания моста, закрепляют по радиусу барьер к несущей трубе, снабженной радиальными отверстиями для выхода тампонажного раствора в полость барьера, присоединяют несущую трубу с барьером к колонне труб, спускают барьер в закрытом положении на колонне труб к месту, выбранному для создания моста в необсаженной части скважины, вытесняют тампонажный раствор вниз по колонне труб и несущей трубы для улавливания ее барьером до образования моста, отличающийся тем, что перед спуском в скважину присоединяют к несущей трубе выше и ниже барьера центраторы, диаметры которых превышают поперечные габариты барьера в сложенном положении, используют материал барьера в виде полой оболочки с замкнутым вокруг несущей трубы объемом под тампонажный раствор, при этом перемещение барьера из закрытого положения в открытое обеспечивают продавливанием тампонажного раствора до полного заполнения объема оболочки, а соединенные между собой колонна труб, несущая труба с центраторами и барьером образуют эксплуатационную колонну.
2. Способ по п.1, отличающийся тем, что в качестве тампонажного раствора применяют цементный раствор.
3. Устройство для тампонирования скважины, включающее последовательно соединенные и спускаемые через техническую колонну скважины колонну труб с центральным проходным каналом для подачи тампонажного раствора, причем колонна труб имеет длину, достаточную для достижения необсаженной части скважины ниже технической колонны, несущую трубу с центральным проходным каналом, соединенным с центральным проходным каналом колонны труб, и радиальными отверстиями для выхода тампонажного раствора, присоединенный по радиусу к несущей трубе барьер для тампонажного раствора, состоящий из складывающегося материала и вспомогательных конструкций, обеспечивающих раскрытие барьера и удерживание его в раскрытом положении, при этом нижний уровень барьера находится ниже радиальных отверстий несущей трубы, отличающееся тем, что содержит, по меньшей мере, два центратора, установленные на несущей трубе по обе стороны от барьера, диаметры которых больше поперечного габарита сложенного барьера, материал барьера выполнен в виде полой оболочки, снабженной в верхней части отверстиями, обеспечивающими гидравлическую связь ее внутреннего объема с затрубным пространством, с замкнутым вокруг несущей трубы объемом, в открытом положении барьера полностью заполненной тампонажным раствором и контактирующей со стенкой необсаженной части скважины по всему ее периметру, а колонна труб, несущая труба с центраторами и барьером образуют эксплуатационную колонну скважины.
4. Устройство по п.3, отличающееся тем, что содержит обратный клапан, расположенный на несущей трубе ниже или выше нижнего центратора.
5. Устройство по п.3, отличающееся тем, что оболочка прикрепляется к несущей трубе верхней и нижней горловинами, причем верхняя горловина закрепляется с возможностью перемещения вдоль несущей трубы, а нижняя – жестко.
6. Барьер для тампонажного раствора, расположенный вокруг несущей трубы, содержащей центральный проходной канал с множеством радиальных отверстий, пересекающих центральный канал, для выхода тампонажного раствора, состоящий из складывающегося материала и соединенных с ним вспомогательных конструкций, обеспечивающих радиальное раскрытие барьера и удерживание его в раскрытом положении, причем конструкции, обеспечивающие раскрытие барьера, одними концами шарнирно соединены с несущей трубой, а другими концами в открытом положении барьера контактируют со стенкой скважины, конструкции, обеспечивающие удерживание барьера в открытом положении, одними концами соединены с несущей трубой, а другими – с конструкциями, обеспечивающими удерживание барьера в раскрытом положении, причем нижний уровень барьера расположен ниже радиальных отверстий несущей трубы, и удерживаемый в закрытом положении разъемными стропами, закрученными вокруг барьера, отличающийся тем, что материал барьера выполнен в виде полой оболочки с замкнутым вокруг несущей трубы объемом под тампонажный раствор, причем верхняя горловина оболочки закреплена на несущей трубе с возможностью перемещения вдоль несущей трубы, а нижняя горловина оболочки закреплена на несущей трубе неподвижно, в верхней части оболочки выполнены отверстия, обеспечивающие гидравлическую связь ее внутреннего объема с окружающим пространством, вспомогательные конструкции, обеспечивающие раскрытие барьера, выполнены в виде гибкого каркаса, состоящего из многозвенных лент, в закрытом положении барьера укрывающих оболочку, причем для соединения лент с несущей трубой, а ее звеньев между собой, используются шарниры, оболочка посредством пластин закреплена на гибком каркасе, конструкции, удерживающие барьер в открытом положении, выполнены в виде тяг или строп.
7. Барьер по п.6, отличающийся тем, что многозвенные ленты в закрытом положении удерживаются между собой скрутками из проволоки или любого другого вязального или крепежного материала.
8. Барьер по п.6, отличающийся тем, что пластины, прижимающие оболочку к гибкому каркасу, крепятся при помощи заклепок, болтов или на электрозаклепках, а также любым другим способом, обеспечивающим надежность крепления.
РИСУНКИ
|
|