|
|
(21), (22) Заявка: 2008135041/03, 27.08.2008
(24) Дата начала отсчета срока действия патента:
27.08.2008
(46) Опубликовано: 27.12.2009
(56) Список документов, цитированных в отчете о поиске:
ЕР 0261924 А2, 30.03.1988. SU 48020 A1, 31.08.1936. SU 1521851 А2, 15.11.1989. RU 2078901 C1, 10.05.1997. RU 2295624 C2, 20.03.2007. WO 9006417 A1, 14.06.1990.
Адрес для переписки:
660074, г.Красноярск, ул. Киренского, 26, Политехнический институт СФУ, отдел промышленной собственности
|
(72) Автор(ы):
Спирин Тимур Сергеевич (RU), Сытник Алексей Дмитриевич (RU)
(73) Патентообладатель(и):
Федеральное государственное образовательное учреждение высшего профессионального образования Сибирский федеральный университет (СФУ) (RU)
|
(54) УСТРОЙСТВО ДЛЯ ЗАЖИМА ТРУБНЫХ ЭЛЕМЕНТОВ
(57) Реферат:
Изобретение относится к нефтегазодобывающей отрасли, а именно к конструкциям устройств для зажима трубных элементов, установленных на автоматических буровых ключах, предназначенных для свинчивания/развинчивания резьбовых соединений труб. Устройство для зажима трубных элементов содержит приводную роторную шестерню с разъемом, находящуюся в зацеплении с приводными шестернями, и дополнительную роторную шестерню, установленную соосно первой. При этом на роторной шестерне закреплена катушка с намотанным на ней тросом, снабженная возвратным пружинным механизмом, и направляющие ролики, предназначенные для направления движения троса, а на дополнительной роторной шестерне установлен кронштейн, необходимый для закрепления неподвижного конца троса. Предлагаемое устройство позволяет работать с любыми типоразмерами труб, используемых в нефтяной промышленности, и без специальных подготовительных операций переходить с одного типоразмера трубы на другой, что позволит значительно ускорить и автоматизировать спуско-подъемные операции на буровой установке. 6 ил.
Изобретение относится к нефтегазодобывающей отрасли, а именно к конструкциям устройств для зажима трубных элементов, установленных на автоматических буровых ключах, предназначенных для свинчивания-развинчивания резьбовых соединений труб нефтяного сортамента.
Известен гидравлический зажимной патрон [авторское свидетельство СССР 1810477 А1, кл. Е21В 19/16, опубл. 1993 г.], содержащий корпус, установленный на приводном валу, захватные элементы, установленные на корпусе, привод радиального перемещения захватных элементов в виде гидроцилиндров, поршневые полости которых сообщены с питающей линией через гидрозамки, установленные с возможностью запирания поршневых полостей гидроцилиндров при зажиме детали.
Недостатком данного устройства являются его значительные радиальные размеры из- за наличия гидроцилиндров.
Известно устройство для зажима трубных элементов [патент РФ 2268984 С2, кл. Е21В 19/16, опубл. 2006 г.], захватными элементами в котором являются рычаги, имеющие возможность радиального перемещения, с установленными на них челюстями с плашкой из твердого сплава. Данное трубозажимное устройство содержит приводную роторную шестерню с разъемом, находящуюся в зацеплении с приводными шестернями, роторная шестерня имеет с внутренней стороны пятигранную обработку, в которую встроена кассета. Кассета содержит верхний и нижний диски с радиально размещенными между ними четырьмя зажимными устройствами, которые выполнены в виде челночных механизмов, состоящие из корпусов и челюстей с плашкой из твердого сплава.
Недостатком данного устройства является необходимость смены кассет с зажимным механизмом при работе с различными типоразмерами труб, что приводит к дополнительным затратам времени, а также для работы с обсадными трубами большого диаметра радиальные габариты захватного механизма становятся неоправданно большими.
Задачей изобретения является создание устройства для зажима трубных элементов, которое сможет работать со всеми типоразмерами труб, используемых в нефтяной промышленности (от насосно-компрессорных до обсадных труб) и позволит переходить с одного типоразмера труб на другой без дополнительных затрат времени.
Поставленная задача решается тем, что устройство для зажима трубных элементов, содержащее приводную роторную шестерню, выполненную с разъемом, находящуюся в зацеплении с приводными шестернями, согласно изобретению содержит дополнительную роторную шестерню с разъемом, установленную соосно первой, при этом на роторной шестерне закреплена катушка с намотанным на ней тросом, снабженная возвратным пружинным механизмом, и направляющие ролики, предназначенные для направления движения троса, на дополнительной роторной шестерне установлен кронштейн, необходимый для закрепления неподвижного конца троса.
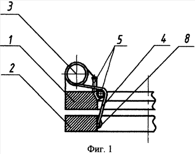
На фиг.1 показан продольный разрез устройства; на фиг.2 – вид сверху на фиг.1; на фиг.3 изображен первый этап работы устройства; на фиг.4 – второй этап работы устройства; на фиг.5 – третий этап работы; на фиг.6 – четвертый этап работы устройства.
Устройство для зажима трубных элементов (см. фиг.1-3) содержит роторную шестерню 1, соосно роторной шестерне 1 расположена дополнительная роторная шестерня 2, на роторной шестерне 1 закреплена катушка 3, на которой намотан трос 4, также на роторной шестерне 1 расположены ролики 5, через которые проходит трос 4. Катушка 3 имеет возможность смотки троса 4 посредством возвратного пружинного механизма 6, закрепленного на оси катушки 3. Роторная шестерня 1 находится в зацеплении с приводными шестернями 7. Трос 4 закреплен в дополнительной роторной шестерне 2 при помощи кронштейна 8. Во время работы устройства для зажима трубных элементов через центр роторной шестерни 1 проходит муфта 9 бурильной колонны 10.
Устройство для зажима трубных элементов работает следующим образом.
При необходимости зажима муфты 9 бурильной колонны 10 ее располагают в центре роторной шестерни 1 (см. фиг.3). После этого роторная шестерня 1 начинает вращаться при помощи приводных шестерен 7 вокруг муфты 9 бурильной колонны 10, при этом дополнительная роторная шестерня 2 остается неподвижной (см. фиг.4). Трос 4 разматывается с катушки 3 и обматывается вокруг муфты 9 бурильной колонны 10 (см. фиг.5). После того, как запас троса 4 на катушке 3 исчерпан, происходит зажим муфты 9 бурильной колонны 10 относительно роторной шестерни 1 благодаря силе трения троса 4 о поверхность муфты 9 (см. фиг.6). Освобождение муфты 9 от зажима относительно роторной шестерни 1 происходит в обратном порядке, при этом излишняя длина троса 4 сматывается на катушку 3 при помощи возвратного пружинного механизма 6.
Предлагаемое устройство для зажима трубных элементов позволяет работать с любыми типоразмерами труб, используемых в нефтяной промышленности (от насосно-компрессорных до обсадных), без специальных подготовительных операций позволяет переходить с одного типоразмера трубы на другой, что позволяет значительно ускорить и автоматизировать спуско-подъемные операции на буровой установке.
Формула изобретения
Устройство для зажима трубных элементов, содержащее приводную роторную шестерню, выполненную с разъемом, находящуюся в зацеплении с приводными шестернями, отличающееся тем, что оно содержит дополнительную роторную шестерню с разъемом, установленную соосно первой, при этом на роторной шестерне закреплена катушка с намотанным на ней тросом, снабженная возвратным пружинным механизмом, и направляющие ролики, предназначенные для направления движения троса, на дополнительной роторной шестерне установлен кронштейн, необходимый для закрепления неподвижного конца троса.
РИСУНКИ
|
|