Патент на изобретение №2377385

Published by on




РОССИЙСКАЯ ФЕДЕРАЦИЯ



ФЕДЕРАЛЬНАЯ СЛУЖБА
ПО ИНТЕЛЛЕКТУАЛЬНОЙ СОБСТВЕННОСТИ,
ПАТЕНТАМ И ТОВАРНЫМ ЗНАКАМ
(19) RU (11) 2377385 (13) C2
(51) МПК

E21B17/10 (2006.01)

(12) ОПИСАНИЕ ИЗОБРЕТЕНИЯ К ПАТЕНТУ

Статус: по данным на 17.09.2010 – действует

(21), (22) Заявка: 2008104586/03, 06.02.2008

(24) Дата начала отсчета срока действия патента:

06.02.2008

(43) Дата публикации заявки: 20.08.2009

(46) Опубликовано: 27.12.2009

(56) Список документов, цитированных в отчете о
поиске:
МАСЛЕННИКОВ И.К. и др. Инструмент для бурения скважин. – М.: Недра, 1981, с.302. SU 592957 A1, 15.02.1978. SU 966223 A1, 15.10.1982. SU 1694849 A1, 30.11.1991. SU 1802064 A1, 15.03.1993. RU 2233962 C2, 10.08.2004. UA 55209 C2, 25.05.2007.

Адрес для переписки:

443004, г.Самара, ул. Грозненская, 1, ОАО “Волгабурмаш”, дирекция по перспективным исследованиям и разработкам

(72) Автор(ы):

Некрасов Игорь Николаевич (RU),
Богомолов Родион Михайлович (RU),
Ищук Андрей Георгиевич (RU),
Гавриленко Михаил Викторович (RU),
Морозов Леонид Владимирович (RU),
Мухаметшин Мидхат Мухаметович (RU)

(73) Патентообладатель(и):

Открытое акционерное общество “Волгабурмаш” (ОАО “Волгабурмаш”) (RU)

(54) КАЛИБРАТОР СТВОЛА СКВАЖИНЫ

(57) Реферат:

Изобретение относится к опорно-центрирующим устройствам, используемым в компоновке низа бурильной колонны при наклонно-направленном бурении нефтяных и газовых скважин. Технический результат – повышение маневренности при наборе кривизны скважины, уменьшение сальникообразования при наклонно-направленном бурении вязких и липких пород. Калибратор ствола скважины, включающий верхнюю и нижнюю присоединительную резьбы, внутренний канал для подвода промывочной жидкости к забою, три или более лопастей с армированными рабочими поверхностями, разделенных между собой промывочными пазами, в котором длина лопастей L связана с рабочим диаметром калибратора Dк следующим соотношением: L/Dк=(0,7÷0,95). В качестве армирующего материала для лопастей применены пластины из поликристаллических алмазов (PDC) с плоской наружной поверхностью, установленные заподлицо с рабочей поверхностью, а суммарная площадь армирующих пластин S1 связана с рабочей площадью лопасти S2 соотношением S1/S2=(0,34÷0,48). Наружные промывочные каналы между лопастями выполнены равномерно расширяющимися по площади сечения за счет наклона режущей набегающей грани под углом =(18°÷23°) по часовой стрелке к образующей цилиндрической части калибратора, а сбегающая грань выполнена по образующей цилиндрической части; при этом обеспечивается соотношение площадей пространства между дном канала и габаритной линией калибратора на выходе из канала S4 и на входе в канал S3 в следующих пределах: S4/S3=(1,37÷1,52). Криволинейная поверхность промывочных каналов выполнена плавной без переходов и выступов с шероховатостью Ra=(1,0÷4,0) мкм. 3 з.п. ф-лы, 4 ил.

Изобретение относится к инструменту для компоновки бурильной колонны, используемой при строительстве глубоких скважин с целью добычи нефти и газа, а именнко к опорно-центрирующим устройствам в нижней части бурильной колонны, устанавливаемым над буровым долотом или в непосредственной близости от него.

Известны калибраторы [1], принятые за аналог, выпускаемые с прямолинейными или спиральными лопастями, разделенными друг от друга прямыми или винтовыми пазами для прохода со стороны забоя промывочной жидкости с частицами выбуренной породы (шламом). Особенно важную калибрующую и стабилизирующую роль по предотвращению нежелательного искривления ствола скважины калибраторы выполняют при бурении наклонно-направленных или горизонтальных скважин, подверженных естественному искривлению.

Поверхности лопастей калибратора по их наружному диаметру, равному диаметру бурового долота, армируются твердосплавными зубками с плоской наружной поверхностью или наплавляются зерновым твердым сплавом. При вращении бурильной колонны лопасти калибратора калибруют ствол скважины, центрируют эту колонну, уменьшают ее износ, центрируют забойный двигатель, стабилизируют и улучшают работу бурового долота.

Главным недостатком аналога является налипание на него шлама, наматывание сальника в открытых полостях, образующегося при проходке вязких пород или соскребании со стенок скважины глинистой корки, препятствующего нормальной циркуляции промывочной жидкости. Нередко наличие сальника приводит к прихватам бурового инструмента. При этом ни попытки увеличить давление или объем промывочной жидкости, ни расхаживание бурильной колонны не приводят к ликвидации прихвата инструмента. Механическая скорость бурения при сальникообразовании и проходка на буровое долото резко падают.

В последнее время изготовители и потребители многих отечественных и зарубежных фирм отдают предпочтение другому аналогу [2] настоящего изобретения – калибраторам и стабилизаторам с наклонными или спиральными рабочими лопастями, функции которых с предыдущим аналогом одни и те же. Они также близки по конструктивному исполнению, последние только значительно больше по длине. Калибраторы с наклонными лопастями имеют значительно лучшие гидравлические характеристики, а также больший охват стенки скважины по периметру при той же ширине проходов для промывочной жидкости. Длина и ширина рабочих органов варьируются в широких пределах и зависят от диаметра и назначения калибратора. Например, оптимальная длина калибратора Lк рекомендуется равной Lк=50·Dк, где Dк – диаметр калибратора, мм. Рабочая поверхность лопастей армируется твердосплавными пластинами, зубками с плоской наружной поверхностью или наплавляется зерновым твердым сплавом.

Недостатки у рассмотренного аналога такие же, как и у первого, – интенсивное сальникообразование при прохождении вязких пород, а также затруднения, связанные с набором кривизны или изменением направления скважины из-за большой длины калибратора, достигающей у этого аналога 1000 мм и более.

Попытка снижения возможности сальникообразования в спиральных лопастных калибраторах предпринята в конструкции 5КС, принятой за прототип [3]. Такие калибраторы-стабилизаторы (КС) выпускаются Дрогобычским долотным заводом.

В отличие от аналогов, в рабочих спиральных лопастях просверлены поперечные сквозные отверстия для свободного перетока промывочной жидкости из любой полости в соседнюю с целью охлаждения рабочих лопастей в процессе их работы. Однако охлаждение лопастей практически не повлияло на уменьшение главного недостатка – возможности сальникообразования.

Наоборот, сальниковые массы, задерживаемые поперечными отверстиями, становились дополнительными препятствиями – концентраторами для удержания новых налипающих шламовых масс, идущих с продольными потоками промывочной жидкости, поднимающимися со стороны забоя. При этом большая длина лопастей калибратора препятствовала набору кривизны или изменению направления скважины. Кроме перечисленных недостатков аналогов и прототипа существуют также тенденции современного бурения, которые дополнительно усугубляют эти недостатки и которые необходимо учитывать при создании нового высокоэффективного калибратора.

Непрерывное совершенствование конструкций буровых долот, совершенствование технологии их производства, повышение износостойкости материалов для них, а также улучшение технологии бурения привели к значительному росту механической скорости бурения и проходки. Проходка на долото исчисляется уже сотнями метров, а для долот, оснащенных вставками из поликристаллических алмазов (PDC), – тысячами метров при высокой механической скорости бурения, исчисляемой десятками метров в час. В таких условиях необходимость непрерывного контроля за направлением бурения и оперативное его изменение на коротком интервале становится самой актуальной задачей, не менее важной, чем сама проходка. Кроме того, при большой проходке долото проходит множество различных по свойствам пропластков, включая липкие, которые являются причиной наматывания сальников на буровое долото и калибратор, что резко снижает возможность очистки забоя от выбуренной породы и механическую скорость бурения. Сальники нередко приводят к прихватам колонны бурильных труб.

Техническим результатом настоящего изобретения является повышение маневренности при наборе кривизны скважины, уменьшение сальникообразования при наклонно-направленном бурении вязких и липких пород.

Технический результат достигается тем, что в калибраторе ствола скважины, включающем верхнюю и нижнюю присоединительную резьбы, внутренний канал для подвода промывочной жидкости к забою, три или более лопастей с армированными рабочими поверхностями, разделенных между собой промывочными пазами, длина лопастей L (мм) связана с рабочим диаметром калибратора Dк (мм) следующим соотношением: L/Dк=(0,7÷0,95). В качестве армирующего материала для лопастей применены пластины из поликристаллических алмазов (PDC) с плоской наружной поверхностью, установленные заподлицо с рабочей поверхностью, а суммарная площадь армирующих пластин S1 (мм2) связана с рабочей площадью лопасти S2 (мм2) соотношением S1/S2=(0,34÷0,48). Наружные промывочные каналы между лопастями выполнены равномерно расширяющимися по площади сечения за счет наклона режущей набегающей грани под углом =(18°÷23°) по часовой стрелке к образующей цилиндрической части калибратора. Поток промывочной жидкости поднимается со стороны забоя по межлопастным промывочным каналам 9 (фиг.2, 3). Площадь пространства между дном канала и габаритной линией калибратора на входе в эти каналы – S4 (мм2) и на выходе из них – S3 (мм2). При этом обеспечивается соотношение этих площадей в следующих пределах: S4/S3=(1,37÷1,52). Криволинейная поверхность промывочных каналов выполнена плавной, без переходов и выступов с шероховатостью Ra=1,0÷4,0 мкм.

В результате стендовых и промысловых экспериментов исследованы и изменены по отдельности все конструктивные параметры калибратора, а затем подобрано их оптимальное общее сочетание. Это позволило создать калибраторы ствола скважины, обеспечивающие одновременно повышение маневренности при наборе кривизны или изменении направления бурения скважины, а также стабильное калибрование стенок скважины с улучшением промывки забоя, уменьшением сальникообразования и прихватов низа бурильной колонны при бурении вязких и липких пород.

С этой целью в калибраторе изменена форма лопастей, форма и направление кромок лопастей, схема расположения армирующих вставок на рабочих поверхностях.

Во-первых, выбрано оптимальное сочетание длины, ширины и формы лопастей. С точки зрения повышения износостойкости калибратора, исчисляемой сотнями часов, чем больше длина и площадь армированной рабочей поверхности лопастей, тем выше их стойкость. С точки зрения повышения маневренности при наборе кривизны длина и площадь рабочей поверхности должны быть минимальными.

Уменьшить длину лопастей стало возможным при замене твердосплавных зубков или наплавки зерновым твердым сплавом, используемым в аналоге и прототипе, на вставки из поликристаллических алмазов (PDC), широко применяемые для армирования боковых диаметральных поверхностей алмазных долот. Это позволило не только кратно уменьшить длину и площадь рабочих лопастей, но также резко повысить стойкость калибраторов от износа их по диаметру.

Промысловые испытания образцов предлагаемых калибраторов показали, что для их стабильной работы, обеспечивающей высокую маневренность при наборе кривизны или изменении направления бурения длина лопастей L (мм) должна быть связана с рабочим диаметром калибратора Dк (мм) следующим соотношением: L/Dк=(0,7÷0,95).

Для того чтобы при указанном соотношении длины лопасти и диаметра рабочей поверхности калибратора, обеспечивающем, как указано выше, высокую маневренность при изменении направления бурения, была обеспечена высокая стойкость от износа калибратора по диаметру, необходимо установить оптимальное соотношение суммарной площади S1 (мм2) армирующих пластин PDC с площадью армируемой лопасти S2 (мм2). Эксперименты показали, что таким оптимальным соотношением является: S1/S2=(0,34÷0,48).

Во-вторых, большое значение для работы калибратора при прохождении буровым долотом пропластков вязких и липких пород без образования на их рабочих поверхностях сальников имеют его геометрические параметры, влияющие на калибрование стенок скважины и на гидравлическое сопротивление прохождению потоков промывочной жидкости с липким шламом через межлопастные каналы, поверхность и форма которых должны способствовать беспрепятственной и непрерывной эвакуации липкого шлама с забоя на дневную поверхность.

С этой целью набегающая грань лопасти выполнена с острой режущей кромкой, наклоненной под углом =(18°÷23°) по часовой стрелке к образующей цилиндрической части калибратора, при этом набегающая грань играет роль шнека, непрерывно поднимающего шламовые массы со стенки скважины вверх по промывочным каналам между лопастями. Именно такая величина наклона набегающей грани к образующей цилиндрической части калибратора позволяет успешно калибровать стенку скважины и сохранять вышеуказанное соотношение суммарной площади S1 (мм2) армирующих пластин PDC с площадью армируемой лопасти S2 (мм2) независимо от его диаметрального размера.

Для уменьшения гидравлического сопротивления прохождению промывочной жидкости с липким шламом постоянная площадь сечения по всей длине межлопастных каналов, характерная для аналогов и прототипа, заменена на расширяющиеся каналы с увеличивающейся площадью сечения. Для того чтобы сбегающая грань лопасти не становилась угловым препятствием при движении вверх по межлопастному каналу промывочной жидкости и не могла играть роль концентратора для задержки сальниковой массы, ее кромка выполнена параллельной оси калибратора и не может задерживать выбуренную породу с промывочной жидкостью.

Дно канала имеет предпочтительно одинаковую глубину на всем его протяжении. Расходящаяся ровная чашеобразная форма без выступов сводит к минимуму возможность прилипания шлама на своей поверхности еще и из-за падения давления жидкости, переходящей из узкого пространства в более широкое на выходе канала при одинаковом ее расходе в единицу времени.

Наклон набегающей грани под углом =(18°÷23°) и рекомендуемая выше длина лопастей позволяют обеспечить следующее оптимальное соотношение межлопастных площадей на выходе S4 (мм2) из канала и на входе S3 (мм2) в него S4/S3=(1,37÷1,52).

Значительное влияние на возможность возникновения адгезии липкого шлама к поверхности межлопастных каналов и дополнительную задержку по этой причине сальниковых масс оказывают шероховатость и форма выступов шероховатости на поверхности промывочных каналов. Эксперименты показали, что снижение шероховатости поверхности каналов, получаемое при черновом торцевом фрезеровании Ra=(3,2÷12,5) мкм заменой ее на чистовое фрезерование Ra=(1,0÷4,0) мкм, обеспечивает снижение задержки и адгезии сальниковых масс.

Таким образом, повышение эффективности работы предлагаемого калибратора происходит за счет особенностей конструктивной формы его отдельных элементов и подбора оптимального их общего сочетания.

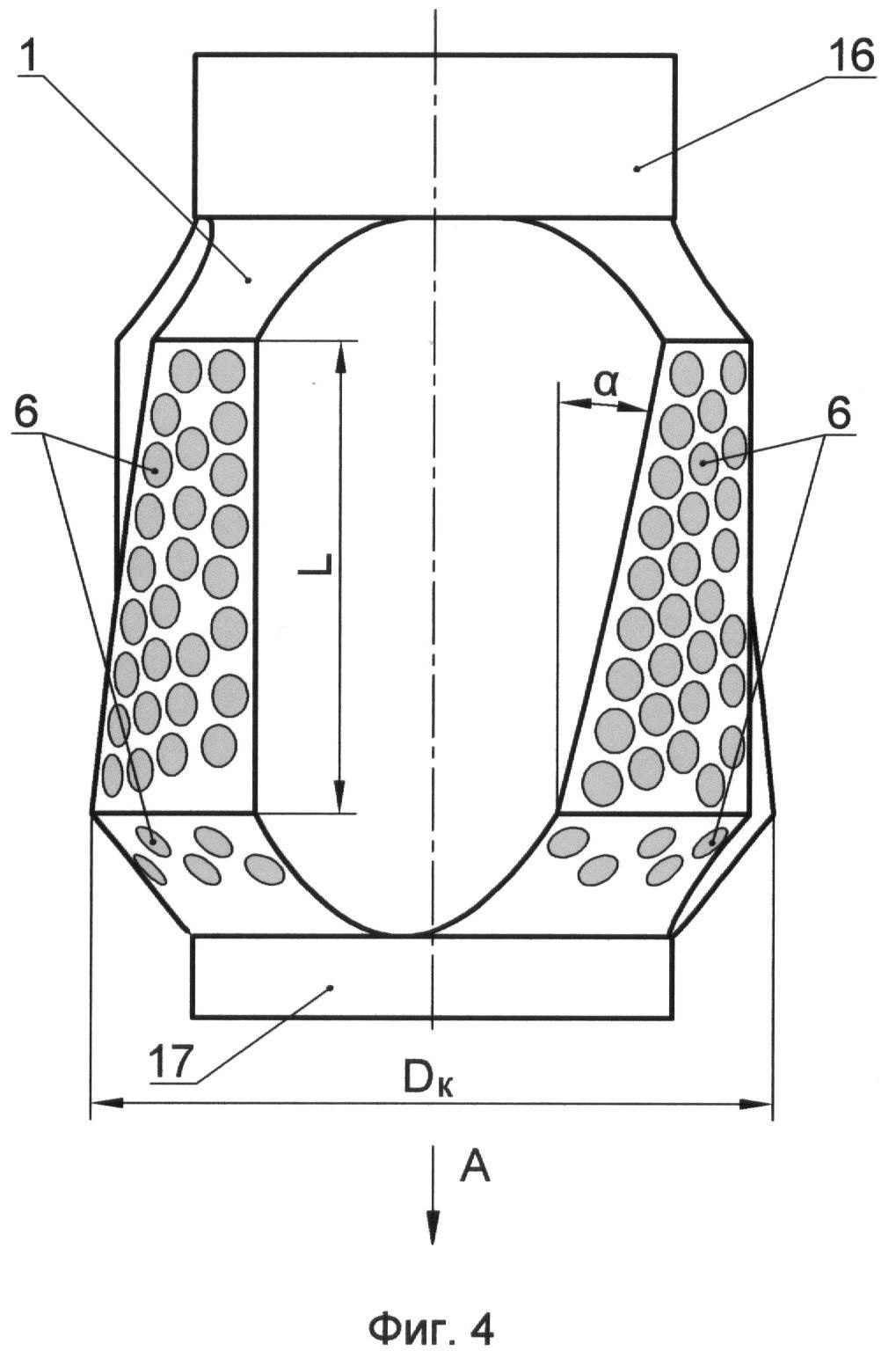
Перечень чертежей. На фиг.1 изображен главный вид предлагаемого калибратора. На фиг.2 показан поперечный разрез калибратора на уровне полного выходного (по обратному потоку промывочной жидкости) сечения, на фиг.3 – поперечный разрез калибратора на уровне его полного входного сечения. На фиг.4 изображен еще один главный вид калибратора (повернуто), поясняющий форму межлопастных промывочных каналов.

Калибратор содержит корпус 1 (фиг.1), на котором выточены или приварены четыре лопасти 2, 3, 4 и 5 (фиг.2, 3). Стрелкой А (фиг.1) обозначено направление ориентации и закрепления с помощью внутренних резьб (не показано) калибратора к бурильной колонне или валу гидравлического двигателя (сверху) и для закрепления шарошечного или алмазного долота (снизу). На каждой из четырех рабочих лопастей, наружный диаметр которых Dк (мм) равен диметру бурового долота Dд (мм), [Dк=Dд], установлены армирующие вставки 6 PDC заподлицо с наружной поверхностью лопастей 2, 3, 4, 5. По обоим торцам каждой из лопастей выполнены скосы 7 (снизу) и 8 (сверху) обычно под углом 45° к образующей цилиндрической части с обоих концов. Поверхности скосов и сверху, и снизу также армированы пластинами 6 PDC. Между каждой парой лопастей имеются промывочные межлопастные каналы 9 (фиг.2, 3) для прохода обратных потоков промывочной жидкости со шламом, поднимающихся со стороны забоя. Каналы 9 ограничиваются с набегающей стороны наклонной кромкой 10 под углом по часовой стрелке относительно образующей цилиндрической части 11, проведенной из точки 12 пересечения начала этой кромки с основанием цилиндрической части со стороны забоя. Снизу и сверху межлопастные каналы 9 ограничены кривыми пересечения 13 с торцевыми коническими поверхностями 7 и 8. Со сбегающей стороны каналы 9 ограничены кромкой 15, проходящей по образующей цилиндрической части калибратора. Позицией 16 обозначен верхний габаритный цилиндрический поясок с верхним резьбовым упором, а позицией 17 – нижний поясок с нижним резьбовым упором. Наружные диаметры поясков 16 и 17 соответствуют примерно по глубине каналам 9.

Работу калибратор осуществляет следующим образом. С помощью нижней и верхней резьб калибратор устанавливают в компоновку низа бурильной колонны, ориентируя его по стрелке А, показанной на фиг.1 и 4. При вращении колонны или вала гидродвигателя калибратор, расположенный над буровым долотом, центрирует бурильную колонну, уменьшая ее износ, центрирует забойный двигатель и улучшает условия работы долота. В отличие от аналогов и прототипа, предлагаемый калибратор за счет малой длины лопастей обеспечивает возможность более быстрого и оперативного набора кривизны; за счет набегающей наклонной кромки 10 и пластин PDC – качественное калибрование стенки скважины, увеличивает стойкость к абразивному истиранию и обеспечивает за счет геометрической формы и низкой шероховатости поверхности уменьшение гидравлического сопротивления при прохождении через его промывочные каналы промывочной жидкости с липким шламом, предотвращение сальникообразования на корпусе.

Все перечисленные особенности позволяют обеспечить в результате применения предлагаемого калибратора нового поколения значительное повышение показателей бурения – проходку буровых долот, механическую скорость бурения, ускорение освоения новых скважин.

Результаты промысловых испытаний образцов предлагаемых калибраторов полностью подтверждают их преимущества перед аналогами и прототипом.

Источники информации

1. ОСТ 39-078-79 «Калибраторы, центраторы, стабилизаторы. Классификация, виды, типы и основные размеры», стр.2.

2. И.К.Масленников, Г.И.Матвеев. «Инструмент для бурения скважин». М.: «Недра», 1981, стр.304-306.

3. И.К.Масленников, Г.И.Матвеев. «Инструмент для бурения скважин». М.: «Недра», 1981, стр.302.

Формула изобретения

1. Калибратор ствола скважины, включающий верхнюю и нижнюю присоединительную резьбы, внутренний канал для подвода промывочной жидкости к забою, три или более лопастей с армированными рабочими поверхностями, разделенных между собой промывочными пазами, отличающийся тем, что длина лопастей L (мм) связана с рабочим диаметром калибратора Dк (мм) следующим соотношением:
L/Dк=(0,7÷0,95).

2. Калибратор по п.1, отличающийся тем, что в качестве армирующего материала для лопастей применены пластины из поликристаллических алмазов (PDC) с плоской наружной поверхностью, установленные заподлицо с рабочей поверхностью, а суммарная площадь армирующих пластин S1 (мм2) связана с рабочей площадью лопасти S2 (мм2) соотношением: S1/S2=(0,34÷0,48).

3. Калибратор по п.1, отличающийся тем, что наружные промывочные каналы между лопастями выполнены равномерно расширяющимися по площади сечения за счет наклона режущей набегающей грани под углом =(18°÷23°) по часовой стрелке к образующей цилиндрической части калибратора, а сбегающая грань выполнена по образующей цилиндрической части; при этом обеспечивается соотношение площадей пространства между дном канала и габаритной линией калибратора на выходе из канала S4 (мм2) и на входе в канал S3 (мм2) в следующих пределах: S4/S3=(1,37÷1,52).

4. Калибратор по п.1, отличающийся тем, что криволинейная поверхность промывочных каналов выполнена плавной без переходов и выступов с шероховатостью Ra=(1,0÷4,0) мкм.

РИСУНКИ

Categories: BD_2377000-2377999