|
|
(21), (22) Заявка: 2008139722/03, 06.10.2008
(24) Дата начала отсчета срока действия патента:
06.10.2008
(46) Опубликовано: 27.12.2009
(56) Список документов, цитированных в отчете о поиске:
RU 2283936 С2, 06.09.2004. SU 37659 А, 31.07.1934. SU 310024 А, 26.07.1971. SU 569692 А, 25.08.1977. RU 2224077 С2, 20.02.2004.
Адрес для переписки:
660074, г.Красноярск, ул. Киренского, 26, СФУ, отдел промышленной собственности
|
(72) Автор(ы):
Спирин Тимур Сергеевич (RU)
(73) Патентообладатель(и):
Федеральное государственное образовательное учреждение высшего профессионального образования Сибирский федеральный университет (СФУ) (RU)
|
(54) ЗАБОЙНЫЙ ДВИГАТЕЛЬ
(57) Реферат:
Изобретение относится к нефтегазодобывающей промышленности, в частности к конструкциям забойных двигателей, обеспечивающих привод породоразрушающего инструмента при бурении. Забойный двигатель содержит корпус с камерой для нагнетания рабочей жидкости, установленный в полости корпуса на подшипниках ротор, внутри ротора выполнена полость, разделенная перегородкой на верхнюю и нижнюю полости, нижняя полость ротора сообщена с полостью корпуса при помощи радиальных отверстий, выполненных в стенке в нижней части ротора, а верхняя полость сообщена при помощи радиальных отверстий, выполненных в стенке в верхней части ротора, с соплами, установленными на наружной поверхности ротора. Предлагаемый забойный двигатель не обладает реактивным моментом и не требует фиксирования корпуса при работе. 2 ил.
Изобретение относится к технике сооружения скважин и может быть использовано в нефтегазовой промышленности в качестве забойного двигателя для привода породоразрушающего инструмента.
Известен винтовой забойный двигатель [Абубакиров В.Ф. и др. «Буровое оборудование»: Справочник: в 2-х т.Т.2. «Буровой инструмент». – М. ОАО «Издательство «Недра», 2003 г. сс.109-110], содержащий статор двигателя с полостями, примыкающими по концам к камерам высокого и низкого давления, ротор-винт, через который крутящий момент передается исполнительному механизму.
Известен забойный двигатель [патент РФ 2283936, кл. Е21В 4/02, опуб. 20.09.2006 бюл. 26], содержащий корпус с камерой для нагнетания рабочего агента, установленный в полости корпуса на подшипниках ротор.
Недостатками известных забойных двигателей является то, что ротор при вращении взаимодействует через рабочую жидкость со статором (корпусом), что приводит к появлению реактивного момента на корпусе и, как следствие, возникает необходимость фиксации статора (корпуса) при работе двигателя.
Задачей изобретения является создание забойного двигателя, в котором корпус будет разгружен от действия реактивного момента.
Поставленная задача достигается тем, что в забойном двигателе, содержащем корпус с камерой для нагнетания рабочей жидкости, установленный в полости корпуса на подшипниках ротор, согласно изобретению внутри ротора выполнена полость, разделенная перегородкой на верхнюю и нижнюю полости, нижняя полость ротора сообщена с полостью корпуса при помощи радиальных отверстий, выполненных в стенке в нижней части ротора, а верхняя полость сообщена при помощи радиальных отверстий, выполненных в стенке в верхней части ротора, с соплами, установленными на наружной поверхности ротора и направленными в противоположные стороны друг от друга, причем центральные оси сопел перпендикулярны центральным осям радиальных отверстий и оси вращения ротора.
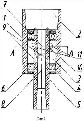
На фиг.1 изображен забойный двигатель – продольный разрез; на фиг.2 – разрез А-А на фиг.1.
Забойный двигатель содержит корпус 1 с камерой 2 для нагнетания рабочей жидкости, во внутренней полости 3 корпуса 1 установлен на подшипниках 4 ротор 5. Внутри ротора 5 выполнена полость, разделенная перегородкой 6 на верхнюю полость 7 и нижнюю полость 8. Нижняя полость 8 ротора 5 сообщена с внутренней полостью 3 корпуса 1 при помощи радиальных отверстий 9, выполненных в стенке в нижней части ротора 5, а верхняя полость 7 сообщена при помощи радиальных отверстий 10, выполненных в стенке в верхней части ротора 5, с соплами 11 (см. фиг.2), установленными на наружной поверхности ротора 5. Сопла 11 направлены в противоположные стороны друг от друга, причем центральные оси сопел 11 перпендикулярны центральным осям радиальных отверстий 10 и оси вращения ротора 5.
Забойный двигатель работает следующим образом.
Рабочая жидкость из камеры 2 попадает в верхнюю полость 7 ротора 5, перегородка 6 не дает рабочей жидкости пройти в нижнюю полость 8, и она идет по радиальным отверстиям 10 в сопла 11, где происходит ускорение движения рабочей жидкости. Струя рабочей жидкости выходит с большой скоростью из сопел 11 во внутреннюю полость 3 корпуса 1, при этом образуется реактивная сила, которая создает крутящий момент на роторе 5. Затем рабочая жидкость из внутренней полости 3 через радиальные отверстия 9 направляется в нижнюю полость 8 ротора 5 и затем идет на породоразрушающий инструмент (не показан).
Таким образом, ротор для своего вращения использует только реактивную силу выходящей струи рабочей жидкости, корпус не учавствует в силовом взаимодействии. Поэтому предлагаемый забойный двигатель не обладает реактивным моментом и не требует фиксирования корпуса при работе.
Формула изобретения
Забойный двигатель, содержащий корпус с камерой для нагнетания рабочей жидкости, установленный в полости корпуса на подшипниках ротор, отличающийся тем, что внутри ротора выполнена полость, разделенная перегородкой на верхнюю и нижнюю полости, нижняя полость ротора сообщена с полостью корпуса при помощи радиальных отверстий, выполненных в стенке в нижней части ротора, а верхняя полость сообщена при помощи радиальных отверстий, выполненных в стенке в верхней части ротора, с соплами, установленными на наружной поверхности ротора и направленными в противоположные стороны друг от друга, причем центральные оси сопел перпендикулярны центральным осям радиальных отверстий и оси вращения ротора.
РИСУНКИ
|
|