|
|
(21), (22) Заявка: 2007137749/12, 05.10.2007
(24) Дата начала отсчета срока действия патента:
05.10.2007
(43) Дата публикации заявки: 20.04.2009
(46) Опубликовано: 27.12.2009
(56) Список документов, цитированных в отчете о поиске:
КУДРЯВИН Л.А., ШАЛОВ И.И. Основы технологии трикотажного производства. – М.: Легпромбытиздат, 1991, с.336, 2 абзац, с.337, 1 абзац, с.330, абзацы 4 и 5. US 4467624 A1, 28.08.1984. SU 483471 A1, 17.12.1975. GB 1363832 A, 21.08.1974. EP 0684331 A, 29.11.1995.
Адрес для переписки:
410000, г.Саратов, Главпочтамт, а/я 62, А.А. Васютину
|
(72) Автор(ы):
Васютин Алексей Александрович (RU)
(73) Патентообладатель(и):
Васютин Алексей Александрович (RU)
|
(54) СПОСОБ ВЯЗАНИЯ ТРИКОТАЖНОГО МАХРОВОГО ПОЛОТНА НА ДВУХФОНТУРНОЙ ПЛОСКОВЯЗАЛЬНОЙ МАШИНЕ
(57) Реферат:
Изобретение относится к трикотажному производству и касается технологии вязания трикотажного полотна. Способ вязания трикотажного махрового полотна на двухфонтурной плосковязальной машине заключается в обеспечении возможности одновременной подачи первой нити 5, формирующей махровые петли полотна, к иглам двух фонтур 1 и второй (дополнительной) нити 6, формирующей основу махрового полотна, к иглам 2 только одной фонтуры 1. Вторая нить 6 подается при помощи дополнительного нитеводителя 4, расположенного позади игл 2 одной из фонтур 1. Данный способ позволяет вязать махровые полотна без изменения схемы движения игл одной фонтуры по отношению к другой фонтуре, а также без использования сложных схем компьютерного программирования. 3 ил.
Изобретение относится к трикотажному производству и касается техники и технологии вязания трикотажного полотна различными способами переплетений, в том числе и махрового полотна, то есть полотна, на поверхности которого с одной стороны поверх основы имеются многочисленные петли.
Известен способ прокладывания нитей на двухфонтурной плосковязальной машине посредством нитеводителя, имеющего два круглых отверстия для грунтовой и платировочной нитей, расположенных на одной оси, совпадающей с линией движения нитеводителя и находящейся в плоскости, проходящей через центр зева игольниц (описание изобретения к авторскому свидетельству 878827, МПК D04B 15/56).
Однако данный способ не обеспечивает возможности изготовления махрового трикотажного полотна посредством одновременного формирования петель основы полотна одной фонтурой и махровых петель обеими фонтурами.
Наиболее близким к заявляемому является способ подачи нити в процессе вязания на плосковязальном станке, который заключается в подаче нити к иглам с помощью нитеводителя, расположенного посередине между двумя фонтурами плосковязального станка. Таким образом, подаваемая нить доступна для вязания всеми иглами станка. Фонтуры плосковязального станка представляют собой металлические пластины с расположенными в них иглами и установленные напротив друг друга под определенным углом (Техническое описание к плосковязальной машине МВП-80М, производства Опытно-механического завода «Терас», г.Таллин).
Однако в данном способе повторяются недостатки, характерные для предыдущего аналога.
Задачей изобретения является разработка способа изготовления махрового трикотажного полотна на двухфонтурной плосковязальной машине.
Технический результат заключается в обеспечении возможности одновременной подачи первой нити, формирующей махровые петли полотна, к иглам двух фонтур и второй (дополнительной) нити, формирующей основу махрового полотна, к иглам только одной фонтуры.
Поставленная задача решается тем, что в способе вязания трикотажного полотна на двухфонтурной плосковязальной машине, заключающемся в подаче первой нити через нитеводитель с возможностью последующего формирования из нее петель иглами обеих фонтур, согласно техническому решению одновременно с первой нитью при помощи дополнительного нитеводителя подают вторую нить, обеспечивающую формирование петель иглами одной из фонтур, при этом дополнительный нитеводитель со второй нитью располагают позади игл другой фонтуры.
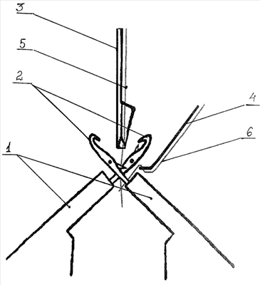
Изобретение поясняется чертежом, на котором представлена схема подачи нити на двухфонтурной плосковязальной машине. Позициями на чертеже обозначены: 1 – фонтуры плосковязальной машины, 2 – иглы, 3 – нитеводитель, 4 – дополнительный нитеводитель, 5 – первая нить, 6 – вторая нить. Также изобретение поясняется фотографиями, где на Фото 1 представлена плосковязальная машина, вид сбоку, на Фото 2 – плосковязальная машина, вид спереди.
Сущность изобретения заключается в одновременном применении, наряду со стандартной схемой подачи нити 5, измененной схемы подачи нити к вяжущим иглам таким образом, чтобы процесс вязания мог происходить как одновременно на двух фонтурах 1, так и только на одной, что невозможно в случае со стандартной схемой. Новый способ подачи нити при вязании на плосковязальной машине заключается в подаче второй нити 6 позади игл одной из фонтур 1. Таким образом, в процессе работы на станок подаются сразу две нити 5 и 6, одна из которых 5 подается стандартным образом и вяжется иглами 2 на обоих фонтурах, и дополнительно подается вторая нить 6, которая вяжется в это же время, но только иглами 2 на одной из фонтур.
Данный способ подачи нити позволяет вязать махровое полотно без изменения схемы движения игл одной фонтуры по отношению к другой фонтуре, а также без использования сложных систем компьютерного программирования.
Заявляемый способ может быть реализован на двухфонтурной плосковязальной машине, представляющей собой механизм, обеспечивающий возвратно-поступательное движение вяжущей каретки вдоль двух фонтур 1 с иглами 2. В ходе данного движения происходит последовательный подъем и опускание игл 2 с одновременной подачей нити 6 посредством нитеводителя 3. В момент подъема иглы вверх подаваемая нить попадает в иглу, которая в свою очередь, опускаясь, сбрасывает предыдущую петлю и провязывает новую. Движение каретки является автоматическим и обеспечивается вращением электродвигателя и блоком электромагнитов, изменяющих направление движения каретки. Связанное на фонтурах полотно опускается вниз под действием перевешиваемых грузов либо системы автоматической оттяжки.
Возможность подачи второй нити 6 на плосковязальном станке осуществляется путем добавления в конструкцию плосковязального станка дополнительного нитеводителя 4 со стороны передней или задней фонтуры таким образом, чтобы нить, подаваемая через него в ходе движения вяжущей каретки, могла быть доступна только иглам одной из фонтур. Данный нитеводитель может быть выполнен в нескольких вариантах, которые объединены единым функциональным назначением. Основным условием работоспособности данного элемента является максимально близкое его расположение к иглам и фонтуре.
Формула изобретения
Способ вязания трикотажного полотна на двухфонтурной плосковязальной машине, заключающийся в подаче первой нити через нитеводитель с возможностью последующего формирования из нее петель иглами обеих фонтур, отличающийся тем, что одновременно с первой нитью при помощи дополнительного нитеводителя подают вторую нить, обеспечивающую формирование петель иглами одной из фонтур, при этом дополнительный нитеводитель со второй нитью располагают позади игл другой фонтуры.
РИСУНКИ
|
|