|
|
(21), (22) Заявка: 2008126894/02, 01.07.2008
(24) Дата начала отсчета срока действия патента:
01.07.2008
(46) Опубликовано: 27.12.2009
(56) Список документов, цитированных в отчете о поиске:
RU 2278172 C1, 20.06.2006. RU 2327750 C1, 27.06.2008. SU 245155 A, 18.08.1972. SU 852953 A, 07.08.1981. JP 61-106728 A, 24.05.1986. JP 63-149333 А, 22.06.1988.
Адрес для переписки:
654007, Кемеровская обл., г. Новокузнецк, ул. Кирова, 42, СибГИУ, патентный отдел, Н.В.Галаниной
|
(72) Автор(ы):
Павловец Виктор Михайлович (RU)
(73) Патентообладатель(и):
Государственное образовательное учреждение высшего профессионального образования СИБИРСКИЙ ГОСУДАРСТВЕННЫЙ ИНДУСТРИАЛЬНЫЙ УНИВЕРСИТЕТ (RU)
|
(54) СПОСОБ ПОЛУЧЕНИЯ ОКАТЫШЕЙ
(57) Реферат:
Изобретение относится к области черной металлургии, а именно к производству железорудных окатышей. На днище окомкователя формируют гарнисаж, влажную шихту подают в окомкователь двумя потоками, первый из них вводят в поток нагретого до 350°С сжатого газа с образованием газовлагошихтовой струи. На днище окомкователя формируют зону, занятую шихтой, и зону, свободную от шихты. Осуществляют зародышеобразование напылением шихты газовлагошихтовой струей, ориентированной на гарнисаж в зоне, свободной от шихты, с получением плотного слоя влажной шихты, который делят на зародыши в виде влажных шихтовых брикетов. Гарнисаж очищают от зародышей, доокомковывают зародыши шихтой второго потока до окатышей. В первый поток шихты дополнительно подают флюсующие добавки до степени офлюсования, равной 0,8-1,5, образуя флюсошихтовую смесь, и которой формируют плотный слой влажной шихты, влажность которого поддерживают на уровне 0,25-0,95 от влажности шихты. Причем плотность брикетов формируют не менее 2400 кг/м3. Перед доокомкованием брикетов их поверхность увлажняют тонкораспыленным потоком воды с расходом 5-25 кг на тонну брикетов. Изобретение позволит снизить расход топлива и влажность окатышей и повысить их прочность. 1 табл., 1 ил.
Изобретение относиться к области черной металлургии, а именно к производству железорудных окатышей и агломерата.
Известен способ получения окатышей, включающий формирование гарнисажа на днище окомкователя, подачу влажной шихты в окомкователь, очистку гарнисажа, зародышеобразование, доокомкование зародышей до окатышей, формирование на днище окомкователя зоны, занятой окатышами, и зоны, свободной от окатышей, термообработку (см. Ручкин И.Е. Производство железорудных окатышей. М.: Металлургия, 1976, с.82-92). Недостатком способа является избыточная влажность окатышей и большие тепловые и энергетические затраты при термообработке.
Наиболее близким по технической сущности и достигаемому результату является способ получения окатышей, включающий формирование гарнисажа на днище окомкователя, подачу влажной шихты в окомнователь двумя потоками, введение первого из них в поток нагретого до 350°С сжатого газа с образованием газовлагошихтовой струи, формирование на днище окомкователя зоны, занятой шихтой, и зоны, свободной от шихты, зародышеобразование, осуществляемое напылением шихты газовлагошихтовой струей, ориентированной на гарнисаж, в зоне, свободной от шихты, с получением плотного слоя влажной шихты, деление упомянутого плотного слоя влажной шихты на зародыши виде влажных шихтовых брикетов, очистку гарнисажа от зародышей, доокомкование зародышей шихтой второго потока до окатышей, термообработку (см. Патент РФ 2278172, МПК7 С22В 1/24, БИ 17, 2006).
Недостатками известного способа получения окатышей являются высокие тепловые затраты и расход топлива при термообработке. Они обусловлены тем, что зародышеобразование и рост массы окатыша на сырой стадии получения окатышей сопровождаются переувлажнением центральных слоев окатыша, что требует повышенного расхода топлива и тепловых затрат на сушку окатышей и снижает производительность способа получения окатышей. Вторая причина, влияющая на высокие затраты топлива, связана с большим термическим сопротивлением окатышей, что приводит к неравномерному температурному полю по сечению окатышей. В центре окатыша температура на 150-250°С ниже, чем на поверхности. В результате этого в центральных слоях окатышей интенсивность сушки, а затем и спекания существенно ниже. Низкая эффективность термообработки центральных слоев окатышей снижает их прочность.
Организация технологии получения окатышей с пониженным содержанием влаги в центре окатыша и формирование двухслойных по минеральному составу окатышей на одном окомкователе является резервом снижения расхода топлива и повышения прочности окатышей.
Задачей изобретения является снижение расхода топлива и повышение качества окатышей.
Для достижения указанного технического результата в способе получения окатышей, включающем формирование гарнисажа на днище окомкователя, подачу влажной шихты в окомкователь двумя потоками, введение первого из них в поток нагретого до 350°С сжатого газа с образованием газовлагошихтовой струи, формирование на днище окомкователя зоны, занятой шихтой, и зоны, свободной от шихты, зародышеобразование, осуществляемое напылением шихты газовлагошихтовой струей, ориентированной на гарнисаж, в зоне, свободной от шихты, с получением плотного слоя влажной шихты, деление упомянутого плотного слоя влажной шихты на зародыши в виде влажных шихтовых брикетов, очистку гарнисажа от зародышей, доокомкование зародышей шихтой второго потока до окатышей, термообработку, при этом в первый поток шихты дополнительно подают флюсующие добавки до степени офлюсования, равной 0,8-1,5, образуя флюсошихтовую смесь, из которой формируют плотный слой влажной шихты, влажность которого поддерживают на уровне 0,25-0,95 от влажности шихты, причем плотность брикетов формируют не менее 2400 кг/м3, а перед доокомкованием брикетов их поверхность увлажняют тонкораспыленным потоком воды с расходом 5-25 кг на тонну брикетов.
Сущность изобретения заключается в следующем. Загрузку шихты в окомкователь осуществляют двумя потоками. В первый из них вводят флюсующие добавки до степени офлюсования, равной 0,8-1,5, и формируют флюсошихтовую смесь, которую вводят в поток нагретого до 350°С сжатого газа. Флюсошихтовая смесь напыляется на шихтовый гарнисаж в зоне окомкователя, свободной от шихты. На гарнисаже образуется плотный слой, который делится делителями на зародыши в виде влажных шихтовых брикетов, имеющих степень офлюсования 0,8-1,5. Брикеты, выполняющие функцию зародышей, поступают в зону окомкователя, занятую шихтой, где их поверхность увлажняется тонко распыленным потоком воды с расходом 5-25 кг на тонну брикетов. После этого на слой брикетов подают второй поток шихты с естественной основностью, равной 0,3-0,5, и происходит доокомкование брикетов шихтой до кондиционных окатышей. Кондиционные окатыши структурно состоят из брикета-зародыша, расположенного в центре, и шихтовой оболочки. Влажность центральных слоев окатышей составляет 0,25-0,95 от влажности шихтовой оболочки. Способ получения окатышей, двухслойных по минеральному составу и влажности, может быть реализован при определенных технологических параметрах. Влажность плотного флюсошихтового слоя должна быть в пределах 0,25-0,95 от влажности загружаемой шихты. Если влажность флюсошихтового слоя и брикетов будет меньше 0,25 от влажности загружаемой шихты, то рост массы оболочки на брикетах и всего окатыша прекращается. Чтобы обеспечить рост оболочки и всего окатыша необходимо повторное увлажнение плотного слоя и брикетов, что противоречит задаче изобретения. Если влажность плотного флюсошихтового слоя будет более 0,95 от влажности загружаемой шихты, то повторного увлажнения не требуется, но брикеты будут переувлажнены настолько, что задача изобретения не достигается.
Для того чтобы начался рост оболочки окатыша на зародышах поверхность брикета непосредственно перед доокомкованием должна быть увлажнена на глубину 1-2 мм потоком воды с расходом 5-25 кг на тонну брикетов. Этот расход воды позволяет обеспечить рост массы оболочки окатыша со скоростью, превышающей скорость капиллярной пропитки брикетов при увлажнении. Указанные условия по скорости роста массы оболочки окатыша и скорости капиллярной пропитки брикета-зародыша с соответствующим расходом воды способны обеспечить брикеты, у которых плотность составляет не менее 2400 кг/м3. Если плотность брикетов будет менее 2400 кг/м3, то скорость капиллярной пропитки будет выше скорости роста массы оболочки. На брикетах этой плотности, обладающих повышенной пористостью (более 40%), невозможно получить окатыши с пониженным содержанием влаги в его центре, так как необходимо повышать расход воды на увлажнение брикетов свыше 25 кг на тонну брикетов для роста оболочки. Это мероприятие также противоречит задаче изобретения.
Введение флюсующих добавок в первый поток шихты необходимо для получения брикетов-зародышей с более высокой (0,8-1,5) степенью офлюсования по сравнению со степенью офлюсования второго потока шихты, равной 0,3-0,5 (например, естественной основностью). Выполнение этого условия позволяет получать двухслойные по минеральному составу окатыши. Сердцевина окатыша, где температура при обжиге ниже, формируется из шихты с более высокой степенью (0,8-1,5) офлюсования. Оболочка окатыша, где температура при обжиге выше на 150-250°С, готовится из шихты с меньшей (естественной) степенью офлюсования.
Получение двухслойных по минеральному составу окатышей в технике известно (Юсфин Ю.С, Базилевич Т.Н. Обжиг железорудных окатышей. М.: Металлургия, 1973. с.164-165). Сущность известного способа получения окатышей заключается в получении переувлажненных зародышей (микроокатышей) из шихты с высокой степенью офлюсования на первом окомкователе и последующее доокомкование этих зародышей шихтой с более низкой (естественной) степенью офлюсования на втором окомкователе. Для получения двухслойных окатышей в известном решении требуется два окомкователя, а центральные слои окатышей содержат на 20-30% воды больше, чем оболочка окатышей.
Отличие предлагаемого решения от известного заключается в следующем. В предлагаемом решении двухслойные окатыши получаются на одном окомкователе, причем зародышами являются брикеты с пониженным содержанием влаги, которые формируются принудительным зародышеобразованием способом напыления влажной шихты и флюса в холостой зоне окомкователя, не занятой шихтовыми материалами.
Отличительные признаки способа получения окатышей, предложенные в заявленной последовательности, формируют новые положительные свойства: получение двухслойных по минеральному составу и влажности комбинированных окатышей на одном окомкователе; формирование заданных параметров брикетов-зародышей, оболочки окатышей и оптимального режима увлажнения, обеспечивающих доминирование скорости роста массы оболочки окатыша над скоростью капиллярной пропитки брикета-зародыша. Заявленные параметры и новые свойства позволяют получать окатыши с пониженным на 1,0-3,0% (абс.) содержанием влаги, количество которой существенно (на 30%) ниже в сердцевине окатыша, чем в оболочке (70%). Это позволяет снизить расход топлива и тепловые затраты при термообработке (сушке и обжиге), повысить производительность способа и прочность окатышей. Предложенный способ получения окатышей удовлетворяет критериям новизны, промышленной применимости и соответствует изобретательскому уровню.
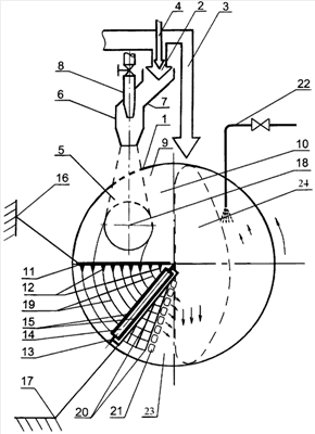
Способ получения окатышей реализуется с помощью устройства, показанного на чертеже. Устройство содержит тарельчатый окомкователь 1, в который подается влажная шихта потоком 2 и потоком 3. В поток 2 вводят флюсующие добавки 4, которые образуют влажную флюсошихтовую смесь. Для формирования газовлагошихтовой струи 5 служит струйный аппарат 6. Струйный аппарат содержит корпус 7 и тракт подачи нагретого до 350°С сжатого газа 8. Окомкователь содержит днище 9, шихтовый гарнисаж 10, продольный делитель 11, состоящий из пластинчатых ножей 12, поперечный делитель 13, выполненный в виде вращающегося барабана 14, на поверхности которого установлены поперечные ребра 15. Продольный делитель 11 жестко закреплен на каркасе 16. Поперечный делитель 13 закреплен жестко на каркасе 17. В процессе работы окомкователя образуется плотный флюсошихтовый слой 18 напыленной смеси, на котором наносятся продольные разрезы 19 и поперечные разрезы 20, формируются влажные шихтовые брикеты 21. Для увлажнения брикетов перед доокомкованием предусмотрена форсунка 22. На днище окомкователя формируется зона 23, свободная от материалов, и зона 24, занятая комкуемыми материалами.
Способ получения окатышей осуществляется следующим образом. В тарельчатый окомкователь 1 подается влажная шихта потоком 2 и потоком 3. В поток 2 вводят флюсующие добавки 4, которые образуют влажную смесь шихты и флюсующих добавок. Смесь влажной шихты 2 и флюсов 4 образует газовлагошихтовую струю 5, которая формируется струйным аппаратом 6. Смесь шихты 2 и флюсующих добавок 4 подается в корпус 7 струйного аппарата, где ускоряется сжатым газом (воздухом), истекающим из газового тракта 8. Сжатый газ нагревается до температуры 350°С в рекуперативном теплообменнике (не показан). На днище 9 окомкователя перед работой формируется шихтовый гарнисаж 10. В зоне 23, свободной от комкуемых материалов, между струйным аппаратом 6 и днищем 9 установлен продольный делитель 11, состоящий из пластинчатых ножей 12. Пластинчатые ножи 12 установлены режущей кромкой непосредственно на поверхности гарнисажа 10. Продольный делитель 11 снабжен жестким каркасом 16. Непосредственно за продольным делителем 11 по ходу движения гарнисажа 10 установлен поперечный делитель 13, выполненный в форме вращающегося барабана 14. Барабан 14 установлен на каркасе 17 с возможностью вращения. Каркас при необходимости позволяет барабану перемещаться в вертикальной плоскости относительно днища. На поверхности вращающегося барабана 14 установлены поперечные ребра 15. Газовлагошихтовая струя 5 напыляет смесь влажной шихты и флюса на поверхность движущегося гарнисажа 10 и образует плотный флюсошихтовый слой 18 напыленной смеси. Плотный слой 18 перемещается вместе с гарнисажем 10 и набегает на пластинчатые ножи 12, которые наносят на слое 18 продольные разрезы 19. После этого гарнисаж 10 и напыленный слой 18 с разрезами 19 набегает на поперечные ребра 15 барабана 14, которые наносят на слое 18 поперечные разрезы 20. После этого образуются влажные шихтовые брикеты 21 в форме сферокубов, которые срезаются ребрами 15 с гарнисажа 10 и очищают его поверхность от остатков плотного слоя напыленной шихты. Влажные шихтовые брикеты 21, являющиеся зародышами для процесса окомкования, под действием собственного веса ссыпаются вниз тарели и поступают в зону 24, занятую материалом, где они увлажняются тонкораспыленным потоком воды через форсунку 22. После этого на слой брикетов подают влажную шихту потока 3, и они комкуются до размеров кондиционных сырых окатышей.
Пример. Отработку способа получения окатышей проводили на установке, выполненной согласно технической схеме, представленной на чертеже. В рабочее пространство окомкователя диаметром 0,62 м загружали 10 кг влажной шихты, содержащей концентрат Тейского месторождения и 1% бентонита. Шихту загружали двумя потоками. В первый поток шихты подавали флюсующие добавки (известняк фракции 0-0,1 мм) расходом, обеспечивающим степень офлюсования шихты первого потока на уровне 0,8-1,5. Первый поток шихты и флюсов подавали в струйный аппарат и напыляли сжатым воздухом на гарнисаж. Сжатый воздух нагревали в электропечи СУОЛ. Пластинчатые делители и поперечные ребра барабана выполнены из нержавеющей стали толщиной 0,5 мм. Зазоры между пластинчатыми делителями и высота поперечных ребер барабана равнялись 8 мм. Длина барабана составляла 250 мм, а его диаметр 60 мм. Сжатый воздух подавали от передвижной компрессорной установки КУ-22. Воду, подаваемую на увлажнение брикетов, распыляли сжатым воздухом. В экспериментах влажность плотного слоя шихты и плотность брикетов формировали изменением температуры нагрева и давления воздуха, используемого для напыления флюсошихтовой смеси на гарнисаж. В конце процесса доокомкования определяли выход кондиционных окатышей диаметром 10-15 мм, их влажность и прочность определяли после обжига. Расход топлива и тепловые затраты рассчитывали. Результаты экспериментов для окатышей, полученных из брикетов плотностью 2400 кг/м3, и расчеты представлены в таблице 1.
| Таблица 1 |
| Параметры способа получения окатышей |
п.п. |
Степень офлюсования первого потока шихты |
Влажность плотного слоя шихты, в долях от влажности шихты |
Расход воды на увлажнение брикетов, кг/т |
Влажность окатышей в долях от влажности шихты |
Расход топлива, % |
Прочность окатышей, % |
| 1 |
0,8 |
0,25 |
5 |
0,65 |
94,5 |
101,8 |
| 2 |
0,8 |
0,25 |
25 |
0,68 |
94,8 |
103,8 |
| 3 |
0,8 |
0,95 |
5 |
0,96 |
99,3 |
101,5 |
| 4 |
0,8 |
0,95 |
25 |
0,97 |
99,4 |
103,6 |
| 5 |
1,5 |
0,25 |
5 |
0,68 |
94,8 |
101,4 |
| 6 |
1,5 |
0,25 |
25 |
0,70 |
95,5 |
103,1 |
| 7 |
1,5 |
0,95 |
5 |
0,96 |
99,3 |
101,2 |
| 8 |
1,5 |
0,95 |
25 |
0,97 |
99,4 |
102,4 |
| Данные прототипа |
 |
0,3 |
– |
– |
0,98 |
100 |
100,0 |
Как видно из приведенных данных, способ получения окатышей, основанный на последовательном формировании брикетов-зародышей, влажностью, равной 0,25-0,95 от влажности шихты, плотностью выше 2400 кг/м3 и степенью офлюсования, равной 0,8-1,5, и оболочки окатышей на одном окомкователе, позволяет снизить влажность окатышей на 1,1-34,5% (отн.), уменьшить расход топлива на 0,6-5,5% (отн.) и повысить прочность окатышей на 1,2-3,8% (отн.).
Формула изобретения
Способ получения окатышей, включающий формирование гарнисажа на днище окомкователя, подачу влажной шихты в окомкователь двумя потоками, введение первого из них в поток нагретого до 350°С сжатого газа с образованием газовлагошихтовой струи, формирование на днище окомкователя зоны, занятой шихтой, и зоны, свободной от шихты, зародышеобразование, осуществляемое напылением шихты газовлагошихтовой струей, ориентированной на гарнисаж в зоне, свободной от шихты, с получением плотного слоя влажной шихты, деление упомянутого плотного слоя влажной шихты на зародыши в виде влажных шихтовых брикетов, очистку гарнисажа от зародышей, доокомкование зародышей шихтой второго потока до окатышей, термообработку, отличающийся тем, что в первый поток шихты дополнительно подают флюсующие добавки до степени офлюсования, равной 0,8-1,5, образуя флюсошихтовую смесь, из которой формируют плотный слой влажной шихты, влажность которого поддерживают на уровне 0,25-0,95 влажности шихты, причем плотность брикетов формируют не менее 2400 кг/м3, а перед доокомкованием брикетов их поверхность увлажняют тонкораспыленным потоком воды с расходом 5-25 кг на тонну брикетов.
РИСУНКИ
|
|