|
|
(21), (22) Заявка: 2008151991/13, 29.12.2008
(24) Дата начала отсчета срока действия патента:
29.12.2008
(46) Опубликовано: 27.12.2009
(56) Список документов, цитированных в отчете о поиске:
SU 131698, 11.01.1960. ГРЕБЕНЮК С.М. Технологическое оборудование сахарных заводов. – М.: Пищевая промышленность, 1969, с.110-115. SU 76083, 31.08.1949.
Адрес для переписки:
140051, Московская обл., Люберецкий р-н, Красково, ул.Некрасова, 11, ГНУ ВНИИ крахмалопродуктов
|
(72) Автор(ы):
Гулюк Николай Григорьевич (RU), Гулюк Евгения Николаевна (RU)
(73) Патентообладатель(и):
ГНУ “ВНИИ крахмалопродуктов” Россельхозакадемии (RU)
|
(54) ДИФФУЗИОННЫЙ АППАРАТ НЕПРЕРЫВНОГО ДЕЙСТВИЯ
(57) Реферат:
Изобретение относится к пищевой промышленности и может быть использовано при производстве сахара из свеклы, инулина из цикория и топинамбура и других растворимых веществ из растительного сырья. Диффузионный аппарат непрерывного действия включает две соединенные в нижней части при помощи трубы вертикальные колонны, одна из которых снабжена устройством для загрузки стружки и устройством отвода диффузионного сока, а другая – устройством выгрузки жома и устройством подачи растворителя, противоточного движению стружки. В трубе, соединяющей колонны, установлен шнек с перфорированными витками. В нижней части колонны, снабженной устройством выгрузки жома, размещен дренажный диск с возможностью периодического движения по вертикали для перемещения стружки к указанному устройству, причем эта колонна снабжена перфорированной задвижкой, периодически вводимой в нее при расположении дренажного диска в его верхнем положении для предотвращения движения стружки в обратном направлении. Изобретение обеспечивает более простую конструкцию предложенного аппарата в сравнении с известным и снижения энергозатрат в процессе эксплуатации. 1 ил.
Изобретение относится к пищевой промышленности и может быть использовано при производстве сахара из свеклы, инулина из цикория и топинамбура и других растворимых веществ из растительного сырья.
Известен диффузионный аппарат непрерывного действия, включающий две соединенные в нижней части при помощи трубы вертикальные колонны, одна из которых снабжена устройством для загрузки стружки и устройством отвода диффузионного сока, а другая – устройством выгрузки жома и устройством подачи растворителя, противоточного движению стружки.
Движение сокостружечной смеси осуществляется в пульсирующем режиме за счет подключения верхней части выгрузочной колонны к вакуумной линии или соединения с атмосферой. Устройство выгрузки жома выполнено в виде горизонтального отжимного шнекового винта. Для предотвращения движения стружки в колоннах в обратном направлении в них установлены шарнирные решетки (SU 131689, 11.01.1960 г.).
Недостатком аппарата является сложность конструкции в результате установки шарнирных решеток. Такие решетки создают повышенное сопротивление движению сокостружечной смеси, что снижает скорость ее продвижения в колоннах и требует повышенных затрат энергии на создание вакуума.
Технический результат изобретения заключается в упрощении конструкции аппарата и снижении энергозатрат при эксплуатации. Этот результат достигается тем, что в предложенном диффузионном аппарате, включающем две соединенные в нижней части при помощи трубы вертикальные колонны одна из которых снабжена устройством, для загрузки стружки и устройством отвода диффузионного сока, а другая – устройством выгруза жома и устройством подачи растворителя, противоточного движению стружки, в трубе, соединяющей колонны, установлен шнек с перфорированными витками.
В нижней части колонны, снабженной устройством выгрузки жома, размещен дренажный диск с возможностью периодического движения по вертикали для перемещения стружки к указанному устройству. Эта колонна снабжена перфорированной задвижкой, периодически вводимой в нее при расположении дренажного диска в его верхнем положении для предотвращения движения стружки в обратном направлении.
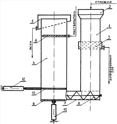
Изобретение поясняется чертежом, на котором схематично изображен диффузионный аппарат в продольном разрезе.
Аппарат состоит из двух вертикальных колонн. Колонна 1 снабжена устройством 2 для загрузки стружки и устройством 3 для отвода диффузионного сока 3. Колонна 4 снабжена устройством 5 для выгрузки жома и устройством 6 подачи растворителя. Колонны в нижней части соединены горизонтальной трубой 7. В этой трубе установлен шнек 8 с перфорированными витками. Нижняя часть колонны 4 снабжена дренажным диском 9, приводимым в движение по вертикали при помощи гидроцилиндра 10. Над дренажным диском 9 расположена перфорированная задвижка 11, которая может вводиться в колонну и выводиться из нее при помощи гидроцилиндра 12.
Аппарат работает следующим образом. Стружка сырья, подвергающаяся экстракции, загружается в устройство 2 для загрузки стружки, расположенное в верхней части вертикальной колонны 1. Стружка под действием силы тяжести движется вниз к шнеку 8. При этом дренажный диск 9 находится в крайнем нижнем положении, а перфорированная задвижка 11 расположена в колонне 4. Шнеком 8 стружка подается в заполненное экстрагентом пространство между дренажным диском 9 и перфорированной заслонкой 11. После заполнения этого пространства стружкой шнек 8 останавливается. Под действием гидроцилиндра 12 перфорированная задвижка 11 выводится из колонны 4. Дренажный диск 9 под действием гидроцилиндра 10 поднимается вверх, перемещая находящуюся над ним стружку вверх по колонне 4 к устройству 5 для выгрузки жома. Растворитель подается через расположенное в верхней части колонны 4 устройство 6. Диффузионный сок проходит через слой стружки в колонне 4, дренажный диск 9, перфорированные витки шнека 8 и выводится из аппарата через устройство 3. После достижения дренажным диском 9 верхнего положения в колонну 4 вводится перфорированная задвижка 11, а дренажный диск 9 движется вниз. После достижения диском 9 нижнего положения операции периодически повторяются. Шнеком 9 стружка подается в свободное пространство между дренажным диском 9 и перфорированной задвижкой 11. Таким образом, движение стружки вниз от устройства для загрузки стружки в колонне 1 и вверх к устройству для выгрузки жома в колонне 4, а растворителя от устройства подачи растворителя 6 вниз в колонне 4 через горизонтальную трубу 7 и вверх к устройству для отвода диффузионного сока 3 в колонне 1 обеспечивает процесс непрерывной экстракции растворимого компонента из стружки сырья.
Предложенный аппарат имеет более простую конструкцию по сравнению с известным и позволяет уменьшить энергозатраты в процессе эксплуатации.
Формула изобретения
Диффузионный аппарат непрерывного действия, включающий две соединенные в нижней части при помощи трубы вертикальные колонны, одна из которых снабжена устройством для загрузки стружки и устройством отвода диффузионного сока, а другая – устройством выгрузки жома и устройством подачи растворителя противоточно движению стружки, отличающийся тем, что в трубе, соединяющей колонны, установлен шнек с перфорированными витками, при этом в нижней части колонны, снабженной устройством выгрузки жома, размещен дренажный диск с возможностью периодического движения по вертикали для перемещения стружки к указанному устройству, причем эта колонна снабжена перфорированной задвижкой, периодически вводимой в нее при расположении дренажного диска в его верхнем положении для предотвращения движения стружки в обратном направлении.
РИСУНКИ
|
|