|
|
(21), (22) Заявка: 2008117673/13, 04.05.2008
(24) Дата начала отсчета срока действия патента:
04.05.2008
(46) Опубликовано: 27.12.2009
(56) Список документов, цитированных в отчете о поиске:
SU 500792 A1, 30.01.1976. SU 1287835 A1, 07.02.1987. SU 1692531 A1, 23.11.1991.
Адрес для переписки:
367015, Республика Дагестан, г.Махачкала, пр. имама Шамиля, 70, ДГТУ, отдел интеллектуальной собственности
|
(72) Автор(ы):
Ахмедов Магомед Эминович (RU), Исмаилов Тагир Абдурашидович (RU)
(73) Патентообладатель(и):
ГОСУДАРСТВЕННОЕ ОБРАЗОВАТЕЛЬНОЕ УЧРЕЖДЕНИЕ ВЫСШЕГО ПРОФЕССИОНАЛЬНОГО ОБРАЗОВАНИЯ “ДАГЕСТАНСКИЙ ГОСУДАРСТВЕННЫЙ ТЕХНИЧЕСКИЙ УНИВЕРСИТЕТ” (ДГТУ) (RU)
|
(54) УСТРОЙСТВО ДЛЯ ПОДОГРЕВА ПЛОДОВ И ОВОЩЕЙ В ТАРЕ
(57) Реферат:
Изобретение относится к консервной промышленности. Устройство для подогрева плодов и овощей в банках состоит из подводящего (2) и отводящего (3) транспортеров, приемного столика (5) для тары, над которым расположен объемный дозатор (7), и механизма для слива воды. Механизм для слива воды снабжен коническим захватом (16) с перфорированным основанием и выполнен с возможностью поворота на 180°. Изобретение позволяет повысить производительность и улучшить качество готовой продукции. 2 ил.
Изобретение относится к консервной промышленности, а именно к устройствам для предварительного подогрева плодов и овощей перед заливкой жидкой фазой для повышения начальной среднеобъемной температуры плодов и овощей перед стерилизацией.
Из источников, по которым был проведен поиск по данному устройству, выявлено, что аналоги и прототипы отсутствуют.
Целью предлагаемого устройства является исключение вышеуказанных недостатков и на основе этого повышение производительности, а также улучшение качества готовой продукции.
Поставленная цель достигается за счет того, что по предлагаемому изобретению нагрев плодов и овощей в банках осуществляется посредством заливки в банки горячей воды температурой 60-85°С на 2-5 мин при помощи устройства, состоящего из подводящего и отводящего транспортеров, приемного столика для тары, над которым расположен объемный дозатор, и механизма для слива воды, при этом объемный дозатор выполнен секционным, а механизм для слива воды снабжен коническим захватом с перфорированным основанием и возможностью поворота на 180°.
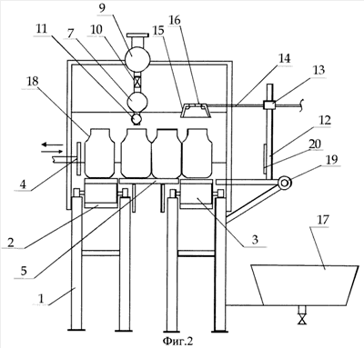
Схема устройства представлена на фиг.1 (вид спереди) и фиг.2 (вид сбоку).
Устройство состоит из каркаса 1, подводящего 2 и отводящего 3 транспортеров, толкателя 4, приемного столика 5 для банок с направляющими 6, объемного секционного дозатора 7 с секциями 8, приемника для горячей воды 9, к которому присоединены патрубки 10 с вентилями, патрубков 11 для подачи воды в банки с пробковыми краниками и механизма для слива воды, состоящего из стоек 12, на которых закреплены втулки 13, через которые пропущены планки 14, к которым прикреплены конические захваты с диаметром основания, равным наружному диаметру горловины банки, и при этом основание конического захвата выполнено перфорированным, для обеспечения слива воды из банок при повороте сливного механизма на 180°. Устройство также снабжено сборником 17 для приема сливаемой воды из банок.
Устройство работает следующим образом. Банки 18 с расфасованными плодами транспортером 2 с определенным шагом подаются к приемному столику банок 5, после чего подводящий транспортер останавливается. После остановки транспортера 2 посредством толкателя 4 банки с плодами (овощами) подталкиваются с транспортера на приемный столик 5, над которым расположен секционный дозатор горячей воды, который после поступления банок на приемный столик обеспечивает подачу горячей воды через патрубки с пробковыми краниками 11 из объемных секционных дозаторов 8. К этому времени на подводящем транспортере накапливается очередная партия банок, которые толкателем 4 подталкиваются на приемный столик. При этом банки, перемещаемые с транспортера, подталкивают уже заполненные водой банки из-под дозатора и на их место становятся следующая партия банок. Находясь на приемном столике, банки с плодами (овощами), залитые горячей водой, нагреваются, а в это время очередная партия банок, находящихся под дозатором, наполняется горячей водой, а на подводящем транспортере накапливается очередная партия банок. При подаче очередной партии банок на приемный столик, последний ряд банок, находящихся на приемном столике, выталкивается на отводящий транспортер банок 3. При этом, после поступления на отводящий транспортер банок, срабатывает механизм для слива воды из банок. Механизм для слива работает следующим образом. Планки 14 с коническим захватом, перемещаясь относительно втулок 13, устанавливаются над банками, далее втулки 13 опускаются относительно стоек 12 до упора горловины банок об резиновое кольцо, установленное в основание конического захвата 15, для предотвращения механического боя банок. После фиксации горловины банок в конических захватах, планки, перемещаясь относительно втулки 13 назад, подталкивают банки до касания их боковой стенкой об упор 20 для банок, прикрепленный к стойкам 12, банки фиксируются в этом положении, после чего механизм для слива воды из банок поворачивается вокруг шарнира 19 на 180°, и при этом через отверстия в основании 16 конического захвата вода из банок стекает и собирается в сборнике 17. После этого механизм для слива воды из банок поворачивается обратно вокруг шарнира 19 и банки устанавливаются на отводящий транспортер и выводятся из устройства. Далее процесс повторяется в непрерывном режиме.
Пример выполнения
Стеклянная банка емкостью 1 л (СКО 1-82-1000), наполненная плодами черешни, подается транспортером на приемный столик для банок. Из объемного секционного дозатора банки заполняются водой нагретой, до 60°С. Далее, наполненные водой банки, постепенно двигаясь, подталкиваемые последующими банками, в течение 2-3 мин перемещаются по приемному столику к отводящему транспортеру, где они захватываются механизмом для слива воды, который сливает из банок воду и устанавливает их на отводящий транспортер, который выводит банки из устройства. При этом плоды и банка, проходя в устройстве, прогреваются горячей водой, заливаемой в банки на 2-3 мин, до 40-45°С. Это обеспечивает возможность заливать банки сиропом температурой на 15-20°С выше, чем предусмотрено технологической инструкцией, и тем самым увеличить начальную среднеобъемную температуру в компоте перед стерилизацией, что обеспечивает сокращение продолжительности режима стерилизации, экономию тепловой энергии и повышения качества готовой продукции.
Существенными отличительными признаками предлагаемого устройства является то, что с целью экономии тепловой энергии, обеспечения требуемой концентрации заливочной жидкости и улучшения качества банки с плодами подвергаются подогреву в течение 3-5 мин посредством заливки их горячей водой температурой 60-85°С, подаваемой в банки из объемного секционного дозирующего устройства с последующим сливом механизмом с коническим захватом, основание которого выполнено с перфорацией.
Данное устройство обеспечивает поточность, экономию тепловой энергии, увеличивает производительность, обеспечивает повышение начальной среднеобъемной температуры продукта и тем самым сокращение продолжительности тепловой стерилизации консервов и повышение качества готовой продукции.
Формула изобретения
Устройство для подогрева плодов и овощей в банках, характеризующееся тем, что состоит из подводящего и отводящего транспортеров, приемного столика для тары, над которым расположен объемный дозатор, и механизма для слива воды, при этом объемный дозатор выполнен секционным, а механизм для слива воды снабжен коническим захватом с перфорированным основанием и возможностью поворота на 180°.
РИСУНКИ
|
|