|
|
(21), (22) Заявка: 2008122611/12, 04.06.2008
(24) Дата начала отсчета срока действия патента:
04.06.2008
(46) Опубликовано: 27.12.2009
(56) Список документов, цитированных в отчете о поиске:
RU 2238627 С2, 27.10.2004. SU 1186110 А, 23.10.1985. SU 1477281 А1, 07.05.1989. SU 733535 А, 19.05.1980. СА 1153253 А, 06.09.1983.
Адрес для переписки:
410012, г.Саратов, Театральная пл., 1, Саратовский государственный аграрный университет имени Н.И. Вавилова, патентный отдел
|
(72) Автор(ы):
Цыплаков Владимир Владимирович (RU), Цыбаев Дмитрий Валерьевич (RU), Есков Дмитрий Владимирович (RU), Лузин Андрей Сергеевич (RU)
(73) Патентообладатель(и):
Федеральное государственное образовательное учреждение высшего профессионального образования “Саратовский государственный аграрный университет имени Н.И. Вавилова” (RU)
|
(54) РАБОЧИЙ ОРГАН ДЛЯ ПОВЕРХНОСТНОГО РАЗБРОСНОГО ПОСЕВА СЕМЯН С УВЛАЖНЕНИЕМ
(57) Реферат:
Рабочий орган содержит полую стойку-семяпровод и установленный под ней распределитель семян. Распределитель семян выполнен в виде тела вращения с криволинейной образующей, описываемой уравнением полинома второй степени. Внутри полой стойки-семяпровода установлен вертикально цилиндрический стержень, соединенный с верхней частью распределителя семян. Цилиндрический стержень и соединенный с ним распределитель семян имеют общую внутреннюю полость для подачи жидкости, повторяющую их форму. Распределитель семян снабжен цилиндрической нижней частью, в боковых стенках которой равномерно по окружности расположены отверстия. Использование рабочего органа позволит сократить время прорастания высеваемого материала, повысить его всхожесть и устойчивость к вредителям и болезням. 2 ил.
Изобретение относится к области лесохозяйственного машиностроения, а именно к машинам и орудиям для поверхностного разбросного посева мелких семян хвойных пород.
По авторскому свидетельству 1186110 (аналог) известен сошник для широкополосного посева, включающий культиваторную лапу, полую стойку-семяпровод и установленный под ней распределитель семян, выполненный в виде тела вращения с криволинейной образующей, описываемой уравнением полинома пятой степени
Недостатком этого изобретения является нестабильное направление полета семян в стойке-семяпроводе, а кроме того, форма образующей отражающей криволинейной поверхности распределителя не обеспечивает равномерное распределение мелкого высеваемого материала по засеваемой площади.
По патенту на изобретение 2238627 (прототип) известен орган для поверхностного разбросного посева семян, содержащий полую стойку-семяпровод с вертикальным цилиндрическим стержнем-распределителем из упругого материала. Нижний торец стержня сопряжен с криволинейной образующей отражающей поверхности, описываемой уравнением полинома второй степени, и имеет коническую поверхность.
Основным недостатком этого изобретения является то, что посев производится не смоченными семенами, что приводит к низкой всхожести и увеличению времени прорастания.
Технической задачей данного изобретения является повышение всхожести высеваемого материала, устойчивости к вредителям и болезням, сокращение времени прорастания.
Выполнение технической задачи достигается тем, что в рабочем органе, содержащем полую стойку-семяпровод и установленный под ней распределитель семян, выполненный в виде тела вращения с криволинейной образующей, описываемой уравнением полинома второй степени, установленный вертикально внутри полой стойки-семяпровода цилиндрический стержень, соединенный с верхней частью распределителя семян, в котором согласно изобретению цилиндрический стержень и соединенный с ним распределитель семян имеют общую внутреннюю полость, повторяющую их форму, и, кроме того, нижняя часть распределителя семян выполнена в виде цилиндра, в боковых стенках которого равномерно по окружности расположены отверстия.
Предлагаемое изобретение отличается от прототипа тем, что цилиндрический стержень и соединенный с ним распределитель семян имеют общую внутреннюю полость, повторяющую их форму, и, кроме того, нижняя часть распределителя семян выполнена в виде цилиндра, в боковых стенках которого равномерно по окружности расположены отверстия.
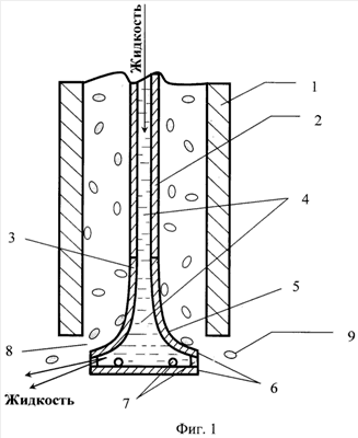
На фигуре 1 изображена схема рабочего органа для поверхностного разбросного посева семян с увлажнением – вид сбоку. На фигуре 2 изображена схема рабочего органа для поверхностного разбросного посева семян с увлажнением – вид сверху.
Рабочий орган для поверхностного разбросного посева семян с увлажнением состоит из полой стойки-семяпровода 1, в которой вертикально установлен цилиндрический стержень 2, соединенный с верхней частью распределителя семян 3, имеющие общую внутреннюю полость 4. Цилиндрический стержень 2 и распределитель семян 3 выполнены из упругого материала. С внешней стороны распределитель семян 3 выполнен в виде тела вращения с криволинейной образующей 5, описываемой уравнением полинома второй степени. Нижняя часть распределителя семян 3 выполнена в виде цилиндра 6, в боковых стенках которого равномерно по окружности распределены отверстия 7 для истечения жидкости. Полая стойка семяпровод 1 и распределитель семян 3 установлены между собой так, что между криволинейной образующей 5 и нижней частью полой стойки семяпровода 1 имеется зазор 8 для выхода семян 9 из рабочего органа.
Работа рабочего органа для поверхностного разбросного посева семян с увлажнением осуществляется следующим образом. Рабочий орган устанавливают в нижнюю часть семяпровода сеялки. При движении сеялки из ее бункера частицы высеваемого материала (семена) 9 через высевающий аппарат подаются в стойку-семяпровод 1, в котором вертикально установлен цилиндрический стержень 2 с закрепленном на его нижнем конце распределителем семян 3. Одновременно с подачей семян 9 в стойку-семяпровод 1 через верхний торец цилиндрического стержня 2 во внутреннюю полость 4 подают жидкость (водные растворы с ингибиторами роста, препаратами для борьбы с вредителями и болезнями и т.п.), которая затем поступает в нижнюю цилиндрическую часть 6 распределителя семян 3 и выводится из нее через равномерно распределенные по окружности отверстия 7. По стойке-семяпроводу 1 семена 9 попадают на криволинейную образующую поверхность 5 распределителя семян 3. Далее скользят по криволинейной образующей поверхности 5, семена 9 выводятся из рабочего органа через зазор 8 между нижней частью стойки-семяпровода 1 и криволинейной образующей поверхности 5. При выходе семян 9 из рабочего органа через зазор 8 происходит их смачивание и, кроме того, происходит смачивание почвы под рабочим органом.
В результате использования данного изобретения за счет влажной обработки семян повышается их всхожесть, устойчивость к вредителям и болезням.
Формула изобретения
Рабочий орган для поверхностного разбросного посева семян с увлажнением, содержащий полую стойку-семяпровод и установленный под ней распределитель семян, выполненный в виде тела вращения с криволинейной образующей, описываемой уравнением полинома второй степени, установленный вертикально внутри полой стойки-семяпровода цилиндрический стержень, соединенный с верхней частью распределителя семян, отличающийся тем, что цилиндрический стержень и соединенный с ним распределитель семян имеют общую внутреннюю полость для подачи жидкости, повторяющую их форму, и, кроме того, распределитель семян снабжен цилиндрической нижней частью, в боковых стенках которой равномерно по окружности расположены отверстия.
РИСУНКИ
|
|