|
|
(21), (22) Заявка: 2008126185/12, 30.06.2008
(24) Дата начала отсчета срока действия патента:
30.06.2008
(46) Опубликовано: 27.12.2009
(56) Список документов, цитированных в отчете о поиске:
RU 2177680 С1, 10.01.2002. RU 2177681 С1, 10.01.2002. SU 1142907 A1, 07.07.1989. SU 1026665 A, 07.07.1983. SU 1736354 A1, 30.05.1992. US 1909752 A, 16.05.1933. US 2688910 A, 14.09.1954.
Адрес для переписки:
127550, Москва, ул. Прянишникова, 19, Московский государственный университет природообустройства, патентный отдел
|
(72) Автор(ы):
Макаров Александр Алексеевич (RU), Палкин Николай Александрович (RU)
(73) Патентообладатель(и):
Федеральное государственное образовательное учреждение высшего профессионального образования “Московский государственный университет природообустройства” (RU)
|
(54) ОРУДИЕ ДЛЯ ГЛУБОКОЙ ОБРАБОТКИ ПОЧВЫ
(57) Реферат:
Орудие содержит двухстоечный каркас, наклонные криволинейные режущие стойки которого в нижней части соединены между собой лемехом. Лемех выполнен составной конструкции, состоящей из наклоненного по ходу движения ножа и полуовального конусного клина. Клин ориентирован выпуклой частью во внутреннее пространство орудия и наклонен в продольной плоскости по ходу движения таким образом, что его вершина лежит на оси ножа и сдвинута назад по ходу движения относительно его режущей кромки. Боковые поверхности клина, сопрягающиеся с основаниями наклонных криволинейных стоек, имеют общие линии соприкосновения по всей ширине этих стоек, лежат на режущей поверхности ножа и сходятся к вершине клина. Выпуклая по форме часть полуовального конусного клина наклонена под углом 10-12° относительно режущей поверхности ножа. Полуовальный конусный клин и нож, на который этот клин установлен, образуют конструкцию лемеха. Наклонные стойки по своей длине имеют выпуклое поперечное сечение. Радиусы кривизны выпуклых рабочих поверхностей стоек изменяются в зависимости от глубины расположения рассматриваемых сечений. Такое конструктивное выполнение позволит обеспечить равномерность разуплотнения и повысить качество обработки почвы по всему профилю пласта, а также снизить энергоемкость процесса рыхления почвы. 1 з.п. ф-лы, 5 ил.
Изобретение относится к сельскохозяйственной технике, в частности к почвообрабатывающим орудиям для глубокой обработки тяжелых по механическому составу или вторичноуплотненных почв без оборота пласта.
Известны рабочие органы для глубокой обработки почвы, включающие одну или несколько вертикальных стоек, на нижней части которых закреплены рыхлящие лемехи (SU 376040, кл. А01В 13/14, 1971 – аналог). Известный рабочий орган имеет недостаток: обеспечивает малую ширину захвата, а увеличение ширины посредством добавления стоек значительно повышает энергоемкость рабочего процесса и массу орудия.
Известны также орудия для глубокой обработки почвы, содержащие двухстоечный каркас, наклонные прямолинейные режущие стойки которого в нижней части соединены между собой лемехом. Лемех выполнен составным, состоящим из наклоненного по ходу движения плоского ножа и четырехгранного клина, ориентированного выпуклого частью во внутреннее пространство орудия (RU 2177680, кл. А01В 13/08, 16.01.2002 прототип). Недостаток этого орудия в том что, несмотря на возможное повышение действия на разрыхляемый пласт вертикальных сил, данное орудие не обеспечивает достаточной полноты рыхления почвы и оставляет после прохода на дне разуплотняемого почвенного профиля значительные гребни необработанной почвы.
Цель изобретения – обеспечение равномерности разуплотнения и повышение качества обработки почвы по всему профилю пласта, снижение энергоемкости процесса рыхления почвы.
Поставленная цель достигается тем, что лемех составной конструкции орудия для глубокой обработки почвы, состоящей из наклоненного по ходу движения ножа, и полуовального конусного клина, ориентированного выпуклой частью во внутреннее пространство орудия, полуовальный конусный клин наклонен в продольной плоскости по ходу движения таким образом, что его вершина лежит на оси ножа и сдвинута назад по ходу движения относительно его режущей кромки. Боковые поверхности клина, сопрягающиеся с основаниями наклонных криволинейных стоек, имеют общие линии соприкосновения по всей ширине этих стоек, лежат на режущей поверхности ножа и сходятся к вершине клина, причем выпуклая по форме часть полуовального конусного клина наклонена под углом 10-12° относительно режущей поверхности ножа. Полуовальный конусный клин и нож, на который этот клин установлен, образуют конструкцию лемеха. Наклонные стойки по своей длине имеют выпуклое поперечное сечение, причем радиусы кривизны выпуклых рабочих поверхностей стоек изменяются в зависимости от глубины расположения рассматриваемых сечений. Режущая кромка ножа лемеха имеет на передней части боковых ребер дополнительные открылки с режущими кромками по всему рабочему периметру открылков. Выпуклые рабочие поверхности боковых стоек по своей длине имеют радиусы кривизны, увеличивающиеся от минимального радиуса, равного 0,5-0,6 м на линии соприкосновения с лемехом, до максимального на границе перехода стоек в вертикальный каркас.
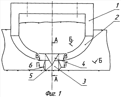
Орудие для глубокой обработки почвы поясняется чертежами, где
фиг.1 – орудие для глубокой обработки почвы, общий вид;
фиг.2 – орудие для глубокой обработки почвы, общий вид, сечение по А-А на фиг.1;
фиг.3 – орудие для глубокой обработки почвы, общий вид, сечение по Б-Б на фиг.1;
фиг.4 – орудие для глубокой обработки почвы, общий вид, сечение по В-В; на фиг.1;
фиг.5 – орудие для глубокой обработки почвы, общий вид, сечение по Г-Г на фиг.1.
Орудие для глубокой обработки почвы имеет двухстоечный каркас 1, наклонные криволинейные режущие стойки 2 которого в нижней части соединены между собой лемехом. Лемех выполнен в виде составной конструкции, состоящей из наклоненного по ходу движения плоского ножа 3 и полуовального конусного клина 4, ориентированного выпуклой частью во внутреннее пространство орудия. Полуовальный конусный клин 4 наклонен в продольной плоскости по ходу движения таким образом, что его вершина 5 лежит на оси ножа 3 и сдвинута назад по ходу движения относительно его режущей кромки, а симметрично расположенные боковые поверхности полуовального конусного клина, сопрягающиеся с основаниями наклонных криволинейных стоек 2, имеют общие линии соприкосновения по всей ширине этих стоек. Боковые грани полуовального конусного клина 4 лежат на плоской поверхности ножа 3 и сходятся к вершине 5 полуовального конусного клина 4. Выпуклая по форме часть 6 полуовального конусного клина 4 наклонена под углом 8-10° относительно режущей поверхности ножа 3. Полуовальный конусный клин 4 и нож 3, на который этот клин установлен, образуют конструкцию лемеха.
Наклонные стойки по своей длине имеют выпуклое поперечное сечение, причем радиусы кривизны выпуклых рабочих поверхностей изменяются в зависимости от глубины расположения сечений.
Угол резания по всей длине боковых стоек имеет постоянное значение и не превышает 35-36°.
Устройство для глубокой обработки почвы работает следующим образом: при работе орудия лемех и криволинейные наклонные стойки отделяют пласт почвы от массива, поднимают его в сторону открытой поверхности и выполняют крошение почвы в пласте за счет перемещения с различными вертикальными скоростями почвенных масс внутри разуплотняемого пласта.
Технический и технологический результат обеспечивается тем, что полуовальная форма клина способствует увеличению составляющих подъемной силы, направленных по радиусам в сторону открытой поверхности, в результате чего обеспечивается дополнительный подъем почвы, проработка боковых частей почвенного пространства между стойками и крошение почвы, что повышает качество работ и снижает энергоемкость процесса. Выпуклые рабочие поверхности боковых стоек способствуют созданию радиально направленных сил, которые дополняют подъемные силы лемеха и заставляют более интенсивно взаимодействовать между собой перемещающиеся пласты грунта, что также улучшает качество крошения и однородность комковатой структуры по разуплотняемому профилю.
Формула изобретения
1. Орудие для глубокой обработки почвы, содержащее двухстоечный каркас, наклонные криволинейные режущие стойки которого в нижней части соединены между собой лемехом, отличающееся тем, что лемех выполнен в виде составной конструкции, состоящей из наклоненного по ходу движения ножа и полуовального конусного клина, ориентированного выпуклой частью во внутреннее пространство орудия, полуовальный конусный клин наклонен в продольной плоскости по ходу движения таким образом, что его вершина лежит на оси ножа и сдвинута назад по ходу движения относительно его режущей кромки, а боковые поверхности полуовального конусного клина, сопрягающиеся с основаниями наклонных криволинейных стоек, имеют общие линии соприкосновения по всей ширине этих стоек, лежат на режущей поверхности ножа и сходятся к вершине клина; причем выпуклая по форме часть полуовального конусного клина наклонена под углом 10-12° относительно режущей поверхности ножа, полуовальный конусный клин и нож, на который этот клин установлен, образуют конструкцию лемеха, наклонные стойки по своей длине имеют выпуклое поперечное сечение, причем радиусы кривизны выпуклых рабочих поверхностей стоек изменяются в зависимости от глубины расположения рассматриваемых сечений.
2. Орудие по п.1, отличающееся тем, что выпуклые рабочие поверхности боковых стоек по своей длине имеют радиусы кривизны, увеличивающиеся от минимального радиуса, равного 0,5-0,6 м на линии соприкосновения с лемехом, до максимального на границе перехода стоек в вертикальный каркас.
РИСУНКИ
|
|