|
|
(21), (22) Заявка: 2008133587/09, 15.06.2006
(24) Дата начала отсчета срока действия патента:
15.06.2006
(30) Конвенционный приоритет:
18.01.2006 US 60/759,563
(46) Опубликовано: 20.12.2009
(56) Список документов, цитированных в отчете о поиске:
EP 0736949 A1, 09.10.1996. RU 2089986 C1, 10.09.1997. RU 2002111927 A, 27.11.2003. US 3952210 A, 20.04.1976.
(85) Дата перевода заявки PCT на национальную фазу:
18.08.2008
(86) Заявка PCT:
SE 2006/000712 20060615
(87) Публикация PCT:
WO 2007/084035 20070726
Адрес для переписки:
129090, Москва, ул.Б.Спасская, 25, стр.3, ООО “Юридическая фирма Городисский и Партнеры”, пат.пов. А.В.Мицу, рег. 364
|
(72) Автор(ы):
РАДБРАНТ Ульф (SE), ЮХЛИН Ларс-Эрик (SE)
(73) Патентообладатель(и):
АББ ТЕКНОЛОДЖИ ЛТД. (CH)
|
(54) ПРЕОБРАЗОВАТЕЛЬНАЯ ПОДСТАНЦИЯ
(57) Реферат:
Использование: в области электротехники. Технический результат заключается в повышении надежности электропередачи. Преобразовательная подстанция для подключения системы АС к биполярной линии передачи HVDC имеет установку нейтрали DC, выполненную с первыми выключателями (131, 132) DC, предоставляющими возможность размыкать первую токовую цепь, располагающуюся между нейтральной шиной (112) первого проводника (105) и нейтральной шиной (111) другого проводника (104) при биполярном режиме работы подстанции для изменения на однополярный режим работы, для изоляции неисправной секции системы, при этом устанавливается токовая цепь с соединяющими элементами (142, 143) электродной линии для направления электрического тока от упомянутого одного проводника (105) к другому. Разделенные соединительные элементы (142, 143) выполнены для каждой из электродных линий (191, 192), и средство выполнено для подключения каждой нейтральной шины к выбранному из двух соединительных элементов электродной линии. 8 з.п. ф-лы, 4 ил.
Область техники, к которой относится изобретение
Настоящее изобретение относится к преобразовательным подстанциям для подключения системы АС (переменного тока) к биполярной линии передачи HVDC (высокого напряжения на постоянном токе), при этом подстанция, содержащая два преобразователя, каждый из которых имеет сторону DC (постоянного тока), подключенную с одной стороны соответственно к двум проводникам упомянутой линии передачи на высокий потенциал, а с другой – к нулевой шине, для чего проводник установки нейтрали DC, общий для преобразователей, заземлен на нулевой потенциал, и сторону AC, подключенную к упомянутой системе AC; упомянутая установка нейтрали DC имеет элемент соединения с двумя электродными линиями и установку, выполненную с первыми выключателями, обеспечивающими размыкание первой токовой цепи, расположенной между нейтральной шиной одного проводника и нейтральной шиной другого проводника, при биполярном режиме работы подстанции, для изменения на однополярный режим работы, подстанция также содержит управляющее устройство, предназначенное для управления упомянутым изменением с биполярного на однополярный режим работы, за счет управления упомянутым первым выключателем DC, для размыкания упомянутой токовой цепи между упомянутыми двумя нейтральными шинами и установления токовой цепи к упомянутому соединительному элементу электродной линии, для направления электрического тока от упомянутого проводника к другому. Такое изменение к однополярному режиму работы позволит изолировать неисправную секцию системы и переключиться к оборотному проводу.
Уровень техники
Изобретение не ограничивается отдельными уровнями напряжений между заземлением и каждым из упомянутых проводников линии передачи HVDC (высокого напряжения на постоянном токе), но оно особенно применимо к таким напряжениям, как превышающие 500 кВ, которое подразумевает, что упомянутая линия передачи передает значительную энергию, и система передачи, к которой принадлежит преобразовательная подстанция, требует высокого уровня надежности. Изобретение не является ограничением какой-либо совокупности уровней электрического тока, проходящего через упомянутые проводники линии передачи, но упомянутые линии предпочтительно номинально рассчитаны на электрический ток выше 1 кА.
Обобщенная конструкция системы передачи HVDC этого типа схематично показана на фиг.1. Она показывает как преобразовательная подстанция установлена на каждом конце линии (3) передачи HVDC, имеющей два проводника 4, 5, один из которых имеет положительную и один отрицательную полярность. Система 6, 6′ AC подключена к преобразовательной подстанции через трансформаторы 7, 7′ для получения подходящего уровня напряжения упомянутой системы DC. Система AC может быть генерирующей системой, в форме некоторого типа электростанции с генераторами электроэнергии, или системой потребления, или сетью для подключения потребителей электрической энергии, таких как предприятия или жилые районы. Каждая преобразовательная подстанция имеет два преобразователя 8, 9, каждый из которых имеет сторону DC, подключенную с одной стороны к упомянутым проводникам 4, 5 соответственно, а с другой – к общей для преобразователей установки 10 нейтрали DC, подключенной к низкому напряжению и замкнутой на землю, для ограничения определенного напряжения на каждом проводнике. Каждый преобразователь 8, 9 может быть заменен комплектом преобразователей, состоящим из двух или трех подключенных последовательно, для получения высокого напряжения, которое может составлять порядка 800 кВ. Преобразователи включают в себя количество токовых вентилей в любой известной конфигурации, например 12-импульсной мостовой конфигурации. Преобразователи могут быть линейно коммутированы преобразователями источника тока, в которых переключающие элементы, такие как тиристоры, выключаются при пересечении нулевого уровня AC, упомянутой системы AC. Преобразователи также могут быть принудительно коммутированы преобразователями источника напряжения, в которых упомянутые переключающие элементы являются выключающими устройствами, управляемые согласно широко-импульсной модуляции (ШИМ).
Преимуществом системы передачи HVDC относительно системы передачи AC является значительное снижение результирующих потерь в линии передачи между двумя преобразовательными подстанциями на каждом конце этих линий, при этом преобразовательные подстанции главным образом более дорогостоящие в системе передачи электроэнергии HVDC, чем в системе передачи AC. Однако системы передачи HVDC главным образом использовались для передачи большой мощности, чаще порядка нескольких ГВт, на большие расстояния, такие как сотни километров. Это означает, что последствия для подключенных систем AC могут быть очень серьезными, если оба проводника линии передачи оборвутся, то есть будут разъединенными в результате нежелательного одновременного замыкания на землю. Если упомянутая система АС принадлежит к главной системе, питающей электроэнергией большой город, такое биполярное отключение может привести к большому снижению электрической мощности, подаваемой к упомянутой главной системе, что создаст неустойчивость в этой системе, и затем может привести к неисправности других ее частей. Последствия для подключающей системы АС в случае обрыва одного проводника не являются в два раза меньшими по серьезности, как если бы были оборваны оба проводника. Настоящее изобретение рассматривается по критерию надежности относительно описанных во вводной части преобразовательных подстанций, упомянутая установка нейтрали DC которых функционально схожа, и обычная установка нейтрали DC известной преобразовательной подстанции показана на фиг.2. Эта установка 10 имеет нейтральную шину 11, подключенную к стороне низкого напряжения одного преобразователя 8, и нейтральную шину 12, подключенную к стороне низкого напряжения другого преобразователя 9. Нейтральные шины подключены друг к другу через последовательное соединение двух первых выключателей 13, 14 DC и разъединителей 15, 16, связанных с каждым выключателем 13, 14 DC. Средняя точка 17 этого последовательного соединения между первым выключателем DC и разъединителем, относящимися к одной и другой нейтральным шинам, соединена с линией цепи 18, включающей в себя разъединители, соединенные с элементом 19, подключенным к двум электродным линиям 20, 21, идущим от преобразовательной подстанции к электродной станции 22, работа которой будет описана ниже. Установка 10 нейтрали DC также включает заземляющий переключатель 23, подключенный через линии, включающие в себя разъединители, к точкам 24, 24′ между первым выключателем DC и разъединителем, относящимся к каждой нейтральной шине 11, 12.
Функция преобразовательной подстанции, имеющей эту известную установку нейтрали DC, показанную на фиг.2, следующая. В период работы в биполярном режиме преобразовательная подстанция функционирует как выпрямитель, электрический ток с проводника 5, имеющего отрицательную полярность, идет к преобразователю 9 и затем через нейтральную шину 12 к нейтральной шине 11, при этом первые выключатели 13, 14 и разъединители 15, 16 замкнуты. Электрический ток далее идет через преобразователь 8 на другой проводник 4 линии передачи HVDC с положительной полярностью в соответствии со стрелками 25. Разъединители на линии 18, ведущей к соединительному элементу электродной линии 19, замкнуты, тем самым устанавливая нулевой потенциал нейтрала.
Предположим, что в проводнике 4 стороны DC произошло нежелательное замыкание на землю, фиг.3 иллюстрирует, как будут действовать преобразовательная подстанция и, в частности, установки нейтрали DC. Токовые вентили преобразователя 8 будут затем блокироваться обходными парами, а это значит, что последовательно соединенные токовые вентили включаются и, таким образом, сторона AC является обойденной для защиты упомянутой системы 6 AC и подключенного к ней оборудования. Эти обходные пары сформируют соединение с низким сопротивлением между проводником 4 DC и установкой нейтрали DC. Точками показано, как электрический ток будет проходить к нежелательному замыканию 26 на землю. При этом важно быстро изолировать это нежелательное замыкание 26 на землю для сохранения работоспособности другого проводника 5. Разъединители линии 18 замкнуты для образования токовой цепи на соединяющий элемент 19 электродной линии и далее через электродные линии 20, 21 к электродной станции 22. Электрический ток DC проводника 5 будет, таким образом, распределен между двумя токовыми цепями: через электродные линии на заземление и через другой проводник 4 на нежелательное замыкание на землю. Около половины электрического тока будет идти на каждую из двух токовых цепей. Чтобы изолировать нежелательное замыкание на землю, первый выключатель 13 DC размыкается, таким образом, весь электрический ток пойдет через электродные линии на электродную станцию. Когда выключатель 13 DC разомкнут, разъединители 15 и 15′ на нейтральной шине, так же как разъединитель 27 на проводнике 4, размыкаются, чтобы обеспечить изоляцию неисправного проводника 4.
Если выключатель 13 DC выходит из строя и не уменьшает электрического тока до нуля, то есть не коммутирует электрический ток к электродным линиям, он будет повторно замкнут. Переключатель 23 заземления затем замыкается как резерв для выключателя 13 DC, когда формируется соединение с низким сопротивлением между нейтральной шиной 12 и заземлением. Почти весь электрический ток «здорового» проводника 5 будет затем идти в сеть станции заземления, а значение электрического тока на другом проводнике 4 будет, таким образом, уменьшаться почти до нуля, так что разъединители 15, 27 и 15′ могут затем быть разомкнуты, чтобы выполнить изоляцию. Когда проводник 4 изолирован, переключатель 23 заземления размыкается, и весь электрический ток коммутируется на электродные линии. Преобразовательная подстанция и система передачи HVDC затем работает в однополярном режиме, так что половина мощности при биполярном режиме может еще доставляться. Так скоро, как возможно, обычно в пределах около минуты, подключение нейтральной шины 12 к проводнику 4 осуществляется замыканием разъединителей и переключателей, направляющих электрический ток, в соответствии со стрелками 28 на оборотный провод вместо замыкания на землю через электродную станцию, если существует необходимость сохранить однополярный режим работы системы без питания на землю электродной станции.
Работа различных компонентов установки нейтрали DC будет такой же, если нежелательное замыкание на землю случится на другом проводнике 5, в этом случае выключатель 14 и разъединитель 16 будут разомкнуты для отклонения электрического тока на электродную станцию и так далее.
Установка нейтрали DC такой известной преобразовательной подстанции обеспечивает достаточную надежность, но в то же время имеет некоторые недостатки. Невозможно разделить две электродные линии, это означает, что в случае замыкания на землю одной из них произойдет выход из строя всего подключения к электродной станции, что приведет к биполярному отключению системы. Также невозможно проверить надлежащим образом каждую электродную линию, когда они не используются. Другой недостаток заключается в том, что переключатель заземления, описанный выше, является резервом для каждого первого выключателя 13, 14, и при его замыкании повышается потенциал заземляющей сети в результате высокого значения проходящего электрического тока. Нейтральная точка трансформаторов преобразовательной подстанции подключена к этой заземляющей сети, и рост ее потенциала побуждает течение DC через трансформаторы, и таким образом возникает риск отключения другого проводника. Другой недостаток – это невозможность осуществления обслуживания первых выключателей DC при биполярном режиме работы преобразовательной подстанции.
Сущность изобретения
Задачей настоящего изобретения является создание преобразовательной подстанции, относящейся к типу, описанному во вводной части, и которая исключает, по крайней мере, один из вышеупомянутых недостатков такой известной преобразовательной подстанции.
Это задача, в соответствии с изобретением, достигнута созданием такой преобразовательной подстанции, в которой установка нейтрали выполнена с отдельными упомянутыми соединительными элементами для каждой из электродных линий и средством для подключения каждой нейтральной шины к выбранным соединительным элементам двух электродных линий. Таким образом снижается риск биполярного отключения системы передачи HVDC, к которой, по существу, принадлежит преобразовательная подстанция, поскольку есть возможность отдельно проверять работоспособность каждой электродной линии и подключенного к ней оборудования в период биполярного режима работы преобразовательной подстанции, что позволяет гарантировать функционирование этих электродных линий должным образом сразу при их подключении. Кроме того, в случае нежелательного замыкания на землю одной из электродных линий, во время изменения на однополярный режим работы, рассматриваемая нейтральная шина будет подключена через упомянутое средство к другой электродной линии, и неисправная электродная линия будет изолирована для избежания создания опасных ситуаций в однополярном режиме работы.
В соответствии с вариантом осуществления изобретения упомянутое средство подключения содержит для каждой нейтральной шины на первой линии отдельной от упомянутой первой токовой цепи, включающей в себя первый выключатель DC и подключающей эту шину к одному из соединительных элементов электродной линии, связанному с этой шиной, по крайней мере, одним разъединителем и/или выключателем DC, и на второй линии, взаимосвязывающей упомянутые две первые линии, расположенной более близко к соответствующей шине, чем расположение упомянутых, по крайней мере, одного разъединителя и/или выключателя, по крайней мере, одного разъединителя и выключателя DC. Это означает, что каждая нейтральная шина может работать через упомянутые выключатель DC и/или разъединитель, подключенные к выбранному из соединяющих элементов электродной линии или к обоим из них, для отключения любой из электродных линий, при нежелательном замыкании на землю одной из них, и для изоляции нежелательного замыкания на землю или даже для проверки состояния или выполнения обслуживания при однополярном режиме работы.
В соответствии с другим вариантом осуществления изобретения упомянутая взаимосвязывающая второй линии выполнена с выключателем DC, подключенным последовательно с разъединителями, расположенными с каждой стороны относительно него.
В соответствии со следующим вариантом осуществления изобретения упомянутое средство подключения содержит для каждой первой линии, подключающей нейтральную шину к одному упомянутому подключающему элементу электродной линии, последовательное подключение выключателей DC и разъединителей, более близко расположенное к рассматриваемой нейтральной шине, чем точка подключения взаимосвязывающей второй линии к этой первой линии. Это означает, что следующая токовая цепь, имеющая, по крайней мере, два выключателя DC, подключенных последовательно, может быть установлена между упомянутыми двумя нейтральными шинами, рядом с первой токовой цепью, это означает, что во время биполярного режима работы преобразовательной подстанции может быть выполнено обслуживание упомянутого первого выключателя DC упомянутой первой токовой цепи, а также этой дополнительной токовой цепи. Кроме того, упомянутая вторая линия выполнена с выключателем DC, который также функционирует как резерв для двух выключателей DC упомянутых первых линий.
В соответствии с другим вариантом осуществления изобретения упомянутая установка нейтрали содержит дополнительный второй выключатель DC, подключенный последовательно с упомянутым первым выключателем DC в упомянутой первой токовой цепи между двумя упомянутыми нейтральными шинами при биполярном режиме работы подстанции. Это означает, что эти два выключателя DC, подключенные последовательно, функционируют как резерв друг для друга в случаях, когда необходимо разомкнуть токовую цепь для отклонения электрического тока на электродную станцию, что позволит избежать замыкания переключателя заземления, если один из выключателей не будет в состоянии уменьшить электрический ток до нулевого значения.
В соответствии с другим вариантом осуществления изобретения средняя точка между упомянутыми первым и вторым выключателем DC в упомянутой первой токовой цепи подключена через первый разъединитель к средней точке линии, взаимосвязывающей упомянутые два проводника линии передачи HVDC, при этом упомянутый первый разъединитель рассчитан быть разомкнутым при биполярном режиме работы подстанции, линия взаимосвязи упомянутых двух проводников выполнена с разъединителями с обеих сторон относительно упомянутой средней точки, и упомянутое управляющее устройство выполнено с возможностью управления замыканием упомянутого первого разъединителя и разъединителем, подключающим один из проводников для замыкания обратного провода с другим проводником, при однополярном режиме работы подстанции после отключения упомянутого одного проводника.
В соответствии с другим вариантом осуществления изобретения преобразовательная подстанция содержит переключатель заземления, подключенный к упомянутой первой токовой цепи между двумя нейтральными шинами в точке между упомянутым выключателем DC и упомянутым дополнительным выключателем DC. Это сделано для дополнительного резерва в случае, если первый так же, как и второй выключатель DC, окажется неисправным, что, тем не менее, маловероятно.
В соответствии с другим вариантом осуществления изобретения упомянутое управляющее устройство выполнено с возможностью управления упомянутыми выключателями DC и разъединителями в каждой упомянутой первой линии и упомянутой взаимосвязывающей второй линии для замыкания и установки второй токовой цепи между двумя нейтральными шинами через упомянутые первые линии и упомянутую взаимосвязывающую вторую линию, для предоставления возможности обслуживания оборудования, такого как выключатель, в упомянутой первой токовой цепи при биполярном режиме работы подстанции.
В соответствии с другим вариантом осуществления изобретения подстанция приспособлена для подключения системы AC к биполярной линии передачи HVDC, рассчитанной на напряжение между каждым проводником и заземлением, превышающее 200 кВ, преимущественно превышающее 500 кВ, предпочтительно 600 кВ – 1500 кВ и более предпочтительно 600 кВ – 1000 кВ. Преобразовательная подстанция согласно изобретению главным образом более интересна для более высокого напряжения и, таким образом, для более высокой мощности, передаваемой через упомянутую линию передачи HVDC, что также означает более высокие требования к надежности.
Другие преимущества так же, как и выгодные признаки изобретения, будут предоставлены из следующего описания.
Краткое описание чертежей
Ниже следует конкретное описание преобразовательной подстанции в соответствии с вариантом осуществления изобретения со ссылкой на прилагающиеся чертежи.
На чертежах:
Фиг.1 – упрощенный схематичный вид, иллюстрирующий общую конструкцию системы передачи HVDC.
Фиг.2 – принципиальная электрическая схема, иллюстрирующая конструкцию установки нейтрали DC, входящего в состав известной преобразовательной подстанции системы передачи HVDC.
Фиг.3 – вид установки нейтрали DC в соответствии с фиг.2, используемого для объяснения ее функционирования, когда замыкание на землю случается на проводнике.
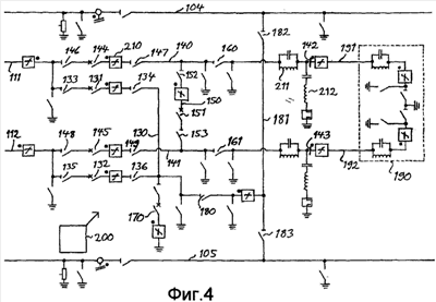
Фиг.4 – вид, подобный фиг.2 установки нейтрали DC в преобразовательной подстанции, соответствующий варианту осуществления настоящего изобретения.
Подробное описание варианта осуществления изобретения
Два проводника в данном случае обозначены через 104 и 105 и две нейтральные шины через 111 и 112. Проводники 104, 105 в данном случае имеют полярность +800 кВ и -800 кВ соответственно. Нейтральные шины 111, 112 подключены друг к другу через первую токовую цепь 130, в которой первый выключатель 131 DC и второй выключатель 132 DC подключены последовательно. Каждый из этих выключателей DC окружен двумя разъединителями 133-136.
Каждая нейтральная шина далее через первую линию 140, 141 подключена к одному из соединяющих элементов 142, 143 двух отдельных электродных линий. Каждая первая линия выполнена с выключателем 144, 145 DC, окруженным двумя разъединителями 146 – 149, более близко расположенными к рассматриваемой нейтральной шине, чем точка подключения второй линии 150, взаимосвязывающей упомянутые две первые линии. Эта вторая линия 150 имеет выключатель 151 DC, окруженный двумя разъединителями 152, 153. Кроме того, каждая первая линия имеет разъединитель 160, 161, более близко расположенный к соответствующему соединяющему элементу электродной линии, чем точка соединения второй линии 150 к упомянутой первой линии.
Переключатель 170 заземления подключен к упомянутой первой токовой цепи 130 между двумя выключателями 131, 132 DC, связанными с разъединителями, при этом первая токовая цепь 130 также подключена через разъединитель 180 к средней точке линии 181, взаимосвязывающей упомянутые два проводника 104, 105 линии передачи HVDC. Этот разъединитель 180 приспособлен быть разомкнутым при биполярном режиме работы подстанции. Взаимосвязывающая линия между двумя проводниками выполнена с двумя разъединителями 182, 183 по обе стороны от средней точки.
Также показано расположение амперметров, например 210, для наблюдения за функционированием различных частей установки нейтрали DC. Также на фигуре показаны улавливающий фильтр 211 и инжекционная схема 212 для измерения сопротивления электродной линии.
Назначение этой установки нейтрали следующее. Когда система передачи электроэнергии высокого напряжения на постоянном токе, включающая в себя электрическую преобразовательную подстанцию, работает в биполярном режиме, электрический ток проходит между двумя нейтральными шинами в первой токовой цепи 130, с замкнутыми выключателями 131, 132 DC и разъединителями 133-136, а также через вторую токовую цепь, при этом проходя через замкнутые выключатели 144, 145 DC и разъединители 146-149, а также замкнутые выключатель 151 DC и разъединители 152, 153 второй линии 150. Разъединители 160, 161 замыкаются для соединения электродной станции с упомянутыми нейтральными шинами для определения полярности. Обслуживание всего оборудования этой установки нейтрали сейчас является возможным без отключения биполярного режима работы. Выключатели DC в упомянутой первой токовой цепи 130 могут быть разомкнуты для проверки или обслуживания, при этом электрический ток проходит между двумя нейтральными шинами через вторую токовую цепь по второй линии 150. Надлежащее функционирование оборудования во второй токовой цепи может также быть проверено, при этом электрический ток через две нейтральные шины будет проходить по упомянутой первой электрической цепи 130. Также возможно проверять оборудование двух электродных линий и выполнять обслуживание оборудования первой электродной линии одновременно без какого-либо риска, что отключение одного проводника может привести к биполярному отключению преобразовательной подстанции. При осуществлении обслуживания, например, выключателя 131 DC при биполярном режиме работы преобразовательной подстанции два разъединителя 133 и 134 размыкаются после того, как разомкнется выключатель 131 DC. Такая же схема применяется для выключателя 132 DC.
Предположим, что нежелательное замыкание на землю, как описывалось выше со ссылкой на фиг.3, произошло на проводнике 104. Выключатель 144 DC в этом случае будет разомкнут вместе с выключателем 151 DC как резерв, в случае если выключатель 144 DC повторно замкнется. Кроме того, первый выключатель 131 DC будет управляться для размыкания, и, когда это случится, электрический ток уменьшится до нулевого значения, также будет разомкнут один из разъединителей 133 или 134. Тем не менее, если первый выключатель 131 DC выйдет из строя, второй выключатель 132 DC будет функционировать как резерв, будучи управляемо разомкнутым. Дополнительно для резерва переключатель заземления 170 будет функционировать, как описано со ссылкой на фиг. 3.
Электрический ток из нейтральной шины 112 будет идти по соединяющим элементам 142, 143 электродной линии и через них на электродную станцию 190. Выключатель 151 DC повторно замыкается в случае необходимости обеспечить резерв для выключателя 144 DC. Тем не менее, если замыкание на землю произошло на первой электродной линии 191 или на связанном с ней оборудовании, подключение между нейтральной шиной 112 и соединяющим элементом 142 электродной линии будет прервано при помощи управления выключателем 151 DC для размыкания и затем размыкания любого из разъединителей 160, 152 и 153. А в случае замыкания на землю на другой электродной линии 192 или связанном с ней оборудовании будет разомкнут разъединитель 161 и весь электрический ток с нейтральной шины 112 будет выведен на соединяющий элемент 142 электродной линии.
Как только неисправный сектор будет изолирован, разъединитель 180 и разъединитель 182 могут быть замкнуты для вывода электрического тока через обратный провод на проводник 104, в то время как прерывается соединение нейтральной шины 112 с электродной станцией 190 для того, чтобы не проводить слишком высокий электрический ток на заземление электродной станции.
В других случаях изобретение, конечно, не ограничивается вариантом осуществления, описанным выше, и допускает много возможностей в модификации лицом с обычной квалификацией без отклонения от основной идеи изобретения в соответствии с пунктами в прилагающейся формуле изобретения.
Так, например, в упомянутой первой токовой цепи может быть не два, а другое количество последовательно подключенных выключателей DC.
Кроме того, например, допустимо иметь более чем два соединительных элемента электродной линии, для соединения более чем двух электродных линий, с соединенным оборудованием с нейтральными шинами.
Формула изобретения
1. Преобразовательная подстанция для подключения системы (6) АС к биполярной линии (3) передачи HVDC, при этом упомянутая подстанция содержащая два преобразователя (8, 9), каждый из которых имеет сторону DC, соединенную с одной стороны соответственно с двумя проводниками (104, 105) упомянутой линии передачи на высоком потенциале, а с другой – с нейтральными шинами (111, 112), для чего проводник установки 10 нейтрали DC, общий для преобразователей, заземлен на нулевой потенциал, и сторону АС, подключенную к упомянутой системе АС, установка нейтрали DC имеющая элемент, соединяющийся с двумя электродными линиями (191, 192), при этом установка выполнена с первыми выключателями DC, дающими возможность разрывать первую токовую цепь (130), расположенную между нейтральной шиной одного проводника и нейтральной шиной другого проводника при биполярном режиме работы подстанции для изменения на однополярный режим работы, подстанция, также содержащая управляющее устройство (200), выполненное с возможностью управления упомянутым изменением от биполярного к однополярному режиму работы при помощи управления первым выключателем (131) DC, для размыкания упомянутой токовой цепи, расположенной между двумя нейтральными шинами (111, 112), и присоединению токовой цепи к упомянутому соединяющему элементу электродной линии для направления тока от одного проводника к другому, отличающаяся тем, что упомянутая установка нейтрали выполнена с отдельным соединяющим элементом (142, 143) для каждой из упомянутых электродных линий и средством для соединения каждой нейтральной шины (111, 112) с выбранными соединяющими элементами двух электродных линий.
2. Преобразовательная подстанция по п.1, отличающаяся тем, что упомянутое средство соединения содержит для каждой упомянутой нейтральной шины на первой линии (140, 141), отдельной от первой токовой цепи, включающее в себя первый выключатель DC, и подключающее эту шину к одному из соединяющих элементов (142, 143) электродной линии, связанных с этой шиной, по крайней мере, одним разъединителем (160, 161) и/или выключателем DC, и на второй линии (150), взаимосвязывающей упомянутые две первые линии, более ближайшей к соответствующей шине, чем местоположение упомянутого, по крайней мере, одного разъединителя и/или выключателя, по крайней мере, одним разъединителем (152, 153) и выключателем постоянного тока (151).
3. Преобразовательная подстанция по п.2, отличающаяся тем, что упомянутая взаимосвязывающая вторая линия (150) выполнена с выключателем (151) DC, подключенным последовательно с разъединителем (152, 153), расположенными с каждой стороны относительно него.
4. Преобразовательная подстанция по п.2 или 3, отличающаяся тем, что упомянутое средство соединения содержит для каждой первой линии (140, 141), соединяющие нейтральные шины (111, 112) с одним из соединяющих элементов (142, 143) электродной линии, последовательно подключенный выключатель (144, 145) DC и разъединитель (146-149), расположенные более близко к рассматриваемой нейтральной шине, чем точка соединения взаимосвязывающей второй линии с этой первой линией.
5. Преобразовательная подстанция по п.1, отличающаяся тем, что упомянутая установка нейтрали DC содержит дополнительный второй выключатель (132) DC, подключенный последовательно с первым выключателем (131) DC в упомянутой первой токовой цепи (130), между упомянутыми двумя нейтральными шинами для биполярного режима работы подстанции.
6. Преобразовательная подстанция по п.5, отличающаяся тем, что средняя точка между первым (131) и вторым (132) выключателем DC в первой токовой цепи (130) соединена через первый разъединитель (180) к средней точке линии (181), взаимосвязывающей два проводника (104, 105) упомянутой линии передачи HVDC, причем первый разъединитель приспособлен быть разомкнутым при биполярном режиме работы подстанции, при этом линия взаимосвязи упомянутых двух проводников выполнена с разъединителем (182, 183) с обеих сторон упомянутой средней точки, и упомянутое управляющее устройство выполнено с возможностью управления первым разъединителем (180) для замыкания, и разъединителем, соединяющим один из проводников для замыкания на обратный провод электрического тока от другого проводника при однополярном режиме работы подстанции после отключения упомянутого одного проводника.
7. Преобразовательная подстанция по п.5, отличающаяся тем, что она содержит переключатель (170) заземления, подключенный к упомянутой первой токовой цепи (130) между двумя нейтральными шинами (111, 112) в точке между упомянутым первым выключателем (131) DC и упомянутым дополнительным вторым выключателем (132) DC.
8. Преобразовательная подстанция по п.4, отличающаяся тем, что упомянутое управляющее устройство выполнено с возможностью управления упомянутыми выключателями (144, 145, 151) DC и разъединителями (146-149, 152, 153) в каждой упомянутой первой линии, и упомянутой взаимосвязывающей второй линии, для замыкания, и установки второй токовой цепи между двумя нейтральными шинами (111, 112) через первые линии (140, 141) и упомянутую взаимосвязывающую вторую линию (150) для обеспечения обслуживания оборудования, такого как выключатель (131, 132) DC в первой токовой цепи (130) при биполярном режиме работы подстанции.
9. Преобразовательная подстанция по п.1, отличающаяся тем, что она выполнена с возможностью для подключения системы АС к биполярной линии передачи HVDC, рассчитанной на напряжение между каждым проводником и заземлением, превышающее 200 кВ, преимущественно превышающее 500 кВ, предпочтительно 600 – 1500 кВ, и наиболее предпочтительно 600 – 1000 кВ.
РИСУНКИ
|
|