Патент на изобретение №2376664

Published by on




РОССИЙСКАЯ ФЕДЕРАЦИЯ



ФЕДЕРАЛЬНАЯ СЛУЖБА
ПО ИНТЕЛЛЕКТУАЛЬНОЙ СОБСТВЕННОСТИ,
ПАТЕНТАМ И ТОВАРНЫМ ЗНАКАМ
(19) RU (11) 2376664 (13) C2
(51) МПК

G11B33/04 (2006.01)

(12) ОПИСАНИЕ ИЗОБРЕТЕНИЯ К ПАТЕНТУ

Статус: по данным на 17.09.2010 – действует

(21), (22) Заявка: 2006140747/28, 17.11.2006

(24) Дата начала отсчета срока действия патента:

17.11.2006

(43) Дата публикации заявки: 27.05.2008

(46) Опубликовано: 20.12.2009

(56) Список документов, цитированных в отчете о
поиске:
US 5697684 А, 16.12.1997. RU 20004 U1, 20.10.2001. US 5099995 A, 31.03.1992. US 5690399 А, 25.11.1974. JP 7255544 А, 09.10.1995.

Адрес для переписки:

445143, Самарская обл., Ставропольский р-н, с. Подстёпки, ул. Мира, 53, М.Ю.Косенко

(72) Автор(ы):

Косенко Михаил Юрьевич (RU)

(73) Патентообладатель(и):

Косенко Михаил Юрьевич (RU)

(54) УСТРОЙСТВО ДЛЯ ХРАНЕНИЯ КОМПАКТ-ДИСКОВ

(57) Реферат:

Устройство для хранения компакт-дисков предназначено для хранения плоских деталей, в частности плоских носителей информации CD и/или DVD. Технический результат направлен на повышение удобства и снижение трудоемкости при использовании устройства за счет уменьшения усилий и уменьшения времени. Устройство для хранения компакт-дисков содержит стойку и размещенные стопкой тонкие плоские опоры, связанные со стойкой с возможностью поворота вокруг ее продольной оси, снабженные для выполнения этого поворота ручками, содержащие эксцентрично к упомянутой оси места с упорами, ограничивающими их сдвиг. Причем упомянутые ручки любых двух прилегающих друг к другу опор выполнены на самых удаленных от упомянутой оси частях опор по разные стороны от плоскости, проходящей через упомянутую ось. 11 з.п. ф-лы, 15 ил.

Устройство для хранения компакт-дисков предназначено для хранения плоских деталей, в частности плоских носителей информации и, особенно, оптических компакт-дисков CD и/или DVD.

Из уровня техники известны устройства, предназначенные для хранения компакт-дисков. Наиболее близки к заявляемой конструкции те из них, которые обеспечивают хранение компакт-дисков в горизонтальном положении на тонких плоских опорах, сложенных одна на другую в стопку. При этом, за пределами мест размещения компакт-дисков, опоры содержат на одной оси отверстия, через которые проходит вертикальная стойка, установленная на основании. Например, это изобретения US 6,502,703 Jan. 7.2003; US 6,193,061 Feb. 27, 2001; US 5,779,037 Jul. 14, 1998; US 5,813,740 Sep. 29, 1998; US 5,232,275 Aug. 3, 1993; US 4,998,618 Mar. 12, 1991; US 5,344,028 Sep, 6, 1994; US 5,099,995 Mar. 31, 1992; US 6,691,875 Feb. 17, 2004. Такая конструкция занимает мало места на опорной поверхности за счет минимальной площади основания и малый объем за счет малой толщины опор. Кроме этого, такая конструкция позволяет вынуть диск из середины стопки путем поворота опоры, на которой он расположен, вокруг оси стойки и вывода его, таким образом, за пределы стопки, не вынимая из стопки, при этом, другие диски.

Самым близким к заявляемой конструкции можно считать изобретение US 5,697,684 Dec. 16, 1997, в котором кроме перечисленных выше признаков содержатся и другие, совпадающие с признаками заявляемого изобретения, например, это – наличие на каждой опоре ручки в виде выступающего наружу стопки элемента, выполненного с возможностью его захвата рукой для поворота опоры вокруг стойки, кроме этого, упомянутые ручки могут служить для размещения маркировки места расположения компакт-диска. Можно отметить еще одно достоинство этой конструкции – защищенность дисков от прямого попадания на них пыли, света, случайного попадания влаги или каких-либо загрязнений.

Вместе с отмеченными достоинствами последней конструкции можно отметить и недостаток. Если потянуть за одну из ручек с целью выдвинуть из стопки выбранную опору с диском, то приложенное при этом усилие передастся силами трения через вытягиваемую опору на соседние близлежащие опоры и заставит их двигаться в том же направлении. Выдвижение из стопки других опор создаст неудобство при использовании устройства. Было бы естественно попытаться придержать второй рукой две близлежащие опоры за их элементы, но в данной конструкции ручки близлежащих опор не сориентированы для этой цели по отношению друг к другу и к вытягиваемой опоре и поэтому расположены на расстоянии, не позволяющем выполнить такое удержание.

Задачей предлагаемого изобретения является повышение удобства при использовании устройства.

Техническими результатами изобретения являются повышение удобства и снижение трудоемкости при использовании устройства за счет уменьшения усилий и уменьшения времени, необходимых для вынимания из него и возвращения в него компакт-дисков.

Сущность заявляемого изобретения составляет устройство для хранения компакт-дисков, содержащее стойку и тонкие плоские опоры, которые связаны со стойкой с возможностью поворота вокруг ее продольной оси; эти опоры размещены стопкой, то есть одна над другой, с опиранием верхних на нижние; упомянутые опоры содержат эксцентрично расположенные к упомянутой оси места для размещения компакт-дисков; эти места содержат упоры, ограничивающие сдвиг компакт-дисков; упомянутые опоры снабжены ручками, то есть размещенными снаружи стопки элементами, которые выполнены с возможностью для пользователя воздействовать на них рукой, например, путем захвата двумя пальцами или нажатия одним пальцем, для осуществления упомянутого поворота; упомянутые ручки любых двух прилегающих друг к другу опор выполнены на самых удаленных от упомянутой оси частях опор по разные стороны от плоскости, проходящей через упомянутую ось.

Техническими результатами изобретения является повышение удобства и уменьшение трудоемкости при использовании устройства за счет уменьшения усилия, требуемого для поворота опоры и выдвижения, тем самым, ее из стопки из-за большего плеча, на котором оно действует, так как упомянутые ручки выполнены на самых удаленных от упомянутой оси частях опор, и уменьшения времени поиска нужной опоры из-за того, что все упомянутые ручки сосредоточены возле пользователя в определенном порядке, а именно по разные стороны от плоскости, проходящей через упомянутую ось.

В предпочтительном варианте ручки, выполненные на элементах, расположенных по одну сторону от упомянутой плоскости, образуют вдоль упомянутой оси два ряда, смещенные друг от друга в окружном по отношению к этой оси направлении таким образом, что на двух ближайших друг к другу элементах ручки находятся в разных рядах, причем та ручка, которая расположена ближе к упомянутой выше плоскости, выступает в радиальном направлении от упомянутой оси, по отношению к другой, на расстояние, соответствующее ее размеру в этом направлении. В этом случае освобождается пространство вокруг каждой ручки и уменьшается вероятность того, что пользователь случайно заденет рукой другие ручки. В еще большей степени эта цель достигается в следующем варианте, где ручки, выполненные на элементах, расположенных по одну сторону от упомянутой плоскости, образуют вдоль упомянутой оси три ряда, смещенные друг от друга в окружном по отношению к этой оси направлении таким образом, что на трех ближайших друг к другу элементах ручки находятся в трех разных рядах, причем та ручка, которая расположена ближе двух других к упомянутой выше плоскости, выступает в радиальном направлении дальше от упомянутой оси, по отношению к ним, на расстояние, соответствующее ее размеру в этом направлении, а та ручка, которая расположена дальше двух других от упомянутой выше плоскости, находится ближе их к упомянутой оси на расстояние, соответствующее ее размеру в этом направлении.

Для того, чтобы облегчить поиск нужного компакт-диска в устройстве, каждый ряд в частном случае содержит десять упомянутых ручек, причем первая, вторая, девятая и десятая ручка окрашены одним цветом; третья, четвертая, седьмая и восьмая – вторым цветом; пятая и шестая – третьим цветом.

В предпочтительном варианте упомянутые ручки выполнены на выступающих наружу стопки элементах, которые содержат обращенные к упомянутой плоскости кромки, причем расположенные по одну сторону от упомянутой плоскости кромки выполнены одна над другой и равноудалены от упомянутой плоскости. То есть упомянутые кромки расположены вдоль оси поворота опор двумя рядами справа и слева от упомянутой плоскости. В этом случае для того, чтобы выдвинуть опору из стопки, надо одной рукой приложить усилие к ее выступающему элементу по направлению от упомянутой плоскости, а чтобы удержать другие опоры от выдвижения, надо другой рукой приложить усилие к расположенным одна над другой кромкам двух выступающих элементов близлежащих опор, расположенных по другую сторону от упомянутой плоскости, в направлении, противоположном первому, то есть от упомянутой плоскости. В таком случае руки не мешают друг другу – правая рука манипулирует справа от упомянутой плоскости, а левая – слева, и, кроме этого, потребуется приложить меньшие усилия на выдвигаемую из стопы опору и к кромкам выступающих элементов для удержания опор из-за большего плеча.

В частном случае упомянутая ось наклонена в направлении упомянутого эксцентриситета. Если учесть то обстоятельство, что пользователю удобно использовать устройство, находясь по отношению к нему со стороны мест для размещения компакт-дисков, то можно сказать, что упомянутая ось наклонена в направлении пользователя.

Результатом этого решения является повышение удобства и уменьшение трудоемкости за счет уменьшения времени использования устройства по той причине, что устройство наклонено в сторону пользователя, и поэтому, во-первых, пользователю лучше видна верхняя поверхность выдвинутой из стопки опоры вместе с размещенным на ней компакт-диском, и, во-вторых, выдвинутая из стопки опора расположена ближе к пользователю, поскольку ось, вокруг которой она поворачивалась при выдвижении, наклонена в сторону пользователя.

В частном случае стопка опор разделена, по меньшей мере, одной вставкой, связанной со стойкой с ограничением своего осевого перемещения вниз.

В частном случае опоры содержат отверстия, а стойка содержит размещенную в этих отверстиях, разделенную на части трубу с упомянутыми вставками, размещенными между этими частями, снизу ограниченную основанием, а сверху – крышкой, и проходящую внутри трубы вдоль ее оси винтовую стяжку, соединяющую перечисленные детали. В частном случае основание выполнено с возможностью опоры на горизонтальную поверхность, например, стола. В частном случае основание, крышка и/или у помянутые вставки выполнены с возможностью крепления к вертикальной поверхности, например, мебели или стены.

Результатом этого решения является повышение удобства и уменьшение трудоемкости при использовании устройства за счет уменьшения усилия, требуемого для поворота опоры, размещенной в стопке ниже, по меньшей мере, одной вставки и выдвижения, тем самым, ее из стопки по той причине, что на выдвигаемую опору сверху воздействует своим весом меньшее количество опор, так как вставка воспринимает вес лежащих на ней опор и не передает его на нижние опоры, поскольку связана со стойкой с ограничением своего осевого перемещения вниз.

В частном случае осуществления любого из описанных изобретений устройство для хранения компакт-дисков содержит связанное со стойкой основание, выполненное с возможностью опоры на горизонтальную поверхность, например, стола или, в другом случае, выполненное с возможностью закрепления на вертикальной или наклонной поверхности, например, мебели или стены. В частном случае стойка и основание выполнены в виде одной детали. Стопка опор при этом опирается на основание.

В частном случае осуществления любого из описанных изобретений устройство для хранения компакт-дисков содержит крышку, закрывающую верхнюю опору от пыли или случайного попадания загрязнений на размещенный на ней компакт-диск. В частном случае крышка связана со стойкой с ограничением перемещения вдоль ее продольной оси и выполнена с возможностью закрепления на вертикальной или наклонной поверхности, например, мебели или стены, при этом стойка содержит внизу упор для стопки опор. В частном случае стойка и крышка выполнены в виде одной детали. В частном случае крышка выполнена в виде подставки под мелкие канцелярские принадлежности, например скрепок для бумаги или резинки для стирания записей.

Наличие основания или крышки не обязательно для достижения технических результатов, поскольку, в частном случае, возможен вариант, в котором стопка опирается на горизонтальную поверхность, например, стола, а стойка проходит сверху через отверстия в опорах. Стойка при этом, в частном случае, выполнена в виде стакана, который стоит на той же горизонтальной поверхности и который можно использовать для складирования в нем ручек или карандашей. В другом частном случае стойка выполнена П-образной формы и связана своей верхней частью с основанием, опирающимся на горизонтальную поверхность рядом со стопкой, или выполнена Г-образной формы и связана горизонтальным участком, например, с вертикальным элементом мебели.

Сущность изобретения поясняется на чертежах.

На фигуре 1 изображено устройство для хранения компакт-дисков 1 в сборе; опора 30 выдвинута из стопки 2 опор путем поворота вокруг продольной оси L1 стойки 20.

На фигуре 2 изображена взрыв-схема устройства для хранения компакт-дисков 1; видно, что стопка опор 2 состоит из тонких плоских опор 50, 30, 70, 60, уложенных одна на другую в указанной последовательности и связанных со стойкой 20 с возможностью поворота вокруг ее продольной оси L1; видно, что опоры содержат места для размещения компакт-дисков в виде круглых площадок, расположенных на оси L2, параллельной оси L1.

На фигуре 3 изображены три опоры устройства для хранения компакт-дисков 1 в месте соединения их со стойкой 20; видны распределенные вокруг стойки торцевые выступы 37 и соответствующие им по форме впадины 36 на обращенных друг к другу поверхностях опор; видно, что выступы содержат наклонные в направлении выхода из впадины поверхности.

На фигуре 4 изображен вид на выступающие наружу стопки 2 элементы опор с ручками 42, 52, 62 и 72 устройства для хранения компакт-дисков 1; видно, что размещенные на двух ближайших друг к другу элементах ручки 42 и 62 образуют два смещенных друг от друга в окружном по отношению к оси L1 направлении вертикальных ряда слева от плоскости L1-L2, а размещенные на двух ближайших друг к другу элементах ручки 72 и 52 образуют два смещенных друг от друга в окружном по отношению к оси L1 направлении вертикальных ряда справа от плоскости L1-L2; видно, что выступающие наружу стопки 2 элементы опор содержат обращенные к плоскости L1-L2 и равноудаленные от нее кромки 41, 51, 61 и 71, причем расположенные слева от упомянутой плоскости кромки 41 и 61 выполнены в вертикальном ряду одна над другой и расположенные справа от упомянутой плоскости кромки 51 и 71 тоже выполнены в вертикальном ряду одна над другой.

На фигуре 5 изображен вид сверху на устройство для хранения компакт-дисков 1 с опорой 30, выдвинутой из стопки 2 путем поворота вокруг вертикальной оси L1 стойки 20 по часовой стрелке; видно, что ручка 62, которая расположена ближе к плоскости L1-L2, выступает дальше в радиальном направлении от оси L1, по сравнению с ручкой 42, на расстояние, соответствующее ее размеру в этом направлении, так же, как и справа от плоскости L1-L2 ручка 72, которая расположена ближе к плоскости L1-L2, выступает дальше в радиальном направлении от оси L1, по сравнению с ручкой 52, на расстояние, соответствующее ее размеру в этом направлении.

На фигуре 6 изображен вид сверху на устройство для хранения компакт-дисков 1 с опорой 70, выдвинутой из стопки 2 путем поворота вокруг вертикальной оси L1 стойки 20 против часовой стрелки.

На фигуре 7 изображено устройство для хранения компакт-дисков 100 с двумя выдвинутыми путем поворота вокруг оси L1 опорами 150, на одной из которых размещен компакт-диск 5; видно, что продольная ось стойки L1 наклонена в направлении оси L2.

На фигуре 8 изображена взрыв-схема устройства для хранения компакт-дисков 100; видно, что стопка опор 102 состоит из тонких плоских опор 150, 130, 170, 160, уложенных одна на другую в указанной последовательности и связанных со стойкой 120 с возможностью поворота вокруг ее продольной оси L1; видно, что опоры содержат места для размещения компакт-дисков в виде круглых площадок, расположенных на оси L2, параллельной оси L1; видно, что основание 110 и стойка 120 выгнуты из металлического прутка в виде одной детали.

На фигуре 9 изображено устройство для хранения компакт-дисков 200 в сборе; опора 270 выдвинута из стопки 202 опор путем поворота вокруг продольной оси L1 стойки 220; видно, что крышка 280 выполнена в виде подставки под мелкие канцелярские принадлежности.

На фигуре 10 изображена взрыв-схема устройства для хранения компакт-дисков 200; видно, что стопка опор 202 состоит из тонких плоских опор 250, 230, 270, 260, уложенных одна на другую в указанной последовательности и связанных со стойкой 220 с возможностью поворота вокруг ее продольной оси L1; видно, что опоры содержат места для размещения компакт-дисков в виде круглых площадок, расположенных на оси L2, параллельной оси L1; видно, что стойка 220 и крышка 280 выполнены в виде одной детали; видно, что устройство содержит стакан 285, который можно использовать для складирования в нем ручек или карандашей, вставленный сверху в полость – центральное отверстие стойки 220.

На фигуре 11 изображен вид сверху на устройство для хранения компакт-дисков 200 с опорой 270, выдвинутой из стопки 202 путем поворота вокруг вертикальной оси L1 стойки 20 против часовой стрелки; видно, что ручки 42, 52, 62 и 72 расположены по отношению друг к другу и к стопке опор так же, как и в устройстве 1.

На фигуре 12 изображено устройство для хранения компакт-дисков 300 в сборе; опора 270 выдвинута из стопки 302 опор путем поворота вокруг продольной оси L1 стойки; видно, что основание 310 и крышка 380 содержат задние поверхности 313 и 381 для крепления устройства 300 к стене.

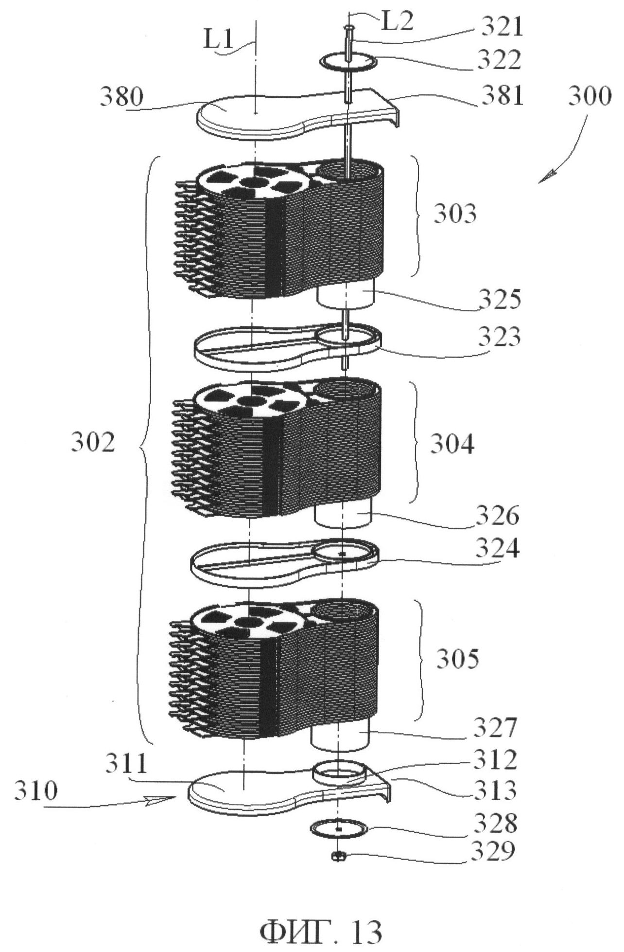
На фигуре 13 изображена взрыв-схема устройства для хранения компакт-дисков 300; видно, что стопка 302 опор разделена на три части двумя вставками 323 и 324; видно, что каждая часть стопки 302 связана с частями 325, 326 и 327 стойки; видны элементы винтовой стяжки – винт 321 с головкой вверху и гайка 329.

На фигуре 14 изображен вид сверху на устройство для хранения компакт-дисков 300 с опорой 370, выдвинутой из стопки 302 путем поворота вокруг вертикальной оси L1 стойки против часовой стрелки; видно, что ручки 42, 52, 62 и 72 расположены по отношению друг к другу и к стопке опор так же, как и в устройствах 1, 100 и 200.

На фигуре 15 изображен вид со стороны пользователя на ручки 42, 52, 62 и 72 опор 230, 250, 260 и 270; видно, что для того, чтобы вывести из стопки, например, опору 70, имеется возможность потянуть за ручку 72 вправо правой рукой, а чтобы при этом удержать близлежащие опоры 60 и 30, имеется возможность воздействовать пальцем левой руки на кромки 61 и 31 выступающих элементов этих опор.

Устройство для хранения компакт-дисков 1 содержит сорок уложенных в определенном порядке одна на другую на основание 10 в стопку 2 опор 30, 50, 60 и 70, выполненных с возможностью размещения на них на одной вертикальной оси L2 компакт-дисков. Стопка 2 состоит из десяти одинаковых стопок, каждая из которых содержит опоры 30, 50, 60 и 70, расположенные в указанном порядке сверху вниз. Опоры 30, 50, 60 и 70 за пределами мест, предназначенных для размещения компакт-дисков, а именно площадок 34, связаны со стойкой 20 с возможностью поворота вокруг ее продольной оси L1, параллельной оси L2. Основание 10 и стойка 20 отлиты из пластмассы вместе в виде одной детали. Стопка 2 из опор 30, 50, 60 и 70 накрыта сверху крышкой 80.

Основание 10, выполненное из пластмассы в форме корытообразной детали с обращенным вверх плоским дном, содержит горизонтальную площадку 11 и место размещения стойки 20. Основание 10 содержит два паза возле стойки, в которые входят направленные вниз выступы 77, лежащей на нем опоры 70 – нижней опоры стопки 2.

Стойка 20 выполнена в форме перевернутого круглого цилиндрического стакана, стенки которого отлиты заодно с площадкой 11 основания 10, на которой он установлен.

Опоры 30, 50, 60 и 70 отличаются друг от друга расположением и формой ручек.

Опора 30 выполнена в виде тонкой плоской пластины с опоясывающим ее внешний контур и выступающим над ее верхней плоскостью буртом 32 и содержит один конец с отверстием 33 для соединения со стойкой 20 и второй конец с площадкой 34 для размещения компакт-диска 5.

Отверстие 33 выполнено с возможностью размещения в нем наружной цилиндрической поверхности стойки 20 с зазором, обеспечивающим поворот опоры 30 вокруг стойки 20 с минимальным люфтом. Отверстие 33 образовано внутренней цилиндрической поверхностью бурта 35, опоясывающего отверстие 33 и выступающего по отношению к верхней плоскости опоры 30 вверх на высоту, равную высоте бурта 32. Бурты 35 и 32 соединены. На верхней кромке бурта 35 выполнены впадины в виде пазов 36 в форме перевернутой равнобедренной трапеции (с коротким основанием внизу), в которые входят соответствующие им по форме выступы 37 опоры 50, расположенной непосредственно над опорой 30. На нижней кромке бурта 35, под пазами 36, выполнены соответствующие по форме этим пазам выступы 37, направленные вниз и входящие в соответствующие им по форме пазы 36 в верхней кромке бурта 65 опоры 60.

Место для размещения компакт-дисков выполнено в виде площадки 34 круглой формы, которая ограничена с внешней стороны опоры 30 буртом 32, а с внутренней стороны – буртом 31, равным по высоте бурту 32. Компакт-диск размещается на площадке 34 с зазором по отношению к внутренней поверхности буртов 32 и 36. Бурты 32 и 36 выполняют функцию упоров, ограничивающих сдвиг компакт диска относительно площадки 34. Бурт 32, кроме этого, закрывает компакт-диск от пыли и воздействия случайных загрязнений извне.

В центре площадка 34 содержит концентричное по отношению к ней отверстие 38. Высота бурта 32 над верхней плоскостью площадки 34 превышает толщину любого предназначенного для укладки на нее компакт-диска.

Бурт 32 содержит вырез 39 для возможности захвата большим пальцем за наружную кромку компакт-диска. Поэтому вырез 39 выполнен по другую сторону от плоскости L1-L2, проходящей через ось L1 отверстия 33 и ось L2 отверстия 38, по отношению к ручке 40.

Ручка 42 выполнена на выступающем наружу стопки 2 рядом с плоскостью L1-L2 и слева от нее, со стороны пользователя, элементе 40, выполненном как продолжение горизонтальной пластины опоры 30 за пределы площадки 34. Кромка 41 выступающего элемента 40 обращена к плоскости L1-L2 и служит для упора в нее рукой и, тем самым, предотвращения поворота опоры 30 при выдвижении из стопки 2 прилегающих к ней опоры 50 снизу или опоры 70 сверху. Десять ручек 42 образуют второй слева от плоскости L1-L2 вертикальный ряд.

Опора 50 размещена в стопке 2 непосредственно под опорой 30 и отличается от нее тем, что содержит выступающий наружу стопки элемент 53 с ручкой 52 по другую сторону, то есть справа от плоскости L1-L2. Форма элемента 53 симметрична форме элемента 40 относительно плоскости L1-L2. Кромка 51 выступающего элемента 53 обращена к плоскости L1-L2 и служит для упора в нее рукой и, тем самым, предотвращения поворота опоры 50 при выдвижении из стопки 2 прилегающих к ней опоры 30 или опоры 60. Десять ручек 52 образуют второй справа от плоскости L1-L2 вертикальный ряд.

Опора 60 размещена в стопке 2 непосредственно под опорой 50 и отличается от опор 30 и 50 расположением и формой выступающего наружу стопки элемента 63 с ручкой 62, который размещен слева от плоскости L1-L2 под элементом 40. Кромка 61 элемента 63 расположена непосредственно под кромкой 41 элемента 40 и над кромкой 71 элемента 73 опоры 70. Кромка 61 обращена к плоскости L1-L2 и служит для упора в нее рукой и, тем самым, предотвращения поворота опоры 60 при выдвижении из стопки 2 прилегающих к ней опоры 50 или опоры 70. Десять ручек 62 образуют первый слева от плоскости L1-L2 вертикальный ряд и по отношению к ручкам 42 опор 30 и ручкам 52 опор 50, находятся дальше от оси L1 поворота опор.

Опора 70 размещена в стопке 2 непосредственно под опорой 60 и содержит выступающий элемент 73 с ручкой 72 справа от плоскости L1-L2 под выступающим элементом 53 опоры 50. Форма выступающего элемента 73 симметрична форме выступающего элемента 63 относительно плоскости L1-L2. Кромка 71 элемента 73 расположена непосредственно под кромкой 61 элемента 63 и над кромкой 41 элемента 40 опоры 30. Кромка 71 обращена к плоскости L1-L2 и служит для упора в нее рукой и, тем самым, предотвращения поворота опоры 70 при выдвижении из стопки 2 прилегающих к ней опоры 60 или опоры 30. Десять ручек 72 образуют первый справа от плоскости L1-L2 вертикальный ряд и по отношению к ручкам 42 опор 30 и ручкам 52 опор 50 находятся дальше от оси L1 поворота опор.

Таким образом, размещенные на двух ближайших друг к другу элементах 40 и 63 ручки 42 и 62 образуют два смещенных друг от друга в окружном по отношению к оси L1 направлении вертикальных ряда слева от плоскости L1-L2, а размещенные на двух ближайших друг к другу элементах 73 и 53 ручки 72 и 52 образуют два смещенных друг от друга в окружном по отношению к оси L1 направлении вертикальных ряда справа от плоскости L1-L2. Выступающие наружу стопки 2 элементы 40, 53, 63 и 73 опор 30, 50, 60 и 70 содержат обращенные к плоскости L1-L2 и равноудаленные от нее кромки 41, 51, 61 и 71, причем расположенные слева от упомянутой плоскости кромки 41 и 61 выполнены в вертикальном ряду одна над другой и расположенные справа от упомянутой плоскости кромки 51 и 71 тоже выполнены в вертикальном ряду одна над другой. Ручка 62, которая расположена ближе к плоскости L1-L2, выступает дальше в радиальном направлении от оси L1, по сравнению с ручкой 42, на расстояние, соответствующее ее размеру в этом направлении, так же, как и справа от плоскости L1-L2 ручка 72, которая расположена ближе к плоскости L1-L2 выступает дальше в радиальном направлении от оси L1, по сравнению с ручкой 52, на расстояние, соответствующее ее размеру в этом направлении.

Опоры 30, 50, 60, 70 содержат на обращенных друг к другу поверхностях впадины 46, выполненные на буртах 32, и размещенные в этих впадинах торцевые выступы 47, направленные вниз, которые выполнены с возможностью выхода каждого выступа из впадины при упомянутом повороте одной из опор за счет того, что выступы и впадины содержат наклонные в окружном по отношению к оси L1 направлении боковые поверхности. Выступы 47 и впадины 46 выполнены симметричными относительно плоскости L1-L2 и образуют вертикальный ряд между выступающими элементами 40 и 53, 63 и 73.

Крышка 80 соответствует по форме опорам 30, 50, 60, 70, она также связана со стойкой 20 с возможностью поворота вокруг нее и служит для защиты компакт-диска 3, размещенного на верхней в стопке 2 опоре 60, от воздействия внешних факторов. Крышка 80 содержит выступ, направленный вдоль осей L1 и L2 вниз и входящий в паз 46 верхней в стопке 2 опоры 60.

Устройство для хранения компакт-дисков 100 отличается от устройства для хранения компакт-дисков 1 тем, что продольная ось L1 стойки наклонена в сторону оси L2, то есть в сторону пользователя.

Устройство для хранения компакт-дисков 100 содержит сорок уложенных в определенном порядке одна на другую на основании 110 в стопку 102 опор 130, 150, 160 и 170 с размещенными на них на одной оси L2 компакт-дисками 5. Стопка 102 состоит из десяти одинаковых стопок, каждая из которых с одержит опоры 130, 150, 160 и 170, расположенные в указанном порядке сверху вниз. Опоры 130, 150, 160 и 170 так же, как и описанные выше опоры 30, 50, 60 и 70 устройства 1, за пределами мест, предназначенных для размещения компакт-дисков, связаны со стойкой 120 с возможностью поворота вокруг ее продольной оси L1, параллельной оси L2. Опоры 130, 150, 160 и 170 так же, как и опоры 30, 50, 60 и 70 устройства 1, содержат на обращенных друг к другу поверхностях впадины 46 и размещенные в этих впадинах торцевые выступы 47, направленные вниз, которые выполнены с возможностью выхода каждого выступа из впадины при упомянутом повороте одной из опор. Выступы 47 и впадины 46 выполнены симметричными относительно плоскости L1-L2 и образуют вертикальный ряд между выступающими элементами 40 и 53, 63 и 73. Основание 110 и стойка 120 выгнуты из металлического прутка в виде одной детали. Стопка 102 из опор 130, 150, 160 и 170 опирается на дополнительную опору 115, содержащую на своей нижней поверхности упоры, ограничивающие смещение стопки 102 относительно опорного участка 112 основания 110 в поперечном по отношению к плоскости L1-L2 направлении. Стопка 102 накрыта сверху крышкой 180, связанной со стойкой 120.

Устройство для хранения компакт-дисков 200 содержит в стойке сверху центральное отверстие – полость, в которую помещен стакан 285 для пишущих канцелярских принадлежностей, таких как карандаши и ручки, а крышка 280 выполнена в виде подставки под мелкие канцелярские принадлежности, причем, стойка и крышка отлиты из пластмассы в виде одной детали.

Устройство для хранения компакт-дисков 200 содержит сорок уложенных в определенном порядке одна на другую на основание 210 в стопку 202 опор 230, 250, 260 и 270 с размещенными на них на одной вертикальной оси L2 компакт-дисками. Стопка 202 состоит из десяти одинаковых стопок, каждая из которых содержит опоры 230, 250, 260 и 270, расположенные в указанном порядке сверху вниз. Опоры 230, 250, 260 и 270 так же, как и описанные выше опоры 30, 50, 60 и 70 устройства 1, за пределами мест, предназначенных для размещения компакт-дисков, связаны со стойкой 220 с возможностью поворота вокруг ее продольной оси L1, параллельной оси L2. Так же, как и на опорах 30, 50, 60 и 70 устройства 1, на каждой из опор 230, 250, 260 и 270 выполнены равномерно распределенные вокруг стойки впадины и входящие в них выступы с возможностью выхода каждого выступа из впадины при повороте одной из опор. Устройство 200 содержит основание 210, выполненное с возможностью опоры на горизонтальную поверхность.

Устройство для хранения компакт-дисков 300 содержит сто двадцать уложенных в определенном порядке одна на другую на горизонтальную площадку 311 основания 310 в стопку 302 опор 230, 250, 260 и 270, таких же, как и в устройстве 200, с возможностью размещения на них на одной вертикальной оси L2 компакт-дисков. Стопка 302 разделена на три части 303, 304 и 305 вставками 323 и 324. Каждая часть 303, 304 и 305 состоит из десяти одинаковых стопок, каждая из которых содержит опоры 230, 250, 260 и 270, расположенные в указанном порядке сверху вниз. Опоры 230, 250, 260 и 270 так же, как и описанные выше опоры 30, 50, 60 и 70 устройства 1, за пределами мест, предназначенных для размещения компакт-дисков, связаны с частями 325, 326 и 327 стойки, выполненными в виде труб, с возможностью поворота вокруг продольной оси стойки L1, параллельной оси L2. Винтовая стяжка стягивает основание 310, части стойки 325, 326 и 327, вставки 323 и 324 и крышку 380 между собой таким образом, что верхняя часть стойки 325 зажата между крышкой 380 сверху и вставкой 323 снизу нее, средняя часть стойки 326 зажата между вставкой 323 сверху и вставкой 324 снизу нее, а нижняя часть стойки 327 зажата между вставкой 324 сверху и основанием 310 снизу нее. Винтовая стяжка состоит из винта 321, гайки 329 и двух шайб, верхней 322 и нижней 328. Устройство для хранения компакт-дисков 300 выполнено с возможностью монтажа его на вертикальной поверхности, например, на стене. Для этого основание 310 содержит заднюю плоскость 313 с отверстиями для крепления, а крышка 380 содержит заднюю плоскость 381 с такими же отверстиями.

Для удобной работы с каждым устройством для хранения компакт-дисков пользователь должен выполнять все действия, находясь по отношению к стопке опор со стороны выступающих наружу нее элементов, снабженных ручками. Для того, чтобы уложить компакт-диск в любое из описанных выше устройств или вынуть его оттуда, необходимо обеспечить пользователю доступ к месту размещения компакт-диска на опоре. Для этого необходимо вывести часть опоры, на которой располагается это место, из стопки путем поворота опоры вокруг продольной оси стойки. Для того чтобы повернуть опору, надо приложить усилие пальцами руки к ее ручке в касательном направлении к окружности, проведенной вокруг продольной оси стойки, в то же время для того, чтобы при этом не выдвинулись другие опоры из стопки, необходимо придержать другой рукой близлежащие верхнюю и нижнюю опоры за кромки их выступающих элементов.

Например, для удобной работы с устройством для хранения компакт-дисков 1 пользователь должен выполнять все действия, находясь по отношению к стопке 2 со стороны выступающих наружу элементов 40, 53, 63 и 73 с ручками 42, 52, 62 и 72 опор 30, 50, 60 и 70.

Для того чтобы вывести из стопки 2 опору 30, надо пальцами левой руки захватить за ручку 42 и потянуть влево, прилагая усилие по касательной к окружности, вдоль которой движется ручка 42, поворачиваясь вместе с опорой 30 вокруг продольной оси L1 стойки 20, придерживая при этом близлежащую снизу опору 50 и близлежащую сверху опору 70, одновременно нажимая вправо большим пальцем правой руки на кромки 51 и 71 выступающих элементов 53 и 73.

Для того чтобы вывести из стопки 2 опору 50, надо пальцами правой руки захватить за ручку 52 и потянуть вправо, прилагая усилие по касательной к окружности, вдоль которой движется ручка 52, поворачиваясь вместе с опорой 50 вокруг продольной оси L1 стойки 20, придерживая при этом близлежащую сверху опору 30 и близлежащую снизу опору 60, одновременно нажимая влево большим пальцем левой руки на кромки 41 и 61 выступающих элементов 40 и 63.

Для того чтобы вывести из стопки 2 опору 60, надо пальцами левой руки захватить за ручку 62 и потянуть влево, прилагая усилие по касательной к окружности, вдоль которой движется ручка 62, поворачиваясь вместе с опорой 60 вокруг продольной оси L1 стойки 20, придерживая при этом близлежащую снизу опору 70 и близлежащую сверху опору 50, одновременно нажимая вправо большим пальцем правой руки на кромки 71 и 51 выступающих элементов 73 и 53.

Для того чтобы вывести из стопки 2 опору 70, надо пальцами правой руки захватить за ручку 72 и потянуть вправо, прилагая усилие по касательной к окружности, вдоль которой движется ручка 72, поворачиваясь вместе с опорой 70 вокруг продольной оси L1 стойки 20, придерживая при этом близлежащую сверху опору 60 и близлежащую снизу опору 30, одновременно нажимая влево большим пальцем левой руки на кромки 61 и 41 выступающих элементов 63 и 40.

Формула изобретения

1. Устройство для хранения компакт-дисков, содержащее стойку и размещенные стопкой тонкие плоские опоры, связанные со стойкой с возможностью поворота вокруг ее продольной оси, снабженные для выполнения этого поворота ручками, содержащие эксцентрично к упомянутой оси места для компакт-дисков с упорами, ограничивающими их сдвиг, отличающееся тем, что упомянутые ручки любых двух прилегающих друг к другу опор выполнены на самых удаленных от упомянутой оси частях опор по разные стороны от плоскости, проходящей через упомянутую ось.

2. Устройство по п.1, отличающееся тем, что ручки, выполненные на элементах, расположенных по одну сторону от упомянутой плоскости, образуют вдоль упомянутой оси два ряда, смещенные друг от друга в окружном по отношению к этой оси направлении таким образом, что на двух ближайших друг к другу элементах ручки находятся в разных рядах, причем та ручка, которая расположена ближе к упомянутой выше плоскости, выступает по отношению к другой в радиальном направлении от упомянутой оси на расстояние, соответствующее ее размеру в этом направлении.

3. Устройство по п.2, отличающееся тем, что каждый ряд содержит десять упомянутых ручек.

4. Устройство по п.3, отличающееся тем, что первая, вторая, девятая и десятая ручка окрашены одним цветом; третья, четвертая, седьмая и восьмая – вторым цветом; пятая и шестая – третьим цветом.

5. Устройство по п.1, отличающееся тем, что содержит в стойке полость, в которую сверху помещен стакан для пишущих канцелярских принадлежностей.

6. Устройство по п.1, отличающееся тем, что стопка опор сверху накрыта крышкой, связанной со стойкой.

7. Устройство по п.6, отличающееся тем, что крышка выполнена в виде подставки под мелкие канцелярские принадлежности.

8. Устройство по п.1, отличающееся тем, что упомянутые ручки выполнены на выступающих наружу стопки элементах, которые содержат обращенные к упомянутой плоскости кромки, причем расположенные по одну сторону от упомянутой плоскости кромки выполнены одна над другой.

9. Устройство по п.8, отличающееся тем, что упомянутые кромки равноудалены от упомянутой плоскости.

10. Устройство по п.1, отличающееся тем, что упомянутая ось наклонена в направлении упомянутого эксцентриситета.

11. Устройство по п.1, отличающееся тем, что стопка опор разделена, по меньшей мере, одной вставкой, связанной со стойкой с ограничением своего осевого перемещения вниз.

12. Устройство по п.11, отличающееся тем, что опоры содержат отверстия, а стойка содержит размещенную в этих отверстиях разделенную на части трубу с упомянутыми вставками, размещенными между этими частями, снизу ограниченную основанием, а сверху крышкой, и проходящую внутри трубы вдоль ее оси винтовую стяжку, соединяющую перечисленные детали.

РИСУНКИ

Categories: BD_2376000-2376999