|
|
(21), (22) Заявка: 2007139324/28, 27.04.2005
(24) Дата начала отсчета срока действия патента:
27.04.2005
(30) Конвенционный приоритет:
24.03.2005 JP 2005-086041
(43) Дата публикации заявки: 27.04.2009
(46) Опубликовано: 20.12.2009
(56) Список документов, цитированных в отчете о поиске:
JP 2001337511 А, 07.12.2001. ЕР 1207437 А2, 22.05.2002. ЕР 1515198 А2, 16.03.2005. US 2002159790 A1, 31.10.2002. ЕР 1510888 A1, 02.03.2005. ЕР 1241536 А2, 18.09.2002. RU 2120387 С1, 20.10.1998.
(85) Дата перевода заявки PCT на национальную фазу:
24.10.2007
(86) Заявка PCT:
JP 2005/008457 20050427
(87) Публикация PCT:
WO 2006/100786 20060928
Адрес для переписки:
129090, Москва, ул. Б.Спасская, 25, стр.3, ООО “Юридическая фирма Городисский и Партнеры”, пат.пов. А.В.Мицу, рег. 364
|
(72) Автор(ы):
ЯМАГУТИ Кодзи (RU)
(73) Патентообладатель(и):
КЭНОН КАБУСИКИ КАЙСЯ (JP)
|
(54) ТЕХНОЛОГИЧЕСКИЙ КАРТРИДЖ И УСТРОЙСТВО ФОРМИРОВАНИЯ ИЗОБРАЖЕНИЯ
(57) Реферат:
Технологический картридж, съемным образом устанавливаемый в основную сборку электрофотографического устройства формирования изображения, содержит фоточувствительный барабан, проявочный валик, узел барабана для поддержки барабана. При этом узел барабана позиционируется относительно основной сборки, когда технологический картридж устанавливается в основную сборку. Устройство содержит также проявочный узел, поддерживающий проявочный валик и подвижный по отношению к узлу барабана между положением соприкосновения, в котором проявочный валик и барабан находятся в соприкосновении друг с другом, и разнесенным положением, блок приема движущей силы барабана, предусмотренный в узле барабана для приема, от основной сборки, движущей силы барабана для вращения барабана; подвижный элемент для перемещения проявочного узла между положением соприкосновения и разнесенным положением и блок приема движущей силы подвижного элемента, предусмотренный в узле барабана для приема, от основной сборки, движущей силы подвижного элемента для перемещения подвижного элемента. Технический результат – улучшение точности позиционирования между подвижным элементом для перемещения проявочного узла и проявочным узлом. 2 н. и 10 з.п. ф-лы, 12 ил.
ОБЛАСТЬ ТЕХНИКИ
Настоящее изобретение относится к электрофотографическому устройству формирования изображения и технологическому картриджу, съемным образом устанавливаемому в основную сборку устройства электрофотографического устройства формирования изображения.
УРОВЕНЬ ТЕХНИКИ
Электрофотографическое устройство формирования изображения представляет собой устройство формирования изображения на регистрирующем материале (например, обыкновенной бумаге, листе ОНР и т.п.) путем электрофотографического формирования изображения. Электрофотографическое устройство формирования изображения включает в себя электрофотографический копировальный аппарат, электрофотографический принтер (например, лазерно-лучевой принтер, светодиодный принтер и т.п.), факсимильный аппарат, текстовый процессор и т.п.
Одной из систем проявки, используемых с таким электрофотографическим устройством формирования изображения, является система контактной проявки. В системе контактной проявки электростатическое скрытое изображение, сформированное на фоточувствительном барабане, проявляется проявителем, в то время как проявочный валик приведен в соприкосновение с фоточувствительным барабаном. Если проявочный валик удерживается приведенным в соприкосновение с фоточувствительным барабаном в системе контактной проявки в течение длительного времени, проявочный валик будет деформирован.
Чтобы решить эту проблему, известно, что проявочный валик и фоточувствительный барабан располагаются на расстоянии друг от друга, за исключением времени операции формирования изображения (Выложенная заявка 2001-337511 на выдачу патента Японии). В такой конструкции пусковой механизм для отведения проявочного валика от фоточувствительного барабана предусмотрен в основной сборке электрофотографического устройства формирования изображения. Проявочный валик и фоточувствительный барабан размещены в узле формирования изображения. Узел формирования изображения устанавливается съемным образом в основную сборку устройства. Узел формирования изображения содержит проявочный узел для поддержки с возможностью вращения проявочного валика и узел барабана для поддержки с возможностью вращения фоточувствительного барабана. Когда узел формирования изображения установлен в основной сборке устройства, пусковой механизм отталкивает проявочный узел за исключением операции формирования изображения. При этом проявочный узел перемещается относительно узла барабана, в результате проявочный валик отводится от фоточувствительного барабана.
Однако размещение пускового механизма в основной сборке устройства приводит к проблеме. То есть должна приниматься во внимание точность позиционирования между пусковым механизмом и проявочным узлом.
КРАТКОЕ ИЗЛОЖЕНИЕ СУЩЕСТВА
Технической задачей настоящего изобретения является создание технологического картриджа и электрофотографического устройства формирования изображения, в котором, когда технологический картридж установлен в основной сборке электрофотографического устройства формирования изображения, улучшена точность позиционирования между подвижным элементом для перемещения проявочного узла и проявочным узлом.
Еще одной задачей настоящего изобретения является создание технологического картриджа и электрофотографического устройства формирования изображения, в котором упрощена установка технологического картриджа в основную сборку электрофотографического устройства формирования изображения.
Дополнительной задачей настоящего изобретения является создание картриджа, съемным образом устанавливаемого в основную сборку электрофотографического устройства формирования изображения, причем картридж содержит: электрофотографический фоточувствительный барабан; проявочный валик для проявки электростатического скрытого изображения, сформированного на электрофотографическом фоточувствительном барабане, с помощью проявителя, при соприкосновении с электрофотографическим фоточувствительным барабаном; узел барабана для поддержки электрофотографического фоточувствительного барабана, при этом упомянутый узел барабана позиционируется относительно основной сборки устройства, когда технологический картридж устанавливается в основную сборку устройства; проявочный узел, поддерживающий проявочный валик и перемещающийся вместе с узлом барабана между положением соприкосновения, в котором проявочный валик и электрофотографический фоточувствительный барабан соприкасаются друг с другом для проявки электростатического скрытого изображения, и разнесенным положением, в котором проявочный валик и электрофотографический фоточувствительный барабан разнесены в стороны друг от друга; блок приема движущей силы барабана, предусмотренный в узле барабана, для приема от основной сборки устройства движущей силы барабана для вращения электрофотографического фоточувствительного барабана, когда технологический картридж установлен в основной сборке устройства; подвижный элемент для перемещения проявочного узла между положением соприкосновения и разнесенным положением и блок приема движущей силы подвижного элемента, предусмотренный в узле барабана, для приема от основной сборки устройства движущей силы подвижного элемента для перемещения подвижного элемента, когда технологический картридж установлен в основной сборке устройства.
КРАТКОЕ ОПИСАНИЕ ЧЕРТЕЖЕЙ
Эти и другие задачи, признаки и преимущества настоящего изобретения представлены более подробно в последующем описании предпочтительных вариантов осуществления изобретения со ссылками на прилагаемые чертежи, на которых:
Фиг.1 изображает вид в разрезе электрофотографического устройства формирования изображения согласно изобретению;
Фиг.2 – общий вид электрофотографического устройства формирования изображения согласно изобретению;
Фиг.3 – общий вид технологического картриджа согласно изобретению;
Фиг.4 – общий вид в разрезе технологического картриджа согласно изобретению;
Фиг.5 – виды спереди узла барабана и проявочного узла согласно изобретению;
Фиг.6 – вид в разрезе технологического картриджа во время операции формирования изображения согласно изобретению;
Фиг.7 – вид в разрезе технологического картриджа во время, когда операция формирования изображения не выполняется согласно изобретению;
Фиг.8 – вид сбоку технологического картриджа согласно изобретению;
Фиг.9 – общий вид конструкции привода передачи подвижного элемента согласно изобретению;
Фиг.10 – вид в разрезе технологического картриджа во время транспортировки, когда он должен отгружаться согласно изобретению;
Фиг.11 – общий вид конструкции подшипника для зарядного валика согласно изобретению;
Фиг.12 – вид сбоку блока соприкосновения и отпускания согласно изобретению.
ОПИСАНИЕ НАИЛУЧШЕГО ВАРИАНТА ОСУЩЕСТВЛЕНИЯ ИЗОБРЕТЕНИЯ
Конструкция электрофотографического устройства формирования изображения.
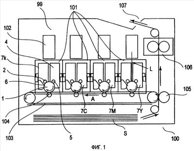
В электрофотографическое устройство 100 (фиг.1) формирования изображения технологический картридж 7 устанавливается съемным образом согласно варианту осуществления настоящего изобретения. Основная сборка устройства 99 устройства 100 формирования изображения снабжена четырьмя частями 101 установки картриджа для установки съемным образом картриджей (7Y, 7М, 7С, 7Bk). Части 101 установки скомпонованы параллельно в горизонтальном направлении, когда основная сборка устройства 99 закреплена. Каждый из картриджей 7 (7Y, 7М, 7С, 7Bk) содержит один электрофотографический фоточувствительный барабан. Картридж 7Y вмещает желтый проявитель. Картридж 7М вмещает пурпурный проявитель. Картридж 7С вмещает голубой проявитель. Картридж 7Bk вмещает черный проявитель. В этом варианте осуществления проявителем является немагнитный однокомпонентный тонер. Картриджи 7 скомпонованы в порядке 7Y, 7М, 7С и 7К сверху по потоку по направлению вниз по потоку относительно направления последовательности операций формирования изображения, а именно направления, указанного стрелкой А, то есть в направлении перемещения транспортной ленты 103, которая будет описана ниже. Фоточувствительный барабан 1 вращается в направлении по часовой стрелке частью 120 (фиг.3) передачи привода, предусмотренной в основной сборке устройства 99. Возле фоточувствительного барабана 1 предусмотрен зарядный валик 2, узел 102 сканера, проявочный 4 узел и транспортная лента 103 в порядке, названном по направлению его вращения. Зарядный валик 2 приведен в соприкосновение с фоточувствительным барабаном 1 для равномерного заряда периферийной поверхности фоточувствительного барабана 1. Узел 102 сканера проецирует лазерный пучок L на периферийную поверхность фоточувствительного барабана 1 на основе информации изображения. Как результат, на периферийной поверхности фоточувствительного барабана 1 формируется электростатическое скрытое изображение, соответствующее информации изображения. Проявочный узел 4 с возможностью вращения поддерживает проявочный валик 5. Проявочный валик 5 проявляет электростатическое скрытое изображение с помощью проявителя. Транспортная лента 103 вращается, прикасаясь к фоточувствительному барабану 1. Проявленное изображение, подготовленное на фоточувствительном барабане 1 средством проявки, электростатическим образом переносится на транспортную ленту 103. Средство 6 очистки удаляет проявитель, оставшийся на периферийной поверхности фоточувствительного барабана 1 после переноса изображения. Фоточувствительный барабан 1, зарядный валик 2, проявочный узел 4 и средство 6 очистки образуют единое целое (картридж).
Главный передаточный валик 104 предусмотрен в положении, противоположном фоточувствительному барабану 1, транспортная лента вставлена между ними. Главный передаточный валик 104 поджимает транспортную ленту 103 к фоточувствительному барабану 1. С правой стороны на фиг.1 транспортная лента 103 расположена напротив передаточного валика 105 и приведена в соприкосновение с ним. Регистрирующий материал S проходит через участок соприкосновения, где транспортная лента 103 приводится в соприкосновение с вспомогательным передаточным валиком 105. Проявленное изображение переносится на регистрирующий материал S с транспортной ленты 103 на участке соприкосновения.
Операция формирования изображения
Фоточувствительные барабаны 1 картриджей 7 вращаются, с соответственной привязкой по времени для формирований изображения, частью 120 передачи привода, предусмотренной в основной сборке устройства 99. В исходном положении, проявочный валик 5 отведен от фоточувствительного барабана 1. Однако проявочный валик 5 при вращении приводится в соприкосновение с фоточувствительным барабаном 1 при надлежащей привязке по времени при формировании изображения. Когда должно формироваться полноцветное изображение, операции приведения в соприкосновение между проявочными валиками 5 и фоточувствительными барабанами 1 выполняются в порядке: картридж 7Y, картридж 7М, картридж 7С и картридж 7Bk. Когда операция формирования полноцветного изображения заканчивается, операции разведения между ними выполняются в таком же порядке. Когда должно формироваться одноцветное изображение, операция приведения в соприкосновение осуществляется только в картридже 7Bk в начале формирования изображения, и только в картридже 7Bk совершается операция разведения. Конструкция для приведения в соприкосновение проявочного валика 5 с фоточувствительным барабаном 1 и для их разведения и конструкция для передачи привода будут описаны ниже более подробно. Затем узлы 102 сканеров приводятся в действие для соответствующих картриджей 7. Зарядный валик 2 вращается посредством вращения фоточувствительного барабана 1. К тому же зарядный валик 2 снабжается зарядным напряжением смещения. Как результат, периферийная поверхность фоточувствительного барабана 1 равномерно электрически заряжается. Узел 102 сканера проецирует лазерный пучок L, в соответствии с информацией изображения, на периферийную поверхность фоточувствительного барабана 1. Посредством этого электростатическое скрытое изображение формируется на периферийной поверхности фоточувствительного барабана 1. Проявочный валик 5, с возможностью вращения поддерживаемый в проявочном узле 4, проявляет электростатическое скрытое изображение с помощью проявителя. Посредством электрического поля, формируемого между каждым из фоточувствительных барабанов 1 и связанным главным передаточным валиком 104, проявленное изображение, сформированное на фоточувствительном барабане 1, последовательно переносится на транспортную ленту 103. После этого проявленные изображения четырех цветов, перенесенные таким образом на транспортную ленту 103, переносятся на регистрирующий материал S электрическим полем, сформированным между транспортной лентой 103 и вспомогательным передаточным валиком 105. Затем регистрирующий материал S подается в часть 106 фиксации. Проявляемое изображение термофиксируется на регистрирующем материале S. Затем регистрирующий материал S выгружается наружу устройства 100 формирования изображения через часть 107 выгрузки.
Установка технологического картриджа в основную сборку электрофотографического устройства формирования изображения.
Ниже приведено описание установки картриджа 7 (фиг.2) в основную сборку устройства 99. На передней стороне основной сборки устройства 99, предусмотрена крышка 108 основной сборки. С внутренней стороны крышки 108 основной сборки предусмотрена часть 101 установки картриджа для установки картриджа 7. Картридж 7 устанавливается в продольном направлении картриджа 7 (таком же направлении, как продольные направления фоточувствительного барабана 1 и проявочного валика 5) в часть 101 установки.
Технологический картридж
Картридж 7 (фиг.3) содержит узел 8 барабана и проявочный узел 2. Узел 8 барабана содержит фоточувствительный барабан 1, зарядный валик 2 и средство 6 очистки. Узел 8 барабана с возможностью вращения поддерживает фоточувствительный барабан 1 и зарядный валик. Проявочный узел 2 с возможностью вращения поддерживает проявочный валик 5. На противоположных торцах узла 8 барабана предусмотрены опорные части 42, соответственно, для поддержки с возможностью вращения проявочного узла 4. Узел 8 барабана с возможностью поворота поддерживает проявочный узел 4, благодаря валу 11, предусмотренному на опорной части. Другими словами, проявочный узел 4 является подвижным относительно узла 8 барабана. Кроме того, проявочный узел 4 и узел 8 барабана с возможностью вращения соединяются опорной частью 42. Картридж 7 содержит пружину 12 (прижимной элемент) для приложения прижимной силы (силы упругости) между узлом 8 барабана и проявочным узлом 4. Пружина 12 (фиг.6) имеет один конец, установленный в узле 8 барабана, а другой конец установлен в проявочном узле 4 (фиг.3). Посредством прижимной силы, проявочный валик 5 и фоточувствительный барабан 1 приводятся в соприкосновение друг с другом. Здесь прижимным элементом является пружина, но это не является ограничением, и он может быть другим элементом, если прижимная сила прикладывается между узлами.
Блок 9 приема движущей силы барабана предусмотрен на передней торцевой части узла 8 барабана по направлению установки картриджа 7 относительно основной сборки устройства 99. Блок 9 приема движущей силы выступает вперед за пределы рамы 81 узла 8 барабана по направлению установки. В этом варианте осуществления, блок 9 приема движущей силы выполнен в виде соединительного элемента (соединительного элемента стороны картриджа). Соединительный элемент содержит некруглый изогнутый выступ, имеющий поперечное сечение с множеством угловых частей. Основная сборка устройства 99 снабжена частью 120 передачи движущей силы. В этом варианте осуществления, часть 120 передачи движущей силы выполнена в виде соединительного элемента (соединительного элемента стороны картриджа). Соединительным элементом является некруглое изогнутое отверстие, имеющее поперечное сечение, содержащее множество угловых частей. В состоянии, в котором картридж 7 установлен в основную сборку устройства, блок 9 приема движущей силы принимает движущую силу для вращения фоточувствительного барабана 1 через блок передачи движущей силы. Более точно, когда картридж 7 установлен в основную сборку устройства 99, изогнутый выступ и изогнутое отверстие зацепляются для передачи движущей силы с части 120 передачи движущей силы на блок 9 приема движущей силы. В этом варианте осуществления при зацеплении соединительных элементов друг с другом движущая сила для вращения фоточувствительного барабана 1 принимается из основной сборки устройства 99. Соединительный элемент приводится в зацепление при продольном относительном движении, и поэтому соединительная конструкция не препятствует установке картриджа 7.
Ведущая сторона узла 8 барабана по направлению установки снабжена блоком 10 приема движущей силы подвижного элемента, которая с возможностью вращения установлена на нем. В этом варианте осуществления блок 10 приема движущей силы использует соединительный механизм. Блок 10 приема движущей силы и блок 9 приема движущей силы являются независимыми друг от друга. Блок 10 приема движущей силы расположена в позиции позади рамы 81 по направлению установки. Более точно, блок 10 приема движущей силы расположен в раме 81. Блок 10 приема движущей силы расположен позади блока 9 приема движущей силы по направлению установки. Таким образом блок 10 приема движущей силы может устойчиво принимать движущую силу. Блок 10 приема движущей силы принимает от основной сборки устройства 99 движущую силу для перемещения проявочного узла 4, чтобы приводить в соприкосновение проявочный валик 5 и фоточувствительный барабан 1 друг с другом и разносить их в стороны друг от друга. Блок 10 приема движущей силы содержит выступы 10а, 10b, которые выпущены к ведущей стороне по направлению установки. Выступы 10а, 10b (фиг.8) выставлены наружу рамы 81. Блок 10 приема движущей силы содержит шестеренчатую часть 10с (фиг.9). Шестеренчатая часть 10с расположена позади выступов 10а, 10b по направлению установки. Шестеренчатая часть 10с передает движущую силу, принимаемую блоком 10 приема движущей силы, на кулачок 19, который будет описан ниже. Далее будет описана конструкция передачи привода для приведения в соприкосновение фоточувствительного барабана 1 и проявочного ролика 5 друг с другом и разнесения их в стороны друг от друга.
Конструкция для приведения в соприкосновение и отведения проявочного валика.
На Фиг.4 показан картридж 7 на виде изнутри, где фоточувствительный барабан 1 частично разобран. Показана одна продольная торцевая часть картриджа 7, но конструкция на другом торце подобна ей. В этом варианте осуществления конструкции картриджей 7 для соответственных цветов являются идентичными, за исключением цветов тонера, содержащегося в них.
Проявочный валик 5 содержит металлический вал 50 и эластичный элемент 51, покрывающий периферийную поверхность металлического вала 50. Вал 50 и эластичный элемент 51, например, отформованы как одно целое. Эластичный элемент 51 может быть монослоем твердого каучука или слоем твердого каучука, покрытым полимерным материалом.
Цилиндрический валик 13 с возможностью вращения предусмотрен на противоположных концах металлического вала 50. Валик 13 имеет наружный диаметр, который немного меньше, чем наружный диаметр проявочного валика 5. Валик 13 удерживается в соприкосновении с периферийной поверхностью фоточувствительного барабана 1 во время формирования изображения. При действии таким образом, степень проникновения (глубина вдавливания) фоточувствительного барабана 1 в эластичный элемент 51 поддерживается на определенном уровне.
Между проявочным узлом 4 и узлом 8 барабана предусмотрен кулачок 19 (подвижный элемент). Более точно, при просмотре в направлении установки, кулачок 19, по существу, расположен между проявочным валиком 5 и зарядным валиком 2. Более точно, при просмотре в направлении установки кулачок 19 расположен в области, определяемой осью проявочного валика 5, осью зарядного валика, осью фоточувствительного барабана 1 и осью вала 11 (область R определена штрихпунктирной линией на фиг.6, 7). Таким образом, кулачок 19 не требует дополнительного пространства. Это уменьшает габариты картриджа 7. Это ведет к уменьшению габаритов основной сборки устройства 99. Узел 8 барабана снабжен валом 14, проходящим параллельно фоточувствительному барабану 1. Вал 14 проходит от одного торца до другого торца узла 8 барабана вдоль узла 8 барабана. Кулачок 19 (19а, 19b) является приспособлением на каждом из одного и другого торцевых концов вала 14 по его продольному направлению. Противоположные концы вала 14 с возможностью вращения поддерживаются рамой 81 узла 8 барабана. Более точно, в продольном направлении вала 14, он поддерживается рамой 81 в положениях снаружи кулачка 19. Другими словами, кулачок 19 предусмотрен внутри рамы 81 в продольном направлении. Посредством такого расположения кулачка 19 картридж 7 имеет меньшие габариты. Лазерный пучок L, проецируемый из узла 102 сканера, проходит между зарядным валиком 2 и валом 14. Кулачок 19 обращен к поверхности 15, на которую нажимает, предусмотренной на боковой поверхности проявочного узла 4 в торцевых частях проявочного узла 4 в продольном направлении. Вал 14 снабжен выступом 20. Выступ 20 расположен в позиции, более близкой к сдвигу центральной части в продольном направлении вала 14, чем кулачок 19. Выступ 20 действует, чтобы отпускать соприкосновение между зарядным валиком 2 и фоточувствительным барабаном 1. Конструкция и функционирование отпускания соприкосновения зарядного валика 2 будут описаны ниже.
На фиг.6 показано состояние, в котором проявочный валик 5 и фоточувствительный барабан 1 находятся в соприкосновении друг с другом вдоль продольного направления. В материалах настоящей заявки положение проявочного узла 4 относительно узла 8 барабана в состоянии, в котором проявочный узел 5 и фоточувствительный барабан 1 находятся в соприкосновении друг с другом вдоль продольного направления, названо «положением соприкосновения». На фиг.7 показано состояние, в котором проявочный валик 5 отнесен от фоточувствительного барабана 1. В материалах настоящей заявки положение проявочного узла 4 относительно узла 8 барабана в состоянии, в котором проявочный узел 5 и фоточувствительный барабан 1 разнесены друг от друга, названо «разнесенным положением». Кулачок 19 имеет часть 191 большого диаметра и часть 192 малого диаметра. Когда часть 191 большого диаметра расположена под углом, где она противоположна поверхности 15, на которую нажимают, часть 191 большого диаметра находится в соприкосновении с поверхностью 15. Часть 191 большого диаметра поджимает поверхность 15, по существу, в горизонтальном направлении. В это время, проявочный узел 4 расположен в разнесенном положении (фиг.7). А проявочный валик 5 отведен или отнесен от фоточувствительного барабана 1. На фиг.7 расстояние разнесения обозначено «m». В этом варианте осуществления конфигурация кулачка 19 задана из условия, чтобы разнесение составляло около 1 мм. Блок 10 приема движущей силы принимает движущую силу для поворачивания кулачка 19 из основной сборки устройства 99. При действии таким образом кулачок 19 поворачивается в направлении против часовой стрелки против силы упругости пружины 12 из положения, где часть 191 большого диаметра приведена в соприкосновение с поверхностью 15. При этом проявочный узел 4 поворачивается в направлении против часовой стрелки вокруг вала 11 посредством силы упругости пружины 12. С поворотом проявочного узла 4 разнесение постепенно уменьшается. При этом часть 192 малого диаметра находится напротив поверхности 15. В результате проявочный узел 4 перемещается из разнесенного положения в положение соприкосновения (фиг.6). При этом состоянии проявочный валик 5 приведен в соприкосновение с фоточувствительным барабаном 1. Более точно, когда кулачок 19 поворачивается до 180° из положения, где часть 191 большого диаметра приведена в соприкосновение с поверхностью 15, часть 192 малого диаметра расположена напротив поверхности 15. В результате проявочный узел 4 перемещается из разнесенного положения в положение соприкосновения. Когда проявочный узел 4 находится в положении соприкосновения, кулачок 19 полностью отведен от поверхности 15. Подводя итог вышесказанному, в состоянии, в котором картридж 7 установлен в основную сборку устройства 99, проявочный узел 4 попеременно принимает положение соприкосновения (фиг.6) и разнесенное положение (фиг.7) посредством поворота на 180° кулачка 19. Таким образом, кулачок 19 поворачивается, чтобы перемещать проявочный узел 4 в и из положения соприкосновения и разнесенного положения.
Конфигурация внешней периферии кулачка 19 является симметричной относительно некоторой линии. Посредством этого соприкосновение и разнесение между проявочным валиком 5 и фоточувствительным барабаном 1 выполняются в одно и то же время, независимо от того, является ли направление вращения кулачка 19 по часовой стрелке или против часовой стрелки. В дополнение, конфигурация внешней периферии кулачка 19 является гладкой кривой. Поэтому влияние на получаемое изображение воздействием соприкосновения и разнесения может быть минимизировано. Более точно, когда они приводятся в соприкосновение друг с другом, поверхность 15 постепенно опускается по гладко искривленной поверхности кулачка 19 в соответствии с поворотом кулачка 19 силой упругости пружины 12. Поэтому вибрация при соприкосновении между ними может быть уменьшена. Когда картридж 7 отгружается и транспортируется в одиночку, часть 191 большого диаметра удерживается напротив поверхности 15 посредством установки положения кулачка 19. Поверхность 15 является плоской поверхностью, а участок части 191 большого диаметра соответственно сконфигурирован в плоскую поверхность. Когда картридж 7 отгружается или транспортируется, плоские поверхности удерживаются приведенными в соприкосновение и поджимаются узлами 4, 8, из условия чтобы плоские поверхности прижимались друг к другу силой упругости пружины 12. При этом кулачок 19 предохраняется от непреднамеренного поворота. Таким образом, непреднамеренное поворачивание кулачка 19 во время транспортировки картриджа 7 предотвращено, даже при вибрации. Таким образом, соприкосновение между проявочным валиком 4 и фоточувствительным барабаном 1 предотвращено во время транспортировки картриджа 7. Когда картридж 7 установлен в основную сборку устройства 99, а кулачок 19 поворачивается движущей силой, передаваемой от основной сборки устройства 99, проявочный узел переводится в положение соприкосновения из разнесенного положения. Таким образом согласно варианту осуществления деформация эластичного элемента 51, которая может вызываться удерживанием в течение длительного времени фоточувствительного барабана 1 и проявочного валика 5, приведенными в соприкосновение друг с другом вдоль продольного направления, может сдерживаться. Поскольку кулачок 19 расположен внутри рамы 71 картриджа 7, величина смещения кулачка 19 для перемещения проявочного узла 4 между положением соприкосновения и разнесенным положением меньше по сравнению со случаем, в котором кулачок 19 расположен в основной сборке устройства 99. Как описано в вышеизложенном, кулачок 19 расположен в области R (а именно, прилегающей к проявочному валику 5 и фоточувствительному барабану 1). Поэтому, при определении величины разнесения между проявочным валиком и фоточувствительным барабаном 1, внимание, которое должно уделяться величине деформации частей, таких как рама 71, и влиянию допуска и т.п., может быть минимизировано.
В этом варианте осуществления в качестве примера был описан подвижный элемент, являющийся кулачком. Однако подвижный элемент не является обязательно кулачковым механизмом, а может быть кривошипно-шатунным механизмом. Движение подвижного элемента не ограничено поворотным движением, а может быть линейным движением. Как описано выше, в варианте осуществления посредством использования поворотного движения кулачка, пространство, требуемое для механизма, может быть уменьшено.
В этом варианте осуществления сила для перемещения проявочного узла 4 из положения соприкосновения в разнесенное положение является толкающей силой кулачка 19 в отношении части 15. Сила для перемещения проявочного узла 4 из разнесенного положения в положение соприкосновения является силой упругости пружины 12. Однако силы для передвижений не ограничены этими примерами, и они могут происходить наоборот, то есть первая может быть толкающей силой, а последняя может быть силой упругости. Подводя итог вышесказанному, силы формируются при перемещении подвижного элемента. Конструкция, посредством которой подвижный элемент перемещает проявочный узел между положением соприкосновения и разнесенным положением, не ограничена комбинацией кулачка и пружины. Пригодна любая конструкция, если проявочный узел перемещается между положением соприкосновения и разнесенным положением в соответствии с перемещением подвижного элемента. Например, пригодным является кривошипно-шатунный механизм. Однако конструкция по этому варианту осуществления, в которой проявочный узел 4 перемещается в разнесенное положение кулачком 19 и проявочный узел 4 перемещается в положение соприкосновения пружиной 12, предпочтительна, поскольку в таком случае стабилизируется величина проникновения (глубина вдавливания) фоточувствительного барабана в проявочный валик 5.
Передача привода для подвижного элемента
На Фиг.8 показан вид сбоку передней части технологического картриджа 7 по направлению установки. Когда картридж 7 устанавливается в основную сборку устройства 99, узел 8 барабана правильно позиционируется относительно основной сборки устройства 99. Более точно, первая часть 82, которая должна позиционироваться, и вторая часть 83, которая должна позиционироваться, предусмотрены на нижней стороне узла 8 барабана на ведущей стороне узла 8 барабана по направлению установки. Нерабочая сторона по направлению установки, первая часть 82, которая должна позиционироваться и вторая часть 83, которая должна позиционироваться, подобным образом предусмотрены на узле 8 барабана. Когда картридж 7 устанавливается в часть 101 установки, первая часть 82, которая должна позиционироваться, и вторая часть 83, которая должна позиционироваться, располагаются, относительно основной сборки устройства 99, на ведущей стороне по направлению установки.
Ведущая сторона узла 8 барабана снабжена частью 84 предотвращения вращения. Часть предотвращения вращения присоединяется в притык к части предотвращения вращения (не показана), предусмотренной в основной сборке устройства, так что узел 8 барабана предохраняется от вращения в направлении, пересекающем направление установки. Часть 84 предотвращения вращения, таким образом, предохраняет узел 8 барабана от вращения вокруг блока 9 приема движущей силы. Ведущая сторона узла 8 барабана по направлению установки снабжена блоком 10 приема движущей силы подвижного элемента, которая с возможностью вращения установлена в нем. Посредством блока 10 приема движущей силы в узле 8 барабана, расположенного в основной сборке устройства 99, движущая сила для перемещения проявочного узла может приниматься устойчиво. Более того, блок 10 приема движущей силы расположен внутри окружности, которая очерчена вокруг центра вращения блока 9 приема движущей силы, с радиусом, который равен кратчайшему расстоянию между центром вращения и частью 84 предотвращения вращения. При действии таким образом, положение блока 10 приема движущей силы для приема движущей силы может быть устойчивым.
Кроме того, узел 8 барабана снабжен на ведущей стороне по направлению установки шестерней 17 подвижного элемента, которая является вращаемой. Шестерня 17 расположена на продольном торце вала 14. Шестерня 17 находится в зацеплении с шестеренчатой частью 10с блока 10 приема движущей силы через промежуточную шестерню 18. Количества зубьев шестерни 17 и шестеренчатой части 10с равны друг другу, а более точно, составляют 16 в этом варианте осуществления. Посредством этого, когда шестеренчатая часть 10с проворачивается на один полный оборот, шестерня 17 также проворачивается на один полный оборот. Таким образом, частоты вращения блока 10 приема движущей силы и вала 14 соответствуют друг другу. Вал 14 вращается посредством вращения шестерни 17. Вращение вала 14 вращает кулачок 19. Кулачок 19 зафиксирован на одном и другом концах вала 14. В этом варианте осуществления блок 10 приема движущей силы имеет место в виде соединения (соединения картриджа). Соединение содержит первый выступ 10а и второй выступ 10b выступающие вперед по направлению установки. Первый выступ 10а и второй выступ 10b в виде дуг имеют одинаковые радиусы, но разные углы изгиба. Первый выступ 10а и второй выступ 10b выставлены в виде вилки. Угол изгиба первого выступа 10а составляет 150°, а угол изгиба второго выступа 10b составляет 90°.
С другой стороны, как показано на фиг.9, основная сборка устройства 99 содержит часть 108 передачи движущей силы для передачи движущей силы на блок 10 приема движущей силы. В этом варианте осуществления, блок 108 передачи движущей силы выполнен в виде соединения (соединения основной сборки). Когда картридж 7 установлен в основную сборку устройства 99, часть 108 передачи находится напротив блока 10 приема движущей силы. Соединение (упомянутая часть 108 передачи) содержит два выступа, которые являются дугами, имеющими одинаковые радиусы. Два выступа выставляются в виде вилки. Два выступа имеют место в виде дуг, которые немного меньше, чем изгиб выемки между первым выступом 10а и вторым выступом 10b блока 10 приема движущей силы. Блок 10 приема движущей силы входит в зацепление только при определенном угловом соотношении относительно части 108 передачи.
Внутренняя сторона части 108 передачи снабжена частью 108а D-образного отверстия (не показана). Вращающийся вал 109 снабжен D-образным выступом 109а. Часть 108 передачи поддерживается на вращающемся валу 109 с возможностью скольжения в осевом направлении вращающегося вала 109. Часть 108 передачи поджимается к картриджу 7 пружиной 110 сжатия, расположенной соосно с вращающимся валом 109. Свободная торцевая часть вращающегося вала 109 снабжена Е-образным кольцом 111. E-образное кольцо 111 предназначено для предохранения части 108 передачи от отцепления от вращающегося вала 109.
Прижимная сила пружины 110 задана, чтобы формировать минимальную прижимную силу для предоставления возможности скользить части 108 передачи. С другой стороны, по направлению вращения вращающегося вала 109, часть 108 передачи и вращающийся вал 109 вращаются как одно целое посредством зацепления между частью 108а отверстия и выступом 109а. Вращающийся вал 109 с возможностью вращения опирается на металлическую пластину 113 через элемент 112 подшипника. Элемент 112 подшипника и металлическая пластина 113 предусмотрены в основной сборке устройства 99. Вращающийся вал 109 соединен с шестерней 114, так что вращающийся вал 109 и шестерня 14 вращаются как одно целое. Шестерня 114 находится в зацеплении с шестерней электродвигателя (не показана). Основная сборка устройства 99 снабжена датчиком (не показан) для определения угла поворота шестерни 114 при 0° и при 180°.
Ниже описана операция зацепления между частью 108 передачи и блоком 10 приема движущей силы. Если угловые положения блока 10 приема движущей силы и частью 108 передачи не совпадают, когда картридж 7 устанавливается в основную сборку устройства 99, часть 108 передачи оттягивается в осевом направлении вращающегося вала 109. Посредством вращения электродвигателя (не показан), вращающийся вал 109 и часть 108 передачи вращаются как одно целое. Электродвигатель предусмотрен в основной сборке устройства 99. Когда часть 108 передачи поворачивается в угловое положение, соответствующее блоку 10 приема движущей силы, часть 108 передачи перемещается по направлению к блоку 10 приема движущей силы посредством прижимной силы пружины 110. Затем зацепление между частью 108 передачи и блоком 10 приема движущей силы завершается. Таким образом, движущую силу удобно передать с части 108 передачи на блок 10 приема движущейся силы.
Таким образом, только посредством установки картриджа 7 в основную сборку устройства 99 в направлении установки и вращения электродвигателя, часть 108 передачи и блок 10 приема движущей силы приводятся в зацепление друг с другом. Поэтому по сравнению со случаем, в котором шестерни используются для зацепления между частью 108 передачи и блоком 10 приема движущей силы, отдельная операция зацепления не является необходимой. Вследствие использования соединительного элемента для передачи привода между частью 108 передачи и блоком 10 приема движущей силы, они зацепляются в продольном направлении. Поэтому передаточный механизм не затрудняет манипуляцию установки картриджа 7 в основную сборку устройства 99.
Часть 108 передачи и блок 10 приема движущей силы зацепляются друг с другом только при определенном угловом соотношении, а частота вращения блока 10 приема движущей силы и частота вращения подвижного элемента 14 полностью соответствуют друг другу. Поэтому угол подвижного элемента 14 определяется датчиком, а операция управления выполняется соответствующим образом. Более точно, с использованием датчика возможна операция управления при условии, чтобы проявочный валик 5 и фоточувствительный барабан 1 приводились в соприкосновение друг с другом во время операции формирования изображения, и проявочный валик 5 и фоточувствительный барабан 1 разносились друг от друга в других обстоятельствах. В этом случае можно избежать возможную остаточную деформацию эластичного элемента проявочного валика 5. Когда операция формирования изображения не выполняется, проявочный валик 5 не вращается, таким образом минимизируя время обращения. Срок службы картриджа 7 может быть продлен.
Согласно этому варианту осуществления, посредством размещения в картридже 7 кулачка 19 для приведения в соприкосновение и разнесения проявочного валика 5 и фоточувствительного барабана 1, нет никакой необходимости в пространстве, которое должно занимать кулачок 19 в основной сборке устройства 99. В частности, в этом варианте осуществления картридж 7 устанавливается в основную сборку устройства 99 в направлении, которое параллельно с проявочным валиком 5, а кулачок 19 располагается, по существу, между проявочным узлом 4 и узлом 8 барабана. Поэтому картридж 7 может быть уменьшен в габаритах, даже по сравнению со случаем, в котором элемент для перемещения проявочного узла 4 расположен вне картриджа 7.
В этом варианте осуществления, в конструкции для передачи движущей силы на фоточувствительный барабан 1 и в конструкции для передачи движущей силы на кулачок 19 используется соединительный механизм, но это не является обязательным. Например, шестерни могут быть использованы взамен соединительного механизма. Направление соединения не является обязательно таким же, как направление установки картриджа 7 в основную сборку устройства 99. Более точно, картридж 7 может устанавливаться в основную сборку устройства 99 в направлении, пересекающемся с продольным направлением картриджа 7. Однако, с помощью вышеприведенных конструкций, обеспечивается результат, указанный выше.
Приведение в соприкосновение и отпускание зарядного валика
Ниже приведено описание механизма для приведения в соприкосновение и отпускания между зарядным валиком 2 и фоточувствительным барабаном 1.
На фиг.11 показана конструкция для поддержки вала зарядного валика 2. На фиг.10 показан общий вид с продольного торца зарядного валика 2, причем для простоты показан только один торец.
Зарядный валик 2 (фиг.11) содержит металлический вал 2b и эластичный элемент 2а, которые выполнены за одно целое. Один торец продольного направления снабжен элементом 21 подшипника в виде колпачка. Элемент 21 подшипника с возможностью вращения 1 поддерживает металлический вал 2b. Боковая поверхность элемента 21 подшипника снабжена направляющим пазом 210 для направления элемента 21 подшипника. Направляющий паз 210 скользит вдоль направляющего ребра, сформированного на раме 81 узла 8 барабана. Таким образом, зарядный валик 2 является подвижным в направлении, параллельном плоской пластине, включающей в себя ось зарядного валика 2 и ось фоточувствительного барабана 1. Пружина 23 установлена на раме 81 и поджимает элемент 21 подшипника к фоточувствительному барабану 1, при этом зарядный валик 2 и фоточувствительный барабан приводятся в соприкосновение друг с другом.
Блок 16 приведения в соприкосновение и отпускания, который ниже будет называться просто «блок», с возможностью вращения поддерживается на металлическом валу 2b. Пространственная ориентация блока 16, при которой зарядный валик 2 приводится в соприкосновение с фоточувствительным барабаном 1, обеспечивая операцию формирования изображения, называется «первой пространственной ориентацией». А положение зарядного валика 2 относительно фоточувствительного барабана 1 в таком состоянии названо «первым положением». Пространственная ориентация блока 16, при которой зарядный валик 2 отнесен от фоточувствительного барабана 1, названа «второй пространственной ориентацией». А положение зарядного валика 2 относительно фоточувствительного барабана 1 в таком состоянии названо «вторым положением».
Блок 16 размещен между эластичным элементом 2а и элементом 21 подшипника. На фиг.12 показана конфигурация блока 16. Окружность, показанная прерывистой линией, является наружным диаметром зарядного валика 2. Отверстие 16а, сформированное в центральной части блока 16, подогнано с металлическим валом 2b. Наружная поверхность блока 16 содержит первую наружную поверхность 16b и вторую наружную поверхность 16с. Первая наружная поверхность 16b находится в области вне наружной поверхности зарядного валика 2 по радиальному направлению зарядного валика 2. Вторая наружная поверхность 16 расположена в области внутри наружной поверхности зарядного валика 2 по радиальному направлению. Когда картридж 7 должен использоваться, вторая наружная поверхность 16 с находится напротив фоточувствительного барабана 1. В это время зарядный валик 2 нажимает на фоточувствительный барабан 1.
Как показано на фиг.10, когда первая наружная поверхность 16b находится напротив фоточувствительного барабана 1, первая наружная поверхность 16b касается фоточувствительного барабана 1. При этом зарядный валик 2 отводится от фоточувствительного барабана, т.е. прикосновение зарядного валика 2 к фоточувствительному барабану 1 отпускается. Первая наружная поверхность 16b имеет криволинейную поверхность с такой же кривизной, как кривизна фоточувствительного барабана 1. Поэтому, когда блок 16 неподвижен во второй пространственной ориентации, положение блока 16 является устойчивым. Таким образом, блок 16 предохраняется от отклонения от второй пространственной ориентации при вибрациях, сообщаемых во время транспортировки картриджа 7.
Блок 16 имеет выступ 16d. Выступ 16d выставляется по направлению к позиции вала 14, когда он принимает первую пространственную ориентацию. Вал 14 снабжен выступом 20 в позиции, противостоящей выступу 16d. Как показано на фиг.5, выступ 20 расположен в позиции, более близкой к центру картриджа 7, чем кулачок 19, по продольному направлению картриджа 7. Выступ 20 и поверхность 15 отклонены по положению в продольном направлении. Поэтому выступ 20 и поверхность 15, на которую нажимают, не мешают друг другу. Аналогично, кулачок 19 и блок 16 отклонены в положении по продольному направлению. Значит, кулачок 19 и блок 16 не мешают друг другу.
На фиг.9 показано состояние картриджа 7 перед установкой в основную сборку устройства 99. Проявочный валик 5 и фоточувствительный барабан 1 разнесены друг от друга с определенным зазором m. Кроме того, зарядный валик 2 и фоточувствительный барабан 1 разнесены друг от друга с зазором n. Таким образом, зарядный валик 2 находится во втором положении. При этом вал 14 вращается в направлении против часовой стрелки, выступ 20 вала 14 приводится в соприкосновение с выступом 16d. Блок 16 вращается в направлении по часовой стрелке вокруг оси зарядного валика 2. И блок 16 принимает первую пространственную ориентацию, при которой вторая наружная поверхность 16с находится напротив фоточувствительного барабана 1. Зарядный валик 2 освобождается от ограничения первой наружной поверхностью 16b. В результате зарядный валик 2 поджимается к фоточувствительному барабану 1 прижимной силой пружины 23.
Прижим между кулачком 19 и поверхностью 15, на которую нажимают, ослабляется, так что проявочный валик 5 и фоточувствительный барабан 1 разносятся друг от друга, одновременно с прижиманием зарядного валика 2 к фоточувствительному барабану 1. Посредством этого, проявочный валик 5 и фоточувствительный барабан 1 приводятся в соприкосновение друг с другом. Таким образом возможна операция формирования изображения. Как только блок занимает первую пространственную ориентацию, пространственная ориентация блока 16 поддерживается стопором 16е вращения и гребнем, сформированным границей между первой наружной поверхностью 16b и второй наружной поверхностью 16с. Когда принимается первая пространственная ориентация, блок 16 не пересекается с радиусом вращения выступа 20 вала 14.
Когда картридж 7 (фиг.10) отгружается в одиночку, зарядный валик 2 удерживается от соприкосновения с фоточувствительным барабаном 1. В таком состоянии пользователь устанавливает картридж 7 в основную сборку устройства 99. В начальной стадии эксплуатации основной сборки устройства 99, часть 108 передачи движущей силы поворачивается в определенном направлении. При этом (фиг.6, 7) зарядный валик 2 приводится в соприкосновение с фоточувствительным барабаном 1.
Соответственно, возможная деформация зарядного валика 2 и возможное возникновение памяти на фоточувствительном барабане 1, которые вызваны вибрациями картриджа 7 или долговременным хранением картриджа 7, когда картридж 7 отгружается (в частности, картридж 7 отгружается в одиночку) исключается. В дополнение, зарядный валик 2 может автоматически вводиться в состояние прижатия для возможности формирования изображения без возложения обременительных операций на пользователя.
В этом варианте осуществления зарядный валик 2 и фоточувствительный барабан 1 полностью разнесены во втором положении. Однако полное разнесение не является неизбежным. Более точно, будет достаточным, если расстояние между осью фоточувствительного барабана 1 и осью зарядного валика 2 является большим во втором положении, чем в первом положении. Посредством блока 16, принимающего часть прижимной силы, прикладываемой между фоточувствительным барабаном 1 и зарядным валиком 2, возможные проблемы (остаточная деформация зарядного валика 2 или память, созданная на фоточувствительном барабане), могут быть ослаблены. Однако, когда они полностью разнесены, эти проблемы могут быть устранены полностью.
В этом варианте осуществления проявочный узел 4 имеет конструкцию, описанную выше. Однако проявочный узел не ограничен такой конструкцией. Например, проявочный узел может обладать только функцией поддержки проявочного валика 5.
Конструкция технологического картриджа не ограничена вышеизложенным. Например, элемент очистки в качестве средства обработки и/или зарядный валик могут быть опущены. Технологический картридж согласно настоящему изобретению включает в себя по меньшей мере электрофотографический фоточувствительный барабан и проявочный валик в качестве средства обработки.
ПРОМЫШЛЕННАЯ ПРИМЕНИМОСТЬ
Согласно настоящему изобретению, как описано выше, повышена точность позиционирования между проявочным узлом и подвижным элементом, который является подвижным для перемещения проявочного узла, когда технологический картридж устанавливается в основную сборку электрофотографического устройства формирования изображения.
Кроме того, упрощен процесс установки технологического картриджа в основную сборку электрофотографического устройства формирования изображения.
Несмотря на то что изобретение было описано со ссылкой на конструкции, раскрытые в материалах настоящей заявки, оно не ограничено изложенным, а включает модификации, которые находятся в пределах усовершенствований и объема формулы изобретения.
Формула изобретения
1. Технологический картридж, съемным образом устанавливаемый в основную сборку электрофотографического устройства формирования изображения, содержащий электрофотографический фоточувствительный барабан, проявочный валик для проявки электростатического скрытого изображения, сформированного на электрофотографическом фоточувствительном барабане с помощью проявителя при соприкосновении с электрофотографическим фоточувствительным барабаном; узел барабана для поддержки электрофотографического фоточувствительного барабана, при этом узел барабана позиционируется относительно основной сборки устройства, когда технологический картридж устанавливается в основную сборку устройства, проявочный узел, поддерживающий проявочный валик и подвижный относительно узла барабана между положением соприкосновения, в котором проявочный валик и электрофотографический фоточувствительный барабан находятся в соприкосновении друг с другом для проявки электростатического скрытого изображения, и разнесенным положением, в котором проявочный валик и электрофотографический фоточувствительный барабан разнесены в стороны друг от друга, блок приема движущей силы барабана, размещенный в узле барабана, для приема от основной сборки устройства движущей силы барабана для вращения электрофотографического фоточувствительного барабана, когда технологический картридж установлен в основной сборке устройства, подвижный элемент для перемещения проявочного узла между положением соприкосновения и разнесенным положением, и блок приема движущей силы подвижного элемента, размещенный в узле барабана, для приема от основной сборки устройства движущей силы подвижного элемента для перемещения подвижного элемента, когда технологический картридж установлен в основной сборке устройства.
2. Технологический картридж по п.1, отличающийся тем, что основная сборка устройства содержит соединение основной сборки, при этом блок приема движущей силы подвижного элемента является соединением картриджа, которое взаимодействует с соединением основной сборки для приема движущей силы подвижного элемента от соединения основной сборки в положении, когда указанный узел барабана установлен в заданном положении (позиционирован) относительно основной сборки устройства.
3. Технологический картридж по любому из пп.1 или 2, отличающийся тем, что основная сборка устройства содержит блок передачи движущей силы узла барабана, при этом блок приема движущей силы узла барабана взаимодействует с блоком передачи движущей силы узла барабана для приема усилия узла барабана от блока передачи движущей силы узла барабана в положении, когда указанный узел барабана установлен в заданном положении (позиционирован) относительно основной сборки устройства.
4. Технологический картридж по п.1, отличающийся тем, что подвижный элемент размещен между узлом барабана и проявочным узлом.
5. Технологический картридж по п.3, отличающийся тем, что технологический картридж установлен съемным образом в основной сборке устройства в продольном направлении электрофотографического фоточувствительного барабана, при этом блок приема движущей силы барабана и блок приема движущей силы подвижного элемента расположены на ведущей торцевой части технологического картриджа по направлению установки, а технологический картридж устанавливается в основную сборку устройства.
6. Технологический картридж по п.5, отличающийся тем, что блок приема движущей силы подвижного элемента находится позади блока приема движущей силы барабана по направлению установки.
7. Технологический картридж по п.5, отличающийся тем, что технологический картридж содержит зарядный валик, поддерживаемый в узле барабана, для зарядки периферийной поверхности электрофотографического фоточувствительного барабана, а узел барабана и проявочный узел соединены с возможностью вращения вокруг вала, причем при просмотре в направлении установки подвижный элемент расположен в области, по существу, окруженной осью электрофотографического фоточувствительного барабана, осью валика, осью зарядного валика и осью вала.
8. Технологический картридж по п.3, отличающийся тем, что подвижный элемент содержит кулачок, который вращается при воздействии движущей силы кулачка, которая является движущей силой подвижного элемента, от основной сборки устройства, перемещая проявочный узел из положения соприкосновения в разнесенное положение.
9. Технологический картридж по п.3, отличающийся тем, что дополнительно содержит элемент для приложения силы упругости между узлом барабана и проявочным узлом для перемещения проявочного узла из разнесенного положения в положение соприкосновения.
10. Технологический картридж по п.1, отличающийся тем, что дополнительно содержит зарядный валик для зарядки электрофотографического фоточувствительного барабана, причем зарядный валик является подвижным между первым положением для соприкосновения с электрофотографическим фоточувствительным барабаном, чтобы заряжать электрофотографический фоточувствительный барабан, и вторым положением, в котором расстояние между осью электрофотографического барабана и осью зарядного валика больше, чем расстояние между ними, когда зарядный валик занимает первое положение, и подвижный элемент зарядного валика для перемещения зарядного валика из второго положения в первое положение, при этом подвижный элемент зарядного валика предназначен для перемещения зарядного валика из второго положения в первое положение во взаимосвязи с перемещением подвижного элемента.
11. Технологический картридж по п.1, отличающийся тем, что блок приема движущей силы барабана и блок приема движущей силы подвижного элемента используются независимо друг от друга.
12. Электрофотографическое устройство формирования изображения для формирования изображения на регистрирующем материале, в котором технологический картридж устанавливается съемным образом, содержащее i) часть размещения; ii) часть передачи движущей силы барабана; iii) часть передачи движущей силы подвижного элемента; технологический картридж, содержащий электрофотографический фоточувствительный барабан, проявочный валик для проявки электростатического скрытого изображения, сформированного на электрофотографическом фоточувствительном барабане с помощью проявителя при соприкосновении с электрофотографическим фоточувствительным барабаном, узел барабана для поддержки электрофотографического фоточувствительного барабана, при этом узел барабана позиционируется относительно части позиционирования, когда технологический картридж устанавливается в основную сборку устройства, проявочный узел, поддерживающий проявочный валик и подвижный относительно узла барабана между положением соприкосновения, в котором проявочный валик и электрофотографический фоточувствительный барабан находятся в соприкосновении друг с другом для проявки электростатического скрытого изображения, и разнесенным положением, в котором проявочный валик и электрофотографический фоточувствительный барабан разнесены друг от друга, блок приема движущей силы барабана, размещенный в узле барабана, для приема от части приема движущей силы барабана движущей силы для вращения электрофотографического фоточувствительного барабана, когда технологический картридж установлен в основной сборке устройства, подвижный элемент, установленный с возможностью перемещения проявочного узла между положением соприкосновения и разнесенным положением, и блок приема движущей силы подвижного элемента, размещенный в узле барабана для приема от части передачи движущей силы подвижного элемента движущей силы подвижного элемента для перемещения подвижного элемента, когда технологический картридж установлен в основной сборке устройства.
РИСУНКИ
|
|