|
|
(21), (22) Заявка: 2008121062/06, 26.05.2008
(24) Дата начала отсчета срока действия патента:
26.05.2008
(46) Опубликовано: 20.12.2009
(56) Список документов, цитированных в отчете о поиске:
RU 2206029 C1, 10.06.2003. RU 2126942 C1, 27.02.1999. RU 2013729 C1, 30.05.1994. RU 2066029 C1, 27.08.1996. US 2007101607 A1, 10.05.2007.
Адрес для переписки:
650026, г.Кемерово, ул. Весенняя, 28, ГУКузГТУ, информационно-патентный отдел, С.Ф. Целуйко, до востребования
|
(72) Автор(ы):
Ихсанов Кадир Сафиуллович (RU)
(73) Патентообладатель(и):
Ихсанов Кадир Сафиуллович (RU)
|
(54) ТЕПЛОГЕНЕРАТОР
(57) Реферат:
Изобретение относится к сельскохозяйственному машиностроению и может быть использовано в зерносушильных комплексах для сушки зерна и различных семян технических культур, а также для отопления животноводческих ферм, промышленных автомобильных гаражей и т.п. Теплогенератор содержит корпус, выполненный в виде двух цилиндров – наружного и внутреннего, установленных один внутри другого. Топочное пространство внутреннего цилиндра разделено на топки. Имеется вентилятор поддува. Между двумя цилиндрами по спирали по всей длине и по всей окружности внутреннего цилиндра параллельно друг другу расположены теплообменные пластины, при этом топочное пространство внутреннего цилиндра разделено на топки перегородками, в которых выполнены отверстия для дымохода, а каждая топка снабжена топочной дверкой и дверкой поддува. Технический результат изобретения – снижение себестоимости сушки зерна. 4 ил.
Заявляемое техническое решение относится к сельскохозяйственному машиностроению и может быть использовано в зерносушильных комплексах для сушки зерна и различных семян технических культур, а также для отопления животноводческих ферм, промышленных автомобильных гаражей и т.п.
Известен теплогенератор (патент РФ 2206029, МПК F26B 23/02, опубл. 10.06.2003 г.), содержащий корпус, выполненный в виде двух цилиндров – наружного и внутреннего, установленных один внутри другого, при этом топочное пространство внутреннего цилиндра разделено на топки, и вентилятор поддува. Недостатком известного технического решения является использование для его работы дорогого жидкого топлива, которое непосредственно влияет на повышение себестоимости сушки зерна.
Задачей изобретения является снижение себестоимости сушки зерна за счет использования различных видов топлива (твердого, жидкого и газообразного). Технический результат изобретения – снижение себестоимости сушки зерна.
Указанный технический результат достигается тем, что в теплогенераторе, содержащем корпус, выполненный в виде двух цилиндров – наружного и внутреннего, установленных один внутри другого, при этом топочное пространство внутреннего цилиндра разделено на топки, и вентилятор поддува, согласно изобретению между двумя цилиндрами по спирали, по всей длине и по всей окружности внутреннего цилиндра параллельно друг другу расположены теплообменные пластины, при этом топочное пространство внутреннего цилиндра разделено на топки перегородками, в которых выполнены отверстия для дымохода, а каждая топка снабжена топочной дверкой и дверкой поддува.
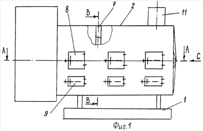
Заявляемое техническое решение поясняется чертежами, где на фиг.1 показан общий вид устройства; на фиг.2 – разрез А-А на фиг.1; на фиг.3 – разрез В-В на фиг.1; на фиг.4 – вид С на фиг.1.
Заявляемый теплогенератор содержит установленный на основании 1 теплоизолирующий корпус, выполненный из двух металлических цилиндров: наружного 2 (выполненного, например, из жести толщиной 1-1,5 мм) и внутреннего (топочного) 3 (выполненного сварным, например, из стальной трубы с толщиной стенки 6-8 мм), установленных один внутри другого. Наружный цилиндр 2 выполняет функцию кожуха, а внутренний цилиндр 3 – функцию топки. Между наружным 2 и внутренним (топочным) 3 цилиндрами по спирали вдоль всей длины внутреннего цилиндра 3 расположены теплообменные пластины 4, через которые просасывается теплоноситель (например, воздух). Топочное пространство внутреннего цилиндра 3 разделено на топки 5 перегородками 6 (выполненными, например, из огнеупорного кирпича), в которых вверху выполнены отверстия 7 для дымохода. Топочное пространство внутреннего цилиндра разделено на топки для того, чтобы всю длину цилиндра прогреть равномерно. Каждая топка 5 снабжена топочной дверкой 8 и дверкой поддува 9, которые позволяют регулировать режим горения топлива и соответственно регулировать температуру воздуха, проходящего через теплообменные пластины 4, через пространство между которыми вентилятор сушильного устройства через улитку 10 прогоняет нагреваемый теплоноситель (в качестве которого используют, например, воздух). Теплообменные пластины 4 используются для направления потока воздуха и для увеличения площади теплообмена, а также для равномерного отбора тепла от цилиндра и передачи этого тепла теплоносителю. Теплообменные пластины 4 расположены по спирали для увеличения длины витка. Воздух дольше идет вдоль пластины и лучше нагревается. Предусмотрен принудительный поддув.
Устройство работает следующим образом. Через топочные дверки 8 топливо загружают в топки 5.
Сначала включают вентилятор сушильного устройства во избежание деформации топки. Затем разжигают топку, которая находится под трубой 11, так как здесь лучше тяга. Затем по мере необходимости, в зависимости от температуры наружного воздуха и режима сушки, разжигают последовательно другие топки (по меньшей мере, три). В воздуховоде (улитка 10 для забора воздуха) установлены датчики температуры (не показаны), которые позволяют контролировать процесс горения топлива и поддерживать горение посредством открывания клапана поддува воздуха, расположенного сбоку поддувной дверки у топки, расположенной рядом с улиткой.
Заявляемый теплогенератор позволяет снизить себестоимость сушки зерна за счет использования твердого топлива (можно использовать уголь, дрова, отходы деревоперерабатывающих предприятий, любой доступный топочный материал). Такое компоновочное решение, при котором несколько топок, каждая из которых снабжена топочной дверкой и дверкой поддува, объединены в одном цилиндре, внутри которого топки сообщаются между собой дымоходами, позволяет использовать твердое топливо, а следовательно, значительно уменьшить себестоимость сельскохозяйственной продукции. При этом теплогенератор выполнен компактным и является универсальным, т.к. может быть использован не только для сушки зерна, но и для отопления животноводческих ферм, промышленных автомобильных гаражей и т.п.
Формула изобретения
Теплогенератор, содержащий корпус, выполненный в виде двух цилиндров – наружного и внутреннего, установленных один внутри другого, при этом топочное пространство внутреннего цилиндра разделено на топки, и вентилятор поддува, отличающийся тем, что между двумя цилиндрами по спирали по всей длине и по всей окружности внутреннего цилиндра параллельно друг другу расположены теплообменные пластины, при этом топочное пространство внутреннего цилиндра разделено на топки перегородками, в которых выполнены отверстия для дымохода, а каждая топка снабжена топочной дверкой и дверкой поддува.
РИСУНКИ
|
|