|
|
(21), (22) Заявка: 2008101155/06, 09.01.2008
(24) Дата начала отсчета срока действия патента:
09.01.2008
(43) Дата публикации заявки: 20.07.2009
(46) Опубликовано: 20.12.2009
(56) Список документов, цитированных в отчете о поиске:
SU 771397 A1, 15.10.1980. SU 248408 А1, 10.07.1969. GB 1132977 А, 06.11.1968. GB 1590699 А, 10.06.1981. US 4051864 А, 04.10.1977. US 2554390 A, 22.05.1951. ЕР 0709569 А1, 01.05.1996.
Адрес для переписки:
230010, Республика Беларусь, г.Гродно, а/я 3, А.И. Шамаль
|
(72) Автор(ы):
Гараньков Юрий Владимирович (BY), Сурмейко Виктор Николаевич (BY)
(73) Патентообладатель(и):
Гараньков Юрий Владимирович (BY), Сурмейко Виктор Николаевич (BY)
|
(54) АВТОМАТИЧЕСКИЙ ГИДРАВЛИЧЕСКИЙ РЕГУЛЯТОР ПОТОКА ЖИДКОСТИ
(57) Реферат:
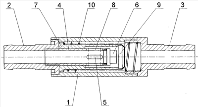
Изобретение относится к гидравлическим регуляторам и предназначено для использования в посудомоечных, стиральных и других бытовых устройствах. Автоматический гидравлический регулятор потока жидкости состоит из корпуса 1, входного 2 и выходного 3 штуцеров и регулирующего устройства. Регулирующее устройство выполнено из жестко установленного внутри корпуса 1 стакана 4 с отверстиями 5 и заглушкой 6 в торце. Отверстия 5 выполнены в боковой поверхности стакана 4 в конце по ходу движения жидкости. На внешней стороне стакана 4 подвижно смонтирован золотник 7 с отверстиями 8 в конце по ходу движения жидкости и с заглушкой 9 в торце. Золотник подпружинен надетым на него упругим элементом 10. Изобретение направлено на упрощение конструкции, на повышение надежности в работе и удобства в эксплуатации на холодной и горячей воде, а также на поддержание постоянного расхода жидкости на выходе независимо от значений давления жидкости на входе. 1 ил.
Предлагаемое изобретение – автоматический гидравлический регулятор потока жидкости – относится к гидравлическим регуляторам, поддерживающим постоянный расход жидкости на выходе даже при наличие скачков входного давления, и может быть использовано в посудомоечных, стиральных и других бытовых устройствах.
Известны регуляторы потока жидкости, включающие корпус с внутренней резьбой и установленными внутри него входными и выходными поршнями, подпружиненными пружиной, золотник. Прайс-лист 0514.1/2 «Gruppo DI RIEMPIMENTO PESANTE».
Недостатком известного регулятора является сложность конструкции и при изменении давления жидкости на входе изменяется и расход жидкости, поступающей на рабочий агрегат.
Наиболее близким регулятором потока жидкости по конструкции и функциональному назначению к предлагаемому изобретению является регулятор давления, состоящий из корпуса с внутренней резьбой и резьбовым отверстием для манометра на выходе, диафрагмой и пружиной. Прайс-лист «VALTEC VT 087».
Недостатком известного устройства является также относительно сложная конструкция и в процессе его работы не обеспечивается постоянство расхода жидкости, поступающей на рабочий агрегат.
Задачей предлагаемого изобретения является обеспечение постоянства расхода жидкости, поступающей в рабочий аппарат.
Поставленная задача осуществляется следующим образом. Автоматический гидравлический регулятор потока жидкости состоит из корпуса, входного и выходного штуцеров, пружины и регулирующего устройства. Согласно изобретению регулирующее устройство выполнено из жестко установленного внутри корпуса стакана с отверстиями в боковой поверхности в конце по ходу движения жидкости и заглушкой в торце. На внешней стороне стакана подвижно смонтирован золотник с отверстиями в конце по ходу движения жидкости, заглушкой в торце, и надетым на него упругим элементом.
Существенностью отличий предлагаемого изобретения от прототипа является выполнение регулирующего устройства из жестко установленного внутри корпуса стакана с отверстиями в боковой поверхности в конце по ходу движения жидкости и заглушкой в торце, а на внешней стороне стакана подвижное установление золотника с отверстиями в конце по ходу движения жидкости, заглушкой в торце и надетым на него упругим элементом позволяет стабилизировать постоянство расхода жидкости на выходе из регулятора при различных давлениях (нестабильных) на его входе.
Устройство автоматического гидравлического регулятора потока жидкости поясняется чертежом. Автоматический гидравлический регулятор потока жидкости состоит из корпуса 1, входного 2 и выходного 3 штуцеров, стакана 4, жестко установленного внутри корпуса, с отверстиями 5 и заглушкой 6 в торце. На внешней стороне стакана подвижно смонтирован золотник 7 с отверстиями 8 и заглушкой 9 в торце. Золотник подпружинен упругим элементом 10.
Устройство работает следующим образом.
Поток жидкости по входному штуцеру 2 поступает в стакан 4. Через отверстия 5 жидкость поступает в полость, образованную стаканом 4 и золотником 7, и далее через отверстия 8 создает усилия, смещающие золотник 7 по ходу жидкости, и сжимает упругий элемент 10. При этом золотник 7 перемещается по стакану 4 и перекрывает (частично, в зависимости от величины давления жидкости на входе) отверстия 5 стакана 4, тем самым поддерживается постоянный расход жидкости на выходе. Количество и размер отверстий 8 и жесткость упругого элемента 10 взаимосвязаны таким образом, что на выходе поддерживается постоянство расхода жидкости,
Использование предлагаемого изобретения по сравнению с прототипом позволяет обеспечить постоянство расхода жидкости на выходе независимо от значений давления жидкости на входе, а это позволяет экономить электроэнергию благодаря стабильной подаче жидкости в нагреватели. Кроме того, предлагаемое устройство обладает простотой конструкции, надежностью в работе, удобством в эксплуатации на холодной и горячей воде.
Формула изобретения
Автоматический гидравлический регулятор потока жидкости, состоящий из корпуса, входного и выходного штуцеров, упругого элемента и регулирующего устройства, отличающийся тем, что регулирующее устройство выполнено из жестко установленного внутри корпуса стакана с отверстиями в боковой поверхности в конце по ходу движения жидкости и заглушкой в торце, а на внешней стороне стакана подвижно смонтирован золотник с отверстиями в конце по ходу движения жидкости, заглушкой в торце и надетым на него упругим элементом.
РИСУНКИ
|
|