|
|
(21), (22) Заявка: 2008128349/11, 11.07.2008
(24) Дата начала отсчета срока действия патента:
11.07.2008
(46) Опубликовано: 20.12.2009
(56) Список документов, цитированных в отчете о поиске:
SU 1477971 A1, 07.05.1989. SU 836422 A, 07.06.1981. SU 248397 A, 04.12.1969.
Адрес для переписки:
344018, г.Ростов-на-Дону, ул. Черепахина, 249, кв.52, Г.П. Гребенюку
|
(72) Автор(ы):
Андросов Анатолий Александрович (RU), Гребенюк Геннадий Петрович (RU)
(73) Патентообладатель(и):
Гребенюк Геннадий Петрович (RU), Андросов Анатолий Александрович (RU)
|
(54) САМОСМАЗЫВАЮЩАЯСЯ ЗУБЧАТАЯ ПЕРЕДАЧА
(57) Реферат:
Изобретение относится к смазочным системам замкнутого типа самообеспечения и может найти применение для смазывания высоконагруженных зубчатых передач и их подшипниковых опор, используемых в энергетическом, шахтном оборудовании, в приводах морских и речных судов, в редукторах и т.д. Самосмазывающаяся зубчатая передача содержит корпус (1), смонтированные на валах (2, 3) косозубые колеса (5, 6). Зубья и впадины косозубых колес в нормальном сечении имеют эллиптический профиль с радиально расположенной большой осью эллипса, равной произведению малой оси эллипса на секанс угла наклона зубьев. Колодка охватывает со стороны всасывания сегментными выборками внешние поверхности колес. Щека (8) размещена со стороны полости нагнетания между торцами колес и стенкой корпуса. Подпружиненные плунжеры (8, 9) размещены в колодке и щеке (8). От вращения колес происходит затягивание масла в межзубовые впадины и продавливанием его в осевом направлении, и через каналы в щеке (8), валах (2, 3) осуществляется подача масла в подшипниковые опоры. Масло, затягиваясь и продвигаясь вдоль оси колесной пары, раздвигает на величину зазора в зацеплении колеса, тем самым создает масляный клин между зубом и впадиной колес, а также между цапфой и отверстием опоры. За счет этого можно добиться повышения долговечности, нагрузочной способности и КПД зубчатой передачи в целом. 3 ил.
Изобретение относится к области машиностроения, в частности к смазочным системам замкнутого типа, и может найти применение для смазывания высоконагруженных зубчатых передач и их подшипниковых опор в энергетическом, шахтном оборудовании, в приводах морских и речных судов, в редукторах и т.п.
Известно устройство для циркуляционного смазывания жидким смазочным материалом подшипников скольжения. Оно содержит плунжерный насос и кулачок, установленные на оси колесной пары. Насос включает подпружиненный плунжер и клапанную коробку. Система смазывания включает каналы всасывания и нагнетания, при этом канал нагнетания соединен с клапаном, ограничивающим величину давления смазочного материала, подаваемого в рабочую зону подшипников (реферат к изобретению РФ 2255253, F01М 1/12). Однако такое устройство невозможно встроить в конструктивную схему высоконагруженных шестеренных передач, чтобы создать масляный клин в зубчатом зацеплении и в подшипниковых опорах их валов.
Известен одноступенчатый вертикальный редуктор со сварным корпусом и косозубыми колесами, принятый за прототип. Смазка осуществляется самозахватом колесами масла из картера корпуса. Такая конструкция не позволяет создать масляный клин между зубом и впадиной колесной пары и не позволяет осуществить смазку его подшипниковых опор (В.А.Добровольский. Детали машин. Гос. издательство технической литературы УССР. Киев – 1954, стр.339, рис.413).
В основу настоящего изобретения поставлена задача создания зубчатых передач, обладающих высокой нагрузочной способностью за счет эллиптического профиля зубьев и впадин сопрягаемых косозубых колес, замкнутой системой смазки колес и подшипниковых опор, осуществляемой колесной парой передачи, подающей масло под давлением в сопрягаемые элементы, создавая тем самым масляный клин между зубом и впадиной колес, а также между цапфой и отверстием опоры. За счет этого добиться повышения долговечности, нагрузочной способности и КПД передачи в целом.
Решение поставленной задачи достигается тем, что самосмазывающаяся зубчатая передача содержит корпус, смонтированные в подшипниковых опорах ведущий и ведомые валы и закрепленные на них косозубые колеса.
Отличительной особенностью заявленной зубчатой передачи является то, что зубья и впадины косозубых колес в нормальном сечении имеют эллиптический профиль с радиально расположенной большой осью, равной произведению малой оси эллипса на секонс угла наклона зубьев, она снабжена колодкой, охватывающей со стороны всасывающей полости сегментными выборками внешние поверхности колес, щекой, размещенной с торцевой стороны полости нагнетания между торцами колес и стенкой корпуса; в щеке и колодке по средней линии сопряжения колес размещены подпружиненные плунжеры; поршневые полости которых соединены входными отверстиями меньшего сечения с соответствующими полостями нагнетания; в валах выполнены осевые и соединяющиеся с ними радиальные каналы нагнетания, другими концами соединяющиеся с цапфовыми поверхностями валов, при этом поршневая полость плунжера щеки входным отверстием меньшего сечения соединена каналами с упомянутыми радиальными и осевыми каналами нагнетания.
Предложенное решение позволило создать самосмазывающуюся зубчатую передачу с системой смазки зубьев и подшипниковых опор замкнутого типа с подачей масла под давлением. Колесная пара с эллиптическим профилем зубьев захватывает масло из картера (нижней части корпуса), нагнетает его, тем самым образует масляный клин между контактными поверхностями, обеспечивает снижение коэффициента трения, повышение КПД и нагрузочной способности передачи.
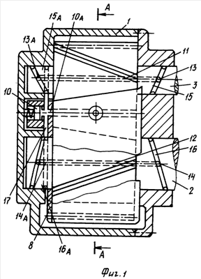
На фиг.1 показана зубчатая передача с продольным разрезом корпуса; на фиг.2 – разрез по А-А на фиг.1; на фиг.3 – место I на фиг.2 с показом профиля зуба в торцевом сечении.
Самосмазывающаяся зубчатая передача содержит корпус 1, смонтированные на валах 2 и 3 косозубые с эллиптическим профилем зубьев ведущее 5 и ведомое 6 колеса. Со стороны всасывающей полости смонтирована колодка 7, которая своими сегментными выборками охватывает внешние поверхности колес 5 и 6, создавая зону избыточного давления. Со стороны полости нагнетания между торцами колес 5 и 6 и стенкой корпуса 1 смонтирована щека 8. В колодке 7 и щеке 8 по оси сопряжения колес размещены подпружиненные плунжеры 9 и 10. Поршневые полости обоих плунжеров, имеющие большее сечение, входными 9А и 10А отверстиями меньшего сечения соединены с соответствующими полостями нагнетания. В валах 2 и 3 выполнены осевые каналы 11 и 12, соединяющиеся с ними по краям радиальные каналы нагнетания 13, 14, 13А и 14А другими концами соединяющиеся с цапфовыми поверхностями сопряжения соответственно правых цапф 15 и 1 6, левых цапф 15А и 16А. Зубья и впадины косозубых колес в нормальном сечении имеют эллиптический профиль 4 с радиально расположенной большой осью, равной произведению малой оси эллипса на секонс угла наклона зубьев и равной радиусу R в торцевом сечении зубчатого зацепления.
Самосмазывающаяся зубчатая передача работает следующим образом. При вращении от внешнего источника ведущего колеса 5 в направлении стрелки W1 приводится во вращение ведомое колесо 6 в направлении стрелки W2. От вращения колес жидкость (масло) затягивается во падины зубьев и переносится из полости всасывания в полость нагнетания, образуемую полостью плунжера 10, создавая избыточное давление, и через радиальные каналы 17 в щеке 8 нагнетается по каналам 13, 14, 11, 12, 13А, и 14А в подшипниковую полость цапф 15, 15А, 16 и 16А.
В связи с тем, что эллиптический профиль зубьев и впадин создает большую поверхность контакта, захватываемое зубьями масло выдавливается в осевом направлении и раздвигает колеса с валами в радиальном направлении на величину зазора в зацеплении и создает в системе колеса-опоры и сопрягаемых зубьев и впадин колес принудительный масляный клин. От избыточного давления масло попадает в поршневую полость плунжера 9 и за счет разности сечения входного 9А и поршневого отверстий создается усилие, заставляющее колодку 7 прижиматься к наружным поверхностям колес 5 и 6, причем чем больше будет давление в зоне входного отверстия 9А плунжера 9, тем плотнее будет прижиматься колодка 7 к наружным поверхностям колес 5 и 6.
Заявленное изобретение решает одну из сложнейших задач смазывания зубчатых зацеплений и их подшипниковых опор с принудительным созданием масляного клина в зонах контакта, причем это решается замкнутой системой самосмазывания, обеспечиваемую эллиптическим профилем зубьев и впадин колесной пары. Изобретение повышает нагрузочную способность, долговечность и КПД зубчатой передачи.
Формула изобретения
Самосмазывающаяся зубчатая передача, содержащая корпус, смонтированные в подшипниковых опорах корпуса ведущий и ведомый валы и закрепленные на них косозубые колеса, отличающаяся тем, что зубья и впадины косозубых колес в нормальном сечении имеют эллиптический профиль с радиально расположенной большой осью, равной произведению малой оси эллипса на секанс угла наклона зубьев, снабжена колодкой, охватывающей со стороны всасывающей полости сегментными выборками внешние поверхности колес, щекой, размещенной со стороны полости нагнетания между торцами колес и стенкой корпуса, в щеке и колодке по средней линии сопряжения колес размещены подпружиненные плунжеры, поршневые полости которых соединены входными отверстиями меньшего сечения с соответствующими полостями нагнетания, в валах выполнены осевые и соединяющиеся с ними радикальные каналы нагнетания, другими концами соединяющиеся с цапфами поверхностями валов, при этом поршневая полость плунжера щеки входным отверстием меньшего сечения соединена каналами с упомянутыми радиальными и осевыми каналами нагнетания.
РИСУНКИ
|
|