|
(21), (22) Заявка: 2008100984/06, 09.01.2008
(24) Дата начала отсчета срока действия патента:
09.01.2008
(43) Дата публикации заявки: 20.07.2009
(46) Опубликовано: 20.12.2009
(56) Список документов, цитированных в отчете о поиске:
US 6293085 А1, 05.04.2001. US 6176074 B1, 23.01.2001. RU 2305788 C2, 27.04.2007. RU 2225945 C2, 20.03.2004. RU 2168044 C2, 27.05.2001. SU 1016548 A1, 07.05.1983.
Адрес для переписки:
69068, Украина, г. Запорожье, ул. Иванова, 2, ГП “Ивченко-Прогресс”, главному конструктору Г.Р. Крицыну
|
(72) Автор(ы):
Кравченко Игорь Федорович (UA), Разладский Александр Александрович (UA), Харитонов Виктор Николаевич (UA), Резник Сергей Борисович (UA), Рублевский Юрий Владленович (UA), Сигарев Сергей Евгеньевич (UA)
(73) Патентообладатель(и):
Государственное предприятие “Запорожское машиностроительное конструкторское бюро “Прогресс” имени академика А.Г. Ивченко” (UA)
|
(54) СПОСОБ ЗАЩИТЫ ГАЗОТУРБИННОГО ДВИГАТЕЛЯ
(57) Реферат:
Управление подачей топлива в двигатель вплоть до ее полного прекращения формируют по признаку относительных перемещений роторов двигателя и его статора за счет свойств магнитно-индукционных датчиков частоты вращения роторов двигателя отражать относительные динамические перемещения статора и роторов двигателя, в том числе трансмиссии силовой турбины как результат колебательных процессов при его работе, причем момент нарушения целостности указанной трансмиссии диагностируют одновременно датчиками частоты вращения разноименных роторов двигателя и формируют уменьшение подачи топлива вплоть до полного ее прекращения. Момент нарушения целостности трансмиссии силовой турбины диагностируют, дополнительно используя датчики давления в системе измерения крутящего момента роторов как датчики систем контроля технического состояния. Технический результат – заявляемый способ обеспечивает на рабочих режимах газотурбинного двигателя надежность и быстроту обнаружения по времени и месту рассоединение вала трансмиссии. Заявляемый способ позволяет упростить систему защиты двигателя за счет исключения дополнительных индукторов и датчиков частоты вращения в области силовой (свободной) турбины за счет использования сигналов стандартно комплектуемых датчиков. 1 з.п. ф-лы, 4 ил.
Заявляемое техническое решение относится к управлению газотурбинными двигателями, особенно авиационными. В частности, оно касается способов защиты двигателя при аварийном рассоединении трансмиссии его силовой (свободной) турбины путем управления топливоподачей двигателя.
Более конкретно, заявляемое решение относится к способам и логическим системам текущего автоматического отслеживания признаков состояния трансмиссии с использованием сигнала и, в частности, свободной турбины путем обеспечения и выполнения команд воздействия на функцию топливоподачи с ограничением ее параметров вплоть до полного прекращения.
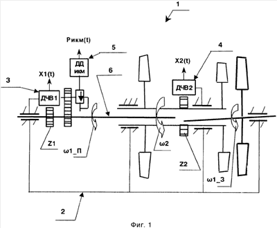
Частота вращения роторных частей газотурбинных двигателей достигает от десятков до нескольких сотен оборотов в секунду. Рассоединение трансмиссии того или иного ротора приводит к непредсказуемому катастрофическому отказу двигателя. На Фиг.1 схематично представлено рассоединение трансмиссии 6 ГТД 1.
При этом происходят:
– внезапное торможение переднего (до места рассоединения трансмиссии) фрагмента (Фиг.1 1_П 0, частота вращения стремится к 0),
– неконтролируемое ускорение или неуправляемая раскрутка заднего (за местом рассоединения трансмиссии) фрагмента (Фиг.1 1_3), когда частота вращения стремится к частоте самоторможения, если в ГТД 1 продолжает поступать топливо).
Последнее вызывает недопустимый риск, когда центробежные силы достигают величин, приводящих к разрушению заднего фрагмента от удара его частей о корпус статора, и его разрушение с возможным выбросом компонентов и последующим разрушением остальных частей двигателя и далее фюзеляжа.
Весь этот процесс происходит в десятые доли секунды, т.е. значительно быстрее реакции экипажа воздушного судна, поэтому в международных Авиационных правилах АП33 (п.33.19(C) и JAR-T850 оговорено обязательное наличие автоматической системы защиты двигателя.
Защита от внезапного разрушения роторов таких двигателей при рассоединении трансмиссии, особенно авиационных, чрезвычайно актуальна.
Так, из описания к патенту Франции 2818691 (кл. МПК F02C 9/28, заявитель SNECMA, з. 0016899 от 22.12.2000) известно техническое решение защиты газотурбинного двигателя при забросе частоты вращения вала.
Оно содержит электропреобразователь с электронным звеном выявления превышения допустимой частоты вращения, в частности, вала турбины высокого давления.
Защита осуществляется подачей гидравлического сигнала электропреобразователя на клапан регулирования подачи топлива в системе рычага управления двигателем. В свою очередь, этот сигнал формируется данными электронного звена, которое отслеживает частоту вращения.
Принцип известного решения в значительной степени основан на взаимодействии гидравлических агрегатов. В этом техническом решении в критический момент превышения допустимой частоты вращения вала при срабатывании гидравлики может отрицательно проявиться ее недостаточно быстрое действие.
Из описания к патенту США 6176074 (кл. МПК F02C 7/00, кл. НКИ США 60/39.03, заявлен фирмой P&W 05.01.1998) известен способ управления газотурбинным двигателем с компрессором и турбиной на общем валу при срезе и рассоединении последнего. Известный способ предусматривает прекращение подачи топлива как реакцию на сигнал частоты вращения от одного и более датчиков частоты вращения, в частности, и соотношения приращения таковой.
При этом известный способ предусматривает размещение датчиков вблизи первой ступени компрессора и далее по потоку за компрессором.
Таким образом известный способ основан на контроле изменения скорости торможения переднего фрагмента трансмиссии при ее рассоединении.
Следовательно, отсутствуют прямой замер и сигнал частоты вращения заднего фрагмента трансмиссии, что снижает достоверность полученных данных.
Кроме того, при рассоединении трансмиссии очень велика степень вероятности разушения датчиков, установленных в газодинамическом тракте.
Из описания к патенту США 6293085 (кл. МПК F02C 9/28, кл. НКИ США 60/39.03, заявлен фирмой P&W 29.11.2000), как развитие системы FADEC, известны метод и аппаратура логистического контроля внезапного рассоединения вала на рабочих режимах, например в газотурбинном двигателе с внутренним валом ротора низкого давления и внешним валом ротора высокого давления.
Устройство в электронном блоке использует на каждом из валов два набора двух видов датчиков.
Один набор – датчики частоты вращения вала на входе в компрессор низкого давления и датчики давления на входе в камеру сгорания. Эти датчики сообщены с первым каналом системы FADEC (Full Authority Digital Engine Control).
Другой набор – датчики абсолютного давления на выходе из камеры сгорания и датчики частоты вращения.
Они сообщены со вторым, резервным, каналом системы FADEC.
Наиболее известный способ предлагает установку на разных концах трансмиссии силовой тубины датчиков частоты вращения и индукторов для обнаружения разницы в показаниях этих датчиков в случае рассоединения указанной трансмиссии (так называемая разностная защита).
Подразумевается, что при разрушении вала и неконтролируемом увеличении частоты вращения турбины логистическая схема обеспечивает оперативную команду немедленного отсечения подачи топлива в камеру сгорания.
Двигатель тормозится, чем предполагается предотвращение возможных катастрофических последствий.
Техническое решение по патенту США 6293085 нуждается в усовершенствовании, поскольку оно не позволяет напрямую контролировать раскрутку отсоединившейся турбины. Опытные испытания показали, что при торможении компрессора и раскрутке турбины их скорости значительно отличаются. В зависимости от места рассоединения (разрыва) вала индуктор может практически мгновенно, т.е. до формирования сигнала, ударить корпус датчика частоты вращения.
В этих случаях информация состояния просто не может появиться, а это свидетельствует об определенной ненадежности известного решения.
Опыт также показал, что прием дублирования для подтверждения достоверности сигнала датчиков (см. Фиг.3, поз.76 и 86 описания к патенту) может дать разные результаты не только по амплитуде, но и по знаку, что приведет к неоднозначной реакции системы.
Однако именно это известное техническое решение выбрано в качестве прототипа заявляемого благодаря близости решаемой задачи, общности отдельных существенных признаков и возможности его усовершенствования.
Статор газотурбинного двигателя всегда является «приемником» всех колебательных процессов, происходящих в двигателе. Основные составляющие этих процессов, как реакция, отражаются (в той или иной степени) в сигналах всех магнитно-индукционных датчиков частоты вращения, так как они обладают свойством чувствительных элементов относительных перемещений в системе «ротор-статор». То есть, сигналы вышеназванных датчиков в общем виде можно представить в виде

Dx, Hx – коэффициенты, зависящие от типа датчика, места установки, режима
работы двигателя, сроков и условий эксплуатации и т.д.,
Z1, Z2 – количество зубьев шестерен-индукторов,
1(t), 2(t) – мгновенные частоты вращения роторов турбокомпрессора и свободной турбины,
g(t) – мгновенные частоты вращения приводных звеньев.
Это и было учтено авторами настоящего технического решения, чтобы предотвратить серьезные разрушения или хотя бы ограничить их локализацию на корпусе двигателя.
Перед авторами стояла задача создать такой способ защиты газотурбинного двигателя и систему его осуществления, которые позволили бы достичь определенного совокупного технического результата, включающего несколько логически взаимосвязанных причинно-следственной связью прогрессивных технических результатов, а именно обеспечение:
– на рабочих режимах газотурбинного двигателя надежности и быстроты обнаружения по времени и месту рассоединения вала трансмиссиии,
– оперативной подачи сигнала перемещения ротора относительно статора с одновременной оперативной реакцией ограничения или полного прекращения подачи топлива при неординарных сигналах взаимных перемещений ротора и статора,
– при упрощении системы за счет исключения дополнительных индукторов и датчиков частоты вращения в области (свободной) силовой турбины за счет использования сигналов стандартно комплектуемых датчиков.
Обязательный минимум таких стандартно комплектуемых датчиков в системе контроля параметров газотурбинных двигателей дан в отраслевом стандарте ОСТ 1 00788-2000, раздел 6, стр.6 и 7.
В ОСТ 1 00788-2000 отмечены подлежащие обязательному контролю посредством стандартно комплектуемых датчиков параметры технического состояния узлов с постоянной выдачей сигнала, а именно:
– частота 1 вращения ротора свободной турбины – датчик частоты вращения свободной турбины (ДЧВ1 – принятое авторами условное обозначение),
– частота 2 вращения ротора турбокомпрессора – датчик частоты вращения ротора турбокомпрессора (ДЧВ2 – принятое авторами условное обозначение),
– давление Рикм в канале измерения крутящего момента – датчик давления из состава измерителя крутящего момента на выходном валу (ДДикм – принятое авторами условное обозначение).
Поставленная задача решается тем, что в известном способе защиты газотурбинного двигателя путем управления топливоподачей и системе для его осуществления произведены определенные усовершенствования.
Так, в известном способе защиты газотурбинного двигателя при рассоединении трансмиссии его силовой турбины в процессе работы двигателя используют сигналы давления и частот вращения роторов, затем:
– обрабатывают эти сигналы,
– по результатам обработки определяют техническое состояние контролируемой трансмиссии и тем самым воздействуют на функцию управления подачей топлива в двигатель,
усовершенствование состоит в следующем:
управление подачей топлива в двигатель вплоть до ее полного прекращения осуществляют тем, что используют информацию о колебательных процессах двигателя за счет свойств магнитно-индукционных датчиков частоты вращения дополнительно выдавать таковую по реакции статора как приемника всех упомянутых процессов в двигателе, включая указанную трансмиссию.
При этом момент нарушения целостности трансмиссии диагностируют во времени изменением указанной реакции статора и одновременно обеспечивают уменьшение вплоть до прекращения подачи топлива.
Способ осуществляется тем, что в управление подачей топлива подключается дополнительное звено – модуль алгоритмов защиты (МА3 – принятое авторами сокращение), которое на основе свойств штатных магнитно-индукционных датчиков частоты вращения способно воспринимать колебательные процессы, происходящие в двигателе, и определять момент нарушения целостности трансмиссии, и, по ситуации, производить ограничение подачи топлива вплоть до полного его прекращения
Заявляемое техническое решение иллюстрируется чертежами, где:
– на Фиг.1 представлен схематично газотурбинный двигатель с условно показанными передним и задним фрагментами его трансмиссии в случае рассоединения последней.
Для переднего фрагмента частота вращения стремится к 0, т.е. торможение 1_П 0;
Для заднего фрагмента (за местом рассоединения), т.е. неконтролируемое ускорение 1_3 самоторможения;
– на Фиг.2 показана принципиальная схема взаимодействия элементов и систем силовой установки летательного аппарата при использовании заявляемого способа защиты;
– на Фиг.3 показана укрупненная схема алгоритма работы модуля автоматической защиты (МАЗ-8, Фиг.2);
– на Фиг.4 дана вспомогательная таблица отдельных обозначений, показанных в предыдущих чертежей.
Предлагаемый способ защиты газотурбинного двигателя, осуществление которого показано на конкретном примере двухвального газотурбинного двигателя со свободной (силовой) турбиной, производится следующим образом.
Газотурбинный двигатель 1 (см. Фиг.1, 2) содержит статор 2, в котором установлен ротор свободной турбины совместно с датчиком 3 (ДЧВ1), а также ротор турбокомпрессора с датчиком 4(ДЧВ2) и датчиком давления 5 (ДДикм) в системе 6 измерителя крутящего момента. Как указывалось ранее, – это стандартно комплектуемые штатные датчики, условно объединенные в группу 7 (см. Фиг.2) и вспомогательную таблицу обозначений (Фиг.4).
Группа 7 датчиков формирует и выдает соответствующие сигналы, а именно X1(t), он же ПО-сигнал датчика частоты вращения свободной турбины, X2(t), он же П1-сигнал датчика вращения турбокомпрессора, и сигнал Pикм(t) датчика давления измерителя крутящего момента, он же П2. Эти сигналы направляются в модуль 8 алгоритмов защиты (на схеме Фиг.2 – МАЗ), который дополнительно введен в электронную систему управления 9 (на схеме Фиг.2 – ЭСУ) двигателя.
В электронной системе управления 9 (ЭСУ) частота вращения 1 ротора силовой (свободной) турбины сравнивается в программном модуле 10 с предельным значением (на схеме Фиг.2 – ПО N2).
В свою очередь, программный модуль 10 при определенных заданных значениях 1 предельных оборотов частоты вращения ротора силовой турбины выдает команду на исполнительный механизм 12 (на схеме Фиг.2 – ИМ) насоса-дозатора в подмодуле 11 для ограничения подачи топлива из бака в двигатель 1. В случае превышения критического значения предельных оборотов 1 частоты вращения ротора силовой турбины электронная система управления 9 (ЭСУ) выдает команду на клапан 13 прекращения подачи рабочего топлива (на схеме Фиг.2 – ППРТ) насоса-дозатора в подмодуле 11 и, следовательно, на прекращение подачи топлива в двигатель 1.
Модуль 8 (Фиг.2) алгоритмов защиты (МАЗ) принимает сигналы ПО, П1 и П2 от группы 7 упомянутых штатных датчиков (Фиг.2) и производит соответствующую их дискретизацию. В дальнейшем дискретизованные сигналы X1(t), X2(t), Рикм(t) (Фиг.1, 2) поступают в подмодуль 14 предварительной обработки во временной области (ПОВО), где преобразуются в определенный вид амплитудно-частотной характеристики (АЧХ):

Ak, Bk, Ck – коэффициенты разбиения,
k – количество разбиений исходных сигналов,
k(t) – базисные функции разбиения.
Из подмодуля 14 ПОВО данные поступают в подмодуль 15 (см. Фиг.3), где формируются относительные коэффициенты в подконтрольных диапазонах вида

[n-m, n-1,n,n+1, n+j, n+l] к,
– относительные коэффициенты разбиения в подконтрольных диапазонах.
По относительным показателям производится оценка изменений в подконтрольной области АЧХ, соответствующей зоне рабочих частот вращения подконтрольной трансмиссии и зонам возможных частот вращения при разрушении указанной трансмиссии. Данные оценки изменений в виде относительных коэффициентов и номеров диапазона амплитудно-частотных характеристик АЧХ попадают в схемы обобщения и сравнения (СОиС) 16, 17 и 18.
В подмодуле 16 схемы обобщения и сравнения (СОиС) проверяется стабильность изменений. В случае обнаружения изменений в зонах ниже и выше рабочих частот, в модулях 17 и 18 производят сравнение номера текущей зоны, где отмечены изменения в критических зонах
В результате определяется набор признаков, которые в дальнейшем поступают в подмодуль 19 схемы принятия решения (СПР).
Определенные сочетания признаков определяют как состояние системы измерения, так и состояние трансмиссии ротора силовой (свободной) турбины.
В случае определения значимого градиента изменения частоты вращения ротора силовой турбины МАЗ 8 формирует в СПР 19 (19.2) команду ПЗ (см. Фиг.2) на ограничение топлива и передает ее по цифровой шине данных в ЭСУ 9 для дальнейшего исполнения ее исполнительным механизмом (ИМ) 12 насоса-дозатора 11. При обнаружении рассоединения трансмиссии ротора силовой (свободной) турбины подмодуль схемы принятия решения СПР 19 (19.1) выдает команду П4 на клапан прекращения подачи топлива (ППРТ) 13 насоса-дозатора 11 на прекращение подачи топлива в двигатель 1. При определенных обстоятельствах может быть предусмотрена функция ограничения подачи топлива ПЗ с более плавным переходом на прекращение подачи топлива, как это показано на Фиг.3 в вариантах решений подмодуля схемы принятия решения упомянутого СПР 19.
Проведенные экспериментальные работы показали, что интервал сбора данных и результат их обработки могут быть в пределах 0,01 0,03 миллисекунды. Такой подход позволяет на практике решать многие задачи контроля технического состояния и защиты газотурбинных двигателей, особенно авиационных.
Формула изобретения
1. Способ защиты газотурбинного двигателя, содержащего магнитно-индукционные датчики в системах контроля технического состояния и управления двигателем, в том числе систему измерения крутящего момента роторов двигателя, когда при нарушении целостности трансмиссии силовой турбины в процессе работы двигателя используют сигналы указанных датчиков, пропорциональные параметрам давления и частот вращения роторов двигателя, по которым оценивают техническое состояние двигателя, в том числе упомянутой трансмиссии силовой турбины, и определяют момент ее нарушения с последующим воздействием на функцию управления подачей топлива в двигатель, отличающийся тем, что управление подачей топлива, вплоть до ее полного прекращения, формируют по признаку относительных перемещений роторов двигателя и его статора за счет свойств магнитно-индукционных датчиков частоты вращения роторов двигателя отражать относительные динамические перемещения статора и роторов двигателя, в том числе трансмиссии силовой турбины как результат колебательных процессов при его работе, причем момент нарушения целостности указанной трансмиссии диагностируют одновременно датчиками частоты вращения разноименных роторов двигателя и формируют уменьшение подачи топлива, вплоть до полного ее прекращения.
2. Способ защиты газотурбинного двигателя по п.1, отличающийся тем, что момент нарушения целостности указанной трансмиссии силовой турбины диагностируют, дополнительно используя датчики давления в системе измерения крутящего момента роторов как датчики систем контроля технического состояния.
РИСУНКИ
|