Патент на изобретение №2376478

Published by on




РОССИЙСКАЯ ФЕДЕРАЦИЯ



ФЕДЕРАЛЬНАЯ СЛУЖБА
ПО ИНТЕЛЛЕКТУАЛЬНОЙ СОБСТВЕННОСТИ,
ПАТЕНТАМ И ТОВАРНЫМ ЗНАКАМ
(19) RU (11) 2376478 (13) C2
(51) МПК

F01C3/06 (2006.01)
F04C3/06 (2006.01)

(12) ОПИСАНИЕ ИЗОБРЕТЕНИЯ К ПАТЕНТУ

Статус: по данным на 17.09.2010 – действует

(21), (22) Заявка: 2006119356/06, 02.06.2006

(24) Дата начала отсчета срока действия патента:

02.06.2006

(43) Дата публикации заявки: 27.01.2008

(46) Опубликовано: 20.12.2009

(56) Список документов, цитированных в отчете о
поиске:
RU 2004133654 А, 20.04.2006. RU 2134796 C1, 20.08.1999. US 2708413 А, 17.05.1955. GB 1458459 A, 15.12.1976. US 2832198 A, 29.04.1958.

Адрес для переписки:

152026, Ярославская обл., г. Переславль, ул. 50 лет Комсомола, 19, кв.56, А.В.Дидину

(72) Автор(ы):

Дидин Александр Владимирович (RU),
Яновский Илья Яковлевич (RU)

(73) Патентообладатель(и):

Дидин Александр Владимирович (RU),
Яновский Илья Яковлевич (RU)

(54) РОТОРНАЯ ОБЪЕМНАЯ МАШИНА

(57) Реферат:

Изобретение относится к области машиностроения, а именно к роторным машинам с непараллельными осями вращения ротора и поршней. Роторная объемная машина содержит корпус, рабочая поверхность которого выполнена в виде части сегмента сферы, ротор с концентричной рабочей поверхностью, установленный в корпусе с возможностью вращения, кольцевую концентрическую рабочую полость, образованную корпусом и ротором, разделитель, выполненный в виде наклонной шайбы, геометрическая ось которой наклонена к геометрической оси вращения ротора, установленной неподвижно в корпусе, и разделяющий рабочую полость на две части. На рабочей поверхности ротора выполнен, по меньшей мере, один паз вдоль его геометрической оси вращения, в котором установлен с возможностью совершения вращательных колебаний вокруг геометрической оси, пересекающей перпендикулярно геометрическую ось ротора, поршень, выполненный в виде, по меньшей мере, части диска, частично выступающего в рабочую полость для ее перекрытия. В каждой выступающей части поршня имеется прорезь для прохода разделителя, в которой установлен, по меньшей мере, один уплотняющий синхронизирующий элемент. Изобретение направлено на увеличение надежности синхронизации рабочих органов сферической машины. 17 з.п. ф-лы, 24 ил.

Изобретение относится к области машиностроения, а именно к роторным объемным машинам, которые могут быть использованы в качестве насосов, компрессоров, гидроприводов и т.д.

Из уровня техники известна роторная объемная машина, содержащая корпус, рабочая поверхность которого выполнена в виде части сегмента сферы, ротор с концентричной рабочей поверхностью, установленный в корпусе с возможностью вращения, кольцевую концентрическую рабочую полость, образованную корпусом и ротором, разделитель, установленный неподвижно в корпусе и разбивающий рабочую полость на две части, причем на рабочей поверхности ротора выполнен, по меньшей мере, один паз вдоль его геометрической оси вращения, в котором установлен с возможностью совершения вращательных колебаний вокруг геометрической оси пересекающей перпендикулярно геометрическую ось ротора поршень, выполненный в виде части диска, частично выступающий в рабочую полость для ее перекрытия, а в каждой выступающей части поршня имеется прорезь для прохода разделителя (см. RU 2004133654 А, 20.04.2006). Данная машина принята за прототип.

Недостатком таких машин является сложная форма разделителя и прорези поршня, не позволяющая осуществить их контакт по большой площади, для снижения износа этой пары трения (для уменьшения идеальной нагрузки на эту пару трения и для увеличения ее ресурса).

Задачей изобретения является создание объемной роторной высокооборотной машины повышенной герметичности с надежным креплением вытеснительного элемента (поршня), надежным механизмом синхронизации, допускающими многократные кратковременные перегрузки, большим ресурсом и низкими инерциальными нагрузками со стороны поршня на механизм синхронизации.

Поставленная задача достигается тем, что в роторной объемной машине, содержащей корпус, рабочая поверхность которого выполнена в виде части сегмента сферы, ротор с концентричной рабочей поверхностью, установленный в корпусе с возможностью вращения, кольцевую концентрическую рабочую полость, образованную корпусом и ротором, разделитель, выполненный в виде наклонной шайбы, геометрическая ось которой наклонена к геометрической оси вращения ротора, установленной неподвижно в корпусе, и разделяющий рабочую полость на две части, причем на рабочей поверхности ротора выполнен, по меньшей мере, один паз вдоль его геометрической оси вращения, в котором установлен с возможностью совершения вращательных колебаний вокруг геометрической оси, пересекающей перпендикулярно геометрическую ось ротора поршень, выполненный в виде, по меньшей мере, части диска, частично выступающего в рабочую полость для ее перекрытия, при этом в каждой выступающей части поршня имеется прорезь для прохода разделителя, в которой установлен, по меньшей мере, один уплотняющий синхронизирующий элемент.

Кроме того, рабочая поверхность ротора выполнена в виде двух соосных поверхностей усеченных конусов, опирающихся усеченной частью на сферу.

Кроме того, пазы на рабочей поверхности ротора соединены в середине ротора.

Кроме того, наклонная шайба выполнена плоской.

Кроме того, наклонная шайба выполнена с конической рабочей поверхностью.

Кроме того, наклонная шайба установлена в корпусе с возможностью касания ротора диаметрально противоположными частями, находящимися на ее противоположных сторонах.

Кроме того, на наклонной шайбе в местах касания ротора выполнены выемки.

Кроме того, наклонная шайба выполнена в виде двух частей.

Кроме того, части шайбы соединены по разъему в виде «>».

Кроме того, диск выполнен со сферической боковой поверхностью и с двумя прорезями для прохода разделителя.

Кроме того, диск выполнен с двумя прорезями для прохода разделителя с облегчениями на участках, удаленных от прорезей.

Кроме того, диск выполнен в виде усеченного сектора менее 180 градусов с одной прорезью для прохода разделителя.

Кроме того, уплотняющий синхронизирующий элемент выполнен в виде цилиндра с прорезями на его концах, причем плоскости прорезей совпадают.

Кроме того, боковые площади прорезей расширены за счет выступов.

Кроме того, средняя часть уплотняющего соединительного элемента имеет меньший диаметр.

Кроме того, уплотняющий синхронизирующий элемент выполнен в виде накладок на прорезь поршня.

Кроме того, уплотняющий синхронизирующий элемент выполнен в виде двух пластинок, соединенных осью.

Кроме того, уплотняющий синхронизирующий элемент выполнен в виде ролика.

Изобретение поясняется при помощи чертежей.

На фиг.1 представлена в изометрии ступень объемной роторной машины со снятой «восходящей» частью корпуса (при этом для улучшения понимания соответствующая ей часть разделителя оставлена).

На фиг.2 представлен в изометрии внешний вид машины с окнами входа и выхода.

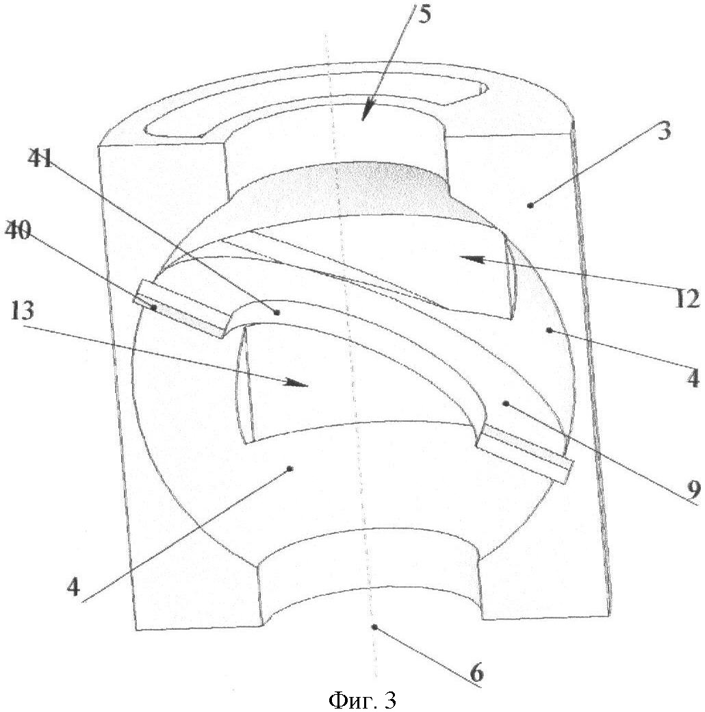
На фиг.3 представлена в изометрии «нисходящая» часть корпуса.

На фиг.4 представлено в изометрии взаимодействие поршня и разделителя через уплотняющий синхронизирующий элемент.

На фиг.5 представлена в изометрии часть вала машины.

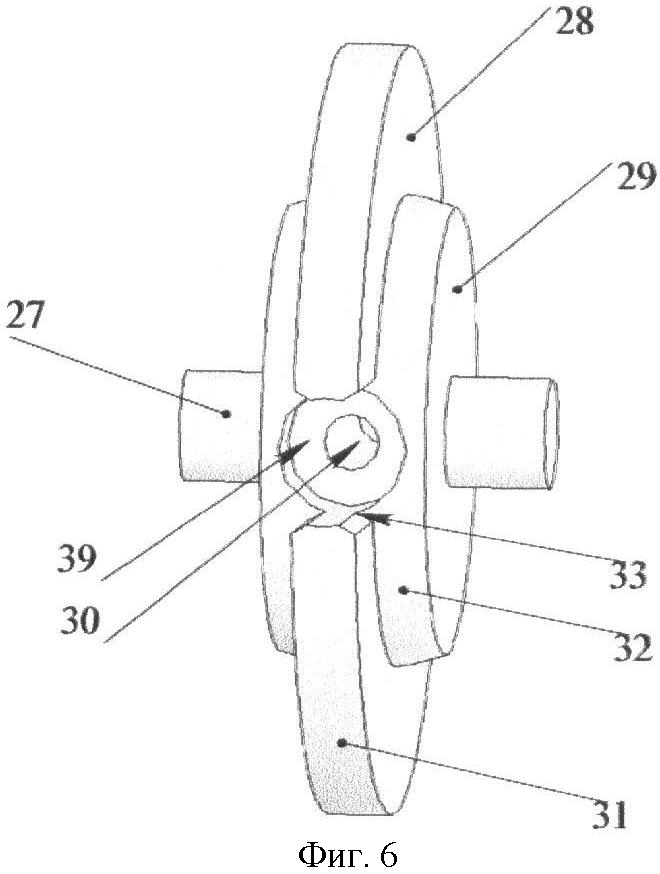
На фиг.6 представлен в изометрии поршень.

На фиг.7 представлен в изометрии цилиндрический уплотняющий синхронизирующий элемент с дополнительными выступами и со средней частью меньшего диаметра.

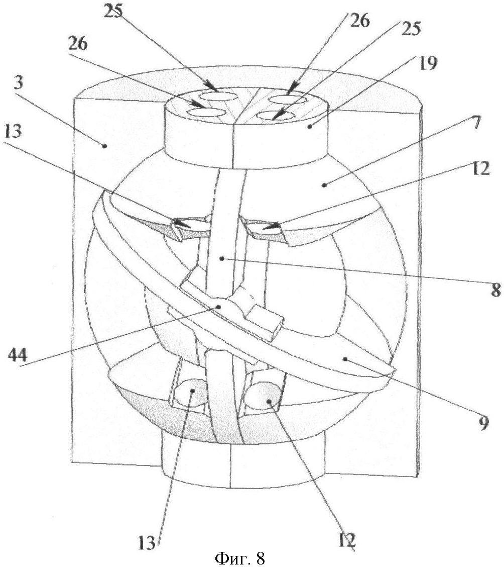
На фиг.8 представлена в изометрии ступень машины со снятой «восходящей» частью корпуса и каналами входа и выхода на роторе (при этом для улучшения понимания соответствующая ей часть разделителя оставлена).

На фиг.9 представлен в изометрии поршень с уплотняющим синхронизирующим элементом.

На фиг.10 представлен в изометрии цилиндрический уплотняющий синхронизирующий элемент с прорезями на концах.

На фиг.11 представлен в изометрии поршень с уплотняющим синхронизирующим элементом в виде накладок.

На фиг.12 представлен в изометрии поршень для уплотняющего синхронизирующего элемента, изображенного на фиг.11.

На фиг.13 представлен в изометрии уплотняющий синхронизирующий элемент в виде накладки.

На фиг.14 представлен в изометрии ротор машины с пазом под поршень, изображенный на фиг.12.

На фиг.15 представлена в изометрии часть поршня с уплотняющим синхронизирующим элементом в виде двух пластинок, соединенных осью.

На фиг.16 представлен в изометрии поршень с уплотняющим синхронизирующим элементом в виде роликов.

На фиг.17 представлен в изометрии поршень с облегчением и сквозным отверстием под уплотняющий синхронизирующий элемент.

На фиг.18 представлены в изометрии два диска с облегчением и вырезами в поршне с уплотняющими синхронизирующими элементами, образующими крестовину.

На фиг.19 представлен в изометрии один диск с облегчением и вырезом в поршне, а также уплотняющий синхронизирующий элемент с пазом под крестовину.

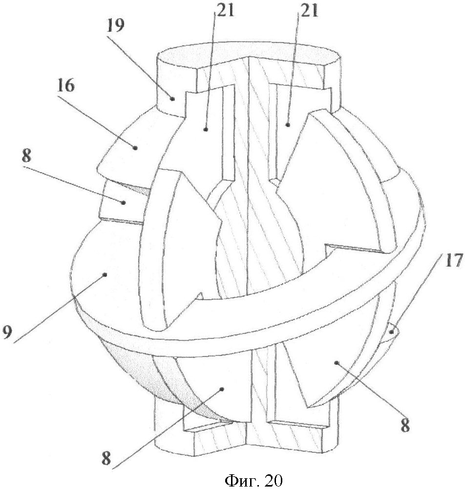
На фиг.20 представлен в изометрии ротор одной ступени машины с вырезом в одну четверть с четырьмя поршнями и разделителем.

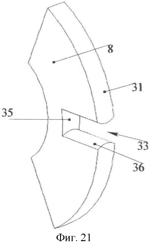
На фиг.21 представлен в изометрии поршень машины в виде части диска с пазом.

На фиг.22 представлен в изометрии поршень в виде части диска с пазом и уплотняющий синхронизирующий элемент в виде накладок, который может работать с ротором с фиг.20.

На фиг.23 представлен в изометрии поршень в виде «ножниц» с уплотняющим синхронизирующим элементом в виде накладок.

На фиг.24 представлена диаграмма, поясняющая работу машины в виде компрессора.

На чертежах:

1 – корпус;

2 – часть корпуса, восходящая половина;

3 – часть корпуса, нисходящая половина;

4 – сферическая полость;

5 – концентрическое отверстие под выход вала ротора;

6 – геометрическая ось машины

7 – ротор;

8 – поршень;

9 – разделитель;

10 – восходящая часть разделителя;

11 – нисходящая часть разделителя;

12 – окно входа;

13 – окно выхода;

16 – сферическая часть ротора над конусом;

17 – поверхность ротора в виде усеченного конуса;

18 – центральная сферическая часть ротора;

19 – выход вала ротора;

20 – рабочая полость;

21 – паз в роторе под поршень;

22 – паз в роторе под ось поршня;

23 – выемка в роторе под уплотняющий синхронизирующий элемент;

24 – сферическая поверхность корпуса;

25 – канал входа на роторе;

26 – канал выхода на роторе;

27 – ось поршня;

28 – внешняя часть поршня;

29 – центральная утолщенная часть поршня;

30 – сквозное отверстие в поршне под уплотняющий синхронизирующий элемент;

31 – сферическая боковая поверхность поршня;

32 – переходная сферическая часть поршня;

33 – паз в поршне под разделитель;

34 – выемка под ролик в пазу поршня;

35 – дно в пазу поршня;

36 – боковая поверхность паза поршня;

37 – цилиндр на боковой поверхности прорези поршня;

38 – цилиндрическая выемка на боковой поверхности прорези поршня;

39 – цилиндрическое отверстие в поршне под уплотняющий синхронизирующий элемент;

40 – разъем разделителя;

41 – внутренняя сферическая поверхность разделителя;

44 – уплотняющий синхронизирующий элемент;

45 – паз в уплотняющем синхронизирующем элементе под разделитель;

46 – выступы на уплотняющем синхронизирующем элементе;

47 – штифт;

48 – плоская или коническая площадка на уплотняющем синхронизирующем элементе;

49 – боковая поверхность паза уплотняющего синхронизирующего элемента;

50 – дно паза уплотняющего синхронизирующего элемента;

51 – сферический торец уплотняющего синхронизирующего элемента;

52 – цилиндрический выступ на уплотняющем синхронизирующем элементе;

53 – цилиндрическая выемка на уплотняющем синхронизирующем элементе;

54 – пластинки уплотняющего синхронизирующего элемента;

55 – ось, соединяющая пластинки уплотняющего синхронизирующего элемента;

56 – ролик, устанавливаемый в пазу поршня;

57 – выборки в поршне под облегчение;

58 – рабочая камера минимального объема;

59 – рабочая камера максимального объема;

60 – половинка диска типа «ножницы»;

61 – вырез в поршне;

62 – цилиндрическая часть уплотняющего синхронизирующего элемента;

63 – плоская (коническая) поверхность разделителя;

64 – геометрическая ось поршня;

65 – паз в уплотняющем синхронизирующем элементе под крестовину;

66 – отверстие для крепления оси крестовины.

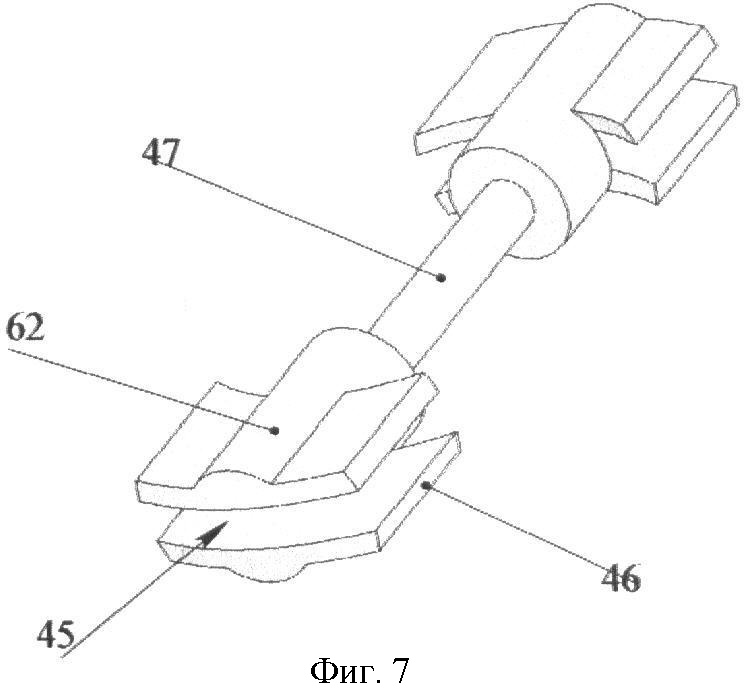
Объемная роторная машина (фиг.1) устроена следующим образом. В корпусе 1 (фиг.2), выполненном из двух частей, условно «восходящей» половины 2 и в основном симметричной ей «нисходящей» половины 3, имеется полость 4 в виде сегмента сферы, из которой имеется концентрическое ей отверстие 5 (фиг.3). В сферической полости 4 под углом к геометрической оси отверстия, являющейся геометрической осью машины 6, установлен разделитель 9, выполненный в виде шайбы с внутренним сферическим отверстием 41 (фиг.1, 3, 4). Для разборности разделитель 9 выполнен из двух частей: условно «восходящей» 10 и «нисходящей» 11, каждая из которых крепится к соответствующим частям корпуса 2 и 3 (фиг.3, 4). В корпусе установлен с возможностью вращения относительно оси 6 корпуса 1 ротор 7 с рабочей поверхностью, выполненной в виде двух поверхностей усеченных конусов 17, опирающихся меньшими основаниями на центральную сферу 18 (фиг.5). Большие основания конусов соединены с концентричными им выходами вала 19 сегментами сферы 16, концентричными центральной сфере 18 и радиусами приблизительно равными радиусу рабочей полости 4. На рабочей поверхности ротора 7 имеется сквозной паз 21 вдоль геометрической оси машины 6 (фиг.5). Для удобства разборки ротор 7 выполнен из двух половинок. Сферической частью корпуса 4, конической частью ротора 17, центральной сферической частью ротора 18 и разделителем 9 образована рабочая полость 20, которую разделитель 9 разделяет на две части (фиг.1). Разделитель 9 касается конической поверхности 17 ротора 7 противоположными сторонами в двух диаметрально противоположных местах (фиг.1). В пазу 21 установлен с возможностью вращательных колебаний вокруг геометрической оси 68, пересекающей перпендикулярно геометрическую ось 6 машины, поршень 8 (фиг.1), выступающий в обе стороны из сквозного паза 21. Поршень 8 выполнен в виде диска, имеющего внешнюю 28 и центральную утолщенную 29 части (фиг.6). Внешняя часть поршня 28 ограничена сферической поверхностью 31, радиус которой приблизительно равен радиусу рабочей полости 4. Переход между внешней частью поршня 28 и центральной частью 29 выполнен по сфере 32, радиус которой приблизительно равен радиусу центральной сферы 21. На внешней части 28 имеются два диаметрально противоположных паза 33 (фиг.6). Через паз 33 по диаметру выполнено цилиндрическое отверстие 39, заходящее на небольшую глубину в утолщенную часть 29 и переходящее далее в сквозное отверстие меньшего диаметра 30. Поршень 8 выполнен зацело с осью 27. В каждом цилиндрическом отверстии 39 поршня 8 установлена часть уплотняющего синхронизирующего элемента 44, выполненная в виде цилиндра 62, торец которого рассечен пазом 45 под разделитель 9. Для увеличения площади боковой поверхности паза 48 на цилиндрической части 62 уплотняющего синхронизирующего элемента 44, рассеченной пазом 45, выполнены выступы 46 (фиг.7). В нерассеченной части уплотняющего синхронизирующего элемента 44 выполнено соосное отверстие под запрессовку штифта. Две части 62 уплотняющего синхронизирующего элемента 44, установленные в двух диаметрально противоположных пазах 45, соединены в одно целое с помощью штифта 47 (фиг.7). Имеются две пары окон входа 12 и выхода 13, причем работающие вместе окна входа 12 и выхода 13 расположены по одну сторону разделителя 9 снизу или сверху вдоль оси ротора 20 и примыкают к месту касания разделителя 9 с ротором 7 с двух сторон (фиг.2, 3). Другая возможность размещения окон – расположение их на роторе (фиг.8). В этом случае они примыкают к пазу 21 под поршень 7.

В данной машине также может применяться поршень 8 (фиг.9), выполненный без оси и укомплектованный уплотняющим синхронизирующим элементом 44 более простой формы. Уплотняющий синхронизирующий элемент 44 выполнен в виде цилиндра, на сферических торцах 51 которого имеются два паза 45 под разделитель 9. Поршень 8 (фиг.9) отличается от поршня 8 (фиг.6) тем, что вместо отверстий разных диаметров 30 и 39 имеется только одно сквозное отверстие 30. Уплотняющий синхронизирующий элемент 44 контактирует с разделителем 9 боковой поверхностью паза 49 и дном паза 50, которое имеет сферическую форму (фиг.10).

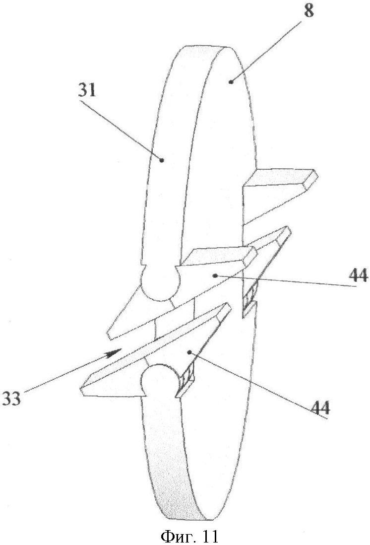
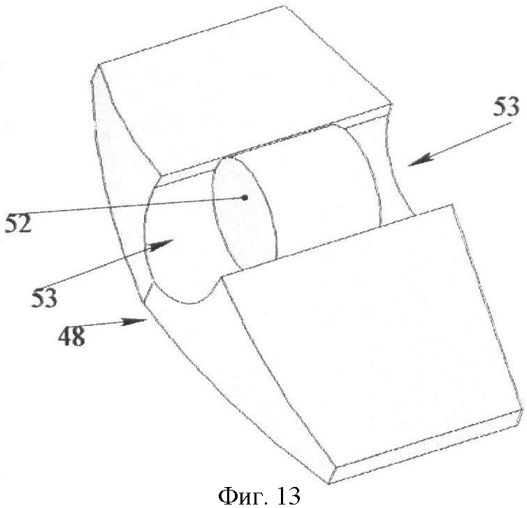
На фиг.11 изображен поршень без оси с уплотняющим синхронизирующим элементом 44 в виде накладок. На боковой поверхности 36 паза 33 поршня 8 имеются два цилиндрических выступа 37 и цилиндрическая выемка 38 (фиг.12). Уплотняющий синхронизирующий элемент с одной стороны имеет два соосных цилиндрических углубления 53, между которыми расположен цилиндрический выступ 52, а с другой стороны плоскую площадку или участок конической поверхности 48 (фиг.13). Ротор 7 для поршня 8 с таким уплотняющим синхронизирующим элементом 44 (фиг.13) имеет выемки 23 под уплотняющий синхронизирующий элемент в виде накладок (фиг.14). Поршень 8 (фиг.12) отличается от поршня 8 (фиг.9) тем, что он не имеет сквозного отверстия 30.

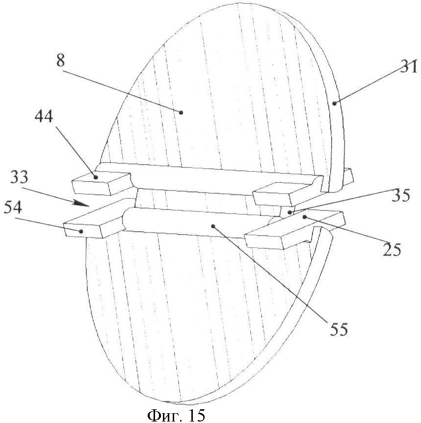
Уплотняющий синхронизирующий элемент может состоять из двух частей, каждая из которых представляет из себя две пластинки 54, соединенные осью 55 (фиг.15).

Уплотняющий синхронизирующий элемент 44 может быть выполнен в виде ролика 56 (фиг.16), расположенного в углублении 34 на боковой поверхности 36 паза 33 поршня 8.

Поршень может быть выполнен без уплотняющего синхронизирующего элемента (фиг.21).

Для уменьшения износа механической синхронизации на больших оборотах, можно облегчать поршень 8. Это эффективно делать за счет выборки материала на частях поршня 8, близких к оси вращения ротора 7, за счет использования материала с меньшей плотностью (особенно в указанных местах), за счет удаления этих частей поршня 8. В последнем случае за счет удаления частей поршня 8 можно сократить длину одной ступени насоса.

На фиг.17 выполнен облегченный вариант поршня 8. Облегчение представляет из себя выборку 57 материала на частях поршня 8, близких к оси 6 вращения машины и удаленных от оси поршня, выборки 57 могут быть несквозными или могут быть заполнены вставками из более легкого материала.

Другим направлением модификации машины является увеличение числа поршней 8. Для этого нужно увеличить количество пазов 21 в роторе 7. Пример выполнения и взаимного положения двух и более поршней 8 приведен на фиг.18.

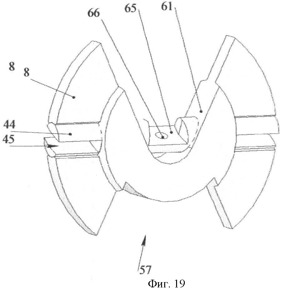
В средней части поршня 8, имеющей облегчение, дополнительно сделан вырез 61. В результате две выступающие части поршня 8 соединены друг с другом одной или двумя дугами, что позволяет пересекать поршни под углом друг к другу и не мешать их колебаниям относительно ротора. Наличие пустоты в центре каждого поршня позволяет стыковать друг с другом оси уплотняющих синхронизирующих элементов 44 в виде крестовины (фиг.19). Для этого в средней части уплотняющего синхронизирующего элемента выполнен паз 65 до середины цилиндра. Для большей жесткости крестовина может через отверстие 66 в пазу 65 уплотняющего синхронизирующего элемента фиксироваться осью.

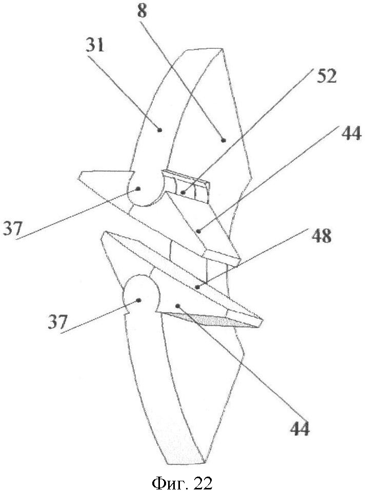
Другой способ добавления поршней 8 изображен на фиг.20 – сделать прорези в роторе 7 несквозными и в каждую помещать поршни 8, которые выполнены в виде сектора диска менее 180 градусов (фиг.21). При этом поршни 8 могут удерживаться за счет контакта с разделителем 9 по плоской (конической) поверхности 63 и по сферической (цилиндрической) поверхности разделителя 41 и/или по сферической поверхности корпуса 24.

На фиг.22 изображен поршень 8, отличающийся от поршня 8 (фиг.21) наличием уплотняющего синхронизирующего элемента 44 (фиг.13). Для таких поршней 8 в пазах ротора 21 могут быть выполнены канавки для исключения защемления жидкости.

При этом поршни 8 могут удерживаться за счет контакта с разделителем 9 по плоской (конической) поверхности 63 и по сферической (цилиндрической) поверхности 41 разделителя и/или по сферической поверхности 24 корпуса 1.

При этом автоматически за счет прижатия центробежными силами и силами давления рабочего тела могут выбираться зазоры на сфере 24. Зазоры под разделитель 9 могут выбираться, если толщина разделителя 9 возрастает к периферии.

Для автоматического выбора зазоров между разделителем 9 и прорезью 33 поршня 8 или уплотняющим синхронизирующим элементом 44 поршень 8 выполняется в виде ножниц (фиг.23). Такой поршень 8 состоит из двух частей 60. Поршни 8 такого типа могут выполняться как с уплотняющим синхронизирующим элементом 44, так и без него.

При этом поджатие двух частей 60 поршня 8 может осуществляться центробежными силами, действующими на части 60 поршня 8, центробежными силами, которые действуют на дополнительный расклинивающий элемент, пружиной, давлением рабочей среды.

Поршень 8 при этом может крепиться различными способами.

Поршень 8 может изготавливаться зацело с осью вращения 27, тогда ротор 7 выполняется разрезным.

Поршень 8 может изготавливаться с запрессовывающейся осью 27, в которой имеется отверстие для пропуска штифта.

Поршень 8 может изготавливаться с углублениями вместо оси 27, для фиксации в роторе 7 с помощью штифтов.

Поршень 8 может не иметь дополнительной фиксации в роторе 7 (удерживаться в рабочем положении разделителем 9 и/или корпусом 1).

Поршень 8 может центрироваться за счет формы паза 21 в роторе 7.

С точки зрения процессов вытеснения удобно говорить о количестве выступающих в рабочую камеру 20 вытеснителях независимо от того, как они устроены внутри ротора 7, как закреплены и как уравновешены. Но с точки зрения динамических центробежных и инерционных нагрузок, уплотняющих свойств, нагрузок на пары трения важно внутреннее устройство и крепление поршней 8. Т.е. важно, являются ли две выступающие части поршня 8 частями одного поршня 8 или разных, установлен ли в поршне 8 уплотняющий синхронизирующий элемент 44, выступающий в диаметрально противоположные части рабочей камеры или только в одну сторону, охватывает ли разделитель 9 цельный уплотняющий синхронизирующий элемент 44 или состоящий из отдельных частей, находящихся по разные стороны разделителя 9.

Объемная роторная машина, выполненная в качестве насоса, работает следующим образом. При вращении ротора 7 верхняя половина рабочей полости 20 перекрывается выступающей частью поршня 8 на участке между окнами 12 и 13, разбивая ее на две рабочие камеры уменьшающегося объема (перед поршнем) и увеличивающегося объема (за поршнем). Рабочее тело из уменьшающейся рабочей камеры выходит в окно выхода 13, в увеличивающуюся рабочую камеру поступает через окно входа 12. При этом поршень 8 проворачивается относительно ротора 7, взаимодействуя непосредственно прорезью 33 или через уплотняющий синхронизирующий элемент 44 с разделителем 9. При попадании этой части поршня в зону перепуска (окон входа 12/выхода 13) сразу или через некоторое время его заменяет следующий поршень 8. Процесс повторяется. Аналогично для нижней половины рабочей полости 20.

При выполнении объемной роторной машины в качестве компрессора и с большим количеством вытеснителей (выступающих частей поршня 8) между разделителем 9 и конусной поверхностью 17 ротора 7 может быть оставлен большой зазор. Работу такой машины легче понять по диаграмме (фиг.24). При подходе пары соседних вытеснителей к месту, где между ними образуется камера максимального размера 59 (в районе стыка восходящей 10 и нисходящей 11 частей разделителя 9), задний поршень 8 выходит из зоны окна входа 12. При дальнейшем перемещении отсеченный поршнями 8 объем начинает уменьшаться. При достижении заданной степени сжатия передний поршень 8 попадает в область окна выхода 13. При дальнейшем перемещении происходит вытеснение отсеченного объема в окно выхода 13 до достижения камерой минимального объема 58 (в районе стыка восходящей 10 и нисходящей 11 части разделителя 9). После этого задний поршень 8 выходит из области окна выхода 13, объем камеры между поршнями 8 с остатками газа начинает увеличиваться, пока давление не сравняется с входным давлением. После этого передний поршень 8 попадает в район окна входа 12, начинается процесс заполнения камеры. После достижения камерой максимального объема 59 процесс повторяется. В нижней половине рабочей камеры происходят аналогичные процессы.

В рассматриваемых машинах существует явление подкрутки поршня 8 давлением среды в сторону его вращения. Величина крутящего момента пропорциональна толщине выступающей из ротора 7 части поршня 8. Поэтому толщину этой части поршня 8 следует выбирать исходя из отношения момента сил трения в оси 27 поршня 8 к перепаду давления на поршне 8. Процедура расчетов не приводится ввиду очевидности.

Формула изобретения

1. Роторная объемная машина, содержащая корпус, рабочая поверхность которого выполнена в виде части сегмента сферы, ротор с концентричной рабочей поверхностью, установленный в корпусе с возможностью вращения, кольцевую концентрическую рабочую полость, образованную корпусом и ротором, разделитель, выполненный в виде наклонной шайбы, геометрическая ось которой наклонена к геометрической оси вращения ротора, установленной неподвижно в корпусе, и разделяющий рабочую полость на две части, причем на рабочей поверхности ротора выполнен, по меньшей мере, один паз вдоль его геометрической оси вращения, в котором установлен с возможностью совершения вращательных колебаний вокруг геометрической оси, пересекающей перпендикулярно геометрическую ось ротора, поршень, выполненный в виде, по меньшей мере, части диска, частично выступающего в рабочую полость для ее перекрытия, при этом в каждой выступающей части поршня имеется прорезь для прохода разделителя, в которой установлен, по меньшей мере, один уплотняющий синхронизирующий элемент.

2. Машина по п.1, отличающаяся тем, что рабочая поверхность ротора выполнена в виде двух соосных поверхностей усеченных конусов, опирающихся усеченной частью на сферу.

3. Машина по п.1, отличающаяся тем, что пазы на рабочей поверхности ротора соединены в середине ротора.

4. Машина по п.1, отличающаяся тем, что наклонная шайба выполнена плоской.

5. Машина по п.1, отличающаяся тем, что наклонная шайба выполнена с конической рабочей поверхностью.

6. Машина по п.1, отличающаяся тем, что наклонная шайба установлена в корпусе с возможностью касания ротора диаметрально противоположными частями, находящимися на ее противоположных сторонах.

7. Машина по п.6, отличающаяся тем, что на наклонной шайбе в местах касания ротора выполнены выемки.

8. Машина по п.1, отличающаяся тем, что наклонная шайба выполнена в виде двух частей.

9. Машина по п.8, отличающаяся тем, что части шайбы соединены по разъему в виде «>».

10. Машина по п.1, отличающаяся тем, что диск выполнен со сферической боковой поверхностью и с двумя прорезями для прохода разделителя.

11. Машина по п.1, отличающаяся тем, что диск выполнен с двумя прорезями для прохода разделителя с облегчениями на участках, удаленных от прорезей.

12. Машина по п.1, отличающаяся тем, что диск выполнен в виде усеченного сектора менее 180° с одной прорезью для прохода разделителя.

13. Машина по п.1, отличающаяся тем, что уплотняющий синхронизирующий элемент выполнен в виде цилиндра с прорезями на его концах, причем плоскости прорезей совпадают.

14. Машина по п.13, отличающаяся тем, что боковые площади прорезей расширены за счет выступов.

15. Машина по п.1, отличающаяся тем, что средняя часть уплотняющего соединительного элемента имеет меньший диаметр.

16. Машина по п.1, отличающаяся тем, что уплотняющий синхронизирующий элемент выполнен в виде накладок на прорезь поршня.

17. Машина по п.1, отличающаяся тем, что уплотняющий синхронизирующий элемент выполнен в виде двух пластинок, соединенных осью.

18. Машина по п.1, отличающаяся тем, что уплотняющий синхронизирующий элемент выполнен в виде ролика.

РИСУНКИ

Categories: BD_2376000-2376999