|
|
(21), (22) Заявка: 2008136292/11, 08.09.2008
(24) Дата начала отсчета срока действия патента:
08.09.2008
(46) Опубликовано: 20.12.2009
(56) Список документов, цитированных в отчете о поиске:
SU 1504202 A1, 30.08.1989. RU 2116239 C1, 27.07.1998. DE 10221766 A, 12.12.2002. JP 60170383 U, 12.11.1985.
Адрес для переписки:
610047, г.Киров, ул. Дзержинского, 18-128, Г.П. Чернядьеву
|
(72) Автор(ы):
Магзумов Ринат Рамилович (RU), Петухов Константин Александрович (RU)
(73) Патентообладатель(и):
Общество с ограниченной ответственностью “Кировский завод электромагнитов “ДимАл” (RU)
|
(54) ЗАХВАТ-КАНТОВАТЕЛЬ
(57) Реферат:
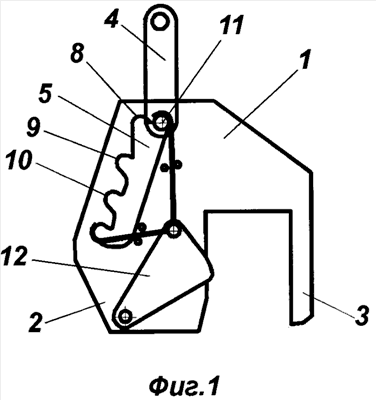
Изобретение предназначено для грузов, имеющих центральное отверстие, преимущественно для рулонов металла. Захват-кантователь содержит С-образный корпус (1) с фигурным пазом (5), выполненным от его середины и до лапы (2), имеет на концах первую и вторую фиксированные впадины (6) и (7), третью фиксированную впадину (8), расположенную возле первой впадины (6), и одну или несколько дополнительных фиксированных впадин (9 и 10) в середине паза. Палец (11) серьги (4) расположен в пазу (5) и может находиться в любой из фиксированных впадин. На лапе (2) шарнирно установлен эксцентриковый прижим (12). На прижиме шарнирно закреплены две тяги (13 и 14) с крюками (15) на конце, служащими для взаимодействия с пальцем. На корпусе смонтированы парные упоры (16), служащие направляющими для тяг (13 и 14). Первая и вторая фиксированные впадины (6 и 7) используются при перемещениях захвата-кантователя без груза и для освобождении груза от зажатия. Третья фиксированная впадина (8) и дополнительные впадины (9 и 10) используются при зажатии груза, его перемещении и кантовании. Достигается повышение удобства эксплуатации и надежности захвата-кантователя. 1 з.п. ф-лы, 4 ил.
Изобретение относится к подъемно-транспортному оборудованию, а именно к захватам-кантователям для грузов, имеющих центральное отверстие, преимущественно для рулонов металла.
Известно устройство для кантования и переноски грузов с центральным отверстием, содержащее скобу с упором и фигурным пазом для перемещения в нем серьги грузовой подвески и двуплечий рычаг, один конец которого выполнен в виде крюка, а на втором конце установлен прижим для груза (SU 527363, В66С 1/10, 1976).
Недостатком устройства является его низкая надежность.
Наиболее близким аналогом является захват-кантователь, содержащий С-образный корпус с двумя лапами и фигурным пазом, серьгу грузовой подвески, размещенную в фигурном пазу с возможностью перемещения по нему, и эксцентриковый прижим, шарнирно закрепленный на одной лапе корпуса (SU 1504202, В66С 1/44, 1989).
Данный захват-кантователь оснащен двуплечим рычагом, один конец которого взаимодействует с серьгой подвески, а другой – с эксцентриковым прижимом, обеспечивая зажатие груза. Рычаг является силовым элементом, который при транспортировке груза в положении с вертикальным направлением оси отверстия воспринимает суммарный вес захвата-кантователя и груза. В средней части паза выполнена фиксированная впадина, в которую помещают серьгу подвески перед установкой захвата-кантователя на груз, например рулон металла, расположенный вертикально, т.е. основанием вниз. Для установки на груз захват-кантователь вручную наклоняют, ориентируя лапы корпуса по боковым поверхностям груза. Это тяжелая физическая работа, поскольку вес захвата-кантователя, используемого для тяжелых рулонов, составляет сотни килограммов. При этом в случае превышения угла наклона серьга выскользнет из впадины по пазу, а сорвавшийся из фиксированного положения корпус захвата-кантователя может травмировать рабочего. А при кантовании груза в горизонтальное положение серьга в некоторый момент выскальзывает из этой впадины и скользит по пазу к эксцентриковому прижиму. В это время груз остается в неустойчивом положении без поддержки и падает. Остановившись, серьга воспринимает вес груза и динамический удар от его падения.
Техническим результатом изобретения является повышение удобства эксплуатации и надежности захвата-кантователя.
Это достигается тем, что в захвате-кантователе, содержащем С-образный корпус с двумя лапами и фигурным пазом, серьгу, размещенную в фигурном пазу с возможностью перемещения по нему, эксцентриковый прижим, шарнирно закрепленный на первой лапе корпуса, фигурный паз начинается на середине корпуса и заканчивается на первой лапе, в начале и в конце паза выполнены соответственно первая и вторая фиксированные впадины, вблизи первой фиксированной впадины расположена третья фиксированная впадина, а эксцентриковый прижим оснащен двумя шарнирно прикрепленными к нему тягами, имеющими на конце крюк для взаимодействия с серьгой, установленными в направляющих корпуса с возможностью движения таким образом, что положение крюка каждой тяги при отведенном от груза эксцентриковом прижиме совпадает с положением соответственно первой и второй фиксированной впадины. Целесообразно также выполнение в средней части паза по меньшей мере одной дополнительной фиксированной впадины.
Сущность изобретения поясняется чертежами, где схематично показано: на фиг.1 – кантователь; на фиг.2 – то же, с грузом, установленным вертикально; на фиг.3 – то же, при кантовании груза в горизонтальное положение; на фиг.4 – то же, с грузом, расположенным горизонтально.
Захват-кантователь содержит С-образный корпус 1 с первой лапой 2 и второй лапой 3, а также серьгу грузовой подвески 4. В корпусе от его середины к лапе 2 выполнен фигурный паз 5, который имеет на концах первую и вторую фиксированные впадины 6 и 7, третью фиксированную впадину 8, расположенную возле первой впадины 6, а также одну или несколько дополнительных фиксированных впадин 9 и 10 в середине паза. Палец 11 серьги 4 расположен в пазу 5 и может находиться в любой из фиксированных впадин. На лапе 2 шарнирно установлен эксцентриковый прижим 12, который конструктивно может быть выполнен из двух одинаковых элементов, соединенных друг с другом и расположенных с обеих сторон корпуса. На прижиме шарнирно закреплены две тяги 13 и 14 с крюками 15 на конце, служащими для взаимодействия с пальцем 11 серьги 4. На корпусе смонтированы парные упоры 16, служащие направляющими для тяг 13 и 14. Первая и вторая фиксированные впадины 6 и 7 используются при перемещениях захвата-кантователя без груза и для освобождении груза от зажатия. Третья фиксированная впадина 8 и дополнительные впадины 9 и 10 используются при зажатии груза, его перемещении и кантовании. Впадины 9 и 10 обеспечивают возможность изменения угла наклона груза при транспортировке и кантовании, что может быть необходимо при работе с некоторыми грузами.
Работа с захватом-кантователем осуществляется следующим образом. В исходном положении (см. фиг.1) корпус висит на пальце 11 серьги, расположенном в первой фиксированной впадине 6. Эксцентриковый прижим поднят вверх посредством тяги 13, зацепленной крюком за палец 11 серьги.
Для транспортировки груза 17 при вертикальном положении оси его отверстия 18 захват-кантователь опускают на груз, вводя в отверстие первую лапу 2. При опускании серьги 4 грузовой подвески палец 11 позволяет тяге 13 и эксцентриковому прижиму 12 опуститься под действием собственного веса вниз, при этом прижим входит в контакт с поверхностью изделия. Палец 11 выходит из впадины 6 паза и из зацепления с крюком тяги 13. Далее серьгу 4, висящую свободно, вручную смещают в сторону впадины 8 (влево на фиг.2) и поднимают грузоподъемным механизмом (не показан), палец входит во впадину 8. При дальнейшем подъеме серьги 4 происходит поднятие корпуса 1, прижим 12 за счет сил трения удерживается грузом 17 и происходит зажатие груза (показано на фиг.2). Далее груз поднимается, переносится в нужное место и опускается, вновь занимая вертикальное положение. Для освобождения захвата-кантователя от груза серьгу опускают, выводя палец 11 из впадины 8, и вручную смещают его под крюк тяги 13. При подъеме серьги 4 палец 11 зацепляется с крюком тяги, тяга перемещается между парными упорами 16, обеспечивая введение пальца 11 во впадину 6. Вслед за тягой поворачивается эксцентриковый прижим 12, освобождая груз. При дальнейшем подъеме захват-кантователь снимается с груза и возвращается в исходное положение.
Для кантования груза в горизонтальное положение захват-кантователь устанавливают на груз, вводя в отверстие 18 вторую лапу 3. После опускания серьги обеспечивают введение ее пальца 11, как это описано выше, в третью фиксированную впадину 8 или в одну из дополнительных впадин 9 и 10 (показано на фиг.3). Далее при подъеме серьги 4 происходит зажатие груза и его поднятие. От выбора впадины и от соотношения длины и диаметра груза зависит угол, на который груз повернется при подъеме. При опускании груз повернется в горизонтальное положение. Для освобождения захвата-кантователя от груза палец 11 переводят под крюк тяги 14, которая обеспечивает при подъеме серьги разжатие прижима 12 и введение пальца во впадину 7 паза (показано на фиг.4).
Для транспортировки груза, расположенного горизонтально, захват-кантователь устанавливают на груз, как это показано на фиг.4, затем переводят палец 11 из впадины 7 во впадину 10, освобождая тягу 14 и обеспечивая контакт прижима 12 с грузом. При подъеме серьги происходит зажатие груза и подъем с поворотом в наклонное положение (фиг.3). При опускании после транспортировки груз вновь занимает горизонтальное положение.
Захват-кантователь удобен и безопасен в эксплуатации, поскольку в нем вручную производят только горизонтальные перемещения свободно висящей серьги, а все другие действия осуществляются грузоподъемным механизмом. Захват-кантователь надежен в работе, так как его элементы управления (тяги) работают в более легком режиме, чем двуплечий рычаг в конструкции ближайшего аналога.
Формула изобретения
1. Захват-кантователь, содержащий С-образный корпус с двумя лапами и фигурным пазом, серьгу, размещенную в фигурном пазу с возможностью перемещения по нему, эксцентриковый прижим, шарнирно закрепленный на первой лапе корпуса, отличающийся тем, что фигурный паз начинается на середине корпуса и заканчивается на первой лапе, в начале и в конце паза выполнены соответственно первая и вторая фиксированные впадины, вблизи первой фиксированной впадины расположена третья фиксированная впадина, а эксцентриковый прижим оснащен двумя шарнирно прикрепленными к нему тягами, имеющими на конце крюк для взаимодействия с серьгой, установленными в направляющих корпуса с возможностью движения таким образом, что положение крюка каждой тяги при отведенном от груза эксцентриковом прижиме совпадает с положением соответственно первой и второй фиксированных впадин.
2. Захват-кантователь по п.1, отличающийся тем, что в средней части паза выполнена по меньшей мере одна дополнительная фиксированная впадина.
РИСУНКИ
|
|