|
|
(21), (22) Заявка: 2006122218/11, 30.12.2004
(24) Дата начала отсчета срока действия патента:
30.12.2004
(30) Конвенционный приоритет:
30.12.2003 DE 10361722.1
(43) Дата публикации заявки: 10.02.2008
(46) Опубликовано: 20.12.2009
(56) Список документов, цитированных в отчете о поиске:
GB 1261667 A, 26.01.1972. RU 2140378 C1, 27.10.1999.
(85) Дата перевода заявки PCT на национальную фазу:
31.07.2006
(86) Заявка PCT:
EP 2004/014864 20041230
(87) Публикация PCT:
WO 2005/063579 20050714
Адрес для переписки:
191186, Санкт-Петербург, а/я 230, “АРС-ПАТЕНТ”, пат.пов. М.В.Хмаре, рег. 771
|
(72) Автор(ы):
ШЕРЕР Томас (DE), СОЛНЦЕВ Александр (DE), ХЕЕШ Михаэль (DE)
(73) Патентообладатель(и):
ЭЙРБАС ДОЙЧЛАНД ГМБХ (DE)
|
(54) ВОЗДУХОВОД ДЛЯ ПОДАЧИ НАРУЖНОГО ВОЗДУХА В ВОЗДУШНОЕ СУДНО
(57) Реферат:
Изобретение относится к оборудованию воздушного судна. Воздуховод (10) для подачи наружного воздуха в воздушное судно снабжен первым воздушным впускным отверстием (12) и основным воздушным каналом (16), проходящим по ходу потока от первого воздушного впускного отверстия (12). Воздуховод (10) снабжен вторым воздушным впускным отверстием (24), которое выполнено независимым от первого воздушного впускного отверстия (12). Способ характеризуется использованием воздуховода. Изобретения направлены на повышение надежности снабжения бортовых систем воздушного судна наружным воздухом при упрощении конструкции. 2 н. и 5 з.п. ф-лы, 3 ил.
Область техники, к которой относится изобретение
Настоящее изобретение относится к воздуховоду для подачи наружного воздуха в воздушное судно, который имеет первое воздушное впускное отверстие и основной воздушный канал, проходящий по ходу потока от первого воздушного впускного отверстия, а также относится к способу работы воздуховода такого типа.
Уровень техники
Воздуховоды с воздушным впускным отверстием и основным воздушным каналом, проходящим по ходу воздушного потока от впускного отверстия, применяются в современных самолетах для снабжения наружным воздухом различных бортовых систем, например систем кондиционирования воздуха. В полете наружный воздух через впускное отверстие поступает в воздуховод, а в то время, когда самолет находится на земле, чтобы создать течение наружного воздуха через впускное отверстие, для формирования или активного создания в воздуховоде пониженного давления используются механические устройства, например струйные насосы. Чтобы можно было адаптировать расход наружного воздуха, подаваемого через воздуховод, к потребностям различных систем, которые снабжаются наружным воздухом, в зависимости от того, находится самолет в воздухе или на земле, обычно в зоне впускного отверстия, в зоне выпускного отверстия или в основном воздушном канале воздуховода имеется подвижный элемент, который позволяет увеличивать, уменьшать или полностью перекрывать проходное сечение впускного отверстия, выпускного отверстия или основного воздушного канала. Подвижным элементом может служить, например, свободно регулируемая впускная или выпускная заслонка, которая в зависимости от своего положения открывает впускное или выпускное отверстие на требуемую величину проходного сечения потока, а также, если требуется, полностью перекрывает впускное или выпускное отверстие.
Недостатком такой конструкции является то, что подвижный элемент, например в виде свободно регулируемой впускной или выпускной заслонки, в полете испытывает большие механические нагрузки, в частности, когда подвижный элемент находится в положении, частично открывающем проходное сечение. Более того, при частичном открытии проходного сечения с целью обеспечения потребности в подаче наружного воздуха в соответствующие системы подвижный элемент может в полете вызывать аэродинамические потери и увеличенный шум.
Раскрытие изобретения
Задача настоящего изобретения состоит в создании воздуховода для подачи наружного воздуха в воздушное судно, который был бы конструктивно простым и гарантировал оптимальную подачу наружного воздуха к различным бортовым системам воздушного судна как в полете, так и при нахождении воздушного судна на земле.
Для решения указанной задачи предлагается воздуховод для подачи наружного воздуха в воздушное судно, который снабжен вторым воздушным впускным отверстием, выполненным независимым от первого впускного отверстия. Такая конструкция в соответствии с изобретением дает возможность простым и надежным способом снабжать бортовые системы воздушного судна наружным воздухом при любом состоянии воздушного судна в процессе его эксплуатации, т.е. и в полете, и на земле.
Желательно, чтобы второе впускное отверстие располагалось по ходу потока после первого впускного отверстия и соединялось с основным воздушным каналом воздуховода посредством бокового канала, подходящего по существу в радиальном направлении или под определенным углом к основному воздушному каналу. Как вариант, также можно предусмотреть второе воздушное впускное отверстие в виде отверстия в наружной стенке воздуховода. Если после первого впускного отверстия в основном воздушном канале предусмотрен диффузор, то второе воздушное впускное отверстие желательно расположить по ходу потока после диффузора.
В предпочтительном варианте осуществления воздуховода согласно изобретению первое воздушное впускное отверстие имеет постоянное проходное сечение, т.е. оно не оснащено подвижным элементом, расположенным в области этого впускного отверстия, который может представлять собой, например, регулируемую впускную заслонку для задания проходного сечения указанного отверстия, и который при установленных воздуховодах во время полета подвергается действию особенно значительных механических нагрузок, если находится в положении, при котором он частично открывает проходное сечение первого воздушного впускного отверстия. Желательно, чтобы первое воздушное впускное отверстие было выполнено в форме воздухозаборника NACA (Национального консультативного комитета по аэронавтике), который благодаря своей особой конструкции обеспечивает оптимальную подачу воздуха.
Желательно, чтобы проходное сечение первого воздушного впускного отверстия имело такую величину, чтобы во время полета гарантировать оптимальную подачу наружного воздуха к бортовым системам воздушного судна. За счет отказа от подвижного элемента, располагаемого в области первого впускного отверстия для задания проходного сечения отверстия, и согласования проходного сечения первого впускного отверстия с потребностями подачи наружного воздуха в полете осуществляется снижение аэродинамических потерь и уровня шума в области первого воздушного впускного отверстия.
Желательно предусмотреть подвижный элемент для задания проходного сечения второго воздушного впускного отверстия. Подвижный элемент может быть выполнен таким образом, чтобы в зависимости от своего положения он либо открывал, либо закрывал второе впускное отверстие. Как вариант, указанный подвижный элемент может быть выполнен свободно регулируемым, чтобы в зависимости от своего положения уменьшал или увеличивал проходное сечение второго впускного отверстия.
Подвижный элемент имеет форму, например, заслонки, которая поворачивается вокруг оси. Заслонка такого типа отличается относительной простотой, дешевизной в производстве и имеет небольшой вес, что желательно для использования в воздушном судне.
В одном из вариантов осуществления воздуховода согласно изобретению предусмотрено устройство для создания низкого давления в области второго впускного отверстия с целью перемещения подвижного элемента в первое положение, в котором он по меньшей мере частично открывает проходное сечение второго впускного отверстия. Устройство для создания низкого давления может представлять собой, например, вентилятор или состоять из нескольких вентиляторов. Однако, как вариант, для создания низкого давления в области второго впускного отверстия может быть установлен насос. По своей конструкции подвижный элемент должен иметь такой вес и такую геометрическую форму, чтобы его можно было переводить в желаемое положение за счет низкого давления, создаваемого в области второго впускного отверстия. Если подвижный элемент выполнен в форме заслонки, которая поворачивается вокруг оси, то положение оси вращения, в частности, следует выбирать в зависимости от положения центра тяжести заслонки, так чтобы можно было правильным образом приводить заслонку в действие посредством низкого давления, создаваемого в области второго впускного отверстия. Кроме того, за счет низкого давления, создаваемого в области второго впускного отверстия, благоприятным образом осуществляется всасывание наружного воздуха в воздуховод, и этот воздух может быть подан к бортовым системам воздушного судна.
Желательно, чтобы по своей конструкции подвижный элемент обладал таким весом и такой геометрической формой, чтобы он перемещался во второе положение за счет потока воздуха, обтекающего второе впускное отверстие во время запуска воздушного судна, и удерживался во втором положении за счет давления скоростного напора, которое создается в воздуховоде во время полета, причем во втором положении подвижный элемент закрывает проходное сечение второго впускного отверстия. Если подвижный элемент выполнен в форме заслонки, которая поворачивается вокруг оси, то положение оси вращения, в частности, следует выбирать в зависимости от положения центра тяжести заслонки так, чтобы в полете заслонка гарантированно удерживала второе впускное отверстие закрытым за счет давления скоростного напора, создаваемого в воздуховоде.
В другом варианте осуществления воздуховода согласно изобретению предусмотрено электромеханическое управляющее устройство для перемещения подвижного элемента в первое положение, в котором он по меньшей мере частично открывает проходное сечение второго впускного отверстия, или для перемещения подвижного элемента во второе положение, в котором он закрывает проходное сечение второго впускного отверстия. Однако, понятно, что при наличии управления подвижным элементом при помощи давления электромеханическое управляющее устройство может быть также предусмотрено в качестве дополнительного управляющего устройства, которое в этом случае также обеспечивает правильность функционирования подвижного элемента, если низкого давления, создаваемого в области второго впускного отверстия, или давления скоростного напора, которое возникает в воздуховоде во время полета, оказывается недостаточно, чтобы перевести подвижный элемент в требуемое положение и/или удерживать его в требуемом положении.
Желательно предусмотреть механическое устройство для удержания подвижного элемента в первом положении, в котором он по меньшей мере частично открывает проходное сечение второго впускного отверстия, или для удержания его во втором положении, в котором он закрывает проходное сечение второго впускного отверстия. Механическое устройство может представлять собой, например, коленчатый рычаг или пружинный механизм, при этом данное механическое устройство гарантирует, что подвижный элемент, приводимый в действие давлением, будет удерживаться в требуемом положении даже при наличии флуктуации давления. Если подвижный элемент имеет электромеханический привод, то энергопотребление электромеханического управляющего устройства может быть полезным образом снижено за счет использования механического устройства, которое удерживает подвижный элемент в требуемом положении.
Изобретение предлагает способ работы воздуховода, в котором подачу наружного воздуха в процессе полета производят через первое воздушное впускное отверстие, то есть второе впускное отверстие в полете закрыто. Когда первое впускное отверстие имеет постоянное проходное сечение, например, как в случае воздухозаборника NACA, и размеры для соответствия потребностям в наружном воздухе в процессе полета, то в полете гарантировано оптимальное обеспечение бортовых систем воздушного судна наружным воздухом. В то же самое время за счет отказа от использования подвижного элемента, располагаемого в области первого впускного отверстия и служащего для задания проходного сечения первого впускного отверстия, можно уменьшить аэродинамические потери и шум в области первого впускного отверстия.
Когда воздушное судно находится на земле, подачу наружного воздуха осуществляют через первое и второе впускные отверстия, то есть при наземных операциях второе впускное отверстие воздуховода открыто. Это означает, что когда воздушное судно находится на земле, можно простым способом гарантировать, что бортовые системы будут правильным образом снабжаться достаточным количеством наружного воздуха. Более того, такое оптимизированное управление подачей воздуха для работы на земле обеспечивает уменьшение потерь давления при наземных операциях.
Краткое описание чертежей
Предпочтительные варианты осуществления воздуховода, соответствующие настоящему изобретению, описаны далее более подробно со ссылками на прилагаемые чертежи, где:
на фиг.1 приведен вид сбоку воздуховода согласно изобретению,
на фиг.2 приведен вид сверху воздуховода по фиг.1, и
на фиг.3 в увеличенном виде приведен разрез воздуховода по фиг.1 и 2.
Осуществление изобретения
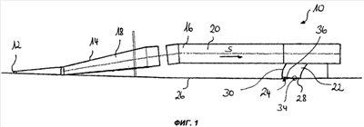
На фиг.1 и 2 показан воздуховод для подачи наружного воздуха в самолет, причем воздуховод обозначен на обоих чертежах позицией 10 и содержит первое воздушное впускное отверстие 12. Первое впускное отверстие 12 имеет форму воздухозаборника NACA с постоянным проходным сечением, то есть подвижный элемент, располагаемый в зоне первого впускного отверстия 12, например регулируемая впускная заслонка для задания проходного сечения первого впускного отверстия 12, не установлен.
Основной воздушный канал 16 проходит от первого впускного отверстия 12 вдоль наружной стенки 14 воздуховода 10, при этом во время работы воздуховода 10 по снабжению бортовых систем самолета наружным воздухом наружный воздух протекает через данный канал в направлении S потока. После первого впускного отверстия 12 в основном воздушном канале 16 предусмотрены первый и второй диффузоры 18, 20.
После второго диффузора 20 от основного воздушного канала 16 ответвляется боковой канал 22, который подходит к основному воздушному каналу 16 по существу в радиальном направлении, ответвляется от него и соединяет основной воздушный канал 16 со вторым воздушным впускным отверстием 24. Чтобы наружный воздух мог втекать во второе впускное отверстие 24, в наружной обшивке 26 самолета предусмотрено отверстие 28, проходное сечение которого соответствует проходному сечению второго впускного отверстия 24, ограниченного наружной стенкой 30 бокового канала 22.
Для открывания и закрывания второго впускного отверстия 24 в зоне второго впускного отверстия 24 предусмотрен подвижный элемент 36 в форме заслонки, которая поворачивается вокруг оси 34. Чтобы перевести подвижный элемент 36 в первое положение, при котором он открывает проходное сечение второго впускного отверстия 24, предусмотрен вентилятор (на чертеже не показан), который во время работы создает низкое давление в зоне второго впускного отверстия 24. По конструкции подвижный элемент 36 выполнен таким образом, что его вес, геометрическая форма и, в частности, положение центра тяжести относительно оси 34 вращения таковы, что подвижный элемент может быть приведен в требуемое первое положение за счет низкого давления, создаваемого вентилятором в зоне второго впускного отверстия 24. Кроме того, подвижный элемент 36 выполнен так, что во второе положение, показанное на фиг.3 штриховой линией, он переводится за счет потока воздуха, протекающего мимо второго впускного отверстия 24 во время запуска двигателей самолета, и удерживается во втором положении за счет динамического давления, создаваемого в воздуховоде 10 в полете, причем во втором положении подвижный элемент 36 закрывает проходное сечение второго впускного отверстия 24.
Не показанное на чертежах механическое устройство, например в виде коленчатого рычага или пружинного механизма, служит для удержания подвижного элемента 36 в первом положении, в котором он по меньшей мере частично открывает проходное сечение второго впускного отверстия 24, или во втором положении, в котором он закрывает проходное сечение второго впускного отверстия 24. Таким способом гарантируется, что подвижный элемент удерживается в требуемом положении даже в том случае, если в зоне второго впускного отверстия 24 возникают флуктуации давления.
В другом варианте осуществления воздуховода 10, не показанном на чертежах, предусмотрено электромеханическое управляющее устройство для перевода подвижного элемента 36 в первое положение, в котором он по меньшей мере частично открывает проходное сечение второго впускного отверстия 24, или во второе положении, в котором он закрывает проходное сечение второго впускного отверстия 24.
Работа воздуховода 10 описана ниже. В процессе запуска двигателей самолета подвижный элемент 36 посредством потока воздуха, протекающего мимо второго впускного отверстия 24, переводится во второе положение, и в данном положении закрывает проходное сечение второго впускного отверстия 24. В процессе работы подвижный элемент 36, оснащенный вспомогательным механическим устройством, в течение всего полета удерживается во втором положении за счет динамического давления в воздуховоде 10. Следовательно, подача наружного воздуха осуществляется исключительно посредством первого впускного отверстия 12. Поскольку первое впускное отверстие 12 выполнено в виде воздухозаборника NACA с постоянным проходным сечением и размерами, соответствующими потребности в наружном воздухе в полете, в процессе полета гарантировано оптимальное обеспечение бортовых систем самолета наружным воздухом за счет первого впускного отверстия 12. В то же самое время за счет отказа от использования подвижного элемента, расположенного в зоне первого впускного отверстия 12 и служащего для задания проходного сечения первого впускного отверстия 12, можно уменьшить аэродинамические потери и шум, создаваемый в зоне первого впускного отверстия 12.
Когда самолет находится на земле, включается вентилятор, используемый для приведения в действие подвижного элемента 36, который в полете закрывает второе впускное отверстие 24, при этом в зоне второго впускного отверстия 24 создается низкое давление. За счет низкого давления, возникающего в зоне второго впускного отверстия 24, подвижный элемент 36 переводится в свое первое положение, при котором он открывает проходное сечение потока второго впускного отверстия 24. В процессе работы подвижный элемент 36, оснащенный вспомогательным механическим устройством, удерживается в первом положении за счет низкого давления, преобладающего в зоне второго впускного отверстия 24 в течение всего времени, когда самолет находится на земле и когда необходимо подавать наружный воздух к бортовым системам самолета.
Кроме того, за счет низкого давления, преобладающего в зоне второго впускного отверстия 24, происходит засасывание наружного воздуха в воздуховод 10 через второе впускное отверстие 24, и этот воздух может быть передан к бортовым системам самолета. Таким образом, можно простым способом гарантировать, что, когда самолет находится на земле, бортовые системы самолета будут правильным образом снабжаться достаточным количеством наружного воздуха. Более того, такое оптимизированное управление подачей воздуха для работы на земле дает возможность уменьшить потери давления при наземных операциях.
Понятно, что подвижный элемент 36 можно, например, посредством электромеханического управляющего устройства перевести в положение, при котором он открывает лишь часть проходного сечения второго выпускного отверстия 24. Таким образом, можно простым способом подавать наружный воздух в количестве, которое соответствует потребности бортовых систем самолета. Наконец, естественно, что второе впускное отверстие 24 воздуховода 10 во время работы на земле можно закрывать. Например, можно использовать электромеханическое управляющее устройство, чтобы переводить подвижный элемент 36 во второе положение, при котором он закрывает проходное сечение второго впускного отверстия 24.
Формула изобретения
1. Воздуховод (10) для подачи наружного воздуха в воздушное судно, снабженный первым воздушным впускным отверстием (12) и основным воздушным каналом (16), проходящим от первого воздушного впускного отверстия (12), и вторым воздушным впускным отверстием (24), выполненным независимым от первого воздушного впускного отверстия (12), причем предусмотрен подвижный элемент (36) для задания проходного сечения второго воздушного впускного отверстия (24), отличающийся тем, что предусмотрено устройство в виде вентилятора или насоса, выполненное с возможностью создания низкого давления в области второго воздушного впускного отверстия (24) для перемещения подвижного элемента (36) в первое положение, в котором он по меньшей мере частично открывает проходное сечение второго воздушного впускного отверстия (24).
2. Воздуховод по п.1, отличающийся тем, что второе воздушное впускное отверстие (24) соединено с основным воздушным каналом (16) воздуховода (10) посредством бокового канала (22), который подходит под определенным углом к основному воздушному каналу (16).
3. Воздуховод по п.1, отличающийся тем, что первое воздушное впускное отверстие (12) имеет постоянное проходное сечение.
4. Воздуховод по п.1, отличающийся тем, что подвижный элемент (36) выполнен в виде заслонки, поворачиваемой вокруг оси (34).
5. Воздуховод по п.1, отличающийся тем, что предусмотрено электромеханическое управляющее устройство для перемещения подвижного элемента (36) в первое положение, в котором он по меньшей мере частично открывает проходное сечение второго воздушного впускного отверстия (24), или во второе положение, в котором он закрывает проходное сечение второго воздушного впускного отверстия (24).
6. Воздуховод по п.1, отличающийся тем, что предусмотрено механическое устройство для удержания подвижного элемента (36) в первом положении, в котором он по меньшей мере частично открывает проходное сечение второго воздушного впускного отверстия (24), или во втором положении, в котором он закрывает проходное сечение второго воздушного впускного отверстия (24).
7. Способ работы воздуховода (10), охарактеризованного в любом из пп.1-6, причем в процессе полета подвижный элемент (36) находится во втором положении, в котором он закрывает проходное сечение второго воздушного впускного отверстия, так что подачу наружного воздуха в процессе полета осуществляют посредством только первого воздушного впускного отверстия (12), а при нахождении воздушного судна на земле подвижный элемент (36) переводят в первое положение посредством устройства в виде вентилятора или насоса, выполненного с возможностью создания низкого давления в области второго воздушного впускного отверстия, в котором указанный подвижный элемент по меньшей мере частично открывает проходное сечение второго воздушного впускного отверстия, так что подачу наружного воздуха осуществляют посредством первого и второго воздушных впускных отверстий (12, 24).
РИСУНКИ
|
|