|
(21), (22) Заявка: 2008101091/11, 18.01.2008
(24) Дата начала отсчета срока действия патента:
18.01.2008
(43) Дата публикации заявки: 27.07.2009
(46) Опубликовано: 20.12.2009
(56) Список документов, цитированных в отчете о поиске:
RU 2345920 С1, 10.02.2009. RU 2341703 С1, 20.12.2008. ЕР 1737716 А1, 03.01.2007.
Адрес для переписки:
129626, Москва, ул. 1-я Мытищинская, 16, а/я 49, Э.П. Дергачёву
|
(72) Автор(ы):
Дергачёв Эдуард Петрович (RU), Дергачёв Эдуард Эдуардович (RU)
(73) Патентообладатель(и):
Дергачёв Эдуард Петрович (RU)
|
(54) БУКСОВОЕ ПОДВЕШИВАНИЕ ТЕЛЕЖКИ РЕЛЬСОВОГО ТРАНСПОРТНОГО СРЕДСТВА (ВАРИАНТЫ)
(57) Реферат:
Изобретение относится к железнодорожному транспорту. Буксовое подвешивание содержит эластичный конусообразный кольцевой элемент, опирающийся на корпус буксы или на кронштейны корпуса буксы. Упругодемпфирующий блок буксового подвешивания состоит из эластичного элемента, расположенного в корпусе, имеющего профилированную внутреннюю поверхность и кольцевой выступ, взаимодействующий с эластичным элементом. Эластичный элемент охватывает расширяющийся выступ, имеющий профилированную поверхность, взаимодействующую с эластичным элементом. Корпус и выступ могут быть закреплены соответственно на корпусе буксы и раме или на раме тележки и корпусе буксы. Эластичный элемент может быть оперт на корпус буксы через опорную плиту, имеющую углубление для размещения упругой прокладки. Эластичный элемент размещается в корпусе и охватывает выступ, который обеспечивает восприятие горизонтальных нагрузок. Достигается упрощение конструкции, повышение надежности и безопасности движения, высокая долговечность конструкции. 2 н. и 9 з.п. ф-лы, 3 ил.
Изобретение относится к железнодорожному транспорту.
Известно буксовое подвешивание тележки рельсового транспортного средства, содержащее пружину, опирающуюся на корпус буксы через упругую прокладку, и два поводка, соединяющих раму тележки с корпусом буксы (см. Тележка двухосная модель 68-4076. Техническое описание и инструкция по эксплуатации 4076.00.000 ТО от 1998 г.).
Недостатком известного устройства является сложность конструкции, обусловленная необходимостью использования виброизолирующей прокладки и гидравлического гасителя колебаний. Кроме того, пружины подвержены внезапному разрушению, т.е. использование пружин не обеспечивает высокую надежность подвешивания и безопасность движения.
Технический результат, на достижение которого направлен первый вариант изобретения, заключается в устранении вышеуказанного недостатка.
Указанный технический результат достигается тем, что в буксовом подвешивании тележки рельсового транспортного средства, содержащего упругий элемент и по крайней мере один поводок, связывающий корпус буксы с рамой тележки, упругий элемент выполнен в виде эластичного конусообразного кольца, охваченного со стороны большего основания кольцевым элементом, а со стороны меньшего основания охватывающего выступ, при этом кольцевой элемент и выступ выполнены или жестко закреплены соответственно на корпусе буксы и раме тележки или на раме тележки и корпусе буксы.
Для более эффективного гашения колебаний упругий элемент в сечении имеет форму овала, кольцевой элемент выполнен в виде корпуса с внутренним кольцевым выступом, контактирующим с упругим элементом, а выступ выполнен расширяющимся в направлении его свободного конца.
Известно буксовое подвешивание тележки рельсового транспортного средства, содержащего эластичные конусообразные кольцевые элементы, расположенные между корпусами, закрепленными на раме тележки и шпинтонами, закрепленными на кронштейнах корпуса буксы (см. статью И.С.Гантмахера и др. «Исследование динамических характеристик вагонных резиновых рессор колокольного типа» 12.12.2005 г.).
Недостатком известного устройства является низкая долговечность упругих элементов и недостаточная эффективность их работы, обусловленная работой упругих элементов преимущественно на сдвиг и возможностью их осевого смещения относительно корпуса и шпинтона, что приводит к повышенному износу всех элементов конструкции.
Кроме того, конструкция подвешивания не обеспечивает с ростом нагрузки постоянства момента сопротивления развороту колесной пары в кривой, т.к. при деформации сдвига происходит утонение слоя резины между корпусом и шпинтоном. Утонение слоя резины приводит к повышению поперечной жесткости буксового подвешивания и к возрастанию сопротивления вписыванию колесной пары в кривую, что сопровождается повышенным износом гребней колес за счет их подрезания.
Технический результат, на достижение которого направлен второй вариант изобретения, заключается в устранении вышеуказанного недостатка за счет того, что в буксовом подвешивании тележки рельсового транспортного средства, содержащего эластичные конусообразные кольцевые элементы, расположенные между соответствующими корпусами и выступами, упругие элементы в сечении выполнены в форме овала и оперты на кронштейны корпуса буксы, при этом корпус закреплен на раме тележки или корпусе буксы и выполнен с внутренним кольцевым выступом, контактирующим с упругим элементом, а выступ закреплен на корпусе буксы или раме тележки и выполнен расширяющимся в направлении его свободного конца.
При выполнении буксового подвешивания по любому из вариантов для обеспечения необходимой характеристики буксового подвешивания корпус с внутренним кольцевым выступом выполнен с внутренней профилированной поверхностью. Упругий элемент может быть оперт на буксу через опорную плиту, которая выполняется с углублением для размещения в нем упругой прокладки.
Сущность изобретения поясняется чертежами.
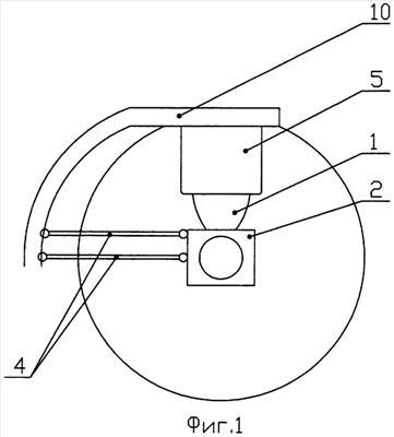
На фиг.1 схематично показано буксовое подвешивание по первому варианту; на фиг.2 схематично показано буксовое подвешивание по второму варианту: на фиг.3 показан упругоамортизирующий блок буксового подвешивания.
Буксовое подвешивание по любому варианту содержит эластичный конусообразный кольцевой элемент 1, опирающийся на корпус 2 буксы в первом варианте и на кронштейны 3 корпуса буксы во втором варианте. Наиболее оптимальной формой сечения эластичного элемента 1 является овал, т.к. такая форма сечения позволяет обеспечить эффект качения при деформации эластичного элемента, что снижает его износ.
Эластичный элемент может опираться на буксу любым своим основанием, а во втором варианте возможно опирание одного эластичного элемента на буксу большим основанием, а другого – меньшим.
В первом варианте для восприятия горизонтальных усилий используются поводки 4.
Упругодемпфирующий блок буксового подвешивания состоит из эластичного элемента 1, расположенного в корпусе 5, имеющем профилированную внутреннюю поверхность 6 и кольцевой выступ 7, взаимодействующий с эластичным элементом 1. Эластичный элемент охватывает расширяющийся выступ 8, имеющий профилированную поверхность 9, взаимодействующую с эластичным элементом 1.
Корпус 5 и выступ 8 могут быть закреплены соответственно на корпусе (его кронштейнах) буксы и раме 10 тележки или на раме тележки и корпусе буксы.
Эластичный элемент может быть оперт на корпус (кронштейны корпуса) буксы через опорную плиту 11, имеющую углубление 12 для размещения упругой (эластичной) прокладки 13.
Буксовое подвешивание с упругодемпфирующим блоком работает следующим образом.
В процессе монтажа упругодемпфирующего блока на тележке осуществляется предварительный натяг эластичного элемента за счет деформации части его объема, ограниченного корпусом 5 и выступом 8.
В процессе нагружения эластичного элемента происходит деформация всех частей эластичного элемента и эластичный элемент принимает исходную, заданную жесткостной характеристикой форму.
При движении транспортного средства возникают колебания подрессоренных и неподрессоренных масс тележки, которые передаются на эластичный элемент 1, который деформируется по заданному закону, определяемому величиной преднатяга и формой профилированных поверхностей корпуса 5 и выступа 8.
В случае возникновения резонансных явлений, галопирования, раскачивания и т.п. упругодемпфирующий блок позволяет осуществлять их упругое восприятие и гашение не только при ходе нагрузки, но и при ходе разгрузки благодаря наличию преднатяга и возможности дополнительного сжатия объема эластичного элемента, ограниченного корпусом 5 и выступом 8.
Упругодемпфирующий блок позволяет обеспечить в достаточно большом диапазоне нагрузок примерно одинаковое сопротивление вписывания колесной пары в криволинейный участок рельсового пути, т.к. по мере роста нагрузок дополнительные усилия в эластичном элементе компенсируются нагрузкой предварительно нагруженной части эластичного элемента, т.е. характеристика эластичного элемента имеет протяженный относительно пологий участок.
Перекрытие по высоте эластичного элемента корпуса 5 и выступа 8 позволяет использовать их в качестве направляющего устройства подвешивания и обеспечить эффективное восприятие горизонтальных нагрузок.
В случае пробоя буксового подвешивания конструкция позволяет обеспечить упругое восприятие ударной нагрузки благодаря взаимодействию торца выступа 8 с эластичной прокладкой 13, которая может быть размещена не только в углублении опорной плиты, но и в углублении корпуса (кронштейна корпуса) буксы или рамы тележки.
Формула изобретения
1. Буксовое подвешивание тележки рельсового транспортного средства, содержащее упругий элемент и по крайней мере один поводок, связывающий корпус буксы с рамой тележки, отличающееся тем, что упругий элемент выполнен в виде эластичного конусообразного кольца, охваченного со стороны большего основания кольцевым элементом, а со стороны меньшего основания охватывающего выступ, при этом кольцевой элемент и выступ выполнены или жестко закреплены соответственно на корпусе буксы и раме тележки или на раме тележки и корпусе буксы.
2. Буксовое подвешивание по п.1, отличающееся тем, что упругий элемент в сечении имеет форму овала, кольцевой элемент выполнен в виде корпуса с внутренним кольцевым выступом, контактирующим с упругим элементом, а выступ выполнен расширяющимся в направлении его свободного конца.
3. Буксовое подвешивание по п.2, отличающееся тем, что корпус с внутренним кольцевым выступом выполнен с внутренней профилированной поверхностью.
4. Буксовое подвешивание по любому из пп.1-3, отличающееся тем, что упругий элемент оперт на буксу через опорную плиту.
5. Буксовое подвешивание по п.4, отличающееся тем, что плита выполнена с углублением.
6. Буксовое подвешивание по п.5, отличающееся тем, что в углублении размещена упругая прокладка.
7. Буксовое подвешивание тележки рельсового транспортного средства, содержащее эластичные конусообразные кольцевые элементы, расположенные между соответствующими корпусами и выступами, отличающееся тем, что упругие элементы в сечении выполнены в форме овала и оперты на кронштейны корпуса буксы, при этом корпус закреплен на раме тележки или корпусе буксы и выполнен с внутренним кольцевым выступом, контактирующим с упругим элементом, а выступ закреплен на корпусе буксы или раме тележки и выполнен расширяющимся в направлении его свободного конца.
8. Буксовое подвешивание по п.7, отличающееся тем, что корпус с внутренним кольцевым выступом выполнен с внутренней профилированной поверхностью.
9. Буксовое подвешивание по любому из пп.7 и 8, отличающееся тем, что упругий элемент оперт на буксу через опорную плиту.
10. Буксовое подвешивание по п.9, отличающееся тем, что плита выполнена с углублением.
11. Буксовое подвешивание по п.10, отличающееся тем, что в углублении размещена упругая прокладка.
РИСУНКИ
|