|
|
(21), (22) Заявка: 2008108218/11, 05.03.2008
(24) Дата начала отсчета срока действия патента:
05.03.2008
(46) Опубликовано: 20.12.2009
(56) Список документов, цитированных в отчете о поиске:
RU 2349809 С2, 20.03.2009. RU 2053151 С1, 27.01.1996. SU 1648823 А1, 15.05.1991. GB 1199416 А, 22.07.1970.
Адрес для переписки:
129626, Москва, ул. 1-я Мытищинская, 16, а/я 49, Э.П. Дергачёву
|
(72) Автор(ы):
Дергачёв Эдуард Петрович (RU)
(73) Патентообладатель(и):
Дергачёв Эдуард Петрович (RU)
|
(54) ПОДВЕСКА РЕДУКТОРА ПРИВОДА ПОДВАГОННОГО ГЕНЕРАТОРА, СПОСОБ ИЗГОТОВЛЕНИЯ СОСТАВНОГО КОЛЬЦЕВОГО ЭЛЕМЕНТА
(57) Реферат:
Изобретение относится к железнодорожному транспорту. Подвеска редуктора привода подвагонного генератора состоит из штанги с буртами, с одной стороны связанной с кронштейном редуктора, с другой через опорную плиту и упругие элементы – с поперечным брусом рамы тележки. На опорной плите, выполненной цельной, расположено составное кольцо с конической поверхностью, сопряженной с внутренней конической поверхностью опорной плиты. Части кольца изготавливаются методом литья или частей, полученных путем разрезания круглой заготовки, имеющей припуск внешнего диаметра, и обработанных совместно как цельный кольцевой элемент, что позволяет максимально уменьшить зазоры между ними. Достигается повышение надежности и долговечности подвески. 2 н.п. ф-лы, 1 ил.
Изобретение относится к железнодорожному транспорту и касается подвески редуктора привода подвагонного генератора.
Известна подвеска редуктора привода подвагонного генератора, содержащая штангу с буртами по концам, контактирующими противолежащими сторонами с охватывающими штангу кольцевыми упругими элементами, узел сопряжения упругих элементов с редуктором и узел сопряжения упругих элементов с рамой тележки, включающий в себя закрепленные последовательно на раме тележки корпус и опорную плиту с центральным вырезом, на которую оперт составной кольцевой элемент (см. патент РФ 2053151 от 27.01.96).
Недостатком известного устройства является возможность низкой эксплуатационной надежности вследствие неправильно выбранной технологии изготовления составного кольцевого элемента, его частей, которая может привести к увеличенным зазорам между сопрягаемыми поверхностями частей кольцевого элемента.
Технический результат, на достижение которого направлено изобретение, заключается в повышении надежности подвески за счет минимизации зазора между частями составного кольцевого элемента и упрощении процесса его изготовления.
Указанный результат достигается тем, что в подвеске редуктора привода подвагонного генератора, содержащей штангу с буртами по концам, контактирующими противолежащими сторонами с охватывающими штангу упругими элементами, узел сопряжения упругих элементов с редуктором и узел сопряжения упругих элементов с рамой тележки, включающий в себя закрепленные последовательно на раме тележки корпус и опорную плиту с центральным вырезом, на которую оперт составной кольцевой элемент, последний выполнен из отливаемых идентичных частей или частей, полученных путем разрезания круглой заготовки, имеющей припуск внешнего диаметра, и обработанных совместно как цельный кольцевой элемент.
Для изготовления составного кольцевого элемента может быть использован способ, заключающийся в том, что поджимают друг к другу две идентичные части, изготовленные методом литья или разрезанием круглой заготовки, имеющей припуск внешнего диаметра, и обрабатывают их как единое целое путем протачивания под необходимый размер и выполнения центрального отверстия или его растачивания.
Сущность изобретения поясняется чертежом.
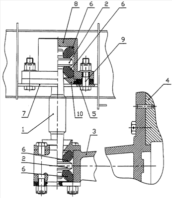
Подвеска редуктора привода подвагонного генератора включает штангу 1 с буртами 2, с одной стороны связанную с кронштейном 3 редуктора 4, с другой через опорную плиту 5 и упругие элементы 6 – с поперечным брусом 7 рамы тележки (не показана). Поверх упругих элементов 6 и опорной плиты 5 расположен корпус 8, который крепится болтами 9 через плиту 5 к поперечному брусу 7 рамы тележки. При этом опорная плита 5 выполнена цельной и на нее опирается составной кольцевой элемент (составное кольцо) 10 с конической поверхностью, сопряженной с внутренней конической поверхностью опорной плиты 5.
Части составного кольца являются идентичными и изготавливаются методом литья.
Изготовление частей кольца 10 методом литья позволяет максимально уменьшить зазор между сопрягаемыми поверхностями частей, что приводит к уменьшению износа упругого элемента и самих частей кольца и обеспечивает максимальную жесткость подвески редуктора.
Использование разрезного кольца не позволяет достичь указанного эффекта, т.к. разрезание кольца приводит к образованию значительного зазора между сопрягаемыми поверхностями.
Использование разрезного кольца целесообразно только в том случае, если оно изготовлено следующим методом.
Из прутка, диаметр которого больше внешнего диаметра кольца, нарезается плоский элемент. Указанный элемент может быть предварительно обработан с оставлением припуска внешнего диаметра. В полученной заготовке может быть высверлено центральное отверстие. Заготовка разрезается на две части, которые затем фиксируются в патроне токарного станка и обрабатываются под необходимые размеры как одно целое.
Указанная технология изготовления кольцевого элемента в патроне токарного станка применима и при изготовлении его частей методом литья.
Формула изобретения
1. Подвеска редуктора привода подвагонного генератора, содержащая штангу с буртами по концам, контактирующими противолежащими сторонами с охватывающими штангу упругими элементами, узел сопряжения упругих элементов с редуктором и узел сопряжения упругих элементов с рамой тележки, включающий в себя закрепленные последовательно на раме тележки корпус и опорную плиту с центральным вырезом, на которую оперт составной кольцевой элемент, отличающаяся тем, что составной кольцевой элемент выполнен из отливаемых идентичных частей или частей, полученных путем разрезания круглой заготовки, имеющей припуск внешнего диаметра, и обработанных совместно как цельный кольцевой элемент.
2. Способ изготовления составного кольцевого элемента, заключающийся в том, что поджимают друг к другу две идентичные части, изготовленные методом литья или разрезанием круглой заготовки, имеющей припуск внешнего диаметра, и обрабатывают их как единое целое путем протачивания под необходимый размер и выполнения центрального отверстия или его растачивания.
РИСУНКИ
|
|