|
|
(21), (22) Заявка: 2007107366/12, 25.07.2005
(24) Дата начала отсчета срока действия патента:
25.07.2005
(30) Конвенционный приоритет:
31.07.2004 DE 102004037253.5
(43) Дата публикации заявки: 27.09.2008
(46) Опубликовано: 20.12.2009
(56) Список документов, цитированных в отчете о поиске:
ЕР 1195245 А1, 10.04.2002. SU 1463504 A1, 07.03.1989. RU 2198793 C2, 20.02.2003. WO 03099565 A1, 04.12.2003. ЕР 0277545 A2, 10.08.1988.
(85) Дата перевода заявки PCT на национальную фазу:
28.02.2007
(86) Заявка PCT:
EP 2005/008139 20050725
(87) Публикация PCT:
WO 2006/013046 20060209
Адрес для переписки:
103735, Москва, ул.Ильинка, 5/2, ООО “Союзпатент”, А.А.Силаевой
|
(72) Автор(ы):
ПЁТТЕР Дитмар (DE), ПЛАССВИХ Франц (DE)
(73) Патентообладатель(и):
ВИНДМЁЛЛЕР УНД ХЁЛЬШЕР (DE)
|
(54) СИСТЕМА ЗАМЕНЫ ПЕЧАТНЫХ ГИЛЬЗ И СПОСОБ ЗАМЕНЫ ПЕЧАТНЫХ ГИЛЬЗ
(57) Реферат:
Изобретение относится к области печати. Система замены печатных гильз (6, 6а), надеваемых на оправки (5, 5а) передаточных валиков (4), по меньшей мере, одной печатной машины (1), содержит накопительное устройство, в котором могут храниться гильзы (6, 6а), не требующиеся для данного печатного заказа, и/или транспортные средства (8, 9), выполненные с возможностью транспортировки нескольких гильз (6, 6а) к печатной машине (1). Предусмотрены средства для переноса гильз (6, 6а) между накопительным устройством и/или транспортными средствами (8, 9) и оправками (5, 5а) передаточных валиков (4), по меньшей мере, в одной печатной машине (1) и/или между накопительным устройством и транспортными средствами (8, 9). 14 з.п. ф-лы, 2 ил.
Изобретение относится к системе замены печатных гильз, согласно ограничительной части пункта 1 формулы изобретения.
Как правило, в печатных машинах для смены печатного заказа приходится заменять части передаточных валиков. Передаточными валиками являются при этом любые валики печатной машины, участвующие в переносе краски между красочным резервуаром и запечатываемым материалом. У флексографских машин – это растровые и формные или печатные валики. Для применений, в которых происходит частая смена заказов, зарекомендовала себя так называемая гильзовая техника в сочетании с установленными одним концом передаточными валиками. При этом при смене заказа заменяют не передаточные валики, а только гильзы, которые выполнены с возможностью надевания на оправки передаточных валиков, остающиеся в печатных машинах, и повторного снятия с них. Передаточные валики поэтому нередко установлены одним концом в станинах печатных машин. В процессе печатания свободные концы часто опирают в поддерживающих подшипниках, что предотвращает колебания передаточных валиков. Перед заменой гильз поддерживающие подшипники удаляют с оправки передаточного валика, так что гильзы могут быть сняты с него через образовавшийся свободный конец. Термин «гильзы» охватывает любые возможные гильзы, которые могут найти применение для передаточных валиков. К ним относятся не только гильзы, пригодные для переноса краски, но и так называемые адаптерные гильзы, которые могут быть надеты на оправку передаточного валика и на которые может быть надета дополнительная гильза, которая может быть гильзой для переноса краски или, в свою очередь, адаптерной гильзой. В печатных машинах используются, следовательно, многочисленные различные гильзы разного внутреннего и внешнего диаметров.
В печатных машинах, в частности с несколькими красочными аппаратами, на каждый печатный заказ приходятся многочисленные гильзы. Совокупность печатных гильз, используемых для различных печатных заказов, которыми приходится управлять в процессе печати, устанавливать их и смене заказа частично подавать к оправкам передаточных валиков печатных машин и отводить от них.
Уже известны различные вспомогательные средства для выполнения этих задач как можно более простым образом. Так, в DE 10223414 описано транспортное устройство для печатных гильз с несколькими несущими оправками. Это транспортное устройство может быть пристыковано к подъемному устройству. С помощью этого подъемного устройства гильзы могут быть приведены на высоту печатного аппарата, который должен быть оснащен этими гильзами. Оператору требуется лишь, в основном, линейным движением снять гильзы с несущих оправок и надеть на оправки передаточных валиков. Наоборот, не нужные больше гильзы можно удалить из красочных аппаратов. После отстыковывания транспортного устройства оно может быть транспортировано к складскому или накопительному устройству.
В DE 10022558 С2 описано такое накопительное устройство, в котором может храниться множество гильз. После извлечения оператором гильз из транспортного устройства их насаживают «на попа» на несущие элементы. Эти несущие элементы берут вместе с гильзами с помощью головки-робота и подают к их местам назначения внутри накопительного устройства.
В ЕР 1195245 А1 раскрыто другое складское устройство, в котором в память записывают данные о печатных гильзах. Для упрощения обнаружения печатных гильз они имеют транспондеры, которые могут считываться блоком обмена данными.
Недостаток, однако, в том, что на многих полиграфических предприятиях имеются различные типы устройств, которые служат для хранения, транспортировки и/или надевания гильз на оправки передаточных валиков. В любом случае, однако, оператору приходится как минимум один раз брать гильзу в руку. В описанном случае оператор должен даже подавать гильзы к транспортному устройству и извлекать из него, причем не играет роли, идет ли речь о процессе наладки или разналадки печатной машины. В процессе наладки или разналадки может произойти так, что оператор расположит гильзы в неправильных положениях в печатной машине, транспортном или накопительном устройстве. К тому же при замене гильз из-за частично большой их массы возникает опасность травматизма для оператора. Вследствие неосторожного обращения с гильзами они могут быть, кроме того, повреждены.
Задача настоящего изобретения состоит в создании системы замены гильз, надеваемых на оправки передаточных валиков печатной машины, которая позволила бы устранить названные недостатки.
Эта задача решается посредством системы замены гильз с признаками отличительной части п.1 формулы.
В соответствии с этим, система замены гильз содержит средства для переноса гильз, с помощью которых гильзы могут транспортироваться между накопительным устройством и/или транспортными средствами и оправками передаточных валиков, по меньшей мере, в одной печатной машине и/или между накопительным устройством и транспортными средствами.
С помощью средств для переноса печатные гильзы могут быть извлечены непосредственно из накопительного устройства и после подачи к печатной машине также непосредственно надеты на оправки передаточных валиков. Могут быть также предусмотрены транспортные средства, на или в которых гильзы будут отложены средствами для переноса после извлечения из накопительного устройства. Эти транспортные средства транспортируют гильзы тогда к печатной машине, где затем они или дополнительные средства для переноса извлекают гильзы и, по меньшей мере, частично надевают их там на оправки передаточных валиков. Средства для переноса гильз могут надевать их на оправку, например, на две трети длины гильзы. Само собой, средства могут быть использованы также для транспортировки гильз по обратному пути, т.е. от оправок передаточных валиков к транспортным средствам, накопительному устройству и/или между транспортными средствами и накопительным устройством. Благодаря изобретению создана, следовательно, транспортная цепочка, с помощью которой гильзы могут транспортироваться без необходимости их транспортировки оператором на части пути вручную, так что названных выше недостатков больше не возникает.
Для транспортировки гильз средства для переноса гильз содержат гильзоприемные устройства. Эти гильзоприемные устройства могут быть выполнены по-разному. Так, это могут быть захваты, которые берут гильзы, зажимая их, а затем извлекают из накопительного устройства, в котором гильзы стоят вертикально, после чего надевают на оправки передаточных валиков. Гильзоприемные устройства могут быть для этого закреплены на руках робота с тремя степенями свободы поступательного движения и с возможностью вращения вокруг, по меньшей мере, двух осей. При транспортировке гильз транспортными средствами средства для переноса гильз могут содержать устройство, которое перемещает транспортные средства в трех измерениях относительно печатной машины. Для надевания гильз достаточно тогда одного их линейного движения вдоль их осей.
При этом особенно предпочтительно, если гильзоприемные устройства, по меньшей мере, частично направлены внутрь гильзы. Это позволяет размещать гильзы, несущие на своих внешних поверхностях в качестве гильз печатных валиков печатные мотивы, а в качестве гильз растровых валиков – углубления для переноса краски, без опасности возникновения повреждений.
В другом варианте осуществления изобретения предусмотрен вычислительно-управляющий блок. Он управляет приводными средствами для привода средств для переноса гильз с возможностью приведения гильзоприемных устройств с оправок передаточных валиков в положения, в которых может быть осуществлен перенос гильз с гильзоприемных устройств на оправки передаточных валиков, в накопительное устройство или в транспортные средства или наоборот. Таким образом, транспортировка может происходить особенно просто. Для надевания гильз, например, только на оправки гильзы требуется переместить вдоль их осей. Приводными средствами могут быть при этом, например, электродвигатели, воздействующие на вращательные шарниры или блоки перемещения.
Особенно предпочтительно при этом, если вычислительно-управляющему блоку известны положения оправок передаточных валиков, у которых должна быть произведена замена гильз, и заданные или фактические положения гильз в печатной машине, в транспортных средствах и/или в накопительном устройстве. По параметрам печатного заказа, в частности по предварительно установленному соответствию определенных гильз определенным оправкам передаточных валиков вычислительно-управляющий блок может, тем самым, производить наладку самостоятельно и безошибочно без вмешательства оператора.
Для обеспечения точного позиционирования гильз перед оправками передаточных валиков средства для транспортировки гильз содержат средства для вращения или опрокидывания гильз. Оправки, свободные на одном конце для замены гильз, подвержены влиянию силы тяжести и опрокинуты в зависимости от жесткости подшипников, в которых установлены оправки. Поскольку, однако, между оправками и гильзами имеется лишь очень небольшой люфт, важно перед надеванием гильз на оправки или снятием с них позаботиться о том, чтобы гильзы можно было переместить от средств для транспортировки или к ним и чтобы оси гильз были коаксиальны осям оправок. В другом варианте осуществления изобретения эта коаксиальность может постоянно проверяться датчиками. Для этой цели датчики постоянно определяют угловое положение оси гильзы на гильзоприемном устройстве относительно линии, совпадающей с осью передаточного валика.
В особенно предпочтительном варианте осуществления изобретения зарегистрированные датчиками относительные угловые положения передаются на вычислительно-управляющий блок, который подает сигналы исполнительным органам средств для транспортировки гильз до тех пор, пока гильзоприемные устройства не будут позиционированы так, что ось оправки передаточного валика совпадет с осью гильзы, когда она размещена в гильзоприемном устройстве. Эта мера позволяет избежать перекоса гильзы и оправки в процессе надевания или снятия. Позиционирование происходит за счет описанного приближения независимо от того, насколько оправка опустится вследствие освобождения одного конца. Это важно, в частности, потому, что подшипники печатных валиков подвержены износу, а изношенные детали подшипников заменяются, поэтому опускающийся участок освобожденных концов оправок варьируется. Как только произойдет такое точное позиционирование, средства для транспортировки или гильзоприемное устройство могут быть прочно, однако разъемно пристыкованы к оправке во избежание деюстировки. Если же в результате деюстировки произойдет перекос гильз и оправки, что можно определить с помощью средств контроля, например месдозы, то процесс надевания или снятия можно прервать, благодаря чему можно избежать крупных повреждений средств для переноса, гильз и/или печатной машины.
В другом варианте осуществления изобретения средства для переноса и/или, по меньшей мере, одна печатная машина содержат средства перемещения, с помощью которых гильзы могут перемещаться вдоль своих осей. При этом средства перемещения могут воздействовать на внешние поверхности гильз, так что они могут тянуть и толкать их. В этом случае в зависимости от дальности действия средств перемещения достаточно предусмотреть их только на печатной машине или только на средствах для переноса. Особенно предпочтительно, однако, предусмотреть на средствах для переноса и на печатной машине средства перемещения, которые могут оказывать нажим только на торцевые стороны гильз для их сдвига. При этом предотвращается причинение повреждений внешним поверхностям гильз.
Как уже сказано, в печатных машинах используются гильзы разных внутренних и наружных диаметров. По этой причине предпочтительно, если гильзоприемные устройства могут быть согласованы с этими диаметрами. Особенно простым образом это возможно за счет выполнения гильзоприемных устройств с возможностью пристыковывания и отстыковывания. В зависимости от транспортируемых диаметров гильз подходящее гильзоприемное устройство может быть пристыковано к средствам для переноса.
Предпочтительно при этом, если гильзоприемные устройства выполнены в виде оправок с возможностью изменения своего наружного диаметра. Гильзоприемные устройства могут быть, тем самым, введены внутрь, а затем приведены во взаимодействие с фрикционным замыканием. Этим гильза фиксирована от смещения относительно гильзоприемного устройства. В этом случае средства для переноса могут надеть гильзы непосредственно на оправки передаточных валиков, так что, по меньшей мере, частично отказаться от средств перемещения.
Решению поставленной задачи служат признаки п.15, согласно которым предусмотрен способ замены гильз, при котором вычислительно-управляющий блок рассчитывает расположение гильз в транспортных средствах, причем в транспортных средствах остается свободным место для размещения, по меньшей мере, одной дополнительной гильзы. Таким образом, в транспортных средствах можно транспортировать максимальное число гильз.
В одном предпочтительном усовершенствовании способа при наладке печатной машины из нее извлекают, по меньшей мере, одну гильзу и подают ее к свободному месту в транспортных средствах. Затем из транспортных средств извлекают новую гильзу и подают к предварительно освободившейся оправке. Этот процесс повторяют до тех пор, пока все заменяемые гильзы не будут подведены к печатной машине или удалены из нее. Этим исключаются проходимые средствами для переноса ненужным образом пути, которые возникли бы, если бы, например, сначала все гильзы были удалены из печатной машины, а затем к ней были бы подведены новые гильзы.
Другие примеры осуществления изобретения следуют из описания и формулы. Отдельные фигуры изображают:
– фиг.1: систему замены гильз;
– фиг.2: вид II-II из фиг.1.
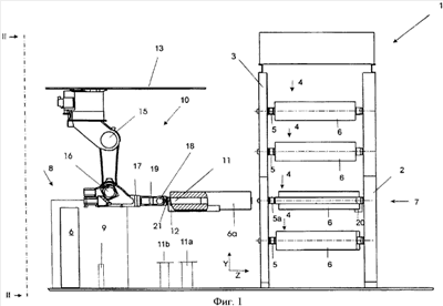
На фиг.1 изображена печатная машина 1, содержащая боковые стойки 2, 3. Передаточные валики 4 установлены концами в подшипниковых кронштейнах (не показаны). Подшипниковые кронштейны установлены с возможностью перемещения относительно боковых стоек по рельсам (не показаны), размещенным на боковой стойке 2. Таким образом, передаточные валики 4 могут быть установлены относительно цилиндра противодавления (не показан) или относительно друг друга, чтобы обеспечить перенос краски на запечатываемый материал, направляемый по цилиндру противодавления. В боковой стойке 3 с возможностью перемещения по рельсам также размещены подшипниковые кронштейны. Эти подшипниковые кронштейны содержат подвижные относительно них подшипники, так что оправки 5 передаточных валиков 4 могут быть выборочно установлены или освобождены. Передаточные валики 4 могут быть оснащены гильзами 6, которые могут быть надеты на оправки 5 в направлении Z.
Для замены гильз 6 сначала с соответствующих передаточных валиков 4 удаляют подшипниковые кронштейны в боковой стойке 3. Гильза может быть снята тогда с оправки 5 навстречу направлению Z, а затем на оправку может быть надета новая гильза 6. В случае печатного аппарата 7 показана ситуация, когда гильза 6а снята с оправки 5а.
Для подвода и отвода гильз 6 в распоряжении имеется транспортное устройство 8, установленное с возможностью перемещения относительно печатной машины 1. Это транспортное устройство 8 может быть выполнено в виде поддона. В показанном примере транспортное устройство 8 несет новую гильзу 6, которая должна быть подведена к освободившейся оправке 5а печатного аппарата 7. Для того чтобы только что извлеченную гильзу 6а можно было, однако, разместить в транспортном устройстве 8, оно имеет свободное место, выполненное в виде вертикально стоящей удерживающей оправки 9.
Для переноса гильз 6, 6а между печатной машиной 1 и транспортным устройством 8 предусмотрено устройство 10 переноса. Для поддержания гильз 6, 6а предусмотрен несущий элемент 11, выполненный в виде оправки и входящий, например, на одну треть внутрь гильзы 6а.
Устройство 10 переноса, как видно на фиг.1 и 2, подвешено на рельсах 13, 14. Эта подвеска обеспечивает перемещение устройства 10 переноса в горизонтальной плоскости, образованной стрелками Х и Z. Для этого служат приводные двигатели (не показаны). Устройство переноса содержит также два вращательных шарнира 15, 16, оси вращения которых параллельны указывающей направление стрелке X. Вращательные шарниры 15, 16 обеспечивают регулирование по высоте гильз 6, 6а в направлении Y. Гильзы 6, 6а могут быть также опрокинуты с возможностью их перевода из вертикального положения в горизонтальное. Вращательные шарниры приводят в движение приводными двигателями, например электродвигателями.
За счет описанных возможностей перемещения устройства 10 переноса можно разместить гильзу 6, 6а перед оправкой 5, 5а так, чтобы ось главной инерции гильзы 6, 6а совпадала с осью этой оправки 5, 5а. Из-за люфта вращательных шарниров 15, 16, а также из-за легкого наклонного движения оправок 5 при освобождении лежащих в зоне боковой стойки 3 концов на практике может произойти так, что названные оси не совпадут, а разойдутся в направлении Z. Во избежание этого устройство 10 переноса содержит юстировочный вращательный шарнир 18, ось вращения которого также проходит в направлении X. С помощью датчиков (не показаны) можно определить, совпадают ли оси. Если происходит юстировка осей и они коаксиальны, то устройство 10 переноса может быть перемещено в направлении Z, пока несущий элемент 11 не коснется оправки 5, 5а. В этом случае гильза 6, 6а на большей части уже надета на оправку 5, 5а. Чтобы полностью надеть гильзу 6, 6а на оправку, с возможностью перемещения в направлении Z относительно устройства 10 переноса установлен толкатель 12. Толкатель 12 воздействует при этом на обращенную к нижней консоли 17 торцевую сторону гильзы 6, 6а.
Нередко оправки 5, 5а передаточных валиков 4 содержат небольшие штифты. Гильзы 6, 6а имеют тогда соответствующие пазы, так что при полном надевании гильзы на оправку паз охватывает штифт. После надевания гильзы 6, 6а она, тем самым, автоматически юстирована относительно оправки по своей продольной оси, а также в направлении периферии. Чтобы паз мог охватывать штифт, устройство переноса содержит дополнительный вращательный шарнир 19, ось вращения которого концентрична оси гильзы, так что вращение гильзы 6, 6а относительно оправки 5, 5а возможно до или во время процесса надевания, благодаря чему штифт и паз могут быть приведены в зацепление между собой.
Если гильза 6, 6а должна быть снята с оправки 5, 5а, то оси соответствующей оправки 5, 5а и несущего элемента 11 юстируют соосно друг другу, так что ось гильзы также совпадает с осью оправки, когда гильза надета на несущий элемент 11, однако еще, по меньшей мере, частично находится в контакте с оправкой. После соосного ориентирования сдвигающее устройство 20 сдвигает гильзу с оправки 5, 5а. Такое сдвигающее устройство 20 может быть предусмотрено на каждой оправке, однако для простоты показан только печатный аппарат 7. После процесса перемещения гильза 6, 6а полностью охватывает несущий элемент 11. Несущий элемент 11 выполнен предпочтительным образом с возможностью изменения своего наружного диаметра, так что между несущим элементом 11 и гильзой 6, 6а может быть создано соединение с фрикционным замыканием. Затем гильза 6, 6а с помощью устройства переноса может быть полностью снята с оправки 5, 5а.
В печатной машине 1 могут использоваться гильзы 6, 6а разного внутреннего диаметра. Это, в частности, тот случай, когда на оправку 5, 5а надевают сначала адаптерную гильзу, а затем на нее – гильзу 6, 6а. Для того чтобы все гильзы 6, 6а могли находиться в соединении с несущим элементом изнутри с фрикционным замыканием, несущие элементы 11, 11а, 11b предусмотрены разного наружного диаметра. Для каждого используемого в печатной машине 1 внутреннего диаметра гильз 6, 6а может быть предусмотрен один несущий элемент. За счет степеней свободы движения устройства 10 переноса последнее может автоматически заменять несущие элементы 11, 11а, 11b. Для этой цели устройство 10 переноса содержит муфту 21, которая создает или прерывает пневматическую и/или гидравлическую связь между устройством 10 переноса и несущим элементом.
На фиг.2 изображен вид II-II из фиг.1. Боковая стойка 3 имеет в зоне отдельных красочных аппаратов выемки 33, посредством которых передаточные валики 4 могут быть достигнуты с возможностью снятия гильз 6, 6а через выемки 22 с оправок 5, 5а. Для простоты из каждого красочного аппарата изображен только один передаточный валик 4. Обычно во флексографских машинах на каждый красочный аппарат приходится два передаточных валика 4, а именно один растровый и один печатный. Из устройства 10 переноса показаны, в частности, оба вращательных шарнира 15, 16. Рельсы 14 служат для перемещения устройства 10 переноса параллельно фронту боковой стойки 3. Для того чтобы у устройства 10 переноса было как можно больше пространства для движения, боковая стойка 3 свободна от пристроек или возвышений.
Перечень ссылочных позиций
1 – печатная машина
2 – боковая стойка
3 – боковая стойка
4 – передаточный валик
5, 5а – оправки
6, 6а – гильзы
7 – печатный аппарат
8 – транспортное устройство
9 – удерживающая оправка
10 – устройство переноса
11, 11а, 11b – несущий элемент
12 – толкатель
13 – рельсы
14 – рельсы
15 – вращательный шарнир
16 – вращательный шарнир
17 – нижняя консоль
18 – юстировочный вращательный шарнир
19 – вращательный шарнир
20 – сдвигающее устройство
21 – муфта
22 – выемка
Формула изобретения
1. Система замены печатных гильз (6, 6а), надеваемых на оправки (5, 5а) передаточных валиков (4), по меньшей мере, одной печатной машины (1), содержащая накопительное устройство для хранения гильз (6, 6а) и/или транспортные средства (8, 9), выполненные с возможностью транспортировки нескольких гильз (6, 6а) к печатной машине (1), причем предусмотрены средства (10-19, 21) для переноса гильз (6, 6а) между накопительным устройством и/или транспортными средствами (8, 9) и оправками (5, 5а) передаточных валиков (4), по меньшей мере, в одной печатной машине (1) и/или между накопительным устройством и транспортными средствами (8, 9), отличающаяся тем, что средства (10-19, 21) для переноса гильз содержат толкатель (12), установленный с возможностью перемещения относительно средств (10-19, 21) для переноса гильз, с обеспечением перемещения гильз (6, 6а) вдоль своей оси.
2. Система по п.1, отличающаяся тем, что средства (10-19, 21) для переноса гильз содержат гильзоприемные устройства (11), выполненные с возможностью размещения гильз (6, 6а) для их транспортировки.
3. Система по п.2, отличающаяся тем, что гильзоприемные устройства (11), по меньшей мере, частично входят в гильзы (6, 6а).
4. Система по одному из пп.1-3, отличающаяся тем, что предусмотрен вычислительно-управляющий блок, управляющий приводными средствами (15-19) для привода средств (10-19, 21) для переноса гильз с возможностью приведения гильзоприемных устройств (11) в положения, в которых может быть осуществлен перенос гильз (6, 6а) с гильзоприемных устройств (11) на оправки передаточных валиков, в накопительное устройство или в транспортные средства или наоборот.
5. Система по п.4, отличающаяся тем, что вычислительно-управляющий блок выполнен с возможностью опознания положения оправок передаточных валиков, у которых должна быть произведена замена гильз (6, 6а), и заданные положения или фактическое положение гильз (6, 6а) в печатной машине (1), в транспортных средствах и/или в накопительном устройстве.
6. Система по п.1, отличающаяся тем, что средства (10-19, 21) для переноса гильз содержат средства (15, 16, 18, 19) для вращения или опрокидывания гильз (6, 6а).
7. Система по п.6, отличающаяся тем, что предусмотрены датчики, выполненные с возможностью определения углового положения гильзы (6, 6а) на гильзоприемном устройстве (11) относительно линии, совпадающей с осью передаточного валика.
8. Система по п.7, отличающаяся тем, что вычислительно-управляющий блок выполнен с возможностью подачи сигналов приводам средств (10-19, 21) для переноса гильз на основе зарегистрированных датчиками угловых положений гильзы (6, 6а) на гильзоприемном устройстве (11) относительно линии с заданными значениями, совпадающей с осью передаточного валика, до тех пор, пока гильзоприемное устройство (11) не будет позиционировано так, что ось оправки передаточного валика совпадет с осью гильзы (6, 6а), когда она размещена в гильзоприемном устройстве.
9. Система по п.1, отличающаяся тем, что печатная машина (1) содержит средства (12, 20) перемещения, обеспечивающие перемещение гильз (6, 6а) вдоль своей оси.
10. Система по п.9, отличающаяся тем, что гильзоприемные устройства (11, 11a, 11 b) выполнены с возможностью пристыковывания к средствам (10-19, 21) для переноса и отстыковывания от них.
11. Система по п.10, отличающаяся тем, что гильзоприемное устройство (11) выполнено в виде оправки с возможностью изменения своего наружного диаметра.
12. Система по п.3, отличающаяся тем, что транспортные средства содержат передвижную тележку (8), выполненную с возможностью занятия для замены гильз (6, 6а) определенного положения относительно печатной машины с обеспечением доступного положения тележки (8) для вычислительно-управляющего блока.
13. Способ замены печатных гильз с помощью системы по любому из пп.4-12, отличающийся тем, что с помощью вычислительно-управляющего блока рассчитывают расположение в транспортных средствах гильз (6, 6а), которые должны быть заменены, причем в транспортных средствах оставляют свободным одно место для размещения, по меньшей мере, одной дополнительной гильзы (6, 6а).
14. Способ по п.13, отличающийся тем, что с помощью средств для переноса гильзу снимают с оправки передаточного валика и подают к свободному месту, при этом с помощью средств для переноса дополнительную гильзу извлекают из транспортных средств и подают к свободной оправке.
15. Способ по п.14, отличающийся тем, что свободное место в транспортных средствах, к которому подают снятую с оправки передаточного валика гильзу, и место, с которого извлекают следующую гильзу (6, 6а), непосредственно соседствуют между собой.
РИСУНКИ
|
|