|
|
(21), (22) Заявка: 2009107279/12, 02.03.2009
(24) Дата начала отсчета срока действия патента:
02.03.2009
(46) Опубликовано: 20.12.2009
(56) Список документов, цитированных в отчете о поиске:
RU 2284740 C1, 10.10.2008. RU 2083148 C1, 10.07.1997. RU 2298999 C2, 20.05.2007. WO 2006065050 A1, 14.09.2004. US 6021590 A, 08.02.2000.
Адрес для переписки:
107113, Москва, а/я 27, ул.Лобачика, 17, ЗАО “АЙ ПИ ПРО”, пат.пов. А.В.Леонову, рег. 653
|
(72) Автор(ы):
Конев Андрей Николаевич (RU)
(73) Патентообладатель(и):
Конев Андрей Николаевич (RU)
|
(54) ПРОТИВОСКОЛЬЗЯЩЕЕ СРЕДСТВО ДЛЯ ОБУВИ
(57) Реферат:
Противоскользящее средство для обуви содержит корпус и рабочие элементы, которые выполнены в виде выступающей за пределы корпуса втулки с наружной резьбой, взаимодействующей с ответной резьбой, выполненной в корпусе, и установленного в корпусе двуплечего углового рычага. Одно плечо рычага размещено в отверстии втулки, имеет заострение на своем конце и выполнено с возможностью взаимодействия с опорной поверхностью. Второе плечо рычага опирается на верхний торец втулки. Втулка связана с корпусом упругим элементом. Нижняя часть втулки на нескользкой поверхности расположена ниже заострения. Технический результат при использовании устройства позволяет упростить конструкцию противоскользящего средства и повысить удобство использования за счет самопроизвольного срабатывания механизма. 4 ил.
Изобретение относится к устройствам, предохраняющим обувь от скольжения.
Известно противоскользящее средство, закрепленное в каблуке, содержащее полый корпус с направляющими гнездами, в которых расположены убирающиеся шипы с головками и механизм их перемещения (авторское свидетельство СССР 847980, МПК A43C 15/14, 1989 г.).
Недостаток этого средства – ручной привод перемещения шипов, что снижает удобство использования обуви.
Известно также противоскользящее средство, закрепленное в каблуке, содержащее полый корпус с направляющими гнездами, в которых расположены неподвижные и подвижные шипы и механизм перемещения последних, состоящий из двух пластин и упругого элемента, размещенных в корпусе, при этом наружные концы шипов выполнены плоскими (авторское свидетельство СССР 1722420, МПК A43C 15/14, 1989 г.).
Недостаток этой конструкции заключается в том, что неподвижные шипы постоянно выступают за пределы каблука и при использовании обуви на нескользкой поверхности произойдет преждевременный их износ, а в помещениях пол будет повреждаться шипами.
Известен «антискользитель» для зимней обуви с гвоздевым зацепом, состоящий из некорродирующего корпуса, вмонтированного методом вулканизации в каблук обуви, а внутри корпуса размещен на свободной посадке диск, имеющий резьбовую часть и завальцованный с зазором по краям корпуса, при этом в верхней части корпуса имеется четырехгранное отверстие, в котором установлен на свободной посадке четырехгранный с одной стороны гвоздь, с другой стороны которого нарезана широкоходовая резьба, заканчивающаяся острым конусом, а наружная часть диска имеет рифленую поверхность, образованную радиальными, треугольными в сечении канавками (патент РФ 2182809, МПК A43C 15/14, 2002 г.).
Недостаток этой конструкции заключается в неудобстве эксплуатации, поскольку для приведения в действие в рабочее состояние на скользкой дороге надо несколько раз, опираясь на каблук, повернуть ногу.
Известно также устройство для предохранения обуви от скольжения, содержащее корпус со средством крепления его на пяточной части каблука обуви и установленное в корпусе с возможностью перемещения в вертикальной плоскости средство противоскольжения, отличающееся тем, что оно содержит размещенные в корпусе ось с закрепленными на ней зубчатыми колесами для ее поворота, булавочную пружину и шарик, а средство противоскольжения имеет вертикально установленный в корпусе с возможностью взаимодействия с шариком подпружиненный шток и закрепленную на нем пластину, выполненную с заостренными зубцами и с расположенными на обращенной к оси стороне канавками, при этом шарик установлен между осью и пластиной с возможностью размещения в одной из канавок пластины для ее фиксации, а в средней части оси выполнены пазы для размещения в одном из них конца булавочной пружины и в другом пазу шарика при переводе пластины в ее рабочее положение (патент РФ 2083148, МПК A43C 15/14, 1997 г.).
Это известное устройство является наиболее близким к предложенному, в связи с чем принято за прототип для двух его вариантов.
Недостаток этого устройства – сложность конструкции и неудобство пользования, поскольку для приведения устройства в рабочее положение нужно выполнить несколько специальных движений, а приведение его в нерабочее положение осуществляется вручную.
Технический результат заявленного устройства – упрощение конструкции противоскользящего средства и повышение удобства использования за счет самопроизвольного срабатывания механизма, использующего эффект проскальзывания, при этом не требуется производить включение и выключение устройства.
Указанный технический результат достигается за счет того, что в противоскользящем средстве для обуви, содержащем корпус и рабочие элементы, последние выполнены в виде выступающей за пределы корпуса втулки с наружной резьбой, взаимодействующей с ответной резьбой, выполненной в корпусе, и установленного в корпусе двуплечего углового рычага, одно плечо которого размещено в отверстии втулки, имеет заострение и выполнено с возможностью взаимодействия с опорной поверхностью, а второе плечо – опирается на верхний торец втулки, при этом последняя связана с корпусом упругим элементом, а нижняя часть втулки на нескользкой поверхности расположена ниже острия шипа.
Противоскользящее средство, кроме того, снабжено другим упругим элементом, который установлен в отверстии втулки и прикреплен к ее образующей и к заостренному плечу двуплечего рычага.
Заявленное устройство иллюстрировано чертежами, где:
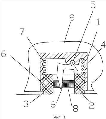
на фиг.1 изображено противоскользящее средство для обуви на нескользкой поверхности;
на фиг.2 – то же, на скользкой поверхности;
на фиг.3 – размещение противоскользящих средств на подошве;
на фиг.4 – разрез А-А на фиг.3
Противоскользящее средство для обуви содержит корпус 1 и закрепленные на нем рабочие элементы, выполненные в виде втулки 2, с наружной резьбой 3, взаимодействующей с ответной резьбой 4, выполненной в корпусе 1, и закрепленного на корпусе 1 двуплечего углового рычага 5 с заострением в виде шипа 6 на одном его конце. Другой конец рычага 5 свободно опирается на верхний торец втулки 2. Последняя связана с корпусом 1 упругим элементом 7, который установлен между верхним торцом втулки 2 и корпусом 1. В отверстии втулки установлен еще один упругий элемент 8, к которому присоединено заостренное плечо рычага 5. Нижняя часть втулки 2 на нескользкой поверхности выступает за пределы корпуса и расположена ниже острия шипа 6. Корпус 1 имеет в плане круглую форму. На фиг.5 и 6 показана установка корпусов в подошву 9 и в каблук 10.
Устройство работает следующим образом.
На нескользкой опорной поверхности втулка 2 удерживается силой трения от поворота и, следовательно, от подъема. В этом случае острие шипа 6 расположено внутри втулки 2 и не взаимодействует с опорной поверхностью, а опора происходит на нижний торец втулки 2.
На скользкой поверхности втулка 2 будет ввинчиваться в корпус, 1 что приведет к повороту двуплечего рычага 5 и, следовательно, к выдвижению шипа 6, который тянет за собой упругий элемент 8 и внедряется в скользкую поверхность. Упругий элемент 7 при этом будет сжиматься.
При подъеме ноги втулка 2 под воздействием упругих элементов 7 и 8 возвращается в исходное положение, поворачивая двуплечий рычаг 5 в обратном направлении.
Формула изобретения
Противоскользящее средство для обуви, содержащее корпус и рабочие элементы, отличающееся тем, что рабочие элементы выполнены в виде выступающей за пределы корпуса втулки с наружной резьбой, взаимодействующей с ответной резьбой, выполненной в корпусе, и установленного в корпусе двуплечего углового рычага, одно плечо которого размещено в отверстии втулки, имеет заострение и выполнено с возможностью взаимодействия с опорной поверхностью, а второе плечо опирается на верхний торец втулки, при этом последняя связана с корпусом упругим элементом, а нижняя часть втулки на нескользкой поверхности расположена ниже острия шипа.
РИСУНКИ
|
|