|
|
(21), (22) Заявка: 2008119706/09, 19.05.2008
(24) Дата начала отсчета срока действия патента:
19.05.2008
(46) Опубликовано: 10.12.2009
(56) Список документов, цитированных в отчете о поиске:
RU 2316142 C1, 27.01.2008. RU 2132115 C1, 20.06.1999. US 2008024596 A1, 31.01.2008. RU 2249858 C2, 01.04.2005.
Адрес для переписки:
215116, Смоленская обл., г. Вязьма, ул. Пушкина, 22, кв.38, Б.И. Волкову
|
(72) Автор(ы):
Волков Борис Иванович (RU)
(73) Патентообладатель(и):
Волков Борис Иванович (RU)
|
(54) СИСТЕМА СТЕРЕОТЕЛЕВИДЕНИЯ
(57) Реферат:
Изобретение относится к технике связи и может быть использовано для цифрового телевещания. Техническим результатом является снижение энергоемкости системы в три раза по отношению к прототипу. Результат достигается тем, что в систему стереотелевидения, содержащую передающую и приемную стороны, на передающей стороне введены три кодера, в фотоэлектрический преобразователь введены первая и вторая матрицы ПЗИ /прибор с зарядовой инжекцией/ и передатчик выполнен одноканальным, а на приемной стороне введены три декодера и три формирователя управляющих сигналов. 19 ил., 2 табл.
Изобретение относится к технике радиосвязи и может быть использовано для цифрового телевещания.
Прототипом принята “Система стереотелевидения” [1], содержащая на передающей стороне фотоэлектрический преобразователь /ФЭП/ на основе пьезодетекторов, формирующий два изображения одного объекта и включающий правый и левый объективы, соответствующее число пьезодефлекторов, блоки строчной и кадровой разверток, фотоприемники и предварительные усилители, шесть ключей, три АЦП видеосигнала, два АЦП сигнала звука, генератор синусоидальных колебаний и синтезатор частот, три формирователя кодов, два самоходных распределителя импульсов /СРИ/, триггер и трехканальный передатчик радиосигналов, на приемной стороне содержащая антенну, блок управления /выбор каналов/, три тракта приема и обработки кодов видеосигналов, светодиодный плоскопанельный экран /СД-экран/, канал формирования управляющих сигналов, два канала воспроизведения звука, ИК-передатчик на корпусе СД-экрана и ЗД-очки с ИК-приемником на оправе. Каждый тракт приема и обработки кодов видеосигналов включает блок приема радиосигналов, усилитель радиочастоты, двухполярный амплитудный детектор, два формирователя импульсов и канал одного из цветовых сигналов /R, G, В/, включающий два регистра цветового сигнала, первый блок задержки, сумматор, второй блок задержек, два накопителя кодов кадра и два блока формирования импульсов. В передающей стороне видеорежим 960отсч×540строк×50 Гц. Информация кодов стереопар передается тремя радиоканалами. На приемной стороне принимаются три радиосигнала тремя трактами приема и обработки кодов видеосигналов последовательно правого и левого кадров стереопар, коды сигналов R, G, В распределяются по своим каналам, в которых удваивается число отсчетов в строке с 960 до 1920 и удваивается число строк в кадре с 540 до 1080. Коды в каждом канале поступают в два накопителя кодов кадра, с них в два блока формирователей импульсов и с них на входы СД-экрана, изображение с которого воспринимается зрителем объемным через ЗД-очки. Воспроизводимый видеорежим 1920×1080×50 Гц. Недостаток прототипа: передача информации стереопар тремя радиоканалами, прием ее тремя трактами приема и использование в СД-экране светодиодных ячеек, в каждой из которых по 24 светодиода, определяет высокую энергоемкость системы.
Цель изобретения – уменьшение энергоемкости системы. Техническим результатом является снижение энергоемкости системы в три раза при передаче-приеме информации, т.е. передача-прием по одному радиоканалу с приемом ее одним трактом приема и уменьшение числа светодиодов в СД-экране в 8 раз применением СД-ячеек из трех светодиодов Сущность изобретения в том, что в систему стереотелевидения на передающей стороне вводятся три кодера, в ФЭП две матрицы ПЗИ /прибор с зарядовой инжекцией/, а передатчик выполняется одноканальным, на приемной стороне вводятся два приемных регистра, в каждый канал цветового сигнала тракта приема и обработки кодов видеосигналов вводятся декодер и формирователь управляющих сигналов, а СД-экран выполняется из СД-ячеек из трех светодиодов.
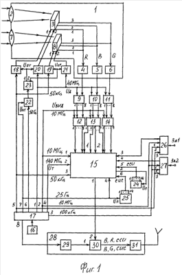
Передающая сторона на фиг.1, структура цифрового потока на фиг.2, кодер на фиг.3, диаграммы работы кодера на фиг.4, формирователь кодов на фиг.5, приемная сторона на фиг.6, спектр амплитудно-модулированного сигнала на фиг.7, двухполярный амплитудный детектор на фиг.8, декодер на фиг.9, блок обработки кодов на фиг.10, накопитель кодов кадра на фиг.11, блок регистров на фиг.12, 13, формирователь управляющих сигналов на фиг.14, блок выделения ССИ /СИС/ на фиг.15, СД-ячейка на фиг.16, элемент матрицы на фиг.17, расположение излучающих элементов в матрице СД-экрана на фиг.18, временные диаграммы работы системы на фиг.19.
На передающей стороне используется видеорежим 800отсч×1000×50 Гц, где 800 число кодируемых отсчетов в строке, 1000 – число строк в кадре, 50 Гц – частота кадров. Частота стереопар 25 Гц. Коды правого и левого кадров стереопары передаются последовательно. Частота дискретизации при аналого-цифровом преобразовании видеосигналов цветовых сигналов: fд=800×1000×50 Гц=40 МГц.
Частота строк 50 кГц /1000×50 Гц/. При частоте дискретизации 40 МГц всегда много кодов в кадре, равных по величине, следовательно, поток кодов каждого кадра подлежит сжатию. Применяется сжатие потока кодов кадра раздельно каждого цветового сигнала R, G, В. Коэффициент сжатия каждого потока кодов цветового сигнала за кадр принимается не менее 4, поэтому частота дискретизации на выходе каждого кодера составляет 10 МГц Период следования кодов в потоке 100 нс период следования разрядов в коде 7,1 нс В суммарном коде число разрядов 14 /фиг.2/, он включает: 1-9 разряды кода R и 1-4 разряды кода В или 1-9 разряды кода G и 5-9 разряды кода В. Тактовая частота при формировании суммарных кодов: fт=10 МГц × 14 раз=140 МГц.
Несущая частота в передающей стороне составляет:
fн=140 МГц × 15=2100 МГц. Верхняя боковая частота 2240 МГц /2100+140 МГц/, нижняя боковая частота 1960 МГц /2100-140 МГц/. Передающая сторона включает /фиг.1/ фотоэлектрический преобразователь 1 /ФЭП/, являющийся датчиком цветовых видеосигналов двух изображений: правого и левого кадров стереопар, и содержит первый 2 /правый/ объектив, в фокальной плоскости которого расположена фоточувствительная сторона матрицы ПЗИ3 – прибора о зарядовой инжекцией по технологии Foveon Х3 из трехслойного КМОП-датчика [2 с.552, 3 с.832-833] с соответствующим оптическим разрешением /1600×100/ и обеспечивающим 24-битную глубину цвета [3 c.835], первый-третий выходы матрицы ПЗИ 3 подключены соответственно к входам предварительных усилителей 4, 5, 6. ФЭП включает второй 7 /левый/ объектив, расположенный на соответствующем расстоянии от объектива 2, в фокальной плоскости объектива 7 расположена фоточувствительная сторона второй матрицы ПЗИ 8, первый-третий выходы которой подключены также к входам соответственно предварительных усилителей 4, 5, 6. Передающая сторона включает первый 9, второй 10, третий 11 АЦП видеосигналов соответственно R, В, G, первый 12, второй 13, третий 14 кодеры, формирователь 15 кодов, генератор 16 синусоидальных колебаний и синтезатор 17 частот, первый 18, второй 19, третий 20, четвертый 21 и пятый 22 ключи, триггер 23, первый самоходный распределитель 24 импульсов /СРИ/, формирующий 14-разрядный код строчных синхроимпульсов /ССИ/, второй СРИ 25, формирующий 14-разрядный код синхроимпульсов стереопар /СИС/, первый АЦП 26 сигнала звука З в 1 и второй АЦП 27 сигнала звука З в 2, и передатчик 28 радиосигналов, включающий последовательно соединенные усилитель 29 несущей частоты, амплитудный модулятор 30 и выходной усилитель 31.
Амплитудный модулятор 30 содержит последовательно соединенные кольцевой модулятор и полосовой фильтр [4 с.234]. АЦП видеосигнала 9, 10, 11 выполнены идентично прототипу [1 с.5 рис.5]. АЦП 26, 27 сигнала звука принимаются также из прототипа [1 с.5 рис.8] и преобразуют сигналы звука в 14-разрядные коды, поступающие с дискретизацией 100 кГц с АЦП 26 на третий информационный вход блока 15 /фиг.1/, с АЦП 27 на четвертый информационный вход блока 15. Кодеры 12, 13, 14 идентичны, каждый включает /фиг.3/ последовательно соединенные регистр 32, схему 33 сравнения /компаратор/, счетчик 34 импульсов и дешифратор 35, последовательно соединенные блок 36 элементов задержек, блок 37 ключей и буферный накопитель 38 кодов кадра. Информационными входами являются поразрядно объединенные 1-8 входы регистра 32, первые входы 1-8 схемы 33 сравнения и входы блока 36 элементов задержек. Выходами являются 1-9 выходы буферного накопителя 38 кодов кадра, объем его составляет 200×103 9-разрядных кодов. Управляющим входом является управляющий вход /10 МГц/ блока 38. Формирователь 15 кодов включает /фиг.5/ три канала. Первый и второй каналы идентичны, выходы их объединены. Первый канал включает последовательно соединенные первый блок 39 элементов И, первые входы /13 штук/ которого являются первым информационным входом и принимают коды R с 1 по 9 разряды и коды В 1-4 разряды, первый 40 и второй 41 элементы ИЛИ и первый выходной ключ 42, и первый СРИ 43. Второй канал включает второй блок 44 элементов И, которых 14, первые входы их являются вторым информационным входом блока 15 и принимают коды сигнала G 1-9 разряды и 5-9 разряды кодов В, третий 45 и четвертый 46 элементы ИЛИ и второй выходной ключ 47, и второй СРИ 48. Третий канал включает третий блок 49 элементов И, первые входы /1-14/ которого являются третьим информационным входом блока 15 и принимают коды звукового сигнала с АЦП 26, пятый элемент ИЛИ 50, выход которого подключен к второму входу второго элемента ИЛИ 41, и третий СРИ 51, включает четвертый блок 52 элементов И, первые входы /1-14/ которого являются четвертым информационным входом блока 15 и принимают коды звука с АЦП 27, шестой элемент ИЛИ 53, выход которого подключен к второму входу четвертого элемента ИЛИ 46, и четвертый СРИ 54. Формирователь 15 кодов включает первый 55, второй 56 и третий 57 ключи и последовательно соединенные счетчик 58 импульсов и дешифратор 59. Блоки элементов И 44, 49, 52 содержат по 14 элементов И, блок 39 содержит 13 элементов И. СРИ 43, 48, 51, 54 являются 14-разрядными. Пятым информационным входом является сигнальный вход ключа 57, шестым – третий вход четвертого элемента ИЛИ 46. Выходами блока 15 являются: первым – объединенные выходы выходных ключей 42, 47, вторым – третий выход дешифратора 59. Управляющими входами являются: первым – объединенные сигнальные входы ключей 55, 56 и счетный вход счетчика 58 импульсов, вторым – сигнальные входы выходных ключей 42, 47, третьим – управляющий вход /UO/ счетчика импульсов 58, четвертым – управляющий вход третьего ключа 57. Первый выход дешифратора 59 подключен к первому управляющему входу ключа 55, второй выход подключен к второму управляющему входу ключа 55 и к первому управляющему входу ключа 56, третий выход дешифратора 59 подключен к второму управляющему входу ключа 56 и является вторым выходом формирователя 15 кодов. Вторые входы блоков 39, 44, 49, 52 подключены к выходам СРИ своих каналов 43, 48, 51, 54. Выход ключа 55 подключен к входам СРИ 43, 48, выход второго ключа 56 подключен к входам СРИ 51, 54. Приемная сторона включает /фиг.6/ антенну, блок 60 управления /выбор каналов/, один тракт приема и обработки кодов видеосигналов, светодиодный экран /СД-экран/, канал формирования управляющих сигналов и два канала воспроизведения звука. Тракт приема и обработки кодов видеосигналов производит последовательный прием кодов правого и левого кадров стереопар и включает последовательно соединенные блок 61 приема радиосигнала, усилитель 62 радиочастоты и двухполярный амплитудный детектор 63, первый 64, второй 65 формирователи импульсов, первый 66 и второй 67 приемные регистры, каждый из которых содержит 14 разрядов, и три идентичных канала цветового сигнала R, G, В. Канал сигнала R включает последовательно соединенные регистр 68 сигнала R, декодер 69, блок 70 обработки кодов /удвоения кодов в строке/, накопитель 71 кодов кадра и формирователь 72 управляющих сигналов. Канал сигнала В включает последовательно соединенные регистр 73 сигнала В, декодер 74, блок 75 обработки кодов, накопитель 76 кодов кадра и формирователь 77 управляющих сигналов, канал сигнала G включает регистр 78 сигнала G, декодер 79, блок 80 обработки кодов, накопитель 81 кодов кадра и формирователь 82 управляющих сигналов. Выходы формирователей 72, 77, 82 управляющих сигналов подключены к соответствующим входам СД-экрана 83, с расположенным на его корпусе ИК-передатчиком 84. В состав приемной стороны входят ЗД-очки 85 с ИК-приемником 86 на оправе и соединительный кабель с включателем 87. Изображение на СД-экране зрителем воспринимается объемным через ЗД-очки 85, при воспроизведении на экране правого кадра теряет прозрачность левое стекло очков, при воспроизведении левого кадра теряет прозрачность правое стекло очков, и каждый глаз видит свой кадр, что и дает стереоэффект. Стекла ЗД-очков выполнены по технологии ЖК-ячеек просветного типа, используемые как электронно-управляемые светофильтры /затворы/ [3 с.558, 559, 564]. В предлагаемой системе применяется и второй вариант: вход ИК-приемника 86 соединительным кабелем подключается к входу ИК-передатчика 84, идет тот же процесс управления затемнением стекол ЗД-очков 85 без участия ИК-передатчика 84. Порядок работы приемной стороны определяет канал формирования управляющих сигналов, включающий блок 88 выделения строчных синхроимпульсов ССИ, синтезатор 89 частот, первый ключ 90, счетчик импульсов 91 и дешифратор 92, блок 93 выделения синхроимпульсов стереопар СИС, второй ключ 94 и триггер 95. Приемная сторона также включает идентичные первый 96 и второй 97 каналы воспроизведения звука, каждый из которых содержит регистр, цифроаналоговый преобразователь /ЦАП/ с фильтром низкой частоты, усилитель мощности и громкоговоритель. СД-экран 83 представлен числом излучающих элементов соответственно разрешению кадра 1600×1000=1,6×103, выполняемых в соответствующем экраном материале, который может быть стеклом или другим прозрачным материалом. Каждый излучающий элемент включает три светодиодных ячейки /СД-ячейки/, каждая из которых излучает один из основных цветов R, G, В. СД-ячейка содержит светодиод белого свечения 134 /фиг.16/ и соответствующий цветной светофильтр 135 на излучаемой стороне. Три СД-ячейки представляют излучающий элемент матрицы СД-экрана /фиг.17/, которых по числу разрешения экрана и составляют матрицу СД-экрана /фиг.18/. Уровень яркости излучения СД-ячейки воспринимается зрением прямо пропорционально числу импульсов излучений, выполняемых светодиодами СД-ячейки за период кадра 20 мс. Импульсов излучений, каждый длительностью в 78 мкс, может быть от одного при коде сигнала 00000001 до 255 при коде цветового сигнала 11111111 /20 мс/. Суммарное излучение трех основных цветов тремя светодиодами излучающего элемента формирует яркость и цветовой тон одного пиксела на экране. В качестве светодиодов могут применяться светодиоды с полимерными органическими молекулами – светодиоды технологии CDT или PLED [5 с.43], или сверхъяркие светодиоды белого свечения фирм “Nichia”, “Ledtronics” [6 с.47]. Светодиоды как технологии СДТ, так и сверхъяркие исполняются в экранном материале методом микроэлектронной технологии. Размеры сверхъярких светодиодов до 0,5 мм в диаметре, размер одного излучающего элемента 1×1 мм /фиг.17/, размер СД-экрана по горизонтали 1600×1 мм = 1600 мм, по вертикали 1000×1 мм = 1000 мм, по диагонали 188 см или 74″. Светодиоды технологи СДТ пригодны для получения экранов и малых и больших размеров. Декодеры 69, 74, 79 идентичны, каждый включает /фиг.9/ последовательно соединенные первый 9-разрядный регистр 98, накопитель 99 кодов кадра емкостью 200000 9-разрядных кодов /200отсчх 1000строк /, второй 9-разрядный регистр 100, первый блок 101 ключей из 8 ключей и третий 8-разрядный регистр 102, последовательно соединенные второй блок 103 ключей из 8 ключей, 8-разрядный счетчик 104 импульсов и дешифратор 105, первый 106, второй 107, третий 108 и четвертый 109 ключи. Информационным входом декодера являются 1-9 входы первого регистра 98, выходом являются 1-8 выходы третьего регистра 102. Управляющими входами являются: первым – объединенные управляющий вход регистра 98 и сигнальный вход /10 МГц/ третьего ключа 108, вторым – объединенные сигнальные входы /40 МГц/ ключей 106, 107, 109. Выход 9-го разряда второго регистра 100 подключен параллельно к первому управляющему входу второго ключа 107, к вторым управляющим входам ключей 108, 109 и 106, к второму управляющему входу блока 101 ключей и к первому управляющему входу второго блока 103 ключей. Выход ключа 106 подключен к первому управляющему входу регистра 102, второй управляющий вход которого подключен к выходу второго ключа 107, к которому подключен и счетный вход вычитающего счетчика 104 импульсов. Выход дешифратора 105 подключен параллельно к первому управляющему входу первого блока 101 ключей, к второму управляющему входу блока 103 ключей, к первым управляющим входам ключей 106, 108, 109 и к второму управляющему входу ключа 107. Выход третьего ключа 108 подключен к управляющему входу накопителя 99 кодов кадра, выход ключа 109 подключен к управляющему входу второго регистра 100. Блоки 70, 75, 80 обработки кодов идентичны, каждый включает /фиг.10/ триггер 110, вход которого является управляющим входом /40 МГц/, первый 111 и второй 112 блоки ключей из восьми ключей каждый, первый 113, второй 114, третий 115 и четвертый 116 регистры, сумматор 117, пятый 118 и шестой 119 регистры и 16 диодов. Информационными входами блока 70 являются поразрядно объединенные входы блоков 111, 112 ключей, на них с декодера 69 поступают коды с частотой 40 МГц. Выходами являются поразрядно объединенные выходы 0-7 сумматора 117 и выходы 1-8 регистров 118, 119, выполняющие хранение /задержку/ кодов на 25 нс. Частота следования кодов с блока 70 /75, 80/ 80 МГц. Первый выход триггера 110 подключен к управляющим входам регистров 114, 115, 118 и к управляющему входу блока 111 ключей, второй выход Uвыд2 триггера 110 подключен к управляющим входам первого регистра 113, четвертого 116, шестого 119 и к управляющему входу блока 112 ключей. Вход триггера 110 подключен к управляющему входу сумматора 117.
Выходы первого блока 111 ключей подключены к 1-8 входам регистров 113, 114. Выходы второго блока 112 ключей подключены к 1-8 входам регистров 115, 116. Выходы регистра 113 подключены к входам регистра 118 и через диоды к первым входам сумматора 117, к которым подключены и выходы регистра 114. Выходы третьего регистра 115 подключены к входам шестого регистра 119 и через диоды подключены к вторым входам сумматора 117, к которым подключены выходы четвертого регистра 116.
Накопители 71, 76, 81 кодов кадра идентичны, каждый включает /фиг.11/ блоки 120 регистров по числу строк в кадре /1000/. Информационным входом блока 71 являются поразрядно объединенные 1-8 входы блоков 1201-1000 регистров. Управляющими входами являются: первым – первый управляющий вход /50 Гц/ первого блока 1201 регистров, вторым – объединенные вторые управляющие входы Uвыд /50 кГц/ блоков 120 регистров, третьим – объединенные третьи управляющие входы Uд /80 МГц/ блоков 120 регистров. Каждый управляющий выход предыдущего блока 120 регистров является первым управляющим входом каждого последующего блока 120 регистров. Управляющий выход последнего блока 1201000 регистров подключен параллельно к четвертым управляющим входам всех блоков 120 регистров. Выходами накопителя кодов кадра 71 /76, 81/ являются выходы всех блоков 120 регистров, которых 12800×1000. Блоки 120 регистров идентичны, каждый включает /фиг.12, 13/ первый 121 и второй 122 ключи, распределитель 123 импульсов и восемь регистров 1241-8, каждый из которых содержит по 1600 разрядов, по числу отсчетов в строке. Информационными входами блока 120 являются 1-8 поразрядно объединенные третьи входы разрядов восьми регистров 124. Выходами являются параллельные выходы всех /1600/ разрядов восьми регистров 124, всего которых 12800 /1600×8/. Выходы 1000 блоков 120 являются выходами каждого накопителя кодов 71, 76, 81, всего выходов 12,8×106. Управляющими входами являются: первым – первый управляющий вход /50 Гц/ первого ключа 121, вторым – сигнальный вход Uвыд /50 кГц/ ключа 122, третьим – сигнальный вход Uд /80 МГц/ ключа 121, четвертым – управляющий вход второго ключа 122. Последний выход /1600-й/ распределителя 123 импульсов является управляющим выходом блока 120 регистров для следующего блока 1202 регистров и подключен к первому управляющему входу первого ключа 121 /фиг.13/.
Выход первого ключа 121 подключен к входу распределителя 123 импульсов, выходы которого последовательно, начиная с первого, подключены к первым /тактовым/ входам разрядов параллельно восьми регистров 124. Выход второго ключа 122 подключен параллельно к вторым входам разрядов восьми регистров 124 и к второму управляющему входу своего ключа 122, прошедший один импульс закрывает ключ 122. Выходы накопителя 71 кодов кадра /фиг.6/ подключены к информационным входам своего формирователя 72 управляющих сигналов. Назначение формирователей 72, 77, 82 управляющих сигналов выполнять преобразование “код – число импульсов излучений” для получения скважности излучений светодиодов в периоде кадра. Каждый из формирователей управляющих сигналов включает преобразователей по числу разрешения кадра 1,6·106 /1600×1000/. Каждый формирователь 72, 77, 82 управляющих сигналов включает /фиг.14/ блок 125 формирователей импульсов, содержащий 1,6×106 схем формирователей импульсов по длительности и амплитуде, и преобразователи “код – число импульсов излучений” которых по числу разрешения кадра 1,6×106. Каждый преобразователь включает /фиг.14/ последовательно соединенные дешифратор 126, входы которого являются 1-8 информационными входами преобразователя, блок 127 ключей из 255 ключей и выходной ключ 128, включает самоходный распределитель 129 импульсов /СРИ/ и источник 130 питания для одного светодиода в СД-экране. Выходы дешифратора 126 подключены к управляющим входам соответствующих ключей в блоке 127, выходы ключей объединены и подключены к управляющему входу Uот выходного ключа 128, сигнальный вход которого подключен к выходу источника 130 питания. Вход СРИ 129 подключен к соответствующему выходу в блоке 125 и имеет 255 разрядов, выходы которых подключены к сигнальным входам соответствующих ключей в блоке 127 /вход 2/. Информационными входами блока 72 /77, 82/ являются информационные входы всех дешифраторов 126. Выходы выходных ключей являются выходами блоков 72, 77, 82, которые подключены к соответствующим входам СД-экрана 83. Исходное состояние выходных ключей 128 и ключей в блоках 127 закрытое. С поступлением на управляющий вход формирователя 72 управляющих сигналов импульса 50 Гц схемы 125 выдают параллельно на входы СРИ 129 импульсы Uп, запускающие СРИ в работу. Длительность работы СРИ 129, прохождение импульсов от первого разряда до 255 разряда, составляет период кадра 20 мс. Коды со всех накопителей 71, 76, 81 кодов параллельно и синхронно выдаются в дешифраторы 126 блоков 72, 77, 82 /фиг.6/. Выходные сигналы с дешифраторов 126 соответственно значению кода открывают соответствующие ключи в блоках 127. На выходах разрядов СРИ 129 последовательно через 78 мкс появляются импульсы, поступающие на сигнальные входы ключей в блоках 127, которые проходят открытые ключи в блоке 127 и открывают каждый на время 78 мкс выходной ключ 128. Напряжение питания с источника 130 питания запитывает свой светодиод в СД-экране 83, который издает импульс излучения длительностью 78 мкс. Импульс с разряда СРИ 129 после прохода ключа в блоке 127 поступает и на второй вход этого же ключа и закрывает его. Ключи блока 127 после срабатывания переходят вновь в закрытое исходное состояние. Каждый импульс Uот с блока 127 открывает выходной ключ 128 на длительность в 78 мкс: . 20 мс – длительность кадра /20000 мкс/, 255 – разрешение 8-разрядного кода, или число разрядов в СРИ 129. Соответственно величине кода светодиод за период кадра запитывается столько раз по 78 мкс, сколько было открыто ключей в блоке 127. Чем больше код, тем больше импульсов излучений за период кадра выполняет светодиод. Пример распределения импульсов излучений в периоде кадра соответственно величине кода в таблице 1.

0 – отсутствие излучения,
1, 2, 3, 4 255 – номера следования излучений в периоде кадра.
Следование излучений в периоде кадра через равные интервалы времени соответствует природному восприятию изображения зрением и по достоверности цветопередачи и по яркости. Инерционность срабатывания светодиодов должна быть до 1 мкс. В блоках 71, 76, 81 сосредотачиваются коды цветовых сигналов кадра. Импульс СИС 25 Гц, соответствующий началу периода правого кадра стереопары, открывает с блока 93 второй ключ 94, пропускающий импульсы кадров 50 Гц с шестого выхода синтезатора 89 частот. Первый выходной импульс 50 Гц с ключа 94 соответствует началу правого кадра стереопары, второй импульс с ключа 94 соответствует началу левого кадра. Первый импульс с ключа 94, поступая на первый управляющий вход блоков 71, 76, 81, запускает их в работу по накоплению кодов правого кадра, которые по окончании периода правого кадра выдаются синхронно и параллельно в формирователи 72, 77, 86 управляющих сигналов. С приходом второго импульса с ключа 94 в накопители кодов кадра идет процесс накопления кодов левого кадра. А формирователи 72, 77, 82, получив коды правого кадра, запитывают соответственно им светодиоды в матрице СД-экрана 83, воспроизводя изображение правого кадра стереопары. При втором импульсе импульсе 50 Гц с ключа 94 триггер 95 выдает импульс в ИК-передатчик 84, излучение которого принимается ИК-приемником 86, который выдает управляющий сигнал в ЖК-ячейки левого стекла, затемняя его на 20 мс, затем схема ИК-приемника 86 выдает второй сигнал в ЖК-ячейки правого стекла, затемняя его на 20 мс, В результате каждый глаз видит свой кадр стереопары. Блок 88 выделения ССИ и блок 93 выделения СИС идентичны, каждый включает /фиг.15/ четырехразрядный счетчик 131 импульсов, дешифратор 132, элемент НЕ 133 и два диода. Информационным входом блока 88 /93/ является счетный вход /Uсч/ 1 счетчика 131 импульсов, управляющим входом 2 /U0/ является управляющий вход счетчика 131 импульсов. Первый вход блока 88 подключен к выходу формирователя 64 импульсов /фиг.6/, второй вход через диод Д1 подключен к выходу второго формирователя 65 импульсов. Первый вход блока 93 подключен к выходу второго формирователя 65 импульсов, а второй /управляющий/ вход через диод Д1 подключен к выходу первого формирователя 64 импульсов. Счетчик 131 ведет счет 14 импульсов /1110/ и три его старших разряда подключены к входам дешифратора 132, выход которого является выходом блока 88 /93/ и через второй диод Д2 объединяется с выходом элемента НЕ 133, который подключен после диода Д1 к управляющему входу Uо счетчика 131 импульсов. Код ССИ является 14-разрядным кодом /фиг.2/ из одних единиц. Код СИС также 14-и разрядный. Код ССИ поступает с блока 64 на первый вход блока 88, при этом с блока 65 на управляющий вход счетчика 131 с блока 65 импульсов нет. Код СИС также поступает на первый вход блока 93 с блока 65, при этом с блока 64 на управляющий вход счетчика 131 импульсов нет.
Работа блоков 88, 93, фиг.15
С поступлением кода ССИ на счетный вход счетчика 131 импульсов он ведет счет 14 импульсов подряд, в счетчике формируется код 1110. На выходах трех старших разрядов появляются сигналы, они дешифрируются дешифратором 132, на выходе блока 88 появляется импульс ССИ 50 кГц. При этом с блока 65 на управляющий вход импульсы не поступают. Начиная со второго кода строки с блока 65 пойдут импульсы кода на управляющий вход счетчика 131, и с приходом каждого импульса кода счетчик 131 будет обнуляться и не сможет достичь счета 14. Параллельно и на счетный вход идут импульсы кода с блока 64, и при каждом нуле в коде элемент НЕ 133 выдает на управляющий вход Uо и обнуляет счетчик. В дополнение с выхода дешифратора 132 сигнал ССИ через второй диод Д2 поступит также на управляющий вход счетчика и обнулит его. Схема блоков 88, 93 исключает появление на выходе ложного сигнала ССИ /СИС/. Блок 93 работает аналогично.
ФЭП 1 первой матрицей ПЗИ 3 формирует три видеосигнала правого кадра. На каждый из трех слоев матрицы ПЗИ с ключа 18 поступают импульсы 50 кГц частоты строк для считывания сигналов пикселов по вертикали, вход 1 матрицы. На вторые входы матрицы с ключа 20 поступают импульсы 40 МГц для считывания зарядов по горизонтали [3 с.832]. Сигналы с трех слоев матрицы поступают в предварительные усилители 4, 5, 6, с выходов которых они поступают в АЦП 9, 10, 11, с выходов которых 8-разрядные коды цветовых сигналов с дискретизацией 40 МГц поступают на входы кодеров 12-14. Синхронизация считывания сигналов с матрицы ПЗИ 3 с началом правого кадра стереопары выполняется открытием ключа 22 передним фронтом синхроимпульса стереопары СИС 25 Гц. Ключ 22 пропускает импульсы 50 Гц, первый из них является импульсом правого кадра и с выхода триггера открывает ключи 18, 20, второй является импульсом левого кадра и открывает ключи 19 и 21 на длительность 20 мс левого кадра стереопары, пропускающие на первый и второй входы второй матрицы ПЗИ 8 импульсы соответственно 50 кГц и 40 МГц для считывания с ней зарядов пикселов левого изображения. Сигналы с трех слоев матрицы ПЗИ 8 поступают на входы тех же предварительных усилителей 4-6. Синтезатор 17 частот выдает: с первого выхода импульсы Uд дискретизации 40 МГц в АЦП 9-11, со второго выхода – импульсы Uвыд 10 МГц с кодеров 12-14 и на первые управляющие входы формирователя 15 кодов и АЦП 26, 27 сигнала звука, с третьего – импульсы 100 кГц дискретизации кодов звука на вторые управляющие входы АЦП 26, 27, с четвертого – тактовые импульсы 140 МГц на второй управляющий вход блока 15, с пятого – импульсы 50 кГц частоты строк на сигнальные входы ключей 18, 19, на третий управляющий вход блока 15 и на третьи управляющие входы АЦП 26, 27, с шестого выхода импульсы 50 Гц частоты кадров на сигнальный вход пятого ключа 22, с седьмого выхода импульсы 25 Гц стереопар на управляющий вход ключа 22, на вход СРИ 25 и на четвертый управляющий вход блока 15, с восьмого выхода синусоидальные колебания несущей частоты 2100 МГц со стабильностью 10-7 в передатчик 28 радиосигналов.
Работа кодеров 12-14, фиг.3
Коды поступают на 1-8 входы регистра 32, на первые входы схемы 33 сравнения и на входы блока 36 элементов задержек. Исходное состояние ключей в блоке 37 открытое. Код в блоке 36 задерживается на время сравнения /18 нс/ и поступает через открытые ключи блока 37 на 1-8 входы буферного накопителя 38 кодов кадра емкостью 200·103 9-разрядных кодов. Схема 33 сравнения выполняет сравнение по величине каждого предыдущего и последующего кодов для выявления их равенства или неравенства. При следовании неравных кодов они проходят через блок 36, открытые ключи блока 37 и поступают на 1-8 входы буферного накопителя 38 кодов. Выдача кодов из блока 38 выполняется сигналом Uвыд 10 МГц с выхода 2 блока 17 /фиг.1/. Поступление кодов в блок 38 при следовании неравных кодов идет с частотой 40 МГц. В общем потоке кодов имеется большое число равных по величине кодов, идущих последовательно друг за другом. За счет равных кодов, идущих друг за другом, кодер и выполняет сжатие потока кодов. Коэффициент сжатия плавающий от 1 до 255, общий коэффициент сжатия потока за кадр принимается не менее 4, поэтому частота выдачи с блока 38 принимается 10 МГц При коэффициенте сжатия выше 4 частота 10 МГц выдачи будет тем более удовлетворять. Схема 33 сравнения выполняет сравнение кодов и представлена двумя микросхемами 530СП1 с временем сравнения 18 нс [7 с.279]. При неравенстве кодов A>B появляется сигнал на выходе 2 блока 33 /в микросхеме выход 5 [7 c.272 рис.2.190] /, при равенстве кодов А=В – сигнал с выхода 1 /в микросхеме выход 7/. При равенстве кодов сигнал с выхода 1 блока 33 закрывает ключи в блоке 37, поступает счетным импульсом в счетчик 34 импульсов и как сигнал Uвыд на первый управляющий вход регистра 32. Счетчик 34 8-разрядный, максимальный код в нем 255 /11111111/, отсюда и максимальный коэффициент сжатия 255. Счетчик из микросхем К531ИЕ160 с временем срабатывания 8 нс [7 с.428]. При появлении неравных кодов со схемы 33 следует сигнал с выхода 2 или 3 /А<В/, которые объединены, сигнал с них используется для выдачи кода числа равных кодов из счетчика 34 импульсов через диоды на входы блока 38 и для заполнения в блоке 38 девятого разряда, с которого сигнал используется для опознания по нему кода числа равных кодов при декодировании. Этот же сигнал открывает ключи в блоке 37 /вход 1/ и обнуляет регистр 32 /вход 2/. Выданный перед этим с блока 38 код является первым кодом последовательности, диаграмма 1 фиг.4, они помечены крестиками. Коды, равные по величине и подсчитанные счетчиком 34, исключаются из потока, диаграмма 111 фиг.4, за счет их и идет сжатие потока кадра. Емкость буферного накопителя 38 составляет 200×103 9-разрядных кодов для обеспечения темпа следования кодов с частотой 10 МГц. При следовании подряд кодов, равных по величине более 255, в работу вступает дешифратор 35. При коде 11111111 дешифратор 35 выдает сигнал, который одновременно открывает ключи в блоке 37, обнуляет регистр 32, сигналом Uвыд выдает код из счетчика 34 /вход 1/ и обнуляет счетчик 34 /вход 2/, а в 9-й разряд блока 38 поступает сигнал опознания кода числа равных кодов. Пропускная способность кодера определяется временем срабатывания схемы 33 сравнения, которая обеспечивает до 40 Мбайт/с и удовлетворяет частоте следования кодов на входе кодера 40 МГц /фиг.3/. С выходов кодеров 12-14 9-разрядные коды в параллельном виде поступают на первый и второй информационные входы формирователя 15 кодов /фиг.1/. На первый информационный вход блока 15 поступают с 1 по 9 разряды кода с кодера 12 /фиг.1/ и с 1 по 4 разряды кода с кодера 13, на второй информационный вход блока 15 поступают с 5 по 9 разряды кода с кодера 13 и с 1 по 9 разряды кода с кодера 14. Первым кодом в первой строке правого кадра идет 14-разрядный код СИС /фиг.2/ на шестой информационный вход блока 15, начиная со второй строки первым кодом в каждой строке идет код ССИ 14-разрядный с СРИ 24 на пятый информационный вход блока 15. В сжатом потоке кодов со второго по 198 идут коды цветовых сигналов /фиг.2/, затем два кода 198 и 200 коды З в 1 и З в 2. 9-разрядный код сигнала R и 1-4 разряды сигнала В составляют суммарный код, поступающий на первый информационный вход блока 15 /фиг.2/, 1-9 разряды сигнала G и 5-9 разряды сигнала В составляют суммарный код, поступающий на второй информационный вход блока 15 /фиг.2/.
На выходе блока 15 единицы в суммарном коде сигнала R представляются положительными полусинусоидами моночастоты 140 МГц, а единицы в суммарном коде сигнала G и пяти разрядов В представляются отрицательными полусинусоидами той же частоты.
Работа формирователя 15 кодов, фиг.5
Временные диаграммы работы блока 15 на фиг.19. Блок 15 преобразует параллельные коды в последовательные и заменяет в них представление единиц с импульсов на положительные полусинусоиды / 1-9 разряды сигнала R и 1-4 разряды сигнала В/ и отрицательные полусинусоиды /1-9 разряды сигнала G и 5-9 разряды сигнала В/. На первый информационный вход блока 15 в первые входы блока 39 элементов И поступают одновременно 1-9 разряды сигнала R с кодера 12 и 1-4 разряды сигнала В с кодера 13. На второй информационный вход на входы 14 элементов И блока 44 поступают одновременно 1-9 разряды сигнала G и 5-9 разряды сигнала В с кодеров соответственно 14 и 13. На третий информационный вход в блок 49 поступают 14-разрядные коды сигнала звука с АЦП 26, на четвертый информационный вход в блок 52 поступают 14-разрядные коды сигнала звука с АЦП 27. На пятый информационный вход поступает код ССИ с блока 24 и на шестой информационный вход поступает кодд СИС с СРИ 25. На вторые входы элементов И блоков 39, 44 и 49, 52 поступают последовательно 14 импульсов с СРИ соответственно 43, 48 и 51, 54, которые запускаются в работу сигналами Uп с первого ключа 55 и с второго ключа 56. С выходов блоков 39 и 44 импульсы кодов сигналов R, В, G последовательно через элементы ИЛИ 40, 41 и 45, 46 поступают на управляющий вход выходного ключа 42 и 47 и открывают их на время своей длительности 7 нс Выходной ключ 42 в открытом состоянии пропускает одну положительную полусинусоиду моночастоты 140 МГц на выход, выходной ключ 47 в открытом состоянии пропускает на выход одну отрицательную полусинусоиду той же частоты. Выходы выходных ключей 42, 47 объединены и являются первым выходом блока 15, выходной сигнал которого представляет собой полные или неполные синусоиды частоты 140 МГц со стабильностью 10-7, как и несущая частота. Очередность следования кодов ССИ, R, В, G и звуков в строке определяется счетчиком 58 импульсов и дешифратором 59. Счетчик 58 8-разрядный, ведет счет импульсов 10 МГц с первого по 200-й.
При коде 00000001 импульс с первого выхода дешифратора 59 открывает ключ 55, который пропускает импульсы 10 МГц сигналами Uп на входы СРИ 43, 48. Со второго по 198 отсчеты строки идет формирование кодов сигнала R, В, G со второго по 198. С приходом 198 импульса строки сигнал со второго выхода дешифратора 59 закрывает ключ 55 и открывает ключ 56, при этом на вторые входы элементов ИЛИ 41, 46 приходят два кода сигнала З в 1 и З в 2, формируются по два кода звука 199 и 200 /фиг.2/. С приходом в счетчик 58 200-го импульса строки с третьего выхода дешифратора 59 импульс закрывает ключ 56, и сигнал с третьего выхода дешифратора запускает в работу СРИ 24, который выдает 14 разрядный код ССИ через открытый ключ 57 на третий вход элемента ИЛИ 41. В приходом первого импульса следующей строки в счетчик 58 импульсов процессы повторяются. С началом следующей стереопары на вход СРИ 25 и на управляющий вход ключа 97 приходит импульс 25 Гц. Ключ 57 закрывается на длительность 100 нс /длительность кода СИС/, а код СИС поступает на третий вход элемента ИЛИ 46. С окончанием длительности кода СИС ключ 57 открывается для пропуска следующих кодов ССИ. Закрытие ключа 57 запрещает поступление одновременно с кодом СИС и кода ССИ, когда идет код СИС, не идут коды ССИ, и наоборот.
Амплитудный модулятор 30 /фиг.1/ состоит из последовательно соединенных кольцевого модулятора и полосового фильтра [4 с.234]. В кольцевом модуляторе подавляется несущая частота 2100 МГц, полосовой фильтр отфильтровывает нижнюю боковую частоту 1960 МГц фиг.7. Верхняя боковая модулированная частота 2240 МГц с информацией кодов стереопар поступает в выходной усилитель 31 и излучается в эфир. При нестабильности несущей 10-7 занимаемая полоса в эфире составляет ±224 Гц или 448 Гц, для передачи такой полосы нужна и меньшая мощность передатчика, чем при широкополосном сигнале. На приемной стороне радиосигналы принимаются блоком 61 /фиг.6/, являющийся селектором каналов с электронной настройкой. Блок 61 включает входную цепь, усилитель радиочастоты и смеситель. Радиочастотный сигнал через петлю связи поступает на смеситель, на второй вход которого /вход 3/ с синтезатора 89 частот подается частота, равная несущей частоте передатчика 28, необходимая для детектирования однополосного сигнала [8 с.146]. Сигнал со смесителя, являющийся выходным сигналом блока 61, поступает на вход усилителя 62 радиочастоты, где усиливается до необходимой величины и поступает на вход двухполярного амплитудного детектора 63, выполненного по схеме на фиг.8. Диод Д1 выделяет положительную огибающую модулирующего сигнала /фиг.19 диагр.9/. Диод Д2 из модулирующей выделяет огибающие положительных полусинусоид – символы единиц кодов сигнала R и 1-4 разрядов сигнала В. Диод Д3 из модулирующей выделяет огибающие отрицательных полусинусоид – символы единиц кодов G и 5-9 разрядов сигнала В. С первого выхода блока 63 продетектированные положительные полусинусоиды частотой 140 МГц поступают на вход первого формировавателя 64 импульсов, со второго выхода блока 63 продетектированные отрицательные полусинусоиды поступают на вход второго формирователя 65 импульсов. Формирователи 64, 65 импульсов выполнены по схеме несимметричного триггера с эмиттерной связью [9 с.209], формирующие прямоугольный импульсы из гармонически изменяющихся сигналов. Импульсы имеют одну полярность и длительность, равную длительности импульсов на передающей стороне. Единицы в кодах представляются импульсами, нули их отсутствием. Порядок работы приемной стороны определяется сигналами канала формирования управляющих сигналов, задающая роль принадлежит блоку 88 выделения ССИ. При каждом приходе на вход блока 88 кода из 14 единиц /при отсутствии импульсов с блока 65/ на выходе блока 88 выдается строчный синхроимпульс ССИ, поступающий на первый вход синтезатора 89 частот и открывающий ключ 90. По сигналам ССИ производится синхронизация /подстройка/ частоты в блоке 89, собственная стабильность которой
10-6. Вторые входы блока 89 подключены к второй группе выходов блока 60 /выбора каналов/, сигнал с которого определяет частоту, выдаваемую с блока 89 на третий вход блока 61. Синтезатор 89 частоты выдает: с первого выходя – импульсы 10 МГц, со второго – тактовые Uт импульсы 140 МГц, с третьего выхода – импульсы 100 кГц дискретизации сигнала звука, с четвертого – импульсы 40 МГц дискретизации кодов, с пятого – синусоидальные колебания несущей частоты, с шестого – импульсы 50 кГц частоты строк, с седьмого – импульсы двойной частоты дискретизации кодов 80 МГц. С формирователя 64 импульсов коды сигналов R и 1-4 разряды кодов В поступают на информационный вход первого приемного регистра 66, с второго формирователя 65 импульсов коды сигнала G и 5-9 разряды кодов сигнала В поступают на информационный вход второго приемного регистра 67. Приемные регистры 66, 67 каждый имеет по 14 разрядов для приема суммарных кодов стереопар. С приемного регистра 66 сигналы Uвыд 10 МГц выдают код сигнала R в регистр 68, и 1-4 разряды сигнала В в 1-4 разряды регистра 73. С приемного регистра 67 выдаются код сигнала G в регистр 78, а 5-9 разряды сигнала В в 5-9 разряды регистра 73. С выходов регистров 68, 73, 78 коды R, В, G с частотой 10 МГц выдаются в свои декодеры соответственно 69, 74, 79.
Работа декодеров, фиг.9
Коды в параллельном виде поступают в первый регистр 98, с которого выдаются в накопитель 99 кодов кадра, который емкостью 200·103 9-разрядных кодов. Из накопителя 99 коды выдаются сигналами 10 МГц с ключа 108. При закрытом ключе 108 накопитель 99 сосредотачивает коды в себе. Исходное состояние ключей в блоке 101 открытое, в блоке 103 – закрытое, ключей 106, 108, 109 – открытое, ключа 107 – закрытое. В 1-8 разряды второго регистра 100 поступают сигналы 1-8 разрядов кодов, а при наличии в 9-м разряде сигнала опознания кода числа равных кодов он поступает в девятый разряд регистра 100, с которого код выдается сигналом с ключа 109 уже с частотой 40 МГц. Пока в регистр 100 поступают коды без сигнала опознания в девятом разряде они поступают через открытые ключи в блоке 101 в третий регистр 102, а с него выдаются сигналом Uвыд1 с ключа 106 на выход декодера с частотой 40 МГц. Сигнал Uвыд1 при выдаче кода обнуляет разряды регистра 102. При поступлении в регистр 100 кода с сигналом опознания в девятом разряде сигнал с девятого разряда закрывает ключи в блоке 101, открывает ключи в блоке 103, закрывает ключи 106, 108, 109, открывает ключ 107. Выдача кодов с регистра 100 прерывается, а накопитель 99 кодов производит накопление кодов кадра, так как в него продолжают поступать коды. Код числа равных кодов через открытые ключи в блоке 103 поступает в вычитающий счетчик 104 импульсов, на счетный вход которого с ключа 107 поступают импульсы 40 МГц. Импульс с ключа 107 поступает и как сигнал Uвыд2 на второй управляющий вход регистра 102 и выдает содержащийся в нем код, но при этом не обнуляет его. Поэтому пока идет работа счетчика 104 на вычитание из регистра 102 выдается один и тот же код, эти коды были изъяты при сжатии потока в кодере на передающей стороне. С выхода регистра 102 идет восстановленный на 100% поток кодов. С регистра 102 идут только 8-разрядные коды с дискретизацией 40 МГц в блок 70 /75, 80/. По окончании вычитания в счетчике 104 в дешифратор 105 поступает код из нулей, с выхода дешифратора 105 сигнал синхронно закрывает ключи в блоке 103, закрывает ключ 107, открывает ключи в блоке 101 /вход 1/ и ключи 106, 108, 109. С накопителя 99 опять выдаются коды в регистр 100, с него через открытые ключи, блока 101 в регистр 102, процессы повторяются. Пропускная способность декодера определяется временем срабатывания 10,5 нс счетчика 104, который из микросхем 100ИЕ137 [7 с.428] плюс время срабатывания дешифратора 105 6 нс /микросхема 100ИД161/ [7 с.433]. Скорость восстановления потока кодов до 50 Мбайт/с. Восстановленный поток с частотой 40 МГц и числом 800 отсчетов в строке /200×4/ поступает на вход блока 70 /75, 80/ обработки кодов для удвоения их /800×2/. Удвоение отсчетов выполняется получением промежуточных /средних/ кодов между каждым прошедшим и следующим за ним кодом. Блоки выполняют сложение кодов и деление кода суммы на два, причем деление выполняется без временных затрат: отбрасыванием младшего разряда в коде суммы, как при делении десятичного числа на десять. Отбрасывание младшего разряда в коде суммы выполняется подключением выходов 0-7 сумматора 117 /фиг.10/ и выходов 1-8 регистров 118, 119:
Разряд 0 означает перенос в старший разряд при сумме кодов в сумматоре. Удвоение отсчетов в строке сокращает следование кодов в два раза, равное 12,5 нс т.е. 80 МГц. Процесс сложения в сумматоре 117 выполняется за 12,5 нс. После включения питания в регистрах 113-116 нули. С приходом первого импульса 40 МГц в триггер 110 /фиг.10/ с его первого выхода сигнал Uвыд1 одновременно: выдает “код 0” с регистра 114 на первые входы сумматора 117, из регистра 115 выдает “код 0” в регистр 119 и через диоды на вторые входы сумматора 117 /сигнал выдачи и обнуляет регистры/, открывает ключи в блоке 111 на время прохода следующего кода через ключи в регистры 113, 114, заполняемые кодом “код 1”. В сумматоре 117 идет сложение “код 0 + код 0”. С окончанием сложения код суммы из сумматора идет на выход блока 70, при этом делится на 2. Код 1 Регистры 118, 119 выполняют хранение кодов /задержку/ 25 нс, причем первая половина задержки 12,5 нс приходится на время сложения в сумматоре 117. С приходом второго импульса в триггер 110 /он же обнуляет сумматор/ сигнал со второго выхода триггера Uвыд2 одновременно: выдает из регистра 118 на выход блока 70 код 2 “код 0” /он идет вслед за кодом 1 через 12,5 нс/, с регистра 113 “код 1” в регистр 118 и через диоды в сумматор 117, с регистра 116 “код 0” в сумматор, открывает ключи в блоке 112, и регистры 115, 116 заполняются кодом “код 2”. В сумматоре идет сложение “код 0 + код 1”, код суммы идет на выход с делением на 2: код 3 С приходом третьего импульса в триггер обнуляется сумматор 117, а сигнал Uвыд3 с первого выхода триггера 110 синхронно выдает: с регистра 118 “код 1”, являющийся кодом 4 и идущий после кода 3 через 12,5 нс, из регистра 114 “код 1” в сумматор 117, из регистра 115 “код 2” в регистр 119 и через диоды в сумматор, открывает ключи в блоке 111, регистры 113, 114 заполняются следующим кодом “код 3”. В сумматоре идет сложение, и код суммы идет на выход сумматора с делением кода суммы на 2: код 5 С приходом четвертого импульса на вход триггера 110 обнуляется сумматор 117, а сигнал Uвыд4 синхронно выдает: с регистра 119 код 6 “код 2” на выход блока 70, из регистра 113 “код 3” в регистр 118 и через диоды в сумматор, из регистра 116 “код 2” в сумматор, открывает ключи в блоке 112, регистры 115, 116 заполняются кодом “код 4”; в сумматоре идет сложение код 2 + код 3, код суммы с делением на 2 идет на выход: код 7 С приходом пятого импульса в триггер обнуляется сумматор, а сигнал Uвыд5 с первого выхода триггера синхронно выдает: код 8 “код 3” из регистра 118 на выход блока 70, из регистра 114 “код 3” в сумматор 117, из регистра 115 “код 4” в регистр 119 и через диоды в сумматор, открывает ключи в блоке 111, регистры 113, 114 заполняются кодом “код 5”. В сумматоре идет сложение “код 3 + код 4”, код суммы идет на выход сумматора и делится на 2: код 9 С приходом шестого и следующих импульсов в триггер 110 процессы повторяются. Выходы 0-7 сумматора 117 и выходы 1-8 регистров 118, 119 поразрядно объединены и являются выходами блока 70, 75, 80, с которых коды с частотой 80 МГц в параллельном виде поступают на информационные входы накопителей соответственно 71, 76, 81 кодов кадра.
Работа накопителей кодов кадра, фиг.11
Сигналы с блока 70 поступают в блок 71 на 1-8 входы всех блоков 1201-1000 регистров. Заполнение кодами строк блоков 120 регистров начинается с открытием сигналом 50 Гц первого ключа 121 в блоке 1201 регистров /фиг.12/. Ключ 121 пропускает импульсы Uд 80 МГц на вход распределителя 123 импульсов, тактовые импульсы которого поступают последовательно на первые /тактовые/ входы разрядов параллельно восьми регистров 124. По заполнению регистров 124 с последнего выхода /1600/ блока 123 сигнал закрывает ключ 121 и выходным управляющим сигналом открывает ключ 121 в следующем блоке 1202 регистров, регистры 124 которого заполняются кодами второй строки. За период 20 мс последовательно заполняются кодами регистры 124 всех блоков 120 регистров. С блока 1201000 /фиг.11/ выходной управляющий сигнал поступает параллельно на четвертые управляющие входы всех блоков 120 и открывает в них вторые ключи 122, которые пропускают по одному сигналу Uвыд, синхронно выдающему из всех блоков 120 регистров коды кадра в формирователь 72 управляющих сигналов /фиг.6/. Каждый накопитель кодов кадра имеет выходов 12.8×106 /1600×8×1000/, которые подключены к стольким же входам в блоках 72, 77, 82, каждый из которых имеет в своем составе 1,6×106 преобразователи “код – число импульсов излучений”. Выходы формирователей управляющих сигналов 72, 77, 82 4,8×106 /3×1,6×106/ подключены к стольким же входам в СД-экране 83. Современные технологии изготовления микросхем позволяют накопители кодов кадра и соответствующие им формирователи управляющих сигналов выполнить попарно в одной микросхеме, и ввиду большого числа соединений между ними и СД-экраном исполнить эти микросхемы на тыльной стороне СД-экрана в единой с ним конструкции.
Работа системы
ФЭП формирует правый и левый кадры стереопар двумя матрицами ПЗИ /фиг.1/, сигналы цветовых сигналов с которых преобразуются АЦП 9-11 с частотой 40 МГц в 8-разрядные коды, поступающие в кодеры 12-14. Кодеры выполняют сжатие потоков кодов цветовых сигналов с коэффициентом сжатия не менее 4. Формирователь 15 кодов из сжатых потоков формирует один поток, в которых единицы кодов сигнала R и 1-4 разрядов сигнала В представляются положительными полусинусоидами, единицы кодов сигнала G и 5-9 разряды сигнала В представляются отрицательными полусинусоидами моночастоты 140 МГц. Информация кодов передается верхней боковой частотой несущей передатчика 28. Приемная сторона /фиг.6/ принимает радиосигналы одним трактом приема и обработки кодов, производит двухполярное детектирование, выделяет строчные ССИ и синхроимпульсы СИС стереопар, представление единиц в кодах возвращает к импульсам. Декодеры восстанавливают потоки кодов, блоки 70, 75, 80 удваивают число отсчетов в строках с 800 в 1600. Накопители 71, 76, 81 кодов кадра сосредотачивают коды кадра последовательно правого и левого. С приходом первого импульса с ключа 94 на первые управляющие входы блоков 71, 76, 81 в них сосредотачиваются коды правого кадра, а в конце периода выдаются в блоки 72, 77, 82, в которых коды преобразуются в число импульсов излучений светодиодов, формирующих правый кадр на СД-экране. С приходом второго импульса с ключа 94 в блоках 71, 76, 81 сосредотачиваются коды левого кадра, поступающие затем в блоки 72, 77, 82, преобразующие их в число излучений светодиодами элементов матрицы СД-экрана 83 в изображение левого кадра стереопары. Воспроизводимый видеорежим 1600×1000×50 Гц. В системе отсутствует строчная и кадровая развертки. Объемное изображение зритель получает с использованием ЗД-очков и ИК-передатчика 84 или подключением включателя 87 ИК-приемника ЗД-очков к выходу триггера 95. Итогом данной системы является сокращение ее энергоемкости в три раза против прототипа и уменьшением числа светодиодов в матрице СД-экрана.
Использованные источники
1. Патент 2316142 С1, кл. H04N 15/00, бюл.3 от 27.01.08, прототип.
2. Мураховский В.И. Устройство компьютера. М., 2003, с.552.
3. Колесников О.В. Шишигин И.В. Аппаратные средства PC. 5-е изд-е, СПб. 2004. с.832, 835, 558, 559, 564.
4. Радиопередающие устройства. М.С.Шумилин и др. 1981, М., с.234-235.
5. “Домашний компьютер” 12, 2006, с.43.
6. “Радио” 9, 2004, с.47.
7. Цифровые интегральные микросхемы. Справочник. Минск, 1991, с.258, 272, 279, 428, 433.
8. Радиосвязь, вещание и телевидение. Под ред. А.Д.Фортушенко, M., 1981, с.146.
9. Баркан В.Ф., Жданов В.К. Усилительная и импульсная техника. М., 1981, с.209.
| Таблица 2 |
| Технические характеристики |
Значения |
| Передающая сторона |
 |
| Несущая частота |
одна 2100 МГц |
| Передача кодов стереопар |
верхней бок. частотой 2240 МГц |
| Занимаемая полоса в эфире при стабильности несущей 10-7 |
± 224 Гц или 448 Гц |
| Тактовая частота |
140 МГц |
| Формирование кодов стереопар |
двумя матрицами ПЗИ |
| Частота дискретизации кодов |
40 МГц |
| Видеорежим на передающей стороне |
800отс×1000cтp×50 Гц |
| Наименьший коэффициент сжатия потоков |
4 |
| Приемная сторона |
 |
| Дискретизация потока кодов |
80 МГц |
| Воспроизводимый видеорежим |
1600×1000×50 Гц |
| Разрешение кадра |
1,6×106 пикселов |
| Воспроизведение изображения |
светодиодный экраном |
| Восприятие объемного изображения |
через ЗД-очки с ИК-приемником |
Формула изобретения
Система стереотелевидения, содержащая передающую сторону, включающую фотоэлектрический преобразователь /ФЭП/, первый-третий аналого-цифровые преобразователи /АЦП/ видеосигналов, первый и второй АЦП сигнала звука, на информационные входы которых поданы звуковые сигналы, последовательно соединенные генератор синусоидальных колебаний и синтезатор частот, формирователь кодов, первый и второй самоходные распределители импульсов /СРИ/, триггер, с первого по пятый ключи и передатчик радиосигналов, содержащий один канал, включающий последовательно соединенные усилитель несущей частоты, вход которого подключен к соответствующему выходу синтезатора частот, амплитудный модулятор, второй вход которого подключен к первому выходу формирователя кодов, и выходной усилитель, первый выход синтезатора частот подключен к управляющим входам первого-третьего АЦП видеосигналов, второй выход подключен к соответствующему входу формирователя кодов и к первым управляющим входам первого и второго АЦП сигнала звука, вторые входы которых объединены и подключены к третьему выходу синтезатора частот, четвертый выход которого подключен к соответствующему входу формирователя кодов, пятый выход синтезатора частот подключен к третьим управляющим входам первого, второго АЦП сигнала звука, вход первого СРИ подключен к второму выходу формирователя кодов, выходы первого СРИ объединены и подключены к соответствующему информационному входу формирователя кодов, выходы второго СРИ объединены и подключены к соответствующему информационному входу формирователя кодов, к соответствующим информационным входам которого подключены выходы первого, второго АЦП сигнала звука, первый выход триггера подключен к управляющим входам первого и третьего ключей, второй выход триггера подключен к управляющим входам второго и четвертого ключей, ФЭП включает первый и второй объективы и с первого по третий предварительные усилители, выходы которых являются выходами ФЭП и подключены к информационным входам соответственно первого-третьего АЦП видеосигналов, формирователь кодов включает три канала, первый и второй каналы идентичны, выходы их объединены, первый канал включает последовательно соединенные первый блок элементов И, первый и второй элементы ИЛИ, первый выходной ключ и первый СРИ, второй канал включает последовательно соединенные второй блок элементов И, третий и четвертый элементы ИЛИ, второй выходной ключ и второй СРИ, вторые входы блоков элементов И подключены к выходам СРИ своего канала, выходы выходных ключей объединены и являются первым выходом формирователя кодов, третий канал включает третий и четвертый блоки элементов И, пятый и шестой элементы ИЛИ, выход пятого элемента ИЛИ подключен к второму входу второго элемента ИЛИ, выход шестого элемента ИЛИ подключен к второму входу четвертого элемента ИЛИ, и третий и четвертый СРИ, выходы которых подключены к вторым входам соответственно третьего и четвертого блоков элементов И, формирователь кодов включает первый и второй ключи и последовательно соединенные счетчик импульсов и дешифратор, первый выход которого подключен к первому управляющему входу первого ключа, второй выход подключен к второму управляющему входу первого ключа и к первому управляющему входу второго ключа, третий выход является вторым выходом формирователя кодов и подключен к входу первого СРИ передающей стороны, выход первого ключа подключен к входам первого и второго СРИ, выход второго ключа подключен к входам третьего и четвертого СРИ, третий вход четвертого элемента ИЛИ является соответствующим информационным входом формирователя кодов, управляющими входами которого являются: одним объединенные сигнальные входы первого и второго ключей и счетный вход счетчика импульсов, другим – объединенные сигнальные входы выходных ключей, следующим управляющий вход счетчика импульсов, содержащая приемную сторону, включающую антенну, блок управления, тракт приема и обработки кодов видеосигналов, вход которого подключен к антенне, светодиодный плоскопанельный экран /СД-экран/ на верхней части корпуса которого расположен ИК-передатчик, включающая ЗД-очки с ИК-приемником на их оправе, два канала воспроизведения звука и канал формирования управляющих сигналов, тракт приема и обработки кодов видеосигналов содержит последовательно соединенные блок приема радиосигналов, первый вход которого подключен к антенне, вторая группа входов подключена к первой группе выходов блока управления, усилитель радиочастоты и двухполярный амплитудный детектор, первый и второй формирователи импульсов, подключенные соответственно к первому и второму выходам двухполярного амплитудного детектора, и три канала: канал сигнала R, включающий регистр сигнала R, блок обработки кодов и накопитель кодов кадра, информационные входы которого подключены к выходам блока обработки кодов, канал сигнала В, включающий регистр сигнала В, блок обработки кодов и накопитель кодов кадра, информационные входы которого подключены к выходам блока обработки кодов, канал сигнала G, включающий регистр сигнала G, блок обработки кодов и накопитель кодов кадра, информационные входы которого подключены к выходам блока обработки кодов, канал формирования управляющих сигналов включает последовательно соединенные блок выделения строчных синхроимпульсов /ССИ/, синтезатор частот, первый ключ, счетчик импульсов и дешифратор и блок выделения синхроимпульсов стереопар /СИС/, первый вход блока выделения ССИ подключен к выходу первого формирователя импульсов, первый вход блока выделения СИС подключен к выходу второго формирователя импульсов, выход блока выделения ССИ подключен к первому входу синтезатора частот и к первому управляющему входу первого ключа, вторая группа входов синтезатора частот подключена к второй группе выходов блока управления, первый выход синтезатора частот подключен к сигнальному входу первого ключа и к управляющим входам регистров сигнала R, В, G, второй выход подключен к управляющим /тактовым/ входам в первом и втором каналах воспроизведения звука, к соответствующим управляющим входам которых подключен и третий выход синтезатора частот, четвертый выход которого подключен к управляющим входам блоков обработки кодов, пятый выход синтезатора частот подключен к третьему входу блока приема радиосигналов, седьмой выход подключен параллельно к третьим управляющим входам накопителей кодов кадра в каналах R, В, G, первый выход дешифратора подключен к соответствующим управляющим входам в первом и втором каналах воспроизведения звука, второй выход дешифратора подключен к управляющему входу счетчика импульсов, к второму управляющему входу первого ключа и к соответствующим управляющим входам в первом и втором каналах воспроизведения звука, информационные входы которых подключены к выходам соответствующих формирователей импульсов тракта приема и обработки кодов видеосигналов, блоки обработки кодов идентичны, каждый включает триггер, вход которого является управляющим входом блока, с первого по шестой регистры, сумматор и 16 диодов, управляющий вход сумматора подключен к входу триггера, информационные входы первого и второго регистров поразрядно объединены, информационные входы третьего и четвертого регистров поразрядно объединены, первый выход триггера подключен к управляющим входам второго, третьего и пятого регистров, второй выход триггера подключен к управляющим входам первого, четвертого и шестого регистров, выходы первого регистра подключены к входам пятого регистра и через диоды – к первым входам сумматора, к которым подключены выходы второго регистра, выходы третьего регистра подключены к входам шестого регистра и через диоды – к вторым входам сумматора, к которым подключены и выходы четвертого регистра, выходы пятого и шестого регистров поразрядно объединены, накопители кодов кадра идентичны, каждый включает соответствующее число блоков регистров, информационным входом накопителя кодов кадра являются поразрядно объединенные 1-8 входы блоков регистров, первым управляющим входом является первый управляющий вход первого блока регистров, вторым управляющим входом являются объединенные вторые управляющие входы всех блоков регистров, третьим – объединенные третьи управляющие входы всех блоков регистров, одноименные первые, вторые и третьи управляющие входы накопителей кодов кадра каналов сигнала R, В, G объединены, каждый управляющий выход предыдущего блока регистров является первым управляющим входом последующего блока регистров, управляющий выход последнего блока регистров подключен параллельно к четвертым управляющим входам всех блоков регистров, выходом накопителя кодов кадра являются выходы всех блоков регистров, блоки регистров идентичны, каждый включает первый и второй ключи, распределитель импульсов и восемь регистров, информационными входами блока регистров являются 1-8 поразрядно объединенные третьи входы разрядов восьми регистров, выходы всех разрядов восьми регистров являются выходами блока регистров, управляющими входами являются: первым – первый управляющий вход первого ключа, вторым – сигнальный вход второго ключа, третьим – сигнальный вход первого ключа, четвертым – первый управляющий вход второго ключа, подключенный к управляющему выходу последнего блока регистров, выход первого ключа подключен к входу распределителя импульсов, выходы которого последовательно, начиная с первого, подключены к первым управляющим /тактовым/ входам разрядов параллельно восьми регистров, последний выход подключен к второму управляющему входу первого ключа и является управляющим выходом блока регистров, выход второго ключа подключен параллельно к вторым управляющим входам всех разрядов восьми регистров и к второму управляющему входу второго ключа, отличающаяся тем, что на передающей стороне введены в ФЭП первая матрица ПЗИ /прибор с зарядовой инжекцией/, фоточувствительная сторона которой расположена в фокальной плоскости первого объектива, и вторая матрица ПЗИ, фоточувствительная сторона которой расположена в фокальной плоскости второго объектива, первые входы первой и второй матриц ПЗИ подключены к выходам соответственно первого и второго ключей, сигнальные входы которых объединены и подключены к пятому выходу синтезатора частот, вторые входы обеих матриц ПЗИ подключены к выходам соответственно третьего и четвертого ключей, сигнальные входы которых объединены и подключены к первому выходу /40 МГц/ синтезатора частот, одноименные первые, вторые и третьи выходы обеих матриц ПЗИ объединены и подключены к входам соответственно первого, второго, третьего предварительных усилителей, сигнальный вход пятого ключа подключен к шестому выходу /50 Гц/ синтезатора частот, седьмой выход /25 Гц/ которого подключен к управляющему входу пятого ключа, выход которого подключен к входу триггера, первый выход которого подключен параллельно к управляющим входам первого и третьего ключей, второй выход триггера подключен к управляющим входам второго и четвертого ключей, введены первый, второй, третий кодеры, информационные 1-8 входы которых подключены к 1-8 выходам соответственно первого, второго, третьего АЦП видеосигналов, управляющие входы кодеров объединены и подключены к второму выходу /10 МГц/ синтезатора частот, в формирователь кодов введен третий ключ, выход которого подключен к третьему входу второго элемента ИЛИ, третий выход дешифратора подключен к второму управляющему входу второго ключа, информационными входами формирователя кодов являются: первым – первые входы первого блока элементов И, подключенные к выходам первого-девятого разрядов первого кодера и к выходам первого-четвертого разрядов второго кодера, вторым информационным входом являются первые входы второго блока элементов И, подключенные к выходам пятого-девятого разрядов второго кодера и к выходам первого-девятого разрядов третьего кодера, третьим – входы третьего блока элементов И, подключенные к выходу первого АЦП сигнала звука, четвертым – входы четвертого блока элементов И, подключенные к выходу второго АЦП сигнала звука, пятым – сигнальный вход третьего ключа, подключенный к выходу первого СРИ передающей стороны, шестым является третий вход четвертого элемента ИЛИ, подключенный к выходу второго СРИ передающей стороны, объединенные сигнальные входы /10 МГц/ первого и второго ключей и счетный вход счетчика импульсов являются первым управляющим входом формирователя кодов, вторым управляющим входом /140 МГц/ которого являются объединенные сигнальные входы первого и второго выходных ключей, управляющий вход /50 кГц/ счетчика импульсов является третьим управляющим входом формирователя кодов, четвертым управляющим входом которого является управляющий вход /25 Гц/ третьего ключа, первый – третий кодеры идентичны, каждый включает последовательно соединенные регистр, схему сравнения, счетчик импульсов и дешифратор, последовательно соединенные блок элементов задержек, блок ключей и буферный накопитель кодов кадра, информационными входами кодера являются поразрядно объединенные 1-8 входы регистра, первые входы схемы сравнения и 1-8 входы блока элементов задержек, выходами являются 1-9 выходы буферного накопителя кодов кадра, управляющий вход которого является управляющим входом кодера, первый выход схемы сравнения подключен к первому управляющему входу регистра, к счетному входу счетчика импульсов и к второму управляющему входу блока ключей, второй и третий выходы схемы сравнения объединены, объединенный выход подключен к второму управляющему входу регистра, к первому управляющему входу блока ключей, к первому управляющему входу счетчика импульсов и к девятому входу буферного накопителя кодов кадра, первый – восьмой выходы счетчика импульсов подключены к входам дешифратора и через диоды к 1-8 входам буферного накопителя кодов кадра, выход дешифратора подключен к второму управляющему входу счетчика импульсов, а через диод – к первому управляющему входу блока ключей, на приемной стороне введены первый и второй приемные регистры, каждый из которых содержит по четырнадцать разрядов, в каждый канал сигнала R, В, G введены декодер и формирователь управляющих сигналов, в канал формирования управляющих сигналов введены второй ключ и триггер, сигнальный вход /50 Гц/ второго ключа подключен к шестому выходу синтезатора частот, управляющий вход /25 Гц/ второго ключа подключен к выходу блока выделения СИС, выход второго ключа подключен параллельно к первым управляющим входам накопителей кодов кадра, ко входу триггера и к управляющим входам формирователей управляющих сигналов, второй выход триггера подключен к входу ИК-передатчика и через включатель – к входу ИК-приемника, информационный вход первого приемного регистра подключен к выходу первого формирователя импульсов, информационный вход второго приемного регистра подключен к выходу второго формирователя импульсов, первые управляющие входы приемных регистров объединены и подключены к первому выходу синтезатора частот, вторые управляющие входы /Uт/ обоих приемных регистров объединены и подключены к второму выходу /140 МГц/ синтезатора частот, входы 1-9 разрядов регистра сигнала R подключены к выходам 1-9 разрядов первого приемного регистра, входы 1-4 разрядов регистра сигнала В подключены к выходам 10-13 разрядов первого приемного регистра, входы 5-9 разрядов регистра сигнала В подключены к выходам 10-14 разрядов второго приемного регистра, входы 1-9 разрядов регистра сигнала G подключены к выходам 1-9 разрядов второго приемного регистра, информационные 1-9 входы декодеров каналов сигнала R, В, G подключены к 1-9 выходам соответственно регистров сигнала R, В, G, первые управляющие входы первого – третьего декодеров объединены и подключены к первому выходу /10 МГц/ синтезатора частот, вторые управляющие входы декодеров объединены и подключены к четвертому выходу /40 МГц/ синтезатора частот, первый – восьмой выходы декодеров подключены к первому – восьмому входам блока обработки кодов своего канала, накопители кодов кадра каналов R, В, G каждый содержит блок регистров по числу строк в кадре /1000/, вторые управляющие входы накопителей кодов кадра объединены и подключены к выходу блока выделения ССИ /50 кГц/, второй вход которого подключен к выходу второго формирователя импульсов, второй вход блока выделения СИС подключен к выходу первого формирователя импульсов, информационные входы формирователей управляющих сигналов подключены к выходам накопителей кодов кадра своего канала, управляющие входы формирователей управляющих сигналов объединены и подключены к выходу второго ключа, формирователи управляющих сигналов идентичны, каждый включает блок формирователей импульсов, вход которого является управляющим входом формирователя управляющих сигналов, и преобразователи “код – число импульсов излучений”, которых по числу разрешения кадра /1600×1000/, каждый из преобразователей “код – число импульсов излучений” включает последовательно соединенные дешифратор, первый – восьмой входы которого являются входами преобразователя, блок ключей из 255 ключей и выходной ключ, СРИ со 255 разрядами, выходы которых подключены к сигнальным входам соответствующих ключей в блоке ключей, и источник питания, выход которого подключен к сигнальному входу выходного ключа, выходы дешифратора подключены к первым управляющим входам соответствующих ключей в блоке ключей, выходы которых объединены и подключены к управляющему входу выходного ключа, выход которого является выходом преобразователя, блок формирования импульсов включает схемы формирования импульсов по числу преобразователей “код – число импульсов излучений”, выход каждой схемы формирования импульсов подключен к входу СРИ своего преобразователя, информационными входами формирователя управляющих сигналов являются входы дешифраторов всех преобразователей, выходами являются выходы выходных ключей всех преобразователей, выходы всех формирователей управляющих сигналов подключены к соответствующим входам светодиодного плоскопанельного экрана, который включает соответствующий экранный материал и изготовленную в нем матрицу излучающих элементов по числу разрешения кадра, каждый излучающий элемент включает три светодиодных ячейки, каждая из которых содержит светодиод белого свечения и соответствующий цветной светофильтр на излучающей стороне, управляющий вход каждого светодиода подключен к соответствующему выходу соответствующего формирователя управляющих сигналов, декодеры идентичны, каждый включает последовательно соединенные первый регистр, накопитель кодов кадра, второй регистр, первый блок ключей и третий регистр, последовательно соединенные второй блок ключей, вычитающий счетчик импульсов и дешифратор, и с первого по четвертый ключи, информационным входом декодера является входы 1-9 разрядов первого регистра, выходом являются 1-8 выходы третьего регистра, первым управляющим входом являются объединенные первый управляющий вход первого регистра и сигнальный вход третьего ключа, вторым управляющим входом являются объединенные сигнальные входы первого, второго и четвертого ключей, выход первого ключа подключен к управляющему входу третьего регистра, второй управляющий вход которого и счетный вход вычитающего счетчика импульсов подключены к выходу второго ключа, выход третьего ключа подключен к управляющему входу накопителя кодов кадра, выход четвертого ключа подключен к управляющему входу второго регистра, выход девятого разряда которого подключен параллельно к вторым управляющим входам первого, третьего и четвертого ключей, к первому управляющему входу второго ключа, к второму управляющему входу первого блока ключей и к первому управляющему входу второго блока ключей, выход дешифратора подключен параллельно к первому управляющему входу первого блока ключей, к второму управляющему входу второго блока ключей, к первым управляющим входам первого, третьего, четвертого ключей и к второму управляющему входу второго ключа, в каждый блок обработки кодов введены первый и второй блоки ключей, первый – восьмой входы которых поразрядно объединены и являются информационными входами блока, объединенные поразрядно входы первого и второго регистров подключены к выходам первого блока ключей, объединенные поразрядно входы третьего и четвертого регистров подключены к выходам второго блока ключей, управляющий вход первого блока ключей подключен к первому выходу триггера, управляющий вход второго блока ключей подключен к второму выходу триггера, первые – восьмые выходы пятого, шестого регистров и 0-7 выходы сумматора поразрядно объединены и являются первым – восьмым выходами блока обработки кодов, блок выделения ССИ и блок выделения СИС идентичны, каждый включает счетчик импульсов, дешифратор, элемент НЕ и два диода, информационным входом является счетный вход счетчика импульсов, к которому подключен и вход элемента НЕ, управляющим входом являются объединенные управляющий вход счетчика импульсов и выход элемента НЕ, управляющий вход через первый диод подключен к выходу соответствующего формирователя импульсов приемной стороны, выходы соответствующих разрядов счетчика импульсов подключены к соответствующим входам дешифратора, выход которого является выходом блока и через второй диод подключен к управляющему входу счетчика импульсов и к выходу элемента НЕ, информационный вход блока подключен к выходу соответствующего формирователя импульсов приемной стороны, информационный вход первого канала воспроизведения звука подключен к выходу первого формирователя импульсов, информационный вход второго канала воспроизведения звука подключен к выходу второго формирователя импульсов приемной стороны.
РИСУНКИ
|
|