|
|
(21), (22) Заявка: 2008146097/09, 24.11.2008
(24) Дата начала отсчета срока действия патента:
24.11.2008
(46) Опубликовано: 10.12.2009
(56) Список документов, цитированных в отчете о поиске:
RU 2207704 С2, 27.06.2003. RU 2323517 С1, 27.04.2008. RU 2277292 С1, 27.05.2006. RU 2122278 С1, 20.11.1998. US 2008055011 А1, 06.03.2008. US 6603364 A1, 31.10.2002. US 4985687 А, 15.01.1991. FR 2660499 A1, 04.10.1991.
Адрес для переписки:
191186, Санкт-Петербург, а/я 230, “АРС-ПАТЕНТ”, В.М. Рыбакову
|
(72) Автор(ы):
Вощенко Валерий Святославович (RU), Яковлев Сергей Федорович (RU), Шабаев Владимир Прокопьевич (RU)
(73) Патентообладатель(и):
ОАО “Морион” (RU)
|
(54) ТЕРМОКОМПЕНСИРОВАННЫЙ КВАРЦЕВЫЙ ГЕНЕРАТОР
(57) Реферат:
Изобретение относится к радиотехнике, преимущественно к области использования пьезоэлектрических устройств стабилизации и селекции частоты, и направлено на повышение динамической стабильности частоты. Указанная задача решена в кварцевом генераторе, содержащем, по меньшей мере, один кварцевый резонатор, имеющий корпус, кварцевый пьезоэлемент, расположенный в корпусе, и электрические выводы, соединенные с кварцевым пьезоэлементом, а также, по меньшей мере, один датчик температуры и, по меньшей мере, одну цепь термокомпенсации, выполненную с возможностью управления частотой кварцевого генератора в зависимости от показаний датчика температуры. Согласно изобретению, по меньшей мере, один датчик температуры и, по меньшей мере, один электрический вывод кварцевого резонатора, соединенный с кварцевым пьезоэлементом, имеет тепловой контакт. Повышение эффективности термокомпенсации в кварцевом генераторе является техническим результатом изобретения. 9 з.п. ф-лы, 2 ил.
Изобретение относится к радиотехнике, преимущественно к области пьезоэлектрических устройств стабилизации и селекции частоты.
Уровень техники
Известны термокомпенсированные кварцевые генераторы. В них изменения частоты, вызываемые изменениями температуры кварцевого резонатора, компенсируются цепью, содержащей один или несколько датчиков температуры, исполнительный элемент, непосредственно управляющий частотой генератора, и преобразующее устройство, связывающее датчик (датчики) температуры с исполнительным элементом. Преобразующее устройство обрабатывает выходной сигнал (выходные сигналы) датчика (датчиков) температуры таким образом, чтобы изменения частоты генератора в результате управления были противоположны по знаку и близки по величине изменениям частоты под влиянием изменения температуры резонатора (см., например, Г.Б.Альтшуллер. Управление частотой кварцевых генераторов, 1969, изд-во «Связь», с.222-228, а также М.Е.Frerking. Crystal oscillator design and temperature compensation, 1978, edited by Litton Educational Publishing Inc.)
Также известны термокомпенсированные кварцевые генераторы с преобразующими устройствами, выполненные на основе аналоговой и цифровой схемотехники, называемые соответственно генераторами с аналоговой или с цифровой компенсацией. Если преобразующее устройство сочетает аналоговую и цифровую обработку сигналов датчиков температуры, имеет место генератор с комбинированной термокомпенсацией.
Наиболее близок к изобретению раскрытый в патентном документе US 6603364 кварцевый генератор, содержащий кварцевый резонатор, пьезоэлемент которого, расположенный внутри корпуса резонатора, соединен с электрическими выводами, выходящими из корпуса резонатора наружу, датчик температуры, аналоговую и цифровую цепи термокомпенсации. Цифровая компенсация используется для «докомпенсирования» температурной нестабильности частоты после аналоговой компенсации.
Недостатком известных термокомпенсированных кварцевых генераторов является недостаточная стабильность частоты в условиях изменения температуры окружающей среды, называемая динамической нестабильностью частоты. Ее причиной является неидентичность температур пьезоэлемента кварцевого резонатора и датчиков температуры при температурной динамике. Чем выше требования к стабильности частоты генератора, тем существеннее влияние динамической нестабильности. Например, на основе цифровой или комбинированной термокомпенсации в условиях температурной квазистатики достижима нестабильность частоты ±10-8 для интервала температур от минус 40°С до +70°С. Однако уже при скорости изменения температуры 1°С в минуту типичная величина динамической нестабильности достигает нескольких 10-7.
Раскрытие изобретения
Задачей настоящего изобретения является создание кварцевого генератора с термокомпенсацией с высокой динамической стабильностью частоты, лишенного указанного недостатка. Техническим результатом, достигаемым в изобретении, является повышение эффективности термокомпенсации.
Указанная задача изобретения решена в кварцевом генераторе, содержащем, по меньшей мере, один кварцевый резонатор, имеющий корпус, кварцевый пьезоэлемент, расположенный в корпусе, и электрические выводы, соединенные с кварцевым пьезоэлементом, а также, по меньшей мере, один датчик температуры и, по меньшей мере, одну цепь термокомпенсации, выполненную с возможностью управления частотой кварцевого генератора в зависимости от показаний датчика температуры. Согласно изобретению, по меньшей мере один датчик температуры и, по меньшей мере, один электрический вывод кварцевого резонатора, соединенный с кварцевым пьезоэлементом, имеют тепловой контакт.
Как выяснили авторы настоящего изобретения, основной причиной недостаточно эффективной термокомпенсации известных кварцевых генераторов является то, что датчики температуры, размещенные вблизи цепей термокомпенсации, дают сигнал температуры, которая при изменении температурных условий окружающей среды заметно отличается от температуры кварцевого пьезоэлемента. Следовательно, уменьшение или устранение этой разности температур, достигаемое благодаря тепловому контакту датчика температуры и электрического вывода кварцевого резонатора, позволит повысить эффективность термокомпенсации.
Тепловой контакт датчика температуры и электрического вывода кварцевого резонатора может быть осуществлен с помощью их непосредственного соединения. Такой непосредственный контакт в одном из вариантов осуществляется размещением датчика температуры прямо на указанном электрическом выводе. Закрепление датчика температуры на электрическом выводе может осуществляться с помощью теплопроводного клея, припаивания в том случае, если датчик имеет металлизированную поверхность, путем посадки датчика на вывод с натягом, если датчик выполнен в тороидальном или цилиндрическом виде, или любым другим подходящим способом.
В другом варианте исполнения, тепловой контакт датчика температуры и электрического вывода кварцевого резонатора может быть осуществлен с помощью теплопроводного соединительного элемента. Теплопроводным соединительным элементом может быть металлическая пластина, которая закреплена с одного конца на электрическом выводе, а на другом конце которой может быть прикреплен датчик температуры. При этом крепление металлической пластины к электрическому выводу и датчика температуры к металлической пластине должно быть выполнено теплопроводным, например, путем применения пайки или теплопроводного клея. Преимуществом такого варианта осуществления теплового контакта датчика температуры и электрического вывода кварцевого резонатора является большее удобство и технологичность монтажа.
Кварцевый генератор в одном из вариантов исполнения монтируется на монтажной плате, выполненной из диэлектрического материала и имеющей на поверхности контактные площадки и токопроводящие дорожки. Кварцевый резонатор также монтируется на монтажной плате путем припаивания его электрических выводов к соответствующим контактным площадкам, чем обеспечивается электрический и тепловой контакт, а также механическое закрепление. При этом тепловой контакт, по меньшей мере, одного датчика температуры и, по меньшей мере, одного электрического вывода кварцевого резонатора может быть осуществлен путем размещения, по меньшей мере, на одной контактной площадке, к которой припаян электрический вывод кварцевого резонатора, по меньшей мере, одного датчика температуры, имеющего тепловой контакт с указанной контактной площадкой.
Для снижения влияния всей монтажной платы на температуру контактных площадок с размещенными на них датчиками температуры, часть монтажной платы, содержащая, по меньшей мере, одну контактную площадку с припаянным электрическим выводом кварцевого резонатора и размещенным на ней, по меньшей мере, одним датчиком температуры, имеющим тепловой контакт с указанной контактной площадкой, отделяется от остальной части платы, по меньшей мере, одной прорезью. Для механического удержания отделяемой прорезью части монтажной платы должны быть предусмотрены соединительные перемычки.
В предпочтительном варианте осуществления кварцевый генератор содержит два датчика температуры, соединенные по мостовой схеме, что позволяет улучшить чувствительность измерения температуры электрического вывода кварцевого резонатора. При этом в одном из вариантов указанные датчики температуры имеют тепловой контакт с одним электрическим выводом кварцевого резонатора. Датчик температуры может быть выполнен в виде терморезистора.
Для управления частотой кварцевого генератора обычно используется элемент в виде варикапа. Кроме того, в предпочтительном варианте осуществления кварцевого генератора согласно настоящему изобретению, по меньшей мере, одна цепь термокомпенсации содержит аналого-цифровой преобразователь, микроконтроллер и цифроаналоговый преобразователь.
Краткий перечень чертежей
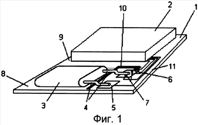
На фиг.1 изображена монтажная плата с установленным на ней кварцевым генератором.
На фиг.2 изображена блок-схема кварцевого генератора.
Осуществление изобретения
Далее будет описан один из возможных примеров осуществления изобретения со ссылкой на прилагаемые чертежи. На фиг.1 изображена монтажная плата 1 с установленным на ней кварцевым генератором 2. Кварцевый резонатор 3 припаян своими электрическими выводами 4 к контактным площадкам 5 и 6. На одной из контактных площадок 6 установлены с обеспечением теплового контакта два терморезистора 7, выполняющие роль датчиков температуры. При этом часть 8 монтажной платы 1 с контактными площадками 5 и 6, к которым припаяны электрические выводы 4 кварцевого резонатора 3 и на одной из которых закреплены терморезисторы 7, отделена от остальной части 9 монтажной платы 1 прорезью 10, причем механическое соединение частей 8 и 9 монтажной платы 1 осуществляется с помощью перемычек 11, по которым также проходят токопроводящие дорожки, электрически соединяющие выводы кварцевого резонатора и терморезисторы с той частью кварцевого генератора 2, которая смонтирована на части 9 монтажной платы 1.
На фиг.2 изображена блок-схема кварцевого генератора 2. Терморезисторы 7 соединены по мостовой схеме с использованием опорных резисторов 12, причем терморезисторы 7 включены в противоположные диагонали мостовой схемы. Диагонали мостовой схемы соединены со входами аналого-цифрового преобразователя 13, который, в свою очередь, соединен со входными выводами микроконтроллера 14. Выходные выводы микроконтроллера 14 соединены с цифроаналоговым преобразователем 15, который далее соединен с варикапом 16, с помощью которого происходит управление частотой кварцевого генератора 2.
Термокомпенсация в установившемся режиме работы кварцевого генератора 2 происходит следующим образом. В результате изменения температурных условий окружающей среды происходит изменение температуры кварцевого пьезоэлемента кварцевого резонатора 3, в результате чего изменяются частотозадающие свойства кварцевого резонатора 3 и, следовательно, изменяется частота кварцевого генератора 2. В то же время температура электрических выводов 4 кварцевого резонатора 3, имеющих, кроме электрического контакта, также и тепловой контакт с электродами кварцевого пьезоэлемента, наиболее близка к температуре кварцевого пьезоэлемента кварцевого резонатора 3. Вследствие того, что электрические выводы 4 кварцевого резонатора 3 припаяны к контактным площадкам 5 и 6 монтажной платы 1, а на контактной площадке 6 установлены с обеспечением теплового контакта два терморезистора 7, включенные при этом в мостовую схему, при изменении температуры кварцевого пьезоэлемента и электрических выводов 4 кварцевого резонатора 3 разностное напряжение между диагоналями мостовой схемы, поступающее на аналого-цифровой преобразователь 13, изменяется.
Аналого-цифровой преобразователь 13 преобразует разностное напряжение в цифровой код, который поступает в микроконтроллер 14. В микроконтроллере 14 цифровой код, соответствующий разностному напряжению, сравнивается с данными напряжений, записанными в таблице управляющих напряжений. Выходной код таблицы посылается микроконтроллером 14 в цифро-аналоговый преобразователь 15, где преобразуется в управляющее напряжение. При изменении цифрового кода, соответствующего изменившемуся разностному напряжению между диагоналями мостовой схемы в результате изменения температуры кварцевого пьезоэлемента кварцевого резонатора 3, изменяется выходной код таблицы и, соответственно, управляющее напряжение на выходе цифроаналогового преобразователя 15. Это напряжение поступает на варикап 16 и изменяет его емкость, в результате чего частота кварцевого генератора 2 изменяется. При соответствующем подборе кодов в таблице управляющих напряжений в микроконтроллере 14 будет происходить полная компенсация по частоте изменения температуры кварцевого пьезоэлемента кварцевого резонатора 3.
Наилучшая динамическая стабильность частоты при тепловом контакте датчика температуры и электрического вывода кварцевого резонатора, соединенного с кварцевым пьезоэлементом, объясняется следующим образом.
При изменении температуры окружающей среды температура во всех точках внутри кварцевого генератора не будет одинаковой из-за конечной величины теплопроводности материалов, из которых изготовлены составные части кварцевого генератора. Таким образом, при размещении датчика температуры на некотором расстоянии от кварцевого резонатора его температура будет отличаться от температуры кварцевого пьезоэлемента, что приведет к отклонению частоты от заданной. После окончания изменения температуры внешней среды через некоторое время температуры во всех точках внутри кварцевого генератора выровняются, и изменившаяся частота будет откомпенсирована до заданного значения, однако это займет некоторое время, что снижает динамическую стабильность частоты. При наличии же теплового контакта датчика температуры с электрическим выводом кварцевого резонатора, соединенного с кварцевым пьезоэлементом, изменение частоты в результате изменения температуры кварцевого пьезоэлемента будет откомпенсировано без временных задержек.
Таким образом, для получения наилучшей динамической стабильности частоты необходимо измерять температуру кварцевого пьезоэлемента, так как именно он и является частотозадающим элементом. Размещение датчика температуры на самом кварцевом пьезоэлементе значительно ухудшит его частотные характеристики, что является неприемлемым. С другой стороны, кварцевый пьезоэлемент располагается в корпусе кварцевого резонатора таким образом, что не имеет контакта с корпусом, причем в корпусе обеспечивается вакуум, в связи с чем температура корпуса может достаточно сильно отличаться от температуры пьезоэлемента. Следовательно, установка датчика температуры на корпусе также не даст желаемого результата.
Кварцевый пьезоэлемент может удерживаться в корпусе кварцевого резонатора с помощью электрических выводов резонатора, которые имеют электрическую и тепловую развязку с корпусом. Так как электрические выводы кварцевого резонатора изготовлены из металла, то помимо электропроводности они обладают также и теплопроводностью. Учитывая, что электрические выводы используются для подвода напряжения к кварцевому пьезоэлементу и имеют в связи с этим соединение с ним, то тепловой контакт датчика температуры с электрическим выводом обеспечивает измерение температуры, наиболее близкой к температуре кварцевого пьезоэлемента.
Кварцевый пьезоэлемент также может удерживаться в корпусе кварцевого резонатора совместно с помощью электрических выводов и предусмотренных держателей, обычно представляющих собой тонкие металлические полоски и закрепленных с одной стороны на корпусе, а с другой стороны удерживающих пьезоэлемент за его края. Следует учитывать, что электрические выводы соединяются с электродами кварцевого пьезоэлемента, расположенными на поверхности пьезоэлемента и имеющими значительную относительно размера пьезоэлемента площадь, и, следовательно, более хороший тепловой контакт с пьезоэлементом по сравнению с держателями, которые соединяются с пьезоэлементом только на краях кварцевой пластины и имеют относительно малую площадь контакта. В результате температура электрических выводов, соединенных с кварцевым пьезоэлементом, будет более близка к температуре пьезоэлемента, чем температура держателей и корпуса.
В свете вышеуказанного, электрические выводы кварцевого резонатора будут иметь температуру, которая является наиболее близкой к температуре кварцевого пьезоэлемента, который, как уже указывалось, представляет собой частотозадающий элемент кварцевого генератора.
Контактные площадки, к которым припаяны электрические выводы кварцевого резонатора, имеют тепловую развязку с остальными элементами кварцевого генератора, поскольку монтажная плата изготавливается из диэлектрика, который обладает малой теплопроводностью. Токопроводящие же дорожки, изготовленные из металла, имеют малое поперечное сечение, в связи с чем их теплопередачей можно пренебречь. Поэтому размещение датчиков температуры на контактных площадках незначительно снижает динамическую стабильность частоты, однако это обеспечивает технологическое удобство изготовления кварцевых генераторов.
Таким образом, измерение температуры электрических выводов кварцевого резонатора, соединенных с кварцевым пьезоэлементом (или контактных площадок, к которым они припаяны) позволяет производить наиболее быструю компенсацию изменения частоты, то есть предоставляет наиболее высокую динамическую стабильность частоты, по сравнению с устройствами, известными из уровня техники, когда компенсация изменения частоты производится по показаниям датчика температуры, расположенного на некотором расстоянии от кварцевого резонатора.
Измерения, выполненные на генераторах с частотой 10 МГц, показали, что при скорости изменения температуры 3°С/мин отклонение частоты от номинальной не превысило 0.15 ppm (1.5*10-7), что в четыре раза лучше по сравнению с генераторами, у которых датчик температуры не имеет теплового контакта с электрическим выводом кварцевого резонатора, соединенным с кварцевым пьезоэлементом.
Формула изобретения
1. Кварцевый генератор, содержащий, по меньшей мере, один кварцевый резонатор с корпусом, кварцевым пьезоэлементом, расположенным в корпусе, и электрическими выводами, соединенными с кварцевым пьезоэлементом, по меньшей мере, один датчик температуры, по меньшей мере, одну цепь термокомпенсации, выполненную с возможностью управления частотой кварцевого генератора в зависимости от показаний датчика температуры, отличающийся тем, что, по меньшей мере, один датчик температуры и, по меньшей мере, один электрический вывод кварцевого резонатора, соединенный с кварцевым пьезоэлементом, имеют тепловой контакт.
2. Кварцевый генератор по п.1, отличающийся тем, что тепловой контакт датчика температуры и электрического вывода кварцевого резонатора выполнен путем их непосредственного соединения.
3. Кварцевый генератор по п.1, отличающийся тем, что тепловой контакт датчика температуры и электрического вывода кварцевого резонатора осуществлен с помощью теплопроводного соединительного элемента.
4. Кварцевый генератор по п.1, отличающийся тем, что содержит монтажную плату, имеющую на одной из поверхностей контактные площадки, выполненные из металла, причем, по меньшей мере, к одной контактной площадке припаян электрический вывод кварцевого резонатора и на этой площадке размещен, по меньшей мере, один датчик температуры, имеющий тепловой контакт с указанной контактной площадкой.
5. Кварцевый генератор по п.4, отличающийся тем, что часть монтажной платы, содержащая, по меньшей мере, одну контактную площадку с припаянным электрическим выводом кварцевого резонатора и размещенным на ней, по меньшей мере, одним датчиком температуры, имеющим тепловой контакт с указанной контактной площадкой, отделена от остальной части платы, по меньшей мере, одной прорезью.
6. Кварцевый генератор по одному из пп.1-5, отличающийся тем, что содержит два датчика температуры, соединенные по мостовой схеме.
7. Кварцевый генератор по п.6, отличающийся тем, что два датчика температуры и один электрический вывод кварцевого резонатора имеют тепловой контакт.
8. Кварцевый генератор по одному из пп.1-5, 7, отличающийся тем, что датчик температуры выполнен в виде терморезистора.
9. Кварцевый генератор по одному из пп.1-5, 7, отличающийся тем, что элемент для управления частотой выполнен в виде варикапа.
10. Кварцевый генератор по одному из пп.1-5, 7, отличающийся тем, что, по меньшей мере, одна цепь термокомпенсации содержит аналого-цифровой преобразователь, микроконтроллер и цифроаналоговый преобразователь.
РИСУНКИ
|
|