|
|
(21), (22) Заявка: 2006147210/09, 28.12.2006
(24) Дата начала отсчета срока действия патента:
28.12.2006
(30) Конвенционный приоритет:
30.12.2005 DE 102005063170.3
(43) Дата публикации заявки: 10.07.2008
(46) Опубликовано: 10.12.2009
(56) Список документов, цитированных в отчете о поиске:
DE 1009286 А, 29.05.1957. SU 783897 А, 30.11.1980. DE 847307 A, 21.08.1952. DE 2355725 А1, 15.05.1975. DE 1679529 U, 08.07.1954. ЕР 0023537 А, 11.02.1981. DE 614404 А, 07.06.1935. US 577400 А, 16.05.1946. US 2813208 А, 12.11.1957. US 3681635 А, 01.08.1972. ЕР 0723318 A2, 24.07.1996. DE 4034030 A1, 30.04.1992. DE 1009286 А, 29.05.1957.
Адрес для переписки:
129090, Москва, ул. Б.Спасская, 25, стр.3, ООО “Юридическая фирма Городисский и Партнеры”, пат.пов. Ю.Д.Кузнецову, рег. 595
|
(72) Автор(ы):
ТОНЧ Клаус-Георг (DE), ЗИМОН Йоахим (AT), КЮБЛЕР Эдмунд (AT)
(73) Патентообладатель(и):
ШУНК КОЛЕНШТОФФТЕХНИК ГМБХ (DE)
|
(54) УГОЛЬНАЯ ЩЕТКА С ОТКЛЮЧАЮЩИМ УСТРОЙСТВОМ
(57) Реферат:
Изобретение относится к электротехнике и может быть использовано в угольных щетках, опирающихся на контактный элемент. Технический результат состоит в упрощении монтажа и вместе с тем обеспечении безупречной установки и фиксации отключающего устройства, в частности, при автоматических производственных процессах. Рабочая поверхность (12) угольной щетки опирается на коллектор с предварительно напряженным с помощью пружинящего элемента (20) отключающим элементом (18). С его помощью угольная щетка при достижении заданного износа может отводиться от контактного элемента. По меньшей мере пружинящий элемент (20) и закрывающий элемент (22) представляют собой предварительно смонтированный модуль. 2 н. и 23 з.п. ф-лы, 6 ил.
Изобретение касается угольной щетки с рабочей поверхностью, опирающейся на контактный элемент, например коллектор, с расположенным в запираемой пластинчатым закрывающим элементом выемке, например глухом отверстии, предварительно напряженным за счет пружинящего элемента отключающим элементом, с помощью которого угольная щетка при достижении заданного износа может отводиться от контактного элемента, а также при необходимости с многопроволочным гибким проводом.
Далее, изобретение касается способа оснащения угольной щетки отключающим устройством, состоящим из отключающего элемента, например болтового элемента, с воздействующим на него пружинящим элементом, при этом отключающее устройство устанавливается в исходящей от противолежащей рабочей поверхности угольной щетки торцевой поверхности и проходящей вдоль продольной оси угольной щетки выемке, например глухом отверстии, а пружинящий элемент натягивается между отключающим элементом и пластинчатым закрывающим элементом, запирающим выемку с открытой стороны.
Угольная щетка названного выше рода может быть заимствована, например, из
DE-U-80 19 751 или DE-A-28 01 839. С помощью соответствующих угольных щеток обеспечивается то, что, когда щетки недопустимо изношены, они отводятся от коллектора, чтобы прекратить их дальнейшую эксплуатацию, т.к. в противном случае это может привести к повреждению коллектора.
Отключающее устройство обычно состоит из болта, на который воздействует пружина, выполненная в виде винтовой пружины, которая натягивается между болтом и пластинчатым закрывающим элементом. Для монтажа отключающего устройства сначала в глухое отверстие устанавливается болт, а затем пружинящий элемент.
В заключение пружинящий элемент с помощью закрывающего элемента вдавливается в глухое отверстие, а закрывающий элемент склеивается с угольной щеткой. Такой монтаж очень трудоемкий и, соответственно, требует много времени.
Согласно DE-A-1 763 744 предлагается угольная щетка с отключающим устройством, у которой отключающий элемент и пружинящий элемент образуют один модуль. При этом здесь речь, в частности, идет о пружинящем теле из полимерного материала или о резиновом теле. Соответствующие отключающие устройства не оправдали себя на практике.
Также известна установка отключающего устройства в корпусе, который закрепляется с одной стороны в глухом отверстии (DE-U-74 04 456).
DE-A-23 55 725 касается отключающего контакта, который выполнен в виде отдельного конструктивного элемента. Этот конструктивный элемент состоит из пружины сжатия, изолирующего элемента и закрывающего элемента, чтобы устанавливать и натягивать пружину сжатия между этим элементом и изолирующим элементом. Конструктивный элемент устанавливается в глухом отверстии, которое с внешней стороны закрывается герметиком.
В DE-U-75 26 736 описана так называемая отключающая щетка. В отключающей щетке может быть установлен отключающий блок, состоящий из направляющей втулки, пружины сжатия и нажимного болта, который частично выступает над угольной щеткой.
В WO-A-03/043142 описывается угольная щетка с отключающим устройством, которое включает в себя отключающий орган с предварительно натянутой пружиной, которая окружена оболочкой, состоящей из электрически изолирующего материала. Блок с натягом вставляется в глухое отверстие.
Согласно DE-C-614 404 угольная щетка может отводиться от коллектора с помощью изолирующего болта. На изолирующий болт воздействует пружина, которая защищена полоской из листовой стали, которая зажата в угольной щетке.
В угольной щетке согласно US-A-2813208 в качестве нажимного органа установлен цилиндрический элемент, на который воздействует пружина. Сама пружина опирается на донную стенку направляющей, в которой размещается угольная щетка.
Согласно DE-B-1 009 286 отключающий ниппель для угольной щетки нагружается пружиной сжатия, которая может опираться на обойму, закрывающую угольную щетку с задней стороны. Обойма при этом имеет выступ, проходящий в направлении глухого отверстия, в котором размещается отключающий ниппель, чтобы выровнять пружинящий элемент.
DE-U-1 679 529 касается отключаемой угольной щетки. Для этой цели предусмотрен расположенный в глухом отверстии отключающий ниппель, на который воздействует винтовая пружина, которая одной своей стороной опирается на пластину, закрывающую глухое отверстие с внешней стороны. При монтаже сначала в глухое отверстие вводится отключающая пружина и отключающий ниппель, а потом они закрываются пластиной.
Предметом DD-A-261 884 является отключаемая угольная щетка с пружинящим элементом, который является V-образным и который при недопустимом износе угольной щетки отводит ее от коллектора.
В перечисленных выше отключающих устройствах они или фиксируются после установки в глухое отверстие с помощью закрытия с внешней стороны глухого отверстия, или частично выступают с задней стороны над угольной щеткой, что ведет к тому, что должна учитываться нежелательная высота встраивания.
Задачей настоящего изобретения является усовершенствование угольной щетки, а также способа названного в начале вида таким образом, чтобы упростить монтаж отключающего устройства так, чтобы это, в частности, позволяло в автоматическом процессе безупречно устанавливать и фиксировать отключающее устройство в угольной щетке.
Для решения этой задачи угольная щетка упомянутого выше типа характеризуется тем, что пружина и закрывающий элемент представляют собой предварительно смонтированный модуль.
В отличие от описанного выше уровня техники отключающий элемент и пружина должны устанавливаться в глухое отверстие угольной щетки не по отдельности, после чего глухое отверстие закрывается пластинчатым закрывающим элементом, а пружина и закрывающий элемент образуют единый модуль, так что при закрытии глухого отверстия пружина позиционируется и натягивается надлежащим образом. Таким образом, уменьшается число элементов, которыми оснащается угольная щетка. Одновременно обеспечивается надлежащее ориентирование пружинящего элемента относительно отключающего элемента. В результате получают преимущества при монтаже, которые при массовом производстве дают существенное снижение затрат. Дополнительное уплотнение полимерного материала или, соответственно, дополнительные элементы для фиксации отключающего устройства и закрытия глухого отверстия не требуются.
В одном усовершенствовании предусмотрено, что отключающий элемент, пружинящий элемент, а также закрывающий элемент представляют собой предварительно смонтированный модуль.
Пружинящий элемент может быть соединен с закрывающим элементом. Так, от проходящей со стороны угольной щетки поверхности закрывающего элемента может отходить выступ, на котором фиксируется пружинящий элемент. Также на проходящей со стороны угольной щетки поверхности закрывающего элемента может быть выполнен сформированный в виде ласточкиного хвоста приемный элемент, в котором может быть установлен пружинящий элемент, под которым преимущественно подразумевается винтовая пружина.
Согласно одному усовершенствованию предусмотрено, что от проходящей со стороны угольной щетки поверхности закрывающего элемента отходит один или несколько выступов, между которыми зажимается пружинящий элемент.
Закрывающий элемент может на внешней стороне устанавливаться заподлицо с задней торцевой поверхностью угольной щетки, противолежащей рабочей поверхности. Равным образом возможна установка закрывающего элемента на торцевую поверхность так, что область проходящей со стороны угольной щетки поверхности пластинчатого закрывающего элемента прилегает к торцевой поверхности и, например, склеена с ней.
Существует также возможность того, что закрывающий элемент проходит через всю или почти всю противолежащую рабочей поверхности, т.е. заднюю, торцевую поверхность и имеет сквозное отверстие, через которое проходит отходящий от угольной щетки многопроволочный гибкий провод.
Способ названного в начале типа характеризуется тем, что пружинящий элемент и закрывающий элемент в виде предварительно смонтированного модуля частично вводят в выемку и выемку запирают закрывающим элементом.
В усовершенствованном варианте предусмотрено, что пружинящий элемент, закрывающий элемент и отключающий элемент в виде предварительно смонтированного модуля частично вводят в выемку и выемку запирают закрывающим элементом.
Чтобы получить предварительно смонтированный модуль, пружинящий элемент может быть защелкнут с закрывающим элементом или иметь с ним неразъемное соединение. В частности, предусмотрено, что пружинящий элемент в форме винтовой пружины фиксируется на выступе закрывающего элемента или в выемке закрывающего элемента.
Сам закрывающий элемент может быть неразъемно соединен с угольной щеткой, например, с помощью клея. При этом закрывающий элемент может состоять, в частности, из электрически изолирующего материала, например из полимерного материала.
Другие детали, преимущества и признаки изобретения вытекают не только из пунктов формулы изобретения, которым соответствуют эти признаки сами по себе и/или в комбинации, но из приведенного ниже описания предпочтительных примеров осуществления, заимствованных из чертежей, на которых:
фиг.1 – первый вариант осуществления угольной щетки,
фиг.2 – второй вариант осуществления угольной щетки,
фиг.3 – третий вариант осуществления угольной щетки,
фиг.4 – подетальное представление отключающего устройства,
фиг.5 – первый предварительно смонтированный модуль из отключающего болта, пружинящего элемента и закрывающего элемента и
фиг.6 – второй предварительно смонтированный модуль из отключающего болта, пружинящего элемента и закрывающего элемента.
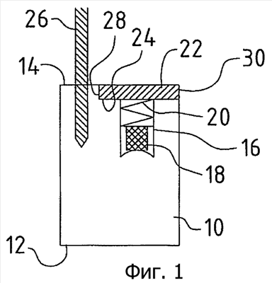
На фиг.1-3 приведены принципиальные изображения угольных щеток 10, в которых установлены отключающие устройства, с помощью которых угольная щетка 10 может потом отводиться от контактного элемента, например коллектора, когда угольная щетка будет изношена недопустимым образом. Соответствующие отключающие устройства достаточно известны и широко применяются. В следующем ниже описании дается пояснение только существенных элементов, при этом для одних и тех же конструктивных элементов используются одни и те же ссылочные позиции.
Чтобы установить отключающий элемент, начинают с глухого отверстия 16 на задней торцевой поверхности 14, противолежащей рабочей поверхности 12 угольной щетки 10, в которое устанавливаются отключающий болт или ниппель 18 и винтовая пружина 20. Затем глухое отверстие 16 запирают пластинчатым закрывающим элементом 22, с помощью которого винтовая пружина 20 натягивается между болтовым элементом 18 и внутренней поверхностью 24 закрывающего элемента 22. Далее согласно примерам осуществления на фиг.1-3 от задней торцевой поверхности 14 отходит подключающий многопроволочный гибкий провод 26, который может проходить внутри угольной щетки 10 вдоль ее продольной оси. На фиг.1 многопроволочный гибкий провод 26 проходит через заднюю торцевую поверхность 14 за пределами закрывающего элемента 22.
Если угольная щетка 10 изнашивается по своему периметру, то дно глухого отверстия 16 протирается так, что болт 18 выталкивается винтовой пружиной 20 из угольной щетки 10, и таким образом она отводится от коллектора или другого передающего ток элемента, на который прежде опиралась рабочая поверхность 12.
Закрывающий элемент 22 выполнен в виде пластины и состоит из электрически изолирующего материала, например из полимерного материала. Задняя торцевая поверхность 14 угольной щетки 10 имеет выемку 28, соответствующую геометрии периметра закрывающего элемента 22, так что внешняя сторона 30 закрывающего элемента 22 переходит заподлицо в заднюю торцевую поверхность 14.
В соответствии с идеей изобретения винтовая пружина 20 и закрывающий элемент 22 образуют предварительно смонтированный модуль. Для этого, соответственно фиг.4 и 5, от проходящей со стороны угольной щетки внутренней поверхности 24 закрывающего элемента 22 отходит выступ 32 в виде ниппеля, на котором с зажимом насаживается винтовая пружина 20. При монтаже в этом случае сначала в глухое отверстие 16 устанавливают отключающий болт 18, чтобы потом глухое отверстие 16 запереть закрывающим элементом 22. При этом одновременно в глухое отверстие 16 вводится винтовая пружина 20, соединенная с закрывающим элементом 22. Потом закрывающий элемент 22 преимущественным образом склеивается с угольной щеткой 10.
Если преимущественным образом болтовой элемент 18 и винтовая пружина 20, отходящая от закрывающего элемента 22, вставляются в глухое отверстие 16 угольной щетки в два рабочих этапа, то появляется возможность соединения, например, с зажиманием, отключающего болта 18 с винтовой пружиной 20, как это можно видеть на фиг.4 и 5. Для этого от отключающего болта 18 может отходить выступающий во внутренний канал винтовой пружины 20 и имеющий форму усеченного конуса участок 34 для соединения с зажимом отключающего болта 18 и винтовой пружины 20.
Соответственно примеру осуществления на фиг.6 от внутренней поверхности 24 закрывающего элемента 22 отходят выступы 36, 38 в форме ребер, между которыми зажимается винтовая пружина 20. При этом также может быть предусмотрен кольцевой выступ с внутренним поперечным сечением в свету, соответствующим внешнему диаметру винтовой пружины 20, чтобы принимать ее с зажимом.
Согласно примеру осуществления на фиг.6 болтовой элемент 18 соединен с винтовой пружиной 20. При этом имеется возможность осуществления не только зажимного соединения между болтовым элементом 18 и винтовой пружиной 20. Также винтовая пружина может быть соединена с болтовым элементом 18 путем склеивания или врезки.
Если согласно примеру осуществления, представленному на фиг.1, закрывающий элемент 22 установлен в вырез 28 в угольной щетке 10, чтобы свободные внешние стороны проходили соосно с соответствующими поверхностями угольной щетки 10, то согласно примеру осуществления, представленному на фиг.2, имеется возможность того, что винтовая пружина 20 отходит от закрывающего элемента 40, который насажен на торцевую поверхность 14 угольной щетки 10. Далее, угольная щетка 10 вдоль своей верхней кромки 12 скошена так, что образуется область 42, через которую проходит многопроволочный гибкий провод 26. Таким образом, многопроволочный гибкий провод 26 проходит не вдоль продольной оси угольной щетки 10, а под углом к ней.
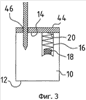
В примере осуществления, представленном на фиг.3, закрывающий элемент 44 также закреплен на задней стороне торцевой поверхности 14 угольной щетки 10. Закрывающий элемент 44 имеет сквозное отверстие 46, через которое проходит многопроволочный гибкий провод 26, при этом он снова идет вдоль продольной оси угольной щетки 10.
Независимо от того как выполнен закрывающий элемент 22, 40, 44, или как соединен с угольной щеткой, или как установлен в ней, закрывающий элемент 22, 40, 44 образует с винтовой пружиной 20 или аналогично действующим пружинящим элементом предварительно смонтированный модуль, при этом по выбору или перед монтажом в глухое отверстие 16 устанавливается отключающий болт 18 и потом монтируется модуль, состоящий из винтовой пружины 20 и закрывающего элемента 22, 40, 44, или же отключающий болт 18, винтовая пружина 20 и закрывающий элемент 22, 40, 44 образуют модуль, который, в свою очередь, соединяется с угольной щеткой 10 тем, что отключающий болт 18 с винтовой пружиной 20 устанавливается в глухое отверстие 16, и после этого закрывающий элемент 22, 40, 44 подходящим образом соединяется с угольной щеткой 10, т.е. с телом угольной щетки. Дополнительных мероприятий для фиксации модуля не требуется.
Формула изобретения
1. Угольная щетка (10) с рабочей поверхностью (12), выполненной с возможностью опирания на контактный элемент, например коллектор, с расположенным в выполненной с возможностью запирания посредством пластинчатого закрывающего элемента (22, 40, 44) выемке, например глухом отверстии (16), и напряженным посредством пружинящего элемента (20) отключающим элементом (18), например болтом, посредством которого угольная щетка выполнена с возможностью отведения от контактного элемента при достижении заданного износа, а также при необходимости с многопроволочным гибким проводом (26), отличающаяся тем, что по меньшей мере пружинящий элемент (20) и закрывающий элемент (22, 40, 44) представляют собой предварительно смонтированный модуль.
2. Угольная щетка по п.1, отличающаяся тем, что отключающий элемент (18), пружинящий элемент (20) и закрывающий элемент (22, 40, 44) представляют собой предварительно смонтированный модуль.
3. Угольная щетка по п.1, отличающаяся тем, что закрывающий элемент (22, 40, 44) и пружинящий элемент (20) состыковываются друг с другом.
4. Угольная щетка по п.1, отличающаяся тем, что пружинящий элемент (20) защелкивается с закрывающим элементом (22, 40, 44).
5. Угольная щетка по п.1, отличающаяся тем, что пружинящий элемент (20) путем зажима соединен с закрывающим элементом (22, 40, 44).
6. Угольная щетка по п.1, отличающаяся тем, что от расположенной со стороны угольной щетки поверхности (24) закрывающего элемента (22) отходит выступ (32), на котором зафиксирован пружинящий элемент (20).
7. Угольная щетка по п.1, отличающаяся тем, что от расположенной со стороны угольной щетки поверхности (24) закрывающего элемента (22) отходит выполненный в виде ласточкиного хвоста приемный элемент для пружинящего элемента (20).
8. Угольная щетка по п.1, отличающаяся тем, что от расположенной со стороны угольной щетки поверхности (24) закрывающего элемента (22) отходит выступ или несколько выступов (36, 38), на котором или между которыми закреплен пружинящий элемент (20).
9. Угольная щетка по п.1, отличающаяся тем, что закрывающий элемент (22) на внешней стороне переходит заподлицо в заднюю торцевую поверхность (14) угольной щетки (10), противолежащую рабочей поверхности.
10. Угольная щетка по п.1, отличающаяся тем, что закрывающий элемент (22) прилегает к задней торцевой поверхности (16) угольной щетки (10), противолежащей рабочей поверхности (12).
11. Угольная щетка по п.1, отличающаяся тем, что закрывающий элемент (22) проходит по всей или почти по всей задней торцевой поверхности (16), противолежащей рабочей поверхности (12), а также имеет сквозное отверстие (46), через которое проходит многопроволочный гибкий провод (26), исходя от угольной щетки (10).
12. Угольная щетка по п.1, отличающаяся тем, что от отключающего элемента (18) отходит выступ (34), который с зажимом принят пружинящим элементом (20), например винтовой пружиной.
13. Угольная щетка по п.1, отличающаяся тем, что пружинящий элемент (20) неразъемно соединен с отключающим элементом (18).
14. Угольная щетка по п.1, отличающаяся тем, что пружинящий элемент (20) частично окружен отключающим элементом (18).
15. Угольная щетка по п.1, отличающаяся тем, что закрывающий элемент (22, 40, 44) неразъемно соединен с угольной щеткой (10).
16. Угольная щетка по п.1, отличающаяся тем, что закрывающий элемент (22, 40, 44) склеен с угольной щеткой (10).
17. Способ оснащения угольной щетки отключающим устройством, состоящим из отключающего элемента, например болтового элемента, с действующим на него пружинящим элементом, при этом отключающее устройство устанавливают в проходящую вдоль продольной оси угольной щетки и исходящую от противолежащей рабочей поверхности торцевой поверхности выемку, например глухое отверстие, и натягивают пружинящий элемент между отключающим элементом и пластинчатым закрывающим элементом, запирающим выемку с открытой стороны, отличающийся тем, что пружинящий элемент и закрывающий элемент вставляют в выемку в виде предварительно смонтированного модуля и запирают выемку закрывающим элементом.
18. Способ по п.17, отличающийся тем, что пружинящий элемент, закрывающий элемент и отключающий элемент устанавливают в выемку в виде предварительно смонтированного модуля.
19. Способ по п.17, отличающийся тем, что пружинящий элемент в форме винтовой пружины защелкивают с закрывающим элементом.
20. Способ по п.17, отличающийся тем, что отключающий элемент с пружинящим элементом закрепляют с зажимом.
21. Способ по п.17, отличающийся тем, что пружинящий элемент принимает с зажимом выступ, отходящий от закрывающего элемента.
22. Способ по п.17, отличающийся тем, что пружинящий элемент неразъемно соединяют с отключающим элементом.
23. Способ по п.17, отличающийся тем, что пружинящий элемент фиксируют на выступе закрывающего элемента.
24. Способ по п.17, отличающийся тем, что пружинящий элемент фиксируют в выемке закрывающего элемента.
25. Способ по п.17, отличающийся тем, что закрывающий элемент соединяют с угольной щеткой посредством склеивания.
РИСУНКИ
|
|