|
|
(21), (22) Заявка: 2008127664/09, 07.07.2008
(24) Дата начала отсчета срока действия патента:
07.07.2008
(46) Опубликовано: 10.12.2009
(56) Список документов, цитированных в отчете о поиске:
RU 2204873 C1, 20.05.2003. RU 2125755 C1, 27.01.1999. SU 1422270 A1, 07.09.1988. GB 890264 A, 28.02.1962. US 5517205 A, 14.05.1996. JP 60163504 A, 26.08.1985. EP 0142397 A1, 11.05.1985. WO 9305363 A1, 18.03.1993.
Адрес для переписки:
347928, Ростовская обл., г. Таганрог, ГСП-17А, Некрасовский, 44, ТИ ФГОУВПО “ЮФУ” в г. Таганроге (ТТИ ЮФУ)
|
(72) Автор(ы):
Кириченко Игорь Алексеевич (RU), Диденко Дмитрий Иванович (RU)
(73) Патентообладатель(и):
Федеральное государственное образовательное учреждение высшего профессионального образования “ЮЖНЫЙ ФЕДЕРАЛЬНЫЙ УНИВЕРСИТЕТ” (ЮФУ) (RU)
|
(54) САМОСТАБИЛИЗИРУЮЩЕЕСЯ УСТРОЙСТВО ДЛЯ АНТЕНН И ПРИБОРОВ СУДОВОЙ РАДИОЭЛЕКТРОННОЙ АППАРАТУРЫ
(57) Реферат:
Изобретение относится к области радиоэлектронного оборудования и может быть использовано в приборах судовой радиоэлектронной аппаратуры, требующей для своего нормального функционирования стабилизации при бортовой и килевой качке под действием силы земного притяжения. Техническим результатом является повышение точности измерений и улучшение условий функционирования гидроакустических приборов при узких параметрических характеристиках направленности. Самостабилизирующееся устройство для антенн и приборов судовой радиоэлектронной аппаратуры содержит груз, кронштейн, имеющий возможность крепления на корпусе судна, к которому с ограничениями при максимальных наклонах на кардановом подвесе присоединено основание. В стабилизирующееся устройство введена крестовина, на которой жестко закреплен груз, установленная на кардановом подвесе в верхней части кронштейна и образующая задающий механизм, связанный посредством гибкой связи с исполнительным механизмом, представляющий собой соединение основания через карданов подвес с кронштейном. Задающий механизм находится выше уровня воды, исполнительный механизм ниже уровня воды. Дополнительно имеется возможность изменять вес груза. 1 ил.
Изобретение относится к области радиоэлектронного оборудования, в частности к приборам судовой радиоэлектронной аппаратуры, требующей для своего нормального функционирования стабилизации при бортовой и килевой качке под действием силы земного притяжения.
Известна стабилизированная зеркальная антенна судовой РЛС (Пат. RU 2125326 H01Q 1/34, бюл. 2, 1999) в составе зеркального отражателя с облучателем, установленного на вращающемся по горизонту кронштейне, размещенном на основании, имеющем мотор вращения антенны с приводом, антенна соединена с приемопередающей аппаратурой РЛС СВЧ трактом с вращающимся переходом между кронштейном и основанием, стабилизация осуществляется с использованием силы земного притяжения и свойств физического маятника, кронштейн выполнен фигурным в виде вертикальной балки с изгибом в сторону тыльной стороны антенны с укрепленными в верхней части горизонтальными взаимно перпендикулярными поворотными устройствами, ось первого из которых расположена вдоль, а второго – поперек оси диаграммы направленности антенны, причем центр пересечения осей расположен на вертикальной оси горизонтального вращения указанного кронштейна, зеркальный отражатель антенны подвешен своей тыльной стороной в точке выше своего центра тяжести на оси второго поворотного устройства с обеспечением свободных поворотов зеркального отражателя на указанных поворотных устройствах в продольной и в поперечной по отношению к оси диаграммы направленности антенны вертикальных плоскостях под действием собственной тяжести элементов конструкции антенны, расположенных ниже точки подвеса и являющихся физическим маятником, что обеспечивает сохранение неизменным положение зеркального отражателя на качке судна и стабилизацию положения ее диаграммы направленности. Зеркальный отражатель снабжен дополнительным грузом, имеющим возможность перемещаться вдоль оси диаграммы направленности антенны и стопориться в нужном положении, обеспечивающем перемещение центра тяжести подвешенного зеркального отражателя вдоль оси диаграммы направленности антенны, и установку этой оси строго по горизонту, а на поворотных устройствах антенны установлены ограничители углов поворотов по 30-40° в обе стороны с амортизаторами, препятствующие выходу из строя антенны при экстремальных углах крена судна, в поворотных устройствах установлены демпфирующие устройства с регулируемыми характеристиками демпфирования, устанавливаемыми в зависимости от параметров качки судна, на котором устанавливается РЛС, и скорости вращения антенны по азимуту для исключения побочных колебаний антенны; в поворотных устройствах кронштейна и зеркального отражателя установлены вращающиеся СВЧ переходы, обеспечивающие трансляцию СВЧ энергии между СВЧ трактом подвешенных частей антенны и СВЧ трактом приемопередающей аппаратуры РЛС; конструкция зеркального отражателя антенны выполнена так, что диаграмма направленности антенны в вертикальной плоскости имеет косеканскую форму с плоской верхней границей, параллельной поверхности моря, и веерной в нижней части, с наклоном ближней границы к горизонту на 35-50°, обеспечивая тем самым значительное улучшение условий обнаружения морских целей во всем диапазоне дальностей и экономию излучаемой энергии, бесполезно расходуемой существующими РЛС при облучении верхней полусферы.
Признаками аналога, совпадающими с существенными признаками заявляемого изобретения, являются: на кронштейне установлена платформа (в заявляемом – основание), подвеска на взаимно перпендикулярных горизонтальных поворотных устройствах (в заявляемом карданова подвеса), установленных в верхней части конструкции, установлены ограничители углов поворотов, дополнительный груз, стабилизация осуществляется с использованием силы земного притяжения и свойств физического маятника под действием собственной тяжести элементов конструкции.
Причиной, препятствующей получению технического результата, является достаточно высокая сложность конструкции.
В качестве прототипа принят известный стабилизированный антенный пост судовой навигационной радиолокационной станции (Пат. RU 2204873 H01Q 1/18, бюл. 5, 1999) в составе волноводно-щелевой антенны, укрепленной с помощью кронштейна на вращающейся в горизонтальной плоскости тумбе, установленной поворотно на основании антенного поста, имеющего мотор и привод вращения, в котором стабилизация осуществляется за счет использования силы земного притяжения и свойств физического маятника, антенна снабжена продольной горизонтальной осью, укрепленной по бокам антенны в середине бокового профиля выше центра тяжести антенны, а также дополнительным продольным грузом, расположенным снизу антенны, имеющим по краям соединенные с антенной боковые рычаги, подвижно укрепленные на оси антенны и имеющие возможность сохранять неизменным положение диаграммы направленности антенны в вертикальной плоскости на качке, кронштейн выполнен в виде вилкообразной конструкции с направленными вниз боковыми стойками, на которых установлены устройства ограничения углов качания антенны, на нижних концах которых укреплены подшипники вращения для обеспечения свободных качаний оси антенны в пределах установленных углов качки антенны и упорные подшипники, препятствующие продольному перемещению оси антенны, в состав антенны введена фигурная стойка тумбы, установленная на тумбе и имеющая сверху горизонтальную ось, кронштейн своей верхней частью подвижно подвешен на горизонтальной оси фигурной стойки тумбы с помощью подшипника скольжения кронштейна, ось которого перпендикулярна указанной выше введенной оси антенны, что обеспечивает сохранение горизонтальным положение антенны при наклонах антенного поста в плоскости кронштейна и антенны под действием силы тяжести подвешенной антенны с дополнительным грузом и кронштейна, образующих физический маятник, в нижней части стоек кронштейна введены концевые упоры в виде металлической полосы, соединяющей стойки, а напротив них сверху тумбы – ограничительные амортизаторы для упора в них концевых упоров при максимальных наклонах антенны, подвеска антенны на оси антенны и оси фигурной стойки тумбы осуществляется таким образом, что центр тяжести антенны с подвижными частями располагается на вертикальной оси вращения тумбы с антенной в горизонтальной плоскости; в состав антенного поста дополнительно введены механизм установки и датчик угла наклона антенны к горизонту, рубочное устройство управления наклоном антенны с индикатором угла наклона, соединенные между собой многожильным силовым и сигнальным кабелем, с многоконтактным вращающимся переходом между тумбой и основанием антенного поста и со спиральным отрезком для подвижного соединения стабилизированного механизма установки и датчика угла наклона антенны с указанным кабелем, расположенным на качающихся вместе с судном плоскости диаграммы направленности антенны стойках кронштейна и на фигурной стойке тумбы, в оси антенны и в оси фигурной стойки тумбы установлены соосно с указанными осями горизонтальные вращающиеся СВЧ переходы с углами поворота по 45° в обе стороны для обеспечения канализации СВЧ энергии между антенной и качающимся вместе с судном участком СВЧ тракта кронштейна, а также между качающейся фигурной стойкой тумбы и кронштейном введен радиопрозрачный кожух, укрепленный на кронштейне, охватывающий подвижные части антенны и дополнительный груз и обеспечивающий защиту от атмосферных условий; в осях качания антенны и фигурной стойки тумбы установлены демпфирующие устройства, временные характеристики которых регулируются с учетом параметров качки судна, на котором устанавливается СПРЛС, благодаря чему исключаются побочные колебания подвижных частей антенны на качке судна.
Признаками прототипа, совпадающими с существенными признаками заявляемого изобретения являются: кронштейн, основание, подвеска на двух взаимно перпендикулярных горизонтальных осях (в заявляемом устройстве карданов подвес), груз, центр тяжести уравновешиваемой части устройства со стабилизируемой аппаратурой размещен ниже осей качания, концевые упоры для ограничения при максимальных наклонах (в заявляемом обеспечивается конструкцией карданова подвеса), стабилизация осуществляется за счет использования силы земного притяжения и свойств физического маятника.
Причинами, препятствующими получению технического результата, являются: достаточно высокая сложность, малая надежность, неудобство в обслуживании.
Задачей изобретения является повышение точности измерений и улучшение условий функционирования гидроакустических приборов при узких параметрических характеристиках направленности.
Технический результат заключается в том, что самостабилизирующееся устройство для антенн и приборов судовой радиоэлектронной аппаратуры содержит крестовину, на которой жестко закреплен груз, установленную на кардановом подвесе в верхней части кронштейна и образующую задающий механизм, связанный посредством гибкой связи с исполнительным механизмом, представляющий собой соединение основания через карданов подвес с кронштейном, причем задающий механизм находится выше уровня воды, исполнительный механизм ниже уровня воды, а также дополнительно имеется возможность изменять вес груза.
Для достижения технического результата в самостабилизирующееся устройство для антенн и приборов судовой радиоэлектронной аппаратуры, содержащее груз, кронштейн, имеющий возможность крепления на корпусе судна, к которому с ограничениями при максимальных наклонах на кардановом подвесе присоединено основание, вводится крестовина, на которой жестко закреплен груз, установленная на кардановом подвесе в верхней части кронштейна и образующая задающий механизм, связанный посредством гибкой связи с исполнительным механизмом, представляющий собой соединение основания через карданов подвес с кронштейном, причем задающий механизм находится выше уровня воды, исполнительный механизм ниже уровня воды, а также дополнительно имеется возможность изменять вес груза.
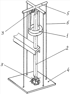
Самостабилизирующееся устройство для антенн и приборов судовой радиоэлектронной аппаратуры содержит груз 1, кронштейн 2, имеющий возможность крепления на корпусе судна, к которому с ограничениями при максимальных наклонах на кардановом подвесе 3 присоединено основание 4, вводится крестовина 5, на которой жестко закреплен груз 1, установленная на кардановом подвесе 3 в верхней части кронштейна 2 и образующая задающий механизм, связанный посредством гибкой связи 6 с исполнительным механизмом, представляющий собой соединение основания 4 через карданов подвес 3 с кронштейном 2, причем задающий механизм находится выше уровня воды, исполнительный механизм ниже уровня воды, а также дополнительно имеется возможность изменять вес груза 1.
Предлагаемое самостабилизирующееся устройство для антенн и приборов судовой радиоэлектронной аппаратуры поясняется чертежом, на котором представлен общий вид.
Самостабилизирующееся устройство для антенн и приборов судовой радиоэлектронной аппаратуры работает следующим образом: посредством кронштейна 2 устройство закрепляется на корпусе судна, на присоединенное на кардановом подвесе 3 основание 4 в нижней части кронштейна 2 монтируется прибор (антенна), подлежащие гидроакустическим испытаниям, и которые образуют исполнительный механизм. В зависимости от их веса подбирается и устанавливается груз 1, жестко закрепленный на крестовине 5, установленной на кардановом подвесе 3 в верхней части кронштейна 2, и образующие задающий механизм, связанный посредством гибкой связи 6 с исполнительным механизмом. Исполнение предлагаемого устройства в виде исполнительного механизма со стабилизируемой аппаратурой и задающего, связанных посредством гибкой связи 6 позволяет при работе обеспечить сохранение горизонтального положения антенны (приборов) под действием силы тяжести, при этом стабилизация осуществляется за счет использования силы земного притяжения и свойств физического маятника.
Стабилизирующие возможности такого механизма выражены динамикой физического маятника, снабженного успокоителем и подверженного внешней возмущающей силе, обусловленной колебаниями судна на волне. Разделение устройства на две части и размещение одной из них над поверхностью воды позволяет улучшить показатели величины коэффициента успокоения колебаний. При перемещении центров масс по осям X и Y в условиях малых углов отклонения от вертикали, т.е. при небольших углах качки 5-10° без приложения сил имеем возможность удерживать площадку в горизонтальном положении.
При этом следует учитывать, что амплитуда вынужденных колебаний резко возрастает при частоте внешней силы, близкой к частоте собственных колебаний, при этом наступает явление резонанса. Предлагаемая конструкция избавлена от этого за счет разделения на две части и размещения одной, выполненной как исполнительный механизм со стабилизируемой аппаратурой под водой, а другой, выполненной, как задающий механизм, размещенный над поверхностью воды. Выполнение задающего механизма вне стабилизируемого основания 4 дает уменьшение подводной части в размерах и в весе, повышает надежность, снижает инерционные силы, улучшает удобство при обслуживании.
При этом на площадке основания 4 для крепления антенных систем, расположенной в подводной части, имеется возможность размещения различных по весу и габаритам гидроакустических антенн при удобстве изменения веса груза 1, размещенного в надводной части.
Предлагаемое самостабилизирующее устройство при узких параметрических характеристиках направленности повышает точность измерения прибора (антенн) при гидроакустических испытаниях, а так же для экспериментального исследования их характеристик в натурных условиях, при установке на малотоннажных научно-исследовательских судах. В этом случае применения при небольших углах качки 5-10° самостабилизирующее устройство позволяет уменьшить погрешности измерения характеристик направленности гидроакустической антенны и повысить точность определения как самих пространственных характеристик антенны, так и точность определения характеристик лоцируемых целей при использовании аппаратуры в режиме вертикальной эхолокации.
Формула изобретения
Самостабилизирующееся устройство для антенн и приборов судовой радиоэлектронной аппаратуры, содержащее груз, кронштейн, имеющий возможность крепления на корпусе судна, к которому с ограничениями при максимальных наклонах на кардановом подвесе присоединено основание, отличающееся тем, что вводится крестовина, на которой жестко закреплен груз, установленная на кардановом подвесе в верхней части кронштейна и образующая задающий механизм, связанный посредством гибкой связи с исполнительным механизмом, представляющий собой соединение основания через карданов подвес с кронштейном, причем задающий механизм находится выше уровня воды, исполнительный механизм ниже уровня воды, а также дополнительно имеется возможность изменять вес груза.
РИСУНКИ
|
|