|
|
(21), (22) Заявка: 2008112933/09, 03.04.2008
(24) Дата начала отсчета срока действия патента:
03.04.2008
(46) Опубликовано: 10.12.2009
(56) Список документов, цитированных в отчете о поиске:
Адрес для переписки:
620017, г.Екатеринбург, а/я 696, ООО “Технос”
|
(72) Автор(ы):
Мурадов Эльхан Шахбаба оглы (RU), Шипицын Виктор Васильевич (RU), Морозов Алексей Григорьевич (RU)
(73) Патентообладатель(и):
Общество с ограниченной ответственностью “Технос” (RU)
|
(54) СПОСОБ ОТКЛЮЧЕНИЯ ПОСТОЯННОГО ТОКА ГИБРИДНЫМ КОММУТАЦИОННЫМ УСТРОЙСТВОМ ПОСТОЯННОГО ТОКА И ГИБРИДНОЕ КОММУТАЦИОННОЕ УСТРОЙСТВО ПОСТОЯННОГО ТОКА ДЛЯ ОСУЩЕСТВЛЕНИЯ ЭТОГО СПОСОБА
(57) Реферат:
Предлагаемое изобретение относится к электротехнике. Техническим результатом является увеличение надежности. Способ заключается в том, что постоянные токи короткого замыкания и перегрузки отключают первым электромеханическим коммутатором, управляемым от реле постоянного тока, а постоянные малые и номинальные токи отключают транзистором, соединенным последовательно с вторым электромеханическим коммутатором, при этом транзистор и второй электромеханический коммутатор подсоединяют параллельно первому электромеханическому коммутатору и управляют ими от устройства защитного отключения или от отключающей кнопки с помощью систем управления, при этом вначале включают второй электромеханический коммутатор, затем включают транзистор и выключают первый электромеханический коммутатор, затем выключают транзистор, затем выключают второй электромеханический коммутатор, причем контролируют исправность транзистора и при неисправности транзистора формируют дублирующий сигнал для выключения второго электромеханического коммутатора и сигнал для блока информации. Устройство содержит первый и второй электромеханические коммутаторы с системой управления, транзистор с системой управления, реле тока, включающую и отключающую кнопки, устройство защитного отключения, реле контроля транзистора и блок информации. 2 н.п. ф-лы, 2 ил.
Предлагаемое изобретение – способ отключения постоянного тока гибридным коммутационным устройством постоянного тока и гибридное коммутационное устройство постоянного тока для осуществления этого способа – относится к электротехнике, а именно к способам отключения постоянного тока и к коммутационным электрическим аппаратам постоянного тока, и может быть использовано для коммутации электрических цепей постоянного тока в нагрузочных режимах, режимах перегрузки и аварийных режимах короткого замыкания нагрузки.
Известно, что при отключении индуктивной нагрузки постоянного тока между главными контактами электромеханического электрического аппарата возникает электрическая дуга, которая оплавляет эти контакты, что существенно снижает коммутационную износостойкость электромеханического электрического аппарата по сравнению с его механической износостойкостью (Л.1. Чунихин А.А. Электрические аппараты: Общий курс. Учебник для вузов. – 3-е изд., перераб. и доп. – М.: Энергоатомиздат, 1988).
Для повышения срока службы электрических аппаратов известно применение полупроводниковых бесконтактных электрических аппаратов, в которых отсутствует электрическая дуга и коммутационный износ (Л.2. Могилевский Г.В. и др. Полупроводниковые аппараты защиты. – М.: Энергия, 1980). Однако полупроводниковые аппараты имеют повышенное падение напряжения при пропускании прямого тока во включенном состоянии, что увеличивает их нагрев и снижает КПД, а также не обеспечивают гальванической развязки нагрузки от питающей сети в выключенном состоянии.
Стремление совместить в электрических аппаратах положительные качества контактных аппаратов – малые потери мощности во включенном состоянии и гальваническую развязку нагрузки от источника питания в выключенном состоянии – и положительные качества полупроводниковых электрических аппаратов – повышенная коммутационная износостойкость и, следовательно, меньшие эксплуатационные затраты – привело к разработке способа отключения тока гибридным коммутационным аппаратом и созданию гибридных электрических аппаратов, в которых ток во включенном состоянии аппарата проходит через контакты электрического электромеханического аппарата, а коммутация этого тока выполняется силовыми полупроводниковыми приборами, включенными параллельно контактам электромеханического аппарата (Л.3. Могилевский Г.В. Гибридные электрические аппараты низкого напряжения. – М: Энергоатомиздат, 1986).
Известно, что наибольшая длительность горения электрической дуги, а следовательно, и наибольшее разрушение контактов имеет место при отключении постоянных индуктивных токов. Поэтому известен способ отключения постоянного тока гибридным коммутационным устройством и целый ряд гибридных коммутационных аппаратов постоянного тока, которые являются аналогами по отношению к предлагаемым способу отключения постоянного тока гибридным коммутационным устройством постоянного тока и гибридному коммутационному устройству постоянного тока (Приложение 1, Л.3, стр.64, рис.1.21). Однако все они имеют недостатки, так как эти устройства выполнены на однооперационных тиристорах, которые при реализации способа отключения постоянных токов требуют обязательного применения предварительно заряженных коммутирующих конденсаторов С, что усложняет известные аналоги, увеличивает их габариты и снижает надежность процесса отключения постоянного тока. Поэтому в качестве прототипа выбраны способ отключения постоянного тока гибридным коммутационным устройством и гибридное коммутационное устройство постоянного тока с параллельным соединением электромеханического аппарата и транзистора (Приложение 2, Л.4. Электрические и электронные аппараты: учебник для вузов / Под ред. Ю.К.Розанова. – М.: Энергоатомиздат, 1998, стр.573, рис.11.14).
Однако в прототипе не достигается заявленный технический результат – увеличение надежности способа отключения постоянного тока гибридным коммутационным устройством постоянного тока и гибридного коммутационного устройства постоянного тока, так как в прототипе имеются следующие недостатки.
Во-первых, в прототипе нет гальванической развязки нагрузки ZН от источника постоянного напряжения Е при выключенном транзисторе и нет алгоритма создания такой развязки при отключении постоянного тока, что снижает надежность такого способа отключения постоянного тока и самого гибридного коммутационного устройства постоянного тока. Во-вторых, в прототипе не предусмотрен контроль исправности транзистора, а также не предусмотрен способ отключения нагрузки постоянного тока при вышедшем из строя транзисторе, что снижает надежность способа и устройства отключения постоянного тока гибридным коммутационным устройством. В-третьих, в прототипе при отключении постоянного тока не предусмотрено формирование сигнала о неисправности транзистора для предотвращения очередного включения нагрузки постоянного тока неисправным гибридным коммутационным устройством постоянного тока, что снижает надежность способа отключения постоянного тока гибридным коммутационным устройством постоянного тока и самого гибридного коммутационного устройства постоянного тока.
Предлагаемое изобретение – способ отключения постоянного тока гибридным коммутационным устройством постоянного тока и гибридное коммутационное устройство постоянного тока – решают задачи разработки способа отключения постоянного тока гибридным коммутационным аппаратом постоянного тока и создания гибридного коммутационного аппарата постоянного тока, осуществление которых позволяет достичь заявленного технического результата, заключающегося в увеличении надежности этого способа и этого устройства.
Сущность предлагаемого изобретения – способа отключения постоянного тока гибридным коммутационным устройством постоянного тока заключается в том, что постоянные токи короткого замыкания и токи перегрузки отключают первым электромеханическим коммутатором, управляемым от реле тока, а постоянные номинальный и малые токи отключают транзистором, соединенным последовательно со вторым электромеханическим коммутатором, причем второй элктромеханический коммутатор и транзистор подсоединяют параллельно главным контактам первого электромеханического коммутатора и управляют ими от устройства защитного отключения или от отключающей кнопки с помощью систем управления, при этом вначале включают второй электромеханический коммутатор, затем включают транзистор, затем отключают первый электромеханический коммутатор, затем с некоторой выдержкой времени выключают транзистор, затем сигналом от реле тока выключают второй электромеханический коммутатор, причем с помощью реле контроля контролируют исправность транзистора, при выходе из строя которого, во-первых, формируют дублирующий сигнал для выключения второго электромеханического коммутатора, во-вторых, формируют сигнал для блока информации, чтобы предотвратить очередное включение неисправного коммутационного устройства.
Заявленный технический результат – увеличение надежности способа отключения постоянного тока гибридным коммутационным устройством постоянного тока – достигается следующим образом. Наиболее частыми режимами отключения постоянного тока являются режимы отключения постоянных малых индуктивных токов и постоянных номинальных токов при срабатывании устройства защитного отключения или при нажатии отключающей кнопки оператором. Именно эти частые режимы разрушают контакты и снижают надежность и срок службы коммутационных устройств постоянного тока. Предлагаемый способ отключения постоянного тока позволяет перевести постоянные малые и номинальные токи из цепи первого электромеханического коммутатора в цепь второго электромеханического коммутатора и транзистора при малом значении напряжения, что, во-первых, исключает коммутационный износ главных контактов первого электромеханического коммутатора, во-вторых, позволяет осуществить оптимальный алгоритм управления работой второго электромеханического коммутатора и транзистора, а именно сначала включить второй электромеханический коммутатор в бестоковом режиме, затем включить транзистор, затем выключить первый электромеханический коммутатор, затем выключить транзистор и затем выключить второй электромеханический коммутатор снова в бестоковом режиме. После выключения транзистора второй электромеханический коммутатор позволяет обеспечить гальваническую развязку нагрузки от питающей сети постоянного напряжения. При выходе из строя транзистора реле контроля транзистора, во-первых, формирует дублирующий сигнал на отключение второго электромеханического коммутатора и, во вторых, формирует сигнал для блока информации, чтобы предотвратить очередное включение неисправного коммутационного устройства постоянного тока. Все это позволяет достичь заявленный технический результат – увеличение надежности способа отключения постоянного тока гибридным коммутационным устройством постоянного тока, так как увеличивается срок службы главных контактов первого электромеханического коммутатора, увеличивается срок службы контактов второго электромеханического коммутатора, обеспечивается гальваническая развязка нагрузки от питающей сети постоянного тока, предотвращается включение гибридного коммутационного устройства постоянного тока с неисправным транзистором.
Сущность предлагаемого изобретения – гибридного коммутационного устройства постоянного тока заключается в том, что в гибридном коммутационном устройстве, имеющем первый электромеханический коммутатор с системой управления, включающую кнопку, отключающую кнопку, устройство защитного отключения и реле тока, а также транзистор с системой управления, при этом первый электромеханический коммутатор соединен с реле тока и нагрузкой, транзистор одним силовым выводом соединен с одним силовым выводом первого электромеханического коммутатора, включающая кнопка, устройство защитного отключения и отключающая кнопка соединены со схемой управления первым электромеханическим коммутатором, дополнительно введены второй электромеханический коммутатор с системой управления, реле контроля транзистора и блок информации, причем второй электромеханический коммутатор соединен последовательно с транзистором, при этом полученная последовательная цепь подсоединена параллельно первому электромеханическому коммутатору, включающая кнопка, устройство защитного отключения и отключающая кнопка соединены с системами управления транзистора и второго электромеханического коммутатора, а реле контроля транзистора соединено с блоком информации и системой управления вторым электромеханическим коммутатором, которая соединена с реле тока.
Заявленный технический результат достигается следующим образом. Введенные второй электромеханический коммутатор с системой управления, реле контроля транзистора и блок информации, а также соединение устройства защитного управления и отключающей кнопки с системой управления транзистором и системой управления вторым электромеханическим коммутатором, которая соединена с реле тока и реле контроля транзистора, которое соединено с блоком информации, обеспечивает оптимальный режим работы первого и второго электромеханических коммутаторов, а именно вначале при отключении цепи нагрузки включается второй электромеханический коммутатор в бестоковом режиме, что исключает его электрический износ, далее включается транзистор и отключается первый электромеханический коммутатор, при этом его ток переходит в цепь второго электромеханического коммутатора и транзистора при малом напряжении на контактах первого электромеханического коммутатора, что существенно снижает интенсивность дугообразования на этих контактах и, следовательно, снижает их электрический износ, затем выключается транзистор, если он исправен, и, наконец, выключается второй электромеханический коммутатор при прекращении тока через реле тока снова в бестоковом режиме, что исключает его электрический износ. Следовательно, при исправном транзисторе оба электромеханических коммутатора практически не имеют электрического износа, что увеличивает надежность гибридного коммутационного устройства для отключения цепи постоянного тока.
При неисправном транзисторе реле контроля транзистора выдает дублирующий сигнал для отключения второго электромеханического коммутатора, который при этом выключается не в оптимальном режиме. Однако, во-первых, по статистике указанный режим происходит редко, во-вторых, в этом случае реле контроля транзистора формирует сигнал для отключения второго электромеханического коммутатора и сигнал для блока информации, то есть для оператора, о неисправности транзистора и предотвращении очередного включения неисправного гибридного коммутационного устройства для отключения цепей постоянного тока.
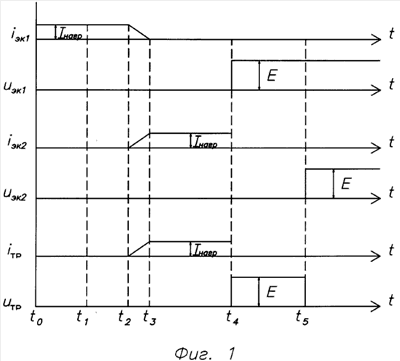
Рассмотрим детально предлагаемый способ отключения постоянного тока гибридным коммутационным устройством постоянного тока. Временные диаграммы для этого способа приведены на фиг.1. Допустим, что в некоторый момент времени t0 включен первый электромеханический коммутатор гибридного коммутационного устройства постоянного тока и через него протекает постоянный ток iэк1, равный току нагрузки Iнагр. Если при этом произошло короткое замыкание нагрузки или возникла перегрузка, то по сигналу от реле тока цепь нагрузки постоянного тока отключается, как обычно, первым электромеханическим коммутатором.
Если от устройства защитного отключения или от отключающей кнопки, то есть оператором, отключаются индуктивные малые постоянные токи или номинальные токи, то предлагаемый способ отключения постоянного тока гибридным коммутационным устройством постоянного тока реализуется следующим образом. При отключении цепи постоянного тока от устройства защитного отключения или от отключающей кнопки в случае исправного транзистора формируются сигналы для системы управления первым электромеханическим коммутатором, транзитором и вторым электромеханическим коммутатором, которые обеспечивают предлагаемый способ отключения постоянного тока гибридным коммутационным устройством постоянного тока, а именно: в момент времени t1 включают второй электромеханический коммутатор, что происходит в бестоковом режиме, то есть при отсутствии электрического износа контактов второго элетромеханического коммутатора; в момент времени t2 включают транзистор и выключают первый электромеханический коммутатор, при этом начинается переход постоянного тока
Iнагр из цепи первого электромеханического коммутатора в цепь второго электромеханического коммутатора и транзистора при малом напряжении на контактах первого электромеханического коммутатора, определяемом прямым падением напряжения на находящемся в проводящем состоянии транзисторе, что существенно снижает интенсивность дугообразования на контактах первого электромеханического коммутатора и тем самым существенно снижает электрический износ этих контактов; в момент времени t3 заканчивается переход постоянного тока Iнагр из цепи первого электромеханического коммутатора в цепь второго электромеханического коммутатора и транзистора, при этом постоянный ток Iнагр через первый электромеханический коммутатор становится равным нулевому значению, а ток через второй электромеханический коммутатор и транзистор становится равным тому току Iнагр, который протекал через первый электромеханический коммутатор; в момент времени t4, то есть с некоторой задержкой по отношению к моменту времени t3, необходимой для того, чтобы ток первого электромеханического коммутатора стал равным нулевому значению, выключают транзистор, при этом ток транзистора iтр и ток второго электромеханического коммутатора 1эк2 становится равным нулевому значению, а напряжения на первом электромеханическом коммутаторе uэк1 и на транзисторе uтр становятся равными напряжению питания сети постоянного тока Е, при этом напряжение на первом элктромеханическом коммутаторе uэк1 восстанавливается при отсутствии тока в его цепи, что практически исключает возможность повторного пробоя и образование дуги на контактах первого электромеханического коммутатора; наконец, в момент времени t5 с некоторой задержкой по отношению к моменту времени t4, когда ток транзистора, а следовательно, и второго электромеханического коммутатора будет равным нулевому значению, выключают второй электромеханический коммутатор, и напряжение на нем uэк2 восстанавливается до напряжения Е питающей сети в бестоковом режиме, что практически исключает возможность дугообразования на контактах второго электромеханического коммутатора и предотвращает их электрический износ.
При неисправности транзистора реле контроля транзистора выдает дублирующий сигнал для отключения второго электромеханического коммутатора и формирует сигнал для блока информации, то есть для оператора, о неисправности транзистора и предотвращения очередного включения неисправного гибридного коммутационного устройства для отключения цепей постоянного тока.
Таким образом, предлагаемый способ отключения постоянного тока гибридным коммутационным устройством постоянного тока и описание этого способа подтверждают, что реализация этого способа обеспечивает достижение заявленного технического результата, то есть увеличение надежности процесса отключения постоянного тока гибридным коммутационным устройством постоянного тока.
Предлагаемое гибридное коммутационное устройство постоянного тока изображено на фиг.2. Устройство содержит первый электромеханический коммутатор 1, имеющий первый 2 и второй 3 главные контакты, систему управления 4 первым электромеханическим коммутатором 1, имеющую четыре входные вывода 5, 6, 7, 8 и механически связанную с первым электромеханическим коммутатором 1, причем под каждым выводом в элементах и цепях управления подразумевается два провода, транзистор 9, имеющий два силовых вывода 10, 11, один входной вывод 12 и один выходной вывод 13, систему управления 14 транзистором 9, имеющую два входных вывода 15, 16 и один выходной вывод 17, соединенное последовательно с нагрузкой 18, реле тока 19, имеющее два силовых вывода 20, 21 и два выходных вывода 22, 23, включающую кнопку 24, имеющую один выходной вывод 25, устройство защитного отключения 26, имеющее три выходных вывода 27, 28, 29, отключающую кнопку 30, имеющую три выходных вывода 31, 32, 33, реле контроля 34 транзистора 9, имеющее один входной вывод 35 и два выходных вывода 36, 37, блок информации 38, имеющий один входной вывод 39, второй электромеханический коммутатор 40, имеющий первый 41 и второй 42 главные контакты, систему управления 43 вторым электромеханическим коммутатором 40, имеющую четыре входных вывода 44, 45, 46, 47 и механически связанную с вторым электромеханическим коммутатором 40. Первый главный контакт 2 первого электромеханического коммутатора 1 соединен с первым положительным полюсом источника питания Е постоянного напряжения и механически связан с системой управления 4 первого электромеханического коммутатора 1, второй главный контакт 3 которого соединен с первым силовым выводом 20 реле тока 19, второй силовой вывод 21 которого соединен с нагрузкой 18, соединенной с вторым отрицательным полюсом источника питания Е постоянного напряжения, второй силовой вывод 11 транзистора 9, включенного в прямом направлении по отношению к полярности питающего постоянного напряжения, соединен с вторым главным контактом 3 первого электромеханического коммутатора 1, первый главный контакт 41 второго электромеханического коммутатора 40 соединен с первым главным контактом 2 первого электромеханического коммутатора 1, второй главный контакт 42 второго электромеханического коммутатора 40 соединен с первым силовым выводом 10 транзистора 9, первый выходной вывод 22 реле тока 19 соединен с первым входным выводом 8 системы управления первым электромеханическим коммутатором 1, выходной вывод 25 включающей кнопки 24, первый выходной вывод 27 устройства защитного отключения 26, первый выходной вывод 31 отключающей кнопки 30 соединены соответственно с вторым входным выводом 5, с третьим входным выводом 6 и с четвертым входным выводом 7 системы управления 4 первым электромеханическим коммутатором 1, второй выходной вывод 28 устройства защитного отключения 26, второй выходной вывод 32 отключающей кнопки 30 соединены соответственно с первым входным выводом 15, с вторым входным выводом 16 системы управления 14 транзистора 9, третий выходной вывод 29 устройства защитного отключения 26, третий выходной вывод 33 отключающей кнопки 30, второй выходной вывод 23 реле тока 19, первый выходной вывод 36 реле контроля 34 транзистора 9 соединены соответственно с первым входным выводом 44, с вторым входным выводом 45, с третьим входным выводом 46, с четвертым входным выводом 47 системы управления 43 вторым электромеханическим коммутатором 40, выходной вывод 17 системы управления 14 транзистором 9, входной вывод 35 реле контроля 34 транзистора 9 соединены соответственно с входным выводом 12, с выходным выводом 13 транзистора 9, выходной вывод 37 реле контроля 34 транзистора 9 соединен с входным выводом 39 блока информации 38.
Предлагаемое гибридное коммутационное устройство постоянного тока с предложенным способом отключения постоянного тока работает следующим образом. Поскольку предлагается способ и устройство отключения постоянного тока, процесс подключения нагрузки к сети постоянного напряжения рассматривать не будем, полагая, что в некоторый момент времени t0 в соответствии с фиг.1 нагрузка 18 с помощью включающей кнопки 24 по каналу 25, 5 включена и через нее и первый электромеханический коммутатор 1 протекает постоянный ток Iнагр по контуру: «+» – 1-19-18 – «-».
Процесс отключения постоянного тока в соответствии с предлагаемым изобретением может иметь два варианта. Первый вариант имеет место при отключении токов перегрузки или токов короткого замыкания. Второй вариант имеет место при отключении малых токов и всех токов, не превосходящих номинального значения тока нагрузки.
Процесс отключения постоянного тока по первому варианту происходит следующим образом. При появлении в цепи нагрузки 18 тока перегрузки или при возникновении короткого замыкания нагрузки 18 информация об этом от реле тока 19 по каналу 22, 8 поступает в систему управления 4 первого электромеханического коммутатора 1, который в соответствии со своим назначением обеспечивает отключение постоянного тока в рассматриваемом режиме, при этом конечно возникает усиленное дугообразование и усиленный электрический износ главных контактов 2, 3 первого электромеханического коммутатора. Однако по статистике рассматриваемый режим возникает крайне редко и на общий срок службы электромеханического коммутатора влияет незначительно.
Гораздо чаще возникает второй вариант отключения постоянного тока, а именно отключение малых постоянных токов, не превосходящих номинального значения тока нагрузки 18. Рассмотрим более подробно этот процесс отключения постоянного тока, когда сигнал об отключении появляется от устройства защитного отключения 26 или от отключающей кнопки 30. В этом случае в момент времени t1 от устройства защитного отключения 26 или от отключающей кнопки 30 появляется сигнал об отключении нагрузки 18, информация об этом подается от устройства защитного отключения 26 по каналу 27, 6 к системе управления 4 первым электромеханическим коммутатором 1 и по каналу 29, 44 к системе управления 43 вторым электромеханическим коммутатором 40 или от отключающей кнопки 30 по каналу 31, 7 к системе управления 4 первым электромеханическим коммутатором 1 и по каналу 33, 45 к системе управления 43 вторым электромеханическим коммутатором 40, от устройства защитного отключения 26 по каналу 28, 15 или от отключающей кнопки 30 по каналу 32, 16 к системе управления 14 транзистором 9, от системы управления 14 транзистором 9 по каналу 17, 12 к транзистору 9, при этом логическая часть систем управления 4, 14 и 43 обеспечивает следующую последовательность операций. В момент времени t1 включается второй электромеханический коммутатор 40, при этом через нагрузку 18 и через первый электромеханический коммутатор 1 протекает тот же самый ток Iнагр. В момент времени t2 включается транзистор 9 и отключается первый электромеханический коммутатор 1, при этом ток нагрузки 18 протекает по контурам
,
причем в момент времени t3 ток первого электромеханического коммутатора 1 становится равным нулевому значению, а ток второго электромеханического коммутатора 43 и транзистора 9 становится равным току нагрузки Iнагр. В момент времени t4 с некоторой задержкой по отношению к моменту времени t3 выключается транзистор 9, при этом ток транзистора 9 и второго электромеханического коммутатора 40 становится равным нулевому значению, эта информация от реле тока 19 по каналу 23, 46 подается на систему управления 43 вторым электромеханическим коммутатором 40. Напряжение на транзисторе 9 и на первом электромеханическом коммутаторе 1 становится равным питающему постоянному напряжению Е. В момент времени t5 с некоторой задержкой по отношению к моменту времени t4 выключается второй электромеханический коммутатор 40, при этом напряжение на транзисторе 9 становится равным нулевому значению, а напряжение на втором электромеханическом коммутаторе 40 становится равным питающему постоянному напряжению Е.
Таким образом, при исправном транзисторе 9 выключение первого электромеханического коммутатора 1 происходит в бестоковом режиме в момент времени t4, а выключение второго электромеханического коммутатора 40 происходит также в бестоковом режиме в момент времени t5, в результате чего существенно возрастает электрическая износостойкость первого 1 и второго 40 электромеханических коммутаторов и возрастает надежность предлагаемого способа отключения постоянного тока гибридным коммутационным устройством постоянного тока и самого гибридного коммутационного устройства постоянного тока, то есть достигается заявленный технический результат.
Если транзистор 9 выходит из строя, то эта информация по каналу 13, 35 поступает к реле контроля 34 транзистора 9, которое по каналу 36, 47 для системы управления 43 вторым электромеханическим коммутатором 40 формирует дублирующий сигнал на выключение второго электромеханического коммутатора 40, так как основной сигнал от реле тока 19 по каналу 23, 46 для системы управления 43 вторым электромеханическим коммутатором 40 при вышедшем из строя транзисторе 9 не формируется. В этом режиме второй электромеханический коммутатор 40 выключается с током, что вызывает его электрический износ. Однако, во-первых, по статистике вероятность разрушения транзистора 9 достаточно мала, во-вторых, при этом реле контроля 34 транзистора 9 формирует сигнал по каналу 37, 39 для блока информации 38, который предупреждает оператора о неисправности транзистора и недопущении включения коммутирующего устройства, либо автоматически за счет дополнительной связи с включающей кнопкой 24 запрещает это включение. В результате электрическая износостойкость первого и второго электромеханических коммутаторов практически не снижается.
Следует заметить, что при изменении полярности питающего постоянного напряжения полярность включения транзистора необходимо поменять на противоположную. Если нагрузка может работать в режиме рекуперации избыточной энергии в питающую сеть постоянного тока, как это имеет место при питании электротранспорта, то транзистор 9 необходимо включать по известной схеме к диагонали постоянного тока четырехдиодного моста, который диагональю переменного тока соединяется последовательно с вторым электромеханическим коммутатором 40 (см., например, Приложение 3, Л.4, стр.643, рис.12.11). Транзистор может быть заменен двухоперационным тиристором.
При последовательном соединении транзисторов реле контроля неисправностей транзисторов должно подключаться к каждому транзистору отдельно.
Необходимо также добавить, что для защиты полупроводниковых приборов – транзисторов и диодов – можно использовать известные различные защитные шунтирующие цепи: резистивные, конденсаторные, диодные, варисторные.
Для реализации предложенного изобретения необходимо в известное устройство ввести второй электромеханический коммутатор и систему управления этим коммутатором, а также реле контроля исправности транзистора и блок информации. Все это будет реализовано в ООО «Технос».
Формула изобретения
1. Способ отключения постоянного тока гибридным коммутационным устройством постоянного тока, заключающийся в том, что постоянные ток короткого замыкания или ток перегрузки отключают первым электромеханическим коммутатором, управляемым от реле постоянного тока, отличающийся тем, что постоянные номинальный и малые индуктивные токи отключают транзистором, соединенным последовательно со вторым электромеханическим коммутатором и включенным в прямом направлении по отношению к полярности питающей сети постоянного напряжения, причем транзистор и второй электромеханический коммутатор подсоединяют параллельно главным контактам первого электромеханического коммутатора и управляют ими от устройства защитного отключения или от отключающей кнопки с помощью систем управления, при этом вначале от устройства защитного отключения или от отключающей кнопки с помощью системы управления вторым электромеханическим коммутатором включают второй электромеханический коммутатор, затем от устройства защитного отключения или от отключающей кнопки с помощью системы управления транзистором включают транзистор и с помощью системы управления первым электромеханическим коммутатором выключают первый электромеханический коммутатор, затем с некоторой выдержкой времени, необходимой для перехода тока из цепи первого электромеханического коммутатора в цепь второго электромеханического коммутатора и транзистора при выключении первого электромеханического коммутатора, с помощью системы управления транзистором выключают транзистор, затем от реле тока при подходе тока транзистора к нулевому значению с помощью системы управления вторым электромеханическим коммутатором выключают второй электромеханический коммутатор, причем контролируют исправность транзистора с помощью реле контроля, при этом при выходе из строя транзистора от реле контроля, во-первых, формируют дублирующий сигнал для системы управления вторым электромеханическим коммутатором, которая выключает второй электромеханический коммутатор, во-вторых, формируют сигнал для блока информации о выходе из строя транзистора.
2. Гибридное коммутационное устройство постоянного тока для осуществления способа отключения постоянного тока в соответствии с п.1, содержащее первый электромеханический коммутатор, имеющий первый и второй главные контакты, систему управления первым электромеханическим коммутатором, имеющую четыре входных вывода и механически связанную с первым электромеханическим коммутатором, причем под каждым выводом в элементах и цепях управления подразумевается два провода, транзистор, имеющий два силовых вывода, один входной и один выходной выводы, причем транзистор включен в прямом направлении по отношению к полярности питающей сети постоянного напряжения, систему управления транзистором, имеющую два входных и один выходной вывод, реле тока, имеющее два силовых и два выходных вывода, включающую кнопку, имеющую один выходной вывод, устройство защитного отключения, имеющее три выходных вывода, и отключающую кнопку, имеющую три выходных вывода, при этом первый главный контакт первого электромеханического коммутатора соединен с первым полюсом источника постоянного напряжения и механически связан с системой управления первого электромеханического коммутатора, второй главный контакт которого соединен с первым силовым выводом реле тока, второй силовой вывод которого соединен с нагрузкой, соединенной с вторым полюсом источника постоянного напряжения, второй силовой вывод транзистора соединен с вторым главным контактом первого электромеханического коммутатора, первый выходной вывод реле тока соединен с первым входным выводом системы управления первым электромеханическим коммутатором, выходной вывод включающей кнопки соединен с вторым входным выводом системы управления первым электромеханическим коммутатором, первый выходной вывод устройства защитного отключения соединен с третьим входным выводом системы управления первым электромеханическим коммутатором, первый выходной вывод отключающей кнопки соединен с четвертым входным выводом системы управления первым электромеханическим коммутатором, выходной вывод системы управления транзистора соединен с входным выводом транзистора, отличающееся тем, что дополнительно введены второй электромеханический коммутатор, имеющий первый и второй главные контакты, система управления вторым электромеханическим коммутатором, имеющая четыре входных вывода и механически связанная с вторым электромеханическим коммутатором, реле контроля транзистора, имеющее один входной и два выходных вывода и блок информации, имеющий один входной вывод, при этом с первым главным контактом первого электромеханического коммутатора соединен первый главный контакт второго электромеханического коммутатора, второй главный контакт которого соединен с первым силовым выводом транзистора, при этом второй выходной вывод устройства защитного отключения соединен с первым входным выводом системы управления транзистором, третий выходной вывод устройства защитного отключения соединен с первым входным выводом системы управления вторым электромеханическим коммутатором, второй выходной вывод отключающей кнопки соединен с вторым входным выводом системы управления транзистором, третий выходной вывод отключающей кнопки соединен с вторым входным выводом системы управления вторым электромеханическим коммутатором, второй выходной вывод реле тока и первый выходной вывод реле контроля транзистора соединены соответственно с третьим и четвертым входными выводами системы управления вторым электромеханическим коммутатором, выходной вывод транзистора соединен с входным выводом реле контроля транзистора, второй выходной вывод которого соединен с входным выводом блока информации.
РИСУНКИ
|
|