|
|
(21), (22) Заявка: 2008141029/09, 15.10.2008
(24) Дата начала отсчета срока действия патента:
15.10.2008
(46) Опубликовано: 10.12.2009
(56) Список документов, цитированных в отчете о поиске:
RU 2168230 С2, 27.05.2001. RU 2242816 С1, 27.04.2004. JP 49040409 А1, 01.11.1974. JP 3030402 А, 08.02.1991.
Адрес для переписки:
620017, г.Екатеринбург, а/я 696, ООО “Технос”
|
(72) Автор(ы):
Мурадов Эльхан Шахбаба оглы (RU)
(73) Патентообладатель(и):
Общество с ограниченной ответственностью “Технос” (RU)
|
(54) ПОЛЯРИЗОВАННЫЙ ЭЛЕКТРОМАГНИТ
(57) Реферат:
Изобретение относится к электротехнике, а именно к коммутационным аппаратам, и может применяться для защиты выпрямительных установок от обратных токов. Технический результат изобретения заключается в повышении быстродействия, технологичности и расширении диапазона его эксплуатации. Поляризованный электромагнит содержит магнитопровод с катушкой управления, постоянный магнит, главный якорь и якорь свободного расцепления. Магнитопровод выполнен из двух П-образных частей, причем первая часть изготовлена шихтованной, а вторая часть не шихтованной, и части совмещены между собой так, что между ними образуется воздушный зазор. 4 ил.
Изобретение относится к электротехнике, а именно к коммутационным аппаратам, и может применяться для защиты выпрямительных установок от обратных токов.
Поляризованные электромагниты, удерживающиеся во включенном положении за счет магнитного потока в рабочем зазоре якоря, создаваемого постоянным магнитом, известны из следующих источников:
1. Патент на изобретение RU 2076377, 1994 г.;
2. Патент на изобретение RU 2168230, 1999 г.;
3. Патент на изобретение RU 2215162, 2002 г.;
4. Патент на изобретение RU 2242816, 2002 г.;
5. Патент на изобретение RU 2298243, 2004 г.;
6. Патент на изобретение RU 2076377,1994 г.;
7. А.И.Голубев. Быстродействующие автоматические выключатели. – М.-Л.: Энергия, 1964, рис.100, стр.210-215;
8. Автоматические быстродействующие выключатели постоянного тока. Учебно-методическое пособие по дисциплинам «Тяговые и трансформаторные подстанции» и «Городской электрический транспорт» для студентов специальности 101800 – «Электроснабжение железных дорог» – Самара: СамИИТ, 2001, стр.27-30.
Наиболее близким к патентуемому изобретению является поляризованный электромагнит выключателя по восьмому источнику. Поляризованный электромагнит по этому источнику состоит из магнитопровода с катушкой управления, постоянного магнита, главного якоря и якоря свободного расцепления.
Сложная кинематическая конструкция (вращение подвижных элементов вокруг различных осей) формирует большой по габаритам, массе и количеству деталей электромагнит.
Недостатком этого устройства является сложный технологический процесс при изготовлении электромагнита из-за выполнения большого количества деталей различной конфигурации.
Кроме того, при включении электромагниту необходимо создавать большие усилия для притяжения громоздких якорей с дополнительными приспособлениями. При этом большая масса подвижных частей препятствует силам отключения и соответственно замедляет процесс отключения электромагнита.
Задачей, на решение которой направлено предлагаемое изобретение, является создание поляризованного электромагнита с меньшими габаритами, высоким быстродействием и технологичной конструкцией.
Технический результат изобретения заключается в повышении технологичности конструкции при изготовлении, обеспечении высокого быстродействия при работе поляризованного электромагнита и расширении диапазона его эксплуатации.
Это достигается тем, что магнитопровод выполнен из двух П-образных частей, причем первая часть выполнена шихтованной, а вторая часть не шихтованной, и части совмещены между собой так, что между ними образуется воздушный зазор. Применение двух П-образных магнитопроводов упрощает конструкцию, а выполнение одной части магнитопровода не шихтованной создает упрощение технологии при изготовлении конструкции. При этом количество деталей (заклепки для шихтованного магнитопровода, дополнительные рычаги и оси для осуществления движения якорей) значительно сокращается. А это свидетельствует об уменьшении требуемой мощности электромагнита для приведения в движение меньшего числа деталей, а следовательно, уменьшении его габаритов и массы. За счет уменьшения массы подвижных частей электромагнита (главного якоря и якоря свободного расцепления) существенно повышается быстродействие в работе электромагнита. Выполнением воздушного зазора между частями П-образных частей, и изменяя, таким образом, магнитное сопротивление устройства, расширяется диапазон применения поляризованного электромагнита.
Изобретение поясняется примером выполнения поляризованного электромагнита.
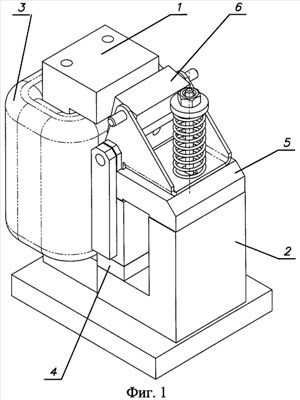
На фиг.1 изображен общий вид поляризованного электромагнита. На фиг.2 поляризованный электромагнит изображен в отключенном положении, на фиг.3 – то же в предвключенном положении, на фиг.4 -то же во включенном положении.
Поляризованный электромагнит содержит магнитопровод, выполненный из двух П-образных частей 1 и 2 (фиг.1), которые совмещены между собой с зазором 6 (фиг.2). Первая часть 1 П-образного магнитопровода выполнена не шихтованной, а вторая часть 2 – шихтованная, изготовлена из электротехнической стали. На первой части 1 магнитопровода установлена катушка управления 3. В одном из сердечников второй части 2 П-образного магнитопровода расположен постоянный магнит 4. Главный якорь 5 и якорь 6 свободного расцепления закреплены на общей оси 7. На этой же оси установлен рычаг 8, неподвижно закрепленный одним концом с якорем свободного расцепления, а другим подпружинен пружиной 9 свободного расцепления. Шина 10 главного тока коммутационного аппарата проходит в окне шихтованной части магнитопровода. Электромагнит установлен на неподвижно закрепленном основании 11.
Включение поляризованного электромагнита осуществляется следующим образом.
Для включения поляризованного электромагнита на катушку управления 3 необходимо подать соответствующее напряжение питания. При этом направление тока в катушке управления 3 подается таким, при котором магнитные потоки этой катушки 3 и постоянного магнита 4 имеют одинаковое направление. При подаче на катушку управления 3 включающего тока главный якорь 5 и якорь 6 свободного расцепления, преодолевая усилие пружины 9 свободного расцепления, электромагнитными силами притягиваются к магнитопроводу. Такое положение поляризованного электромагнита (фиг.3) устанавливает контакты (на фиг. не показаны) коммутационного аппарата в предвключенном положении. Через некоторый промежуток времени (обычно 0,5 с) напряжение питания с включаемой катушки снимается. Суммарный магнитный поток системы (от катушки управления и постоянного магнита) ослабевает. Якорь 6 свободного расцепления магнитным потоком постоянного магнита 4 не может удерживаться в притянутом к магнитопроводу положении и под действием пружины 9 свободного расцепления отпадает, выполняя вращательное движение вокруг оси 7 по часовой стрелке, и этим переводит контакты коммутационного аппарата во включенное положение. При этом направление магнитного потока, создаваемого главным током коммутационного аппарата и протекаемого по шине 10, и направление магнитного потока от постоянного магнита 4 совпадают.
При аварийном отключении главный ток в шине 10 меняет направление на противоположное. Суммарный магнитный поток (от постоянного магнита и шины коммутационного аппарата) ослабевает настолько, что главный якорь 5 не может удерживаться в притянутом положении и под действием отключающей пружины (на фиг. не показана) незамедлительно отпадает. Поляризованный электромагнит, а вместе с ним и коммутационный аппарат переводится в отключенное положение.
Таким образом, за счет того что магнитопровод выполнен из двух П-образных частей, причем первая часть выполнена шихтованной, а вторая часть не шихтованной, и части совмещены между собой так, что между ними образуется воздушный зазор, достигнуто быстродействие конструкции, повышена технологичность изготовления и расширен диапазон его эксплуатации.
Формула изобретения
Поляризованный электромагнит, содержащий магнитопровод с катушкой управления, постоянный магнит, главный якорь и якорь свободного расцепления, отличающийся тем, что магнитопровод выполнен из двух П-образных частей, причем первая часть выполнена шихтованной, а вторая часть – нешихтованной, и части совмещены между собой так, что между ними образуется воздушный зазор.
РИСУНКИ
|
|