|
|
(21), (22) Заявка: 2006122544/09, 26.11.2004
(24) Дата начала отсчета срока действия патента:
26.11.2004
(30) Конвенционный приоритет:
26.11.2003 GB 0327522.9
(43) Дата публикации заявки: 20.01.2008
(46) Опубликовано: 10.12.2009
(56) Список документов, цитированных в отчете о поиске:
WO 01/91065A1, 29.11.2001. RU 2001113726 A, 20.06.2003. EP 1189106 A2, 20.03.2002. US 6402025 A, 11.06.2002. EP 1258842 A2, 30.11.2002. EP 1031949 A1, 30.08.2000.
(85) Дата перевода заявки PCT на национальную фазу:
26.06.2006
(86) Заявка PCT:
GB 2004/005007 20041126
(87) Публикация PCT:
WO 2005/055159 20050616
Адрес для переписки:
129090, Москва, ул. Б.Спасская, 25, стр.3, ООО “Юридическая фирма Городисский и Партнеры”, пат.пов. С.А.Дорофееву, рег. 146
|
(72) Автор(ы):
БЕЛЛ Малкольм (GB), ХАТТОН Лес (GB)
(73) Патентообладатель(и):
МАНИ КОНТРОЛЗ ЛИМИТЕД (GB)
|
(54) УПАКОВОЧНОЕ УСТРОЙСТВО И КОНТЕЙНЕР ДЛЯ ЛИСТОВЫХ ОБЪЕКТОВ
(57) Реферат:
Изобретение относится к упаковочному устройству (1) для упаковки пачки листовых объектов, которые имеют приписываемую денежную стоимость, в контейнере (4). Техническим результатом является повышение надежности упаковки пачки и удобства пользования такой упаковкой. При этом устройство (1) содержит средство (34, 35) определения данных о стоимости, связанных с денежной стоимостью, приписываемой листовому объекту, который должен быть упакован в пачку в контейнере (4), и радиочастотное устройство (52) считывания/записи для записи упомянутых данных о стоимости в RFID-устройство (21), ассоциативно связанное с контейнером (4) с возможностью его повторного использования. 6 н. и 61 з.п. ф-лы, 26 ил.
ОБЛАСТЬ ТЕХНИКИ
Настоящее изобретение относится к упаковке листовых объектов, которые имеют приписываемую денежную стоимость, например бумажных денег, таких как банкноты или аналогичные простые векселя.
УРОВЕНЬ ТЕХНИКИ
До сих пор банкноты считались в машинах подсчета банкнот и оборачивались в пачки с помощью бумажных лент. Кроме того, вакуумные упаковочные машины использовались для того, чтобы паковать пачки банкнот в герметичные пакеты, которые освобождены от воздуха и запечатаны. Банкноты, упакованные таким образом, могут легко перевозиться без риска воровства отдельных пачек. Тем не менее вакуумные упаковочные машины являются дорогими и обычно используются только для обращения с большими объемами банкнот.
Для вариантов применения с небольшими объемами, например, в розничной продаже могут быть использованы такие устройства, как приемник купюр и купонов/талонов со штрихкодом WACS 5 (Всемирная Кассетная Система Приемников), при этом эти устройства имеют кассетную систему укладывания в пачки. Кассета содержит металлическую коробку, которая принимает банкноты и аналоги из приемника банкнот. Кассета может хранить порядка 500 банкнот. Кассета может быть изъята оператором и перенесена в безопасное место, где она опустошается для дальнейшей передачи банкнот, например, в банк. Проблема с обычной кассетой заключается в том, что прохождение отдельной кассеты в ходе перемещения POS-терминала (кассового терминала) в банк или счетный центр не может быть прослежено. Таким образом, если кассета потеряна или украдена после изъятия из POS-терминала, потеря или кража может быть неочевидна, причем может быть трудно определить точку, в которой произошла потеря или кража.
Другая проблема с кассетной системой заключается в том, что она может быть открыта при перевозке, а также возникает риск воровства. Более того, кассета не обеспечивает готовой индикации того, что она была открыта и что, возможно, произошло воровство.
СУЩНОСТЬ ИЗОБРЕТЕНИЯ
Согласно одному аспекту настоящего изобретения создано упаковочное устройство для упаковывания пачки листовых объектов, которые имеют приписываемую денежную стоимость, в контейнер, содержащее средство определения данных о стоимости, относящихся к листовому объекту, который должен быть упакован в пачки в контейнере; и радиочастотное устройство считывания/записи для записи упомянутых данных о стоимости в RFID-устройство, ассоциативно связанное с контейнером.
Данные о стоимости могут относиться к денежной стоимости, приписываемой упомянутому листовому объекту, и/или положению упомянутого листового объекта в упомянутой пачке.
Устройство может содержать запечатывающее устройство для запечатывания контейнера с RFID-устройством внутри.
Согласно другому аспекту настоящего изобретения создана упаковочная система для упаковывания пачки листовых объектов, которые имеют приписываемую денежную стоимость, в контейнер, содержащая:
(i) упаковочное устройство, включающее в себя средство определения первых данных о стоимости, относящихся к листовому объекту, который должен быть упакован в пачки в контейнере; и радиочастотное устройство считывания/записи для записи первых данных о стоимости в RFID-устройство,
(ii) по меньшей мере, один контейнер, имеющий форму, соответствующую пачке листовых объектов и придаваемую упаковочным устройством, и
(iii) RFID-устройство, ассоциативно связанное с контейнером.
Согласно еще одному аспекту настоящего изобретения создан способ транспортировки листовых объектов, которые имеют приписываемую денежную стоимость, при котором: определяют первые данные о стоимости, относящиеся к пачке листовых объектов, упакованных в контейнере; и записывают упомянутые первые данные о стоимости в RFID-устройство, ассоциативно связанное с контейнером.
Согласно еще одному другому аспекту настоящего изобретения создано упаковочное устройство для упаковывания пачки листовых объектов, которые имеют приписываемую денежную стоимость, в контейнер, содержащее средство определения данных о стоимости, относящихся к листовому объекту, который должен быть упакован в пачки в контейнере; и радиочастотное устройство считывания для считывания идентификационной информации из RFID-устройства, ассоциативно связанного с контейнером.
Согласно еще одному другому аспекту настоящего изобретения создана упаковочная система для упаковывания пачки листовых объектов, которые имеют приписываемую денежную стоимость, в контейнер, содержащая:
(i) упаковочное устройство, включающее в себя средство определения первых данных о стоимости, относящихся к листовому объекту, который должен быть упакован в пачки в контейнере; и радиочастотное устройство считывания для считывания идентификационной информации из RFID-устройства, ассоциативно связанного с контейнером,
(ii) по меньшей мере, один контейнер, имеющий форму, соответствующую пачке листовых объектов и придаваемую упаковочным устройством,
(iii) RFID-устройство, ассоциативно связанное с контейнером,
(iv) первое средство обработки, имеющее первую базу данных для хранения идентификационной информации, считываемой из RFID-устройства, в ассоциативной связи с упомянутыми первыми данными о стоимости.
Согласно еще одному аспекту настоящего изобретения создан способ транспортировки листовых объектов, которые имеют приписываемую денежную стоимость, при котором:
определяют первые данные о стоимости, относящиеся к пачке листовых объектов, упакованных в контейнере;
считывают идентификационную информацию из RFID-устройства, ассоциативно связанного с контейнером;
сохраняют упомянутую идентификационную информацию в первой базе данных в ассоциативной связи с упомянутыми первыми данными о стоимости.
Согласно еще одному аспекту настоящего изобретения создан контейнер для размещения пачки листовых объектов, имеющих приписываемую денежную стоимость, упакованных в нем, и RFID-устройство, ассоциативно связанное с контейнером.
Предпочтительно контейнер содержит закрывающий элемент, запечатывающий RFID-устройство внутри контейнера.
RFID-устройство может быть RFID-меткой чтения/записи или RFID-меткой только для чтения.
КРАТКОЕ ОПИСАНИЕ ЧЕРТЕЖЕЙ
Варианты осуществления настоящего изобретения теперь будут описаны посредством примера со ссылкой на прилагаемые чертежи.
Фиг.1 – схематичный вид в перспективе упаковочного устройства и ассоциативно связанного контейнера одноразового использования в соответствии с изобретением в закрытой конфигурации с контейнером, приспособленным и готовым для использования.
Фиг.2 – вид, соответствующий виду с фиг.1, но с открытым устройством, чтобы принимать контейнер, перед использованием.
Фиг.3 – вид, соответствующий виду с фиг.1 и показывающий вставку закрывающего элемента, который запечатывается в контейнере.
Фиг.4 – схематичный вид в перспективе первого примера контейнера.
Фиг.5 – частично отделенный вид в перспективе контейнера с одной из крепежных направляющих в открытом положении.
Фиг. 6 – вид, соответствующий виду с фиг.5, но с крепежной направляющей в закрытом положении.
Фиг.7a – частичный вид в разрезе одной стороны контейнера, когда он пуст, по линии A-A’ с фиг.5 с крепежной направляющей в открытом положении.
Фиг.7b – частичный вид в разрезе другой стороны контейнера, когда он заполнен банкнотами, по линии A-A’ с фиг.5 с крепежной направляющей в открытом положении.
Фиг.8 – вид в продольном сечении упаковочного устройства с пустым контейнером.
Фиг.9a-9d – виды упаковочного устройства в поперечном разрезе, иллюстрирующие работу приводного механизма для заполнения контейнера.
Фиг.10 – вид, соответствующий виду с фиг.8, но с полным контейнером.
Фиг.11 – вид сверху контейнера, показанного на фиг.10, когда он изъят из упаковочного устройства.
Фиг.12 – вид в разрезе устройства разгрузки контейнера для выгрузки содержимого контейнера, готового к использованию.
Фиг.13 – вид в разрезе устройства разгрузки после использования.
Фиг.14 – пример схемы проверки подлинности упаковочного устройства с фиг.8.
Фиг.15 – схема, иллюстрирующая пример процесса транспортировки полного контейнера от POS-терминала в банк согласно настоящему изобретению.
Фиг.16a и 16b – иллюстрации использования дополнительных радиочастотных устройств для отслеживания контейнера через дверной проем магазина или банка в процессе фиг.15.
Фиг.17 – вид сверху контейнера, в котором RFID-метка прикреплена к оборотной стороне закрывающего элемента.
Фиг.18 – вид в поперечном разрезе другого варианта осуществления контейнера.
Фиг.19 – вид в продольном сечении контейнера, показанного на фиг.18.
Фиг.20 – вид в перспективе крепежной направляющей контейнера с фиг.18 и 19.
Фиг.21 – схематичный вид в перспективе другого варианта осуществления изобретения, в котором контейнер не имеет встроенной пружины.
ПОДРОБНОЕ ОПИСАНИЕ ИЗОБРЕТЕНИЯ
Пример изобретения, проиллюстрированный на чертежах, служит для упаковки банкнот, и при использовании в данном документе термин «банкнота» означает простой вексель, в частности вексель центрального банка или другой правительственной организации, оплачиваемый предъявителю по требованию для использования в качестве денег, также известный как «бумажные деньги», а в США как «валюта» или «купюра».
Как показано на фиг.1, упаковочное устройство 1 выполнено с возможностью приема отдельных банкнот 2 через входную щель 3 и упаковывания их в пачки в съемном контейнере 4. Упаковочное устройство 1 может быть установлено в кассе розничного магазина, например контрольно-кассовом аппарате супермаркета, для того, чтобы банкноты могли быть упакованы в контейнер 4 и затем безопасно транспортированы в удаленное место, такое как помещение кассы.
Упаковочное устройство 1 содержит основной корпус 5 и каркас 6, установленный на основном корпусе 5 для того, чтобы принимать контейнер 4. Каркас 6 шарнирно прикреплен к основному корпусу 5 в данном примере, с тем чтобы он мог перемещаться между закрытым положением, показанным на фиг.1, в открытое положение, показанное на фиг.2 для того, чтобы выступать в качестве стыковочного механизма, который позволяет вставлять и извлекать контейнер 4 из каркаса 6 и основного корпуса 5. Контейнер 4 имеет в основном прямоугольную форму, которая подробно описана далее, с периферийной кромкой 7. Каркас 6 задает выходной проход 8, посредством которого контейнер 4 выдается, как показано на фиг.1, с кромкой 7, вставленной между основным корпусом 5 и каркасом 6.
Как показано на фиг.3, когда контейнер заполняется банкнотами 2, закрывающий элемент в форме карты 9 опечатывания вставляется во второй входной порт 10 в основном корпусе 5 для того, чтобы опечатать нагревом контейнер 4. Таким образом, когда каркас 6 открывается, как показано на фиг.2, предоставляется опечатанный контейнер, содержащий банкноты для транспортировки в помещение кассы.
Как показано на фиг.4, контейнер 4 изготовлен в виде неразъемной формы из термопластичного материала и содержит, как правило, прямоугольное отверстие 11, ограниченное кромкой 7, основание 12 и боковые стенки 13, 14, 15, 16, которые проходят от основания к отверстию и кромке 7. Боковые стенки 13, 14, 15, 16 выполнены гофрированными для обеспечения жесткости.
Размеры отверстия 11 выбираются таким образом, чтобы обеспечить введение банкноты конкретного достоинства, при этом боковые стенки 14, 16 длиннее боковых стенок 13, 15.
Основание 12 выполнено формовкой с гофрами 17, которые размещены между центральной областью 18 крепления основания и боковыми стенками 13, 16. В этом примере область 18 имеет эллиптическую форму, но как станет очевидно из последующего описания, могут быть использованы другие формы. Гофры 17 выступают в качестве пружины сжатия для того, чтобы с усилием направлять область 18 к отверстию 11, когда следующие одна за другой банкноты вставляются в контейнер 4.
Продолговатые зазубренные крылья 19, 20 шарнирно прикреплены к кромке 7 вдоль длинных сторон контейнера 4. Крылья 19, 20 первоначально имеют конфигурацию, показанную на фиг.4, и, как результат, множество контейнеров 4 может быть уложено в пачку один внутри другого, обеспечивая возможность запасу контейнеров быть легко доставляемым и хранимым рядом с упаковочным устройством 1 на кассе, готовыми к использованию.
Чтобы подготовить контейнер 4 к использованию в упаковочном устройстве 1, относительно жесткая прямоугольная метка 21 радиочастотной идентификации (RFID) (не показана на фиг.4, но проиллюстрирована на фиг.8) размещается в области 18 крепления основания. RFID-метка 21 может быть в форме отпечатанного рулона либо могут быть использованы другие методики. Более подробная информация о RFID-метках может быть получена из «Руководства по RFID», Klaus Finkenzeller, 1999, John Wiley & Sons. В настоящем варианте осуществления RFID-метка 21 является меткой для чтения/записи. Обычно, такая метка имеет диапазон считывания примерно 2 метра и допускает хранение примерно 2 КБ данных.
RFID-метка 21 может содержать формованный пластиковый элемент, который подсоединен к области 18 крепления основания посредством связывающих штифтов и держателей 22. RFID-метка 21 проходит к боковым стенкам контейнера 4 для того, чтобы поддерживать банкноты. Далее крылья 19, 20 шарнирно крепятся внутрь из положения, показанного на фиг.4, в направлении стрелок X. Как подробнее описано ниже, крылья 19, 20, когда они изогнуты внутрь, выступают в качестве направляющих для того, чтобы позволять банкнотам проходить вдоль них для вставки в контейнер 4 через отверстие 11.
Крыло 19 показано в первоначальном идущем наружу положении на фиг.5 и в изгибающемся внутрь положении на фиг.6. Крыло 19 содержит поверхность 23 основной направляющей, образованную с помощью последовательности пазов, которые приводят к зубцам 24, внешнюю кромку 25, шарнирную линию 26 и соединяющую поверхность 27, которая соединяет поверхность 23 основной направляющей с шарнирной линией 26.
Когда крылья 19, 20 изогнуты внутрь в направлении стрелки X и контейнер вставлен в упаковочное устройство 1, соединяющая поверхность 27 присоединена к кромке 7 посредством упаковочного устройства 1 в области 28, показанной на фиг.7b. На фиг.7a крыло 19 показано в первоначальном идущем наружу положении без банкнот 2 в контейнере 4 и с пружинными гофрами 17 в начальном несжатом состоянии. Фиг.7b иллюстрирует конфигурацию, когда контейнер 4 заполнен пачкой 29 банкнот 2. В этом случае RFID-метка 21 сжата вниз для того, чтобы принять пачку 29 банкнот, тем самым сжимая гофры 17 в основании контейнера 4. Крыло 19 шарнирно закреплено внутрь в направлении стрелки X и присоединено в области 28 к кромке 7 таким образом, что зубцы 24 обеспечивают низко расположенный стопор для того, чтобы удерживать пачку 29 банкнот в контейнере 4.
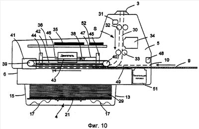
Далее подробно описан способ, которым упаковочное устройство 1 заполняет контейнер 4 банкнотами 2. Как показано на фиг.8, на которой показан вид в поперечном разрезе упаковочного устройства 1 с контейнером 4, размещенным в каркасе 6, пустым и готовым принимать банкноты 2. Основной корпус 5 включает в себя входной канал 30, который проходит от первого входного прохода 3 через сканер S банкнот в выходной проход 8 каркаса 6. Когда банкнота 2 вставляется в первый входной проход 3, она распознается оптическим датчиком 31, который активирует пары 32, 33 приводных роликов для того, чтобы проводить банкноту 2 мимо датчика 34 проверки подлинности, подключенного к схеме 35 проверки подлинности, установленной на печатной плате 36. Датчик 34 проверки подлинности и ассоциативно связанная схема 35 могут соответствовать технологии Ardac, описанной в Патенте США 4348656. В случае, если датчиком 34 и ассоциативно связанной схемой 35 определяется, что банкнота 2 является подлинной, а не поддельной, пары 32, 33 приводных роликов транспортируют банкноту 2 в направлении выходного прохода 8. В противном случае пары 32, 33 роликов приводятся в обратном направлении, с тем чтобы банкнота 2 выбрасывалась из входного прохода 3.
При условии, что банкнота 2 принимается, она проходит ролики 32, 33 в направлении механизма привода банкнот, который в данном примере включает в себя пару приводных ремней 37, 38, более подробно показанных на фиг.9a, которые захватывают продольные боковые края банкноты 2 и перемещают ее вровень с выходным проходом 8. Более подробно, ремень 38 проходит между шкивами 39, 40, которые приводятся двигателем 41 в направлении стрелок Y, так чтобы банкнота 2 протаскивалась ремнями 37, 38 в направлении, обратном основной грани, вдоль входного канала 30, до тех пор, пока не выровняется с выходным проходом 8.
Механизм привода банкнот также включает в себя плунжер 42 в форме жесткой пластины, которая установлена для перемещения вниз между ремнями 37, 38, так чтобы направлять банкноту 2 в контейнер 4. С этой целью двигатель 43 приводит две пары эллиптических кулачков 44, 45 через привод 46, 47 трансмиссии, схематично проиллюстрированный пунктирным контуром. При использовании кулачки 44, 45 вращаются в направлении стрелок Z (показаны на фиг.9b) для направления плунжера 42 вместе с банкнотой 2 в контейнер 4 посредством отверстия 11 в направлении, перпендикулярном плоскости банкноты, когда она поступает в отверстие 11 вдоль входного тракта 30.
Этот процесс показан более подробно на фиг.9a-9d. Согласно фиг.9a банкнота 2 направляется ремнями 37, 38 вдоль поверхностей 23 основных направляющих изогнутых внутрь крыльев 19, 20. Поверхности 23 основных направляющих выступают в качестве полозьев для того, чтобы поддерживать продольные боковые края банкноты 2. Когда банкнота 2 выравнивается с выходным проходом 8 в каркасе 6, с двигателем 43 осуществляются действия для того, чтобы поворачивать кулачки 44, 45 вниз, как показано на фиг.9b. Как результат, плунжер 42 перемещается вниз в направлении стрелки D, так чтобы банкнота 2 перемещалась вниз в контейнер мимо его крыльев 19, 20. Боковые края 2a, 2b банкноты деформируются так, что они выходят из поверхностей 23 основных направляющих по мере того, как плунжер 42 перемещается вниз мимо зубцов 24, так что вся банкнота 2 поступает в контейнер 4. По мере того как кулачки 44, 45 продолжают вращаться, плунжер 42 и банкнота 2 направляются вниз к RFID-метке 21, так чтобы сжать гофры 17, тем самым позволяя боковым краям 2a, 2b банкноты 2 располагаться плоско и зайти под зубцы 24.
Кулачки 44, 45 затем поворачиваются в исходное положение готовности захватить следующую банкноту 2′, показанную на фиг.9c. Таким образом, банкнота 2 вставляется в контейнер 4 и прижимается в нем сжимающей силой пружинных гофров 17 к зубцам 24, которые выступают в качестве стопора для того, чтобы удерживать банкноту 2 в контейнере 4.
Последующие банкноты вставляются в контейнер 4 для образования пачки 29 банкнот, как показано на фиг.9d, с самой верхней банкнотой, удерживаемой под зубцами 24.
На фиг.10 показана пачка 29 в контейнере 4 с RFID-меткой 21, перемещенной вниз. Сжимающая сила пружинных гофров 17 поднимает пачку 29 вверх к зубцам 24 для того, чтобы прочно удерживать банкноты в контейнере 4.
Когда контейнер 4 заполнен, оператор вставляет закрывающий элемент 9 посредством второго входного прохода 10. Закрывающий элемент 9 представляет собой оптически прозрачный или полупрозрачный лист пластикового материала. Закрывающий элемент 9 обнаруживается оптическим датчиком 48 и перемещается вдоль приемного канала 49 закрывающего элемента, который проходит во входной тракт 30 для банкнот, так чтобы быть захваченным и направленным приводными ремнями 37, 38, до тех пор, пока не выровняется с выходным проходом 8 способом, аналогичным укладыванию банкнот в пачку. Закрывающий элемент 9 таким образом размещается над входом 11 контейнера 4, при этом боковые края элемента 9 проходят над поверхностями 23 основных направляющих крыльев 19, 20 по более длинным сторонам контейнера 4, а также над кромкой 7 по более коротким сторонам контейнера 4. Как показано на фиг.9d, основной корпус 6 упаковочного устройства включает в себя электрические нагреватели 50. При использовании, когда закрывающий элемент 9 выравнивается с отверстием 11 контейнера 4, нагреватели 50 включаются, опечатывая нагревом закрывающий элемент 9 на крыльях 19, 20, а также присоединяя сами крылья к кромке 7 контейнера 4, т.е. образуя сварной шов 28, показанный на фиг.7.
Как показано на фиг.10, основной корпус 5 включает в себя RFID-устройство 52 считывания/записи, предназначенное для считывания данных и записи данных на RFID-метку 21. Датчик 34 проверки подлинности и ассоциативно связанная схема 35 предназначены для определения денежной стоимости, приписываемой каждой банкноте, упакованной в контейнере 4. Таким образом, данные о стоимости, содержащие информацию, такую как денежная стоимость, приписываемая каждой банкноте, упакованной в контейнере 4, общее число упакованных банкнот и число упакованных банкнот различного достоинства, помимо другой информации, могут быть записаны на RFID-метку 21 с помощью RFID-устройства 52 считывания/записи. Данные о стоимости таким образом могут содержать запись о порядке, в котором банкноты различного достоинства уложены в пачке в контейнере, которая может быть использована для того, чтобы определить, было ли обворовано содержимое контейнера 4 после того, как он был опечатан. Альтернативно, достоинство банкнот наверху и внизу пачки 29 может быть сохранено таким образом, чтобы признак того, что произошло воровство, мог быть получен из визуального осмотра верхней и нижней купюры в пачке 29 при просмотре через прозрачные стенки опечатанного контейнера 4. Альтернативно, достоинство последней банкноты, которая должна быть упакована в контейнер, может быть записано для разрешения споров в случае, когда клиент задает вопрос о достоинстве банкноты, которую он использовал, чтобы выполнить транзакцию в POS.
После опечатывания закрывающего элемента 9 на контейнере 4 каркас 6 может быть открыт, как показано на фиг.2, и опечатанный контейнер может быть транспортирован в другое место, например в помещение кассы. Результирующие упакованные банкноты не могут легко быть подделаны в ходе перевозки, поскольку закрывающий элемент 9 опечатан нагревом к контейнеру 4, защищающий его содержимое. Если опечатанный контейнер 4 открыт, это становится очевидно и контейнер 4 не может быть больше повторно использован в упаковочном устройстве 1. Таким образом, риск подделки существенно снижается.
На фиг.11 показан контейнер 4 в виде сверху с закрывающим элементом 9, опечатанным нагревом к крыльям 19, 20 и кромке 7. Напечатанные данные, такие как число банкнот в контейнере, их достоинство и время и место, где они были упакованы (не показано), могут быть напечатаны на оборотной стороне закрывающего элемента 9 посредством печатающей головки 51, показанной на фиг.8.
Закрывающий элемент 9 включает в себя ось ослабления 53 для того, чтобы облегчать открытие контейнера 4, когда он заполнен банкнотами. Закрывающий элемент 9 может быть отжат вниз вручную в его центре, с тем чтобы разорвать закрывающий элемент 9 по линии ослабления 53. Затем содержимое может быть изъято.
Следует понимать, что контейнер 4 не может быть повторно использован для упаковки банкнот в упаковочном устройстве 1 после того, как контейнер 4 был открыт, предоставляя четкое указание того, был ли подделан контейнер 4 после закрытия. Более того, когда он открыт, данные, напечатанные на закрывающем элементе 9, могут быть использованы для того, чтобы проверять содержимое контейнера 4.
Процесс открытия контейнера может быть автоматизирован посредством устройства, проиллюстрированного на фиг.12 и 13. Устройство опустошает содержимое контейнера 4 в лоток 54, принимаемый на опоре 55 под платформой 56, которая включает в себя выпускное отверстие 57 с размерами, соответствующими отверстию 11 контейнера 4. При использовании контейнер 4 размещается вверх дном с отверстием 11, совпадающим с выпускным отверстием 57. Поршень 58 приводится в действие вниз в направлении стрелки R с силой, достаточной для того, чтобы сжать боковые стенки 13, 14, 15, 16 контейнера 4 и вдавить пачку 29 банкнот к закрывающему элементу 9, приводя к ее вскрытию по линии ослабления 53. Непрерывное перемещение поршня 58 в направлении стрелки R заставляет банкноты деформироваться за пределы зубцов 24 и опускаться в лоток 54, как показано на фиг.13. После этого лоток 54 может быть изъят из устройства. Поршень 58 освобождается, и остатки контейнера 4 сбрасываются.
Устройство автоматической распаковки контейнера 4 может дополнительно быть оснащено радиочастотным устройством 67 считывания/записи, процессором 68 и счетчиком (не показан) для автоматического подсчета содержимого контейнера 4. Счетчик может содержать любой подходящий счетчик банкнот, которые хорошо известны в данной области техники. Содержимое контейнера 4 поэтому может быть согласовано с информацией, сохраненной в RFID-метке 21 с помощью радиочастотного устройства 67 считывания/записи, процессора 68 и счетчика, которые будут описаны подробнее далее.
Далее описан процесс переноса банкнот из POS-терминала 69 в магазине S в банк или счетный центр C со ссылкой на фиг.14 и 15.
Сначала RFID-метку 21 помещают на дно пустого контейнера 4. Контейнер 4 затем загружают в упаковочное устройство 1 оператором в POS-терминале 69. Когда транзакция клиента завершена, оператор может вставить банкноту 2 и т.п. через входной проход 3 упаковочного устройства 1. Банкноты, вставленные через входной проход 3, сохраняются в контейнере 4 согласно вышеописанному способу.
По мере того как последующие банкноты вставляются через входной проход 3, достоинство каждой банкноты определяется датчиком 34 проверки подлинности и схемой 34 проверки подлинности. Как показано на фиг.14, схема 35 проверки подлинности может содержать контроллер 70 и память 71. В этом случае контроллер 70 работает так, чтобы принимать сигнал от датчика 34 проверки подлинности, определять достоинство банкноты 2 и управлять радиочастотным устройством 52 считывания/записи для того, чтобы записывать данные о стоимости на RFID-метку 21 в контейнере 4, содержащие достоинство банкноты 2, помимо времени и даты, в которое банкнота 2 вставлена, и имени оператора, который ее вставил. Альтернативно, в ответ на управляющий сигнал из контроллера 70 эта информация может быть сохранена в памяти 71 вместе с соответствующей информацией по другим банкнотам, упакованным в контейнере 4. Информация, сохраненная в памяти 71, далее может быть перенесена на RFID-метку 21 в контейнере 4 посредством радиочастотного устройства 52 считывания/записи, в ответ на управляющий сигнал из контроллера 70.
Когда контейнер 4 полон или есть дополнительные транзакции, которые должны быть выполнены, контейнер 4 запечатывается с помощью закрывающего элемента 9 согласно вышеописанному способу. В это время информация, сохраненная на RFID-метке 21 запечатанного контейнера 4, может быть загружена в систему 72 обработки документации (S100). Система 72 обработки документации может быть оснащена средством 78 отображения для просмотра информации, сохраненной в RFID-метке 21. Бумажная копия содержимого опечатанного контейнера 4 также может быть напечатана в POS-терминале 69.
Дополнительные радиочастотные устройства считывания/записи могут быть использованы для отслеживания прохождения опечатанного контейнера 4 от POS-терминала 69 в банк или счетный центр. Как показано на фиг.16a, дверной проем 73 в магазин S, в котором расположен POS-терминал 69, может быть снабжен радиочастотным устройством 74 считывания/записи для обнаружения RFID-метки 21 в контейнере 4, когда контейнер 4 проходит через него. В это время радиочастотное устройство 74 считывания/записи может записывать информацию об отслеживании, такую как время/дата/место, в котором была обнаружена RFID-метка 21, в RFID-метку 21 в контейнере 4. Эта информация об отслеживании также может быть передана в систему 72 обработки документации магазина, с тем чтобы позволить пользователю отслеживать прохождение контейнера 4 по пути в банк с помощью средства 78 отслеживания. Альтернативно, как показано на фиг.16b, радиочастотное устройство 74 считывания/записи может вызывать оповещение 75, когда обнаружено прохождение контейнера 4 через дверной проем 73. Радиочастотное устройство считывания/записи для записи информации отслеживания в RFID-метке 21 также может быть установлено в транспортном средстве, используемом для транспортировки контейнера 4, и на входах в банк или счетный центр C.
Когда контейнер 4 поступает в банк или счетный центр C, контейнер 4 автоматически распаковывается согласно способу, описанному со ссылкой на фиг.12 и 13, и содержимое контейнера 4 подсчитывается с помощью устройства 76 автоматической распаковки и подсчета (S110). В это время счетчик устройства 76 автоматической распаковки и подсчета генерирует данные о стоимости, которые могут быть согласованы с данными о стоимости POS, сохраненными в RFID-метке 21, для определения того, что содержимое контейнера 4 не было подделано или изменено.
Радиочастотное устройство 67 считывания/записи на устройстве 76 автоматической распаковки и подсчета может быть использовано для того, чтобы считывать информацию, сохраненную в RFID-метке 21, под управлением процессора 68. Данные о стоимости POS, считываемые из RFID-метки 21, затем могут быть сравнены с данными о стоимости банка, сгенерированными с помощью счетчика на устройстве 76 автоматической распаковки и подсчета. Если данные о стоимости банка отличаются от данных о стоимости POS, считываемых из RFID-метки 21, или если время, уходящее на то, чтобы транспортировать контейнер 4 из POS-терминала 69, превышает заданный порог, то может быть инициировано оповещение.
Когда определено, что данные о стоимости банка согласованы с данными о стоимости POS, считываемыми из RFID-метки 21, то согласованные данные о стоимости могут быть сохранены в базе данных банковской системы 77 для аудита/управления кредитом (S120). Банковская система 77 может быть оснащена средством 79 отображения для просмотра информации, считываемой из RFID-метки 21, и содержимого контейнера 4, определенного устройством 76 распаковки/подсчета. Информация из RFID-метки 21 затем может быть стерта с помощью радиочастотного устройства 67 считывания записи на устройстве 76 распаковки/подсчета в ответ на сигнал управления от процессора 68 или иным способом, и сама метка может быть удалена из контейнера 4 так, чтобы она могла быть повторно использована (S130).
Содержимое контейнера 4 также может быть согласовано с одним или более из информации, напечатанной на закрывающем элементе 9, и с бумажной копией содержимого контейнера 4, напечатанной в POS-терминале 69. Пустой контейнер 4 и закрывающий элемент 9 затем могут быть отправлены на перерабатывающий завод R для возможности их повторного использования (S140).
В другом варианте осуществления настоящего изобретения содержимое контейнера может быть отслежено с помощью множества сетевых систем, содержащих систему 72 обработки документации магазина и систему 77 обработки документации. В этом примере RFID-метки, используемые для отслеживания контейнеров, являются RFID-метками только для чтения, каждая из которых имеет идентификационную информацию, такую как уникальный серийный номер, сохраненный в ней. Поскольку используются RFID-метки только для чтения, радиочастотное устройство 52 считывания/записи, описанное в предыдущем варианте осуществления, может быть заменено на радиочастотное устройство считывания в текущем варианте осуществления.
Далее со ссылкой на фиг.14 и 15 описывается процесс переноса банкнот из POS-терминала 69 в магазине S в банк или счетный центр C во втором варианте осуществления.
Сначала оператор регистрируется в системе 72 магазина в POS-терминале 69. Далее RFID-метку только для чтения помещают вниз пустого контейнера 4. Контейнер 4 затем загружается в упаковочное устройство 1 оператором. Радиочастотное устройство считывания в упаковочном устройстве 1 считывает идентификационную информацию, сохраненную в RFID-метке в контейнере 4. Идентификационная информация затем сохраняется в базе данных системы 72 обработки документации.
Когда клиентская транзакция завершена, оператор может вставить банкноту 2 или аналог через входной проход 3 упаковочного устройства 1. Банкноты, вставленные через входной проход 3, сохраняются в контейнере 4 согласно вышеописанному способу. По мере того как последующие банкноты вставляются через входной проход 3, достоинство каждой банкноты определяется датчиком 34 проверки подлинности и схемой 34 проверки подлинности. Как показано на фиг.14, схема 35 проверки подлинности может содержать контроллер 70 и память 71. В ответ на управляющий сигнал от контроллера 70 данные о стоимости POS, содержащие достоинство банкноты, упакованной в контейнере 4, помимо времени, в которое она была упакована, и оператора, который упаковал ее, может быть сохранена в системе 72 обработки документации банка в записи базы данных, ассоциативно связанной с идентификационной информацией в RFID-метке контейнера 4 (S100).
Альтернативно, информация может быть сохранена в памяти 71 в ответ на управляющий сигнал от контроллера 70. Затем, когда смена оператора завершается или когда контейнер 4 заполняется, контейнер 4 может быть запечатан с помощью закрывающего элемента 9 согласно вышеописанному способу. В это время информация, сохраненная в памяти 71, может быть перенесена в базу данных системы 72 обработки документации банка под управлением контроллера 70. Система 72 обработки документации банка может быть оснащена средством 78 отображения для просмотра информации, сохраненной в базе данных.
Контейнер 4 после его запечатывания может быть изъят из упаковочного устройства 1 и транспортирован в банк или счетный центр C (S110). Дополнительные радиочастотные устройства считывания могут быть использованы для того, чтобы отслеживать прохождение опечатанного контейнера 4 от POS-терминала 69 в банк или счетный центр C. Как показано на фиг.16a, дверной проем 73 в магазине S, в котором расположен POS-терминал 69, может быть снабжен радиочастотным устройством 74 считывания для обнаружения RFID-метки в контейнере 4, когда контейнер 4 проносят через него. Радиочастотное устройство 74 считывания может считывать идентификационную информацию из RFID-метки и обновлять соответствующую запись базы данных в системе обработки документации 72 магазина информацией отслеживания, например, временем/датой, когда контейнер 4 пронесли через дверной проем 73. Альтернативно, как показано на фиг.16b, когда радиочастотное устройство 74 считывания в дверном проеме 73 обнаруживает RFID-метку в контейнере 4, может быть инициировано оповещение 75.
Входы в банк или счетный центр C могут аналогично быть оснащены радиочастотными устройствами считывания для считывания идентификационной информации из RFID-метки в контейнере 4 и обновления базы данных в банковской системе 77 с идентификационной информацией RFID-метки и информацией отслеживания, такой как дата/время, когда контейнер 4 вносят в банк.
После его доставки в банк C контейнер 4 может быть автоматически распакован согласно способу, описанному со ссылкой на фиг.12 и 13, и содержимое может быть подсчитано с помощью устройства 76 автоматической распаковки и подсчета (S110). В это время счетчик устройства 76 автоматической распаковки и подсчета генерирует данные о стоимости банка, которые могут быть согласованы с данными о стоимости POS для того, чтобы определить, что содержимое контейнера 4 не было изменено. Устройство 76 автоматической распаковки/подсчета может содержать радиочастотное устройство 67 считывания для считывания идентификационной информации из RFID-метки в контейнере 4, и процессор 68 для управления передачей идентификационной информации и данными о стоимости банка, сгенерированными счетчиком, в банковскую систему 77. Идентификационная информация и данные о стоимости банка затем сохраняются в базе данных банковской системы 77 (S120). Банковская система 77 может быть оснащена средством 79 отображения для просмотра информации, сохраненной в базе данных банка.
В ответ на прием идентификационной информации и данных о стоимости банка из устройства 76 автоматической распаковки и подсчета банковская система 77 может отправить сигнал запроса в систему 72 магазина по Интернету или посредством другого известного сетевого соединения, запросив данные о стоимости POS, ассоциативно связанные с идентификационной информацией, считанной из RFID-метки.
В ответ на сигнал запроса система 72 обработки документации банка может передать данные о стоимости POS в банковскую систему 77 по Интернету или иным способом, которые могут быть сохранены в базе данных банка в ассоциативной связи с идентификационной информацией, считанной из RFID-метки, под управлением банковской системы 77 (S150). Затем банковская система может сравнить данные о стоимости банка с данными о стоимости POS. В случае, если данные о стоимости банка, определенные устройством 76 автоматического подсчета, отличаются от данных о стоимости POS, может быть инициировано оповещение. Альтернативно, в случае, если данные о стоимости банка согласованы с данными о стоимости POS, согласованные данные о стоимости в базе данных банка могут быть использованы для аудита/управления кредитом.
После этого RFID-метка может быть изъята из пустого контейнера 4, и записи базы данных, связанные с идентификационной информацией в RFID-метке, могут быть удалены, с тем чтобы метку можно было повторно использовать (S130). Пустой контейнер 4 может быть отправлен на завод R для возможности повторного использования (S140).
Как показано на фиг.17, в случае вышеописанных примеров настоящего изобретения RFID-метка может быть разъемно присоединена к оборотной стороне закрывающего элемента 9, с тем чтобы, когда закрывающий элемент 9 присоединялся к контейнеру 4, RFID-метка опечатывалась внутри контейнера 4. В этом случае отдельная прямоугольная пластина, составленная из листа пластикового материала или картона, может быть помещена на основание 18 контейнера 4 для того, чтобы выполнять функцию поддержания банкнот 2 ровными по мере того, как они упаковываются. Когда контейнер 4 опустошается, RFID-метка может быть снята с закрывающего элемента 9 и повторно использована до того, как повторно используется контейнер 4. В случае, когда RFID-метка является RFID-меткой для чтения/записи и размещена на закрывающем элементе 9, предпочтительно, чтобы информация, связанная с содержимым контейнера 4, записывалась только в RFID-метку, когда контейнер 4 запечатан. Более того, когда RFID-метка является RFID-меткой только для чтения и размещена на закрывающем элементе 9, предпочтительно, чтобы серийный номер RFID-метки только считывался, и содержимое контейнера 4 сохранялось в системе обработки документации магазина, когда контейнер запечатан.
На фиг.18-20 показан модифицированный вариант контейнера 4, который устраняет необходимость использования элемента отдельной пластины. В контейнере с фиг.4 RFID-метка 21 выступает в качестве пластины для того, чтобы обеспечить жесткую опору для относительно гибких банкнот, по мере того, как они укладываются в пачку в контейнере 4, так чтобы боковые края банкнот могли быть надежно соединены впритык к нижней стороне зубцов 24. Без относительно жесткой пластины относительно гибкие банкноты могут сворачиваться вокруг области 18 крепления основания, причем гофры 17 имеют куполообразную конфигурацию, так что банкноты не удерживаются надежно на нижних сторонах зубцов 24. В контейнере, показанном на фиг.18-20, пластина выполнена в виде единого целого из двух частей 21a, 21b с основой контейнера 4. Как показано на фиг.18, пластина 21a проходит практически по всей ширине контейнера 4, так чтобы пачка 29 банкнот в контейнере поддерживалась по всей ширине банкнот посредством относительно жесткой пластины 21a. Гофрированные области 17a вокруг пластины 21a приводят к встроенной пружине сжатия с основной сжимающей силой, обеспечиваемой посредством областей 17a’, показанных на фиг.19 в виде продолговатых частей 17a”, обеспечивая меньший эффект пружины. Следует понимать, что область 21b пластины сконфигурирована аналогичным способом с окружающими встроенными пружинами 17b. В случае, когда контейнер имеет выполненную внутри пластину 21a, 21b, предпочтительно, чтобы RFID-метка была разъемно присоединена к оборотной стороне закрывающего элемента 9, как описано выше.
Другой вариант осуществления изобретения показан на фиг.21, который, в общем, аналогичен примеру, показанному на фиг.1-3, с той разницей, что контейнер 4 не содержит встроенную формованную пластину в основании, а вместо этого функция пружины выполняется посредством внешнего загрузочного ящика 59, который присоединен к оборотной стороне каркаса 6.
Контейнер 4 целиком отформован из пластикового материала и имеет в основном прямоугольную кромку 7 и крылья 19, 20, которые функционируют, как описано выше, со складывающимися боковыми стенками 60, 61, 62, 63, которые проходят к плоскому основанию 64. Контейнер 4 помещается в упаковочное устройство так, как описано выше, в каркасе 6, и загрузочный ящик 59 прикрепляется к его нижней стороне. Складывающиеся боковые стенки 60-63 не выполняют явной функции пружины для банкнот, уложенных в пачку в контейнере 4. Вместо этого загрузочный ящик 59 содержит пластину 65, которая прижимается пружинами 66 сжатия к основанию 64 контейнера 4, когда банкноты укладываются в пачку посредством упаковочного устройства 1. Закрывающий элемент 9 затем вставляется через вход 10 и опечатывается нагревом на контейнере 4, как описано выше. Опечатанный контейнер затем извлекается из каркаса 6 и загрузочного ящика 59 для транспортировки в удаленное место, где он открывается в защищенных условиях и затем ликвидируется, выполнив свою полезную функцию и больше не допуская прием пачки банкнот из упаковочного устройства 1. В варианте осуществления, описанном со ссылкой на фиг.21, предпочтительно, чтобы RFID-метка разъемно присоединялась к оборотной стороне закрывающего элемента 9, как описано выше.
В дополнительном варианте осуществления настоящего изобретения RFID-метка может быть включена или заключена в кассете, как, например, в вышеописанной WACS 5 (Всемирная Кассетная Система Приемников). Таким образом, можно легко хранить запись содержимого отдельной кассеты и отслеживать прохождение кассеты от POS в счетный центр или банк.
В объем изобретения входят множество модификаций и изменений описанных вариантов осуществления. Например, хотя описана упаковка банкнот, другие листовые объекты с приписываемой денежной стоимостью могут быть упакованы в соответствии с изобретением, такие как талоны или купоны, которые могут быть со штрихкодом, и контрольные талоны, предоставляющие скидку или другую схему поощрений.
Формула изобретения
1. Упаковка для пачки денежных объектов (29), содержащая контейнер (4) для размещения денежных объектов, который однажды открытый не может быть использован повторно как эта же упаковка, и RFID-устройство (21), предназначенное для упаковывания внутрь контейнера так, чтобы быть извлекаемым из контейнера, когда тот открывается, для повторного использования в другом упомянутом контейнере.
2. Упаковка по п.1, содержащая в себе закрывающий элемент (9) для запечатывания RFID-устройства внутри контейнера.
3. Упаковка по п.1, в которой RFID-устройство (21) представляет собой RFID-метку для чтения/записи.
4. Упаковка по п.1, в которой RFID-устройство (21) представляет собой RFID-метку только для чтения.
5. Упаковка по п.1, содержащая внутри себя пачку (29) листовых денежных объектов (2).
6. Упаковка по п.5, в которой RFID-устройство содержит элемент, который образует основание для пачки (29) листовых денежных объектов.
7. Упаковка по п.2, в которой RFID-устройство разъемно присоединено к оборотной стороне закрывающего элемента (9).
8. Упаковка по любому из предшествующих пунктов, в которой контейнер (4) изготовлен из перерабатываемого пластического материала.
9. Способ обработки денежных объектов (2), при котором упаковывают денежные объекты, складывая их в пачку в контейнере (4), который однажды открытый не может быть повторно использован для того же упаковывания, и предусматривают RFID-устройство внутри контейнера так, чтобы быть извлекаемым из контейнера, когда тот открывается, для повторного использования в другом упомянутом контейнере.
10. Способ по п.9, при котором открывают контейнер (4), извлекают денежные объекты (2) из открытого контейнера, извлекают RFID-устройство из контейнера (4) и повторно используют RFID-устройство, когда упаковывают денежные объекты в другой упомянутый контейнер (4).
11. Способ по п.10, при котором отправляют открытый контейнер (4) для повторного использования (S140) после извлечения из него денежных объектов и RFID-устройства.
12. Способ по п.10 или 11, при котором удаляют данные из RFID-устройства, извлеченного из контейнера (S130).
13. Способ по п.9, при котором записывают в RFID-устройство данные, соответствующие денежным объектам, расположенным в пачке в контейнере.
14. Способ по п.9, при котором запечатывают закрывающий элемент (9) на контейнере с пачкой (29) денежных объектов внутри.
15. Способ по п.14, при котором предусматривают RFID-устройство (21) на закрывающем элементе (9) внутри контейнера.
16. Способ по п.9, при котором предусматривают RFID-устройство как элемент, который образует основание для пачки (29) денежных объектов (2).
17. Упаковочная система для упаковывания пачки листовых объектов, которые имеют приписываемую денежную стоимость, в контейнер, содержащая (i) упаковочное устройство, включающее в себя средство определения первых данных о стоимости, относящихся к листовому объекту, который должен быть упакован в пачки в контейнере; и радиочастотное устройство считывания/записи для записи первых данных о стоимости в RFID-устройство, (ii) по меньшей мере, один контейнер (4), имеющий форму, соответствующую пачке листовых объектов и придаваемую упаковочным устройством, и закрываемый так, чтобы будучи однажды открытым, контейнер не мог быть повторно использован, и (iii) RFID-устройство (21), размещаемое в контейнере и извлекаемое из него, когда контейнер открыт, для использования при упаковывании листовых объектов в другой упомянутый контейнер.
18. Система по п.17, содержащая первое средство обработки, имеющее первую базу данных для хранения упомянутых первых данных о стоимости.
19. Система по п.18, содержащая средство отображения для отображения данных, сохраненных в упомянутой первой базе данных, пользователю.
20. Система по любому из пп.17-19, содержащая распаковочное устройство для извлечения листовых объектов из контейнера и определения вторых данных о стоимости, связанных с листовыми объектами, извлеченными из контейнера.
21. Система по п.20, в которой распаковочное устройство содержит радиочастотное средство считывания первых данных о стоимости, сохраненных в RFID-устройстве.
22. Система по п.21, содержащая второе средство обработки, имеющее вторую базу данных для сохранения первых данных о стоимости, считываемых из RFID-устройства, и вторых данных о стоимости, определенных распаковочным устройством.
23. Система по п.22, содержащая оповещение, в которой второе средство обработки предназначено для сравнения упомянутых первых данных о стоимости с упомянутыми вторыми данными о стоимости и инициирования оповещения в случае, когда первые данные о стоимости не согласованы со вторыми данными о стоимости.
24. Система по п.22, в которой второе средство обработки предназначено для сравнения упомянутых первых данных о стоимости с упомянутыми вторыми данными о стоимости и управления упомянутым радиочастотным средством, чтобы удалять первые данные о стоимости из RFID-устройства в случае, когда первые данные о стоимости согласованы со вторыми данными о стоимости.
25. Система по пп.22, 23 или 24, содержащая средство отображения для отображения данных, сохраненных в другой базе данных, пользователю.
26. Система по п.17, содержащая радиочастотный детектор для обнаружения RFID-устройства, предназначенный для записи информации отслеживания в RFID-устройство.
27. Система по п.26, в которой радиочастотный детектор выполнен с возможностью передачи упомянутой информации отслеживания первому средству обработки, которое сохраняет упомянутую информацию отслеживания в первой базе данных в ассоциативной связи с первыми данными о стоимости.
28. Система по п.26, в которой радиочастотный детектор выполнен с возможностью передачи упомянутой информации отслеживания второму средству обработки, которое сохраняет упомянутую информацию отслеживания во второй базе данных в ассоциативной связи с первыми данными о стоимости.
29. Система по п.26, в которой информация отслеживания содержит время или дату, когда RFID-устройство обнаружено RF-детектором.
30. Система по п.17, содержащая оповещение и радиочастотный детектор для обнаружения RFID-устройства, при этом радиочастотный детектор выполнен с возможностью инициирования оповещения в ответ на обнаружение RFID-устройства.
31. Система по п.17, в которой упаковочное устройство содержит запечатывающее устройство для запечатывания контейнера, и RFID-устройство размещено таким образом, чтобы быть запечатанным внутри контейнера.
32. Система по п.31, содержащая закрывающий элемент, который запечатывают посредством запечатывающего устройства на контейнере.
33. Система по п.32, в которой RFID-устройство разъемно присоединено к закрывающему элементу.
34. Система по п.17, в которой первые и/или вторые данные о стоимости относятся к денежной стоимости, приписываемой упомянутым листовым объектам и/или числу листовых объектов в пачке.
35. Способ транспортировки листовых объектов (2), которые имеют приписываемую денежную стоимость, при котором определяют первые данные о стоимости, относящиеся к пачке (29) листовых объектов (2), упакованных в контейнере (4), который закрыт таким образом, чтобы будучи однажды открытым, контейнер не мог быть повторно использован; записывают упомянутые первые данные о стоимости в RFID-устройство (21), ассоциативно связанное с контейнером; и запечатывают RFID-устройство (21) внутри контейнера таким образом, чтобы устройство (21) могло быть повторно использовано, когда контейнер открыт для извлечения пачки (29).
36. Способ по п.35, при котором сохраняют упомянутые первые данные о стоимости в первой базе данных.
37. Способ по п.35, при котором распаковывают пачку листовых объектов из контейнера; определяют вторые данные о стоимости, связанные с пачкой листовых объектов; считывают первые данные о стоимости из RFID-устройства; извлекают RFID-устройство из контейнера для повторного использования и сохраняют упомянутые первые данные о стоимости и упомянутые вторые данные о стоимости во второй базе данных.
38. Способ по п.37, при котором сравнивают первые данные о стоимости со вторыми данными о стоимости и инициируют оповещение в случае, когда первые данные о стоимости не согласованы со вторыми данными о стоимости.
39. Способ по п.37, при котором сравнивают первые данные о стоимости со вторыми данными о стоимости и удаляют первые данные о стоимости из RFID-устройства в случае, когда первые данные о стоимости согласованы со вторыми данными о стоимости.
40. Способ по п.35, при котором обнаруживают RFID-устройство в рамках заранее определенной области и записывают информацию отслеживания на RFID-устройство.
41. Способ по п.40, при котором сохраняют информацию отслеживания в первой базе данных и/или второй базе данных.
42. Способ по п.40, при котором информация отслеживания содержит время и/или дату, когда RFID-устройство обнаружено.
43. Способ по п.35, при котором обнаруживают RFID-устройство в заданной области и инициируют оповещение.
44. Способ по п.35, при котором первые и/или вторые данные о стоимости относятся к денежной стоимости, приписываемой упомянутой пачке листовых объектов и/или числу листовых объектов в упомянутой пачке.
45. Упаковочная система для упаковывания пачки листовых объектов, которые имеют приписываемую денежную стоимость, в контейнер, содержащая (i) упаковочное устройство, включающее в себя средство определения первых данных о стоимости, относящихся к листовому объекту, который должен быть упакован в пачки в контейнере; и радиочастотное устройство считывания для считывания идентификационной информации из RFID-устройства, ассоциативно связанного с контейнером, (ii) по меньшей мере, один контейнер, предназначенный для заполнения пачкой листовых объектов посредством упаковочного устройства и закрытый так, чтобы будучи однажды открытым, контейнер не мог быть повторно использован, и (iii) RFID-устройство (21) для размещения внутри закрытого контейнера и изъятия из него, когда закрытый контейнер открыт, для использования при упаковывании листовых объектов в другой упомянутый контейнер, и (iv) первое средство обработки, имеющее первую базу данных для хранения идентификационной информации, считываемой из RFID-устройства в ассоциативной связи с упомянутыми первыми данными о стоимости.
46. Система по п.45, содержащая средство отображения для отображения данных, сохраненных в упомянутой первой базе данных, пользователю.
47. Система по п.45, содержащая распаковочное устройство для извлечения листовых объектов из контейнера и определения вторых данных о стоимости, связанных с листовыми объектами, извлеченными из контейнера.
48. Система по п.47, в которой распаковочное устройство содержит радиочастотное средство считывания идентификационной информации, сохраненной в RFID-устройстве.
49. Система по п.48, содержащая второе средство обработки, имеющее вторую базу данных для сохранения идентификационной информации, считываемой из RFID-устройства, в ассоциативной связи со вторыми данными о стоимости, определенными распаковочным устройством.
50. Система по п.49, содержащая средство отображения для отображения информации, сохраненной во второй базе данных, пользователю.
51. Система по п.49, в которой упомянутое второе средство обработки предназначено для отправления по сети сигнала запроса упомянутому первому средству обработки, при этом упомянутый сигнал запроса связан с идентификационной информацией, считываемой из RFID-устройства.
52. Система по п.51, в которой первое средство обработки предназначено для передачи данных, сохраненных в первой базе данных в ассоциативной связи с идентификационной информацией, по сети второму средству обработки в ответ на прием упомянутого сигнала запроса.
53. Система по п.52, в которой второе средство обработки предназначено для сохранения данных, принимаемых от первого средства обработки, во второй базе данных в ассоциативной связи с идентификационной информацией, считываемой из RFID-устройства.
54. Система по п.51, в которой сигнал запроса и/или данные, сохраненные в первой базе данных, передаются по Интернету.
55. Система по п.45, содержащая радиочастотный детектор для обнаружения RFID-устройства, предназначенный для считывания идентификационной информации, сохраненной в RFID-устройстве, и передачи информации отслеживания первому средству обработки, при этом первое средство обработки выполнено с возможностью сохранения упомянутой информации отслеживания в ассоциативной связи с идентификационной информацией, считываемой посредством радиочастотного детектора, в упомянутой первой базе данных.
56. Система по п.55, в которой информация отслеживания содержит время или дату, когда RFID-устройство обнаружено RF-детектором.
57. Система по п.45, содержащая оповещение и радиочастотный детектор для обнаружения RFID-устройства, при этом радиочастотный детектор предназначен для инициирования оповещения в ответ на обнаружение RFID-устройства.
58. Система по п.45, в которой упаковочное устройство содержит запечатывающее устройство для запечатывания контейнера, и RFID-устройство размещено таким образом, чтобы быть запечатанным в контейнере.
59. Система по п.58, содержащая закрывающий элемент, который запечатывают посредством запечатывающего устройства на контейнере.
60. Система по п.59, в которой RFID-устройство разъемно присоединено к закрывающему элементу.
61. Система по п.45, в которой первые и/или вторые данные о стоимости относятся к денежной стоимости, приписываемой упомянутым листовым объектам и/или числу листовых объектов в упомянутой пачке.
62. Способ транспортировки листовых объектов, которые имеют приписываемую денежную стоимость, при котором определяют первые данные о стоимости, относящиеся к пачке листовых объектов, упакованных в контейнере, который закрыт таким образом, чтобы будучи однажды открытым, контейнер не мог быть повторно использован; считывают идентификационную информацию из RFID-устройства, ассоциативно связанного с контейнером; сохраняют упомянутую идентификационную информацию в первой базе данных в ассоциативной связи с упомянутыми первыми данными о стоимости и запечатывают RFID-устройство (21) внутри контейнера таким образом, чтобы устройство (21) могло быть извлечено и повторно использовано, когда контейнер откроют один раз для извлечения пачки (29).
63. Способ по п.62, при котором обнаруживают RFID-устройство в заданной области; считывают идентификационную информацию, сохраненную в RFID-устройстве; и сохраняют информацию отслеживания в первой базе данных в ассоциативной связи с идентификационной информацией.
64. Способ по п.63, при котором информация отслеживания содержит время и/или дату, когда RFID-устройство обнаружено.
65. Способ по п.63, при котором обнаруживают RFID-устройство в заданной области и инициируют оповещение.
66. Способ по п.63, при котором распаковывают пачку листовых объектов из контейнера; определяют вторые данные о стоимости, связанные с пачкой листовых объектов; считывают идентификационную информацию из RFID-устройства; извлекают первые данные о стоимости, ассоциативно связанные с идентификационной информацией, считанной из RFID-устройства, из первой базы данных; и сохраняют упомянутые первые данные о стоимости и упомянутые вторые данные о стоимости во второй базе данных в ассоциативной связи с идентификационной информацией, считываемой из RFID-устройства.
67. Способ по п.66, при котором сравнивают упомянутые первые данные о стоимости со вторыми данными о стоимости и инициируют оповещение в случае, когда первые данные о стоимости не согласованы со вторыми данными о стоимости.
РИСУНКИ
|
|