|
|
(21), (22) Заявка: 2007106554/09, 19.07.2005
(24) Дата начала отсчета срока действия патента:
19.07.2005
(30) Конвенционный приоритет:
22.07.2004 DE 102004035494.4
(43) Дата публикации заявки: 27.08.2008
(46) Опубликовано: 10.12.2009
(56) Список документов, цитированных в отчете о поиске:
DE 10127837 A1, 23.01.2003. ЕР 1158459 A, 28.11.2001. RU 35455 U1, 10.01.2004. RU 2172982 C1, 27.08.2001. US 6061121 A, 09.05.2000. US 3922090 A, 25.11.1975.
(85) Дата перевода заявки PCT на национальную фазу:
22.02.2007
(86) Заявка PCT:
EP 2005/007872 20050719
(87) Публикация PCT:
WO 2006/010537 20060202
Адрес для переписки:
101000, Москва, М.Златоустинский пер., 10, кв.15, “ЕВРОМАРКПАТ”, пат.пов. И.А.Веселицкой, рег. 11
|
(72) Автор(ы):
ГИРИНГ Томас (DE), БЛОСС Михаэль (DE), ДЕККЕНБАХ Вольфганг (DE), КЛАРА Мартин (DE), ЭРЛЬ Ханс-Петер (DE)
(73) Патентообладатель(и):
ГИЗЕКЕ УНД ДЕВРИЕНТ ГМБХ (DE)
|
(54) УСТРОЙСТВО И СПОСОБ ДЛЯ ПРОВЕРКИ ЦЕННЫХ ДОКУМЕНТОВ
(57) Реферат:
Изобретение относится к средствам проверки ценных документов. Техническим результатом является обеспечение надежной проверки с помощью компактного датчика люминесценции. При осуществлении способа проверяемый ценный документ для возбуждения люминесцентного излучения освещают и регистрируют исходящее от ценного документа люминесцентное излучение со спектральным разрешением. Благодаря освещению на транспортируемом в направлении (Т) мимо датчика (12) люминесценции проверяемом ценном документе (BN) освещаемого участка (35), вытянутого в этом направлении (Т) транспортировки, обеспечивается возможность эффективной регистрации характеристик люминесцентного излучения также тех ценных документов, которые испускают лишь очень слабое люминесцентное излучение. 2 н. и 31 з.п. ф-лы, 13 ил.
Настоящее изобретение относится к устройству и способу для проверки ценных документов, в частности люминесцирующих ценных документов, предусматривающим освещение ценного документа и регистрацию исходящего от ценного документа люминесцентного излучения со спектральным разрешением.
Подобные люминесцирующие ценные документы могут представлять собой, например, банкноты, чеки, купоны или чип-карты. Настоящее изобретение предназначено, прежде всего, для проверки банкнот, хотя эта область не ограничивает возможностей применения изобретения. В бумаге, из которой изготавливаются банкноты, или в печатной краске обычно содержится защитное, т.е. предназначенное для защиты от подделки, вещество или смесь нескольких защитных веществ, способных люминесцировать, например флуоресцировать или фосфоресцировать.
Существует ряд известных систем для проверки подлинности подобных ценных документов. Подобная система известна, например, из DE 2366274 С2. При применении этой системы для проверки подлинности банкноты, т.е. в конкретном случае для проверки фактического наличия флуоресцирующего защитного вещества в проверяемой банкноте, ее освещают под углом и регистрируют флуоресценцию, исходящую от банкноты перпендикулярно ее поверхности, со спектральным разрешением, используя интерференционный светофильтр. Анализ результатов измерения проводится путем сравнения сигналов от разных фотоэлементов спектрометра.
В большинстве случаев эта система работает очень надежно. Однако существует потребность в датчике люминесценции, обладающем еще более компактной конструкцией и способном проверять банкноты с достаточной надежностью даже очень низких интенсивностей регистрируемого люминесцентного излучения.
Исходя из вышеизложенного в основу настоящего изобретения была положена задача разработать такие устройство и способ для проверки люминесцирующих ценных документов, которые обеспечивали бы надежную проверку с помощью компактного датчика люминесценции.
Указанная задача решается совокупностью признаков независимых пунктов формулы изобретения. Предпочтительные варианты осуществления изобретения приведены в зависимых пунктах формулы изобретения и в последующем описании.
Благодаря тому, что проверяемый ценный документ, транспортируемый мимо датчика люминесценции в направлении транспортировки, освещается на участке, вытянутом в направлении транспортировки, эффективность измерения излучения достигается также для ценных документов с очень слабой люминесценцией. Это существенно повышает качество измерений, особенно измерений фосфоресценции.
Необходимо особо отметить то, что признаки, представленные в зависимых пунктах формулы изобретения и в последующем описании указанных вариантов осуществления изобретения, можно использовать в комбинации или же независимо друг от друга и от объектов, представленных в независимых пунктах формулы изобретения, т.е. например, применительно к устройствам, которые не создают или не освещают вытянутого в направлении транспортировки освещаемого участка, или измеряют излучение, отличное от люминесцентного.
Другие преимущества настоящего изобретения более подробно рассмотрены ниже со ссылкой на прилагаемые чертежи, на которых показано:
на фиг.1 – схематичный вид устройства для сортировки банкнот,
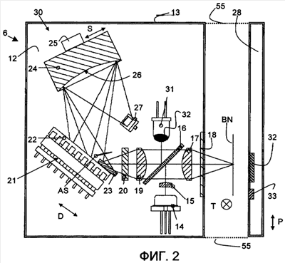
на фиг.2 – схематичный вид сбоку на внутреннее устройство выполненного в соответствии с изобретением датчика люминесценции, который может применяться в устройстве для сортировки банкнот, показанном на фиг.1,
на фиг.3 – вид сверху компонентов датчика люминесценции, показанного на фиг.2,
на фиг.4 – схематичный вид сбоку на внутреннее устройство другого варианта выполненного согласно изобретению датчика люминесценции, который может применяться в устройстве для сортировки банкнот, показанном на фиг.1,
на фиг.5 – схематичный вид банкноты для пояснения применения датчика люминесценции, показанного на фиг.2 и 3,
на фиг.6 – вид сверху варианта детекторной линейки для применения в датчике люминесценции, показанном на фиг.2,
на фиг.7 – вид сверху другого варианта детекторной линейки для применения в датчике люминесценции, показанном на фиг.2,
на фиг.8 – вид в разрезе по линии 1-1 на фиг.7,
на фиг.9 – схематичная иллюстрация процесса считывания данных с детекторной линейки датчика люминесценции, показанного на фиг.2 или 4,
на фиг.10 – схематичный вид сбоку на внутреннее устройство другого варианта выполненного согласно изобретению датчика люминесценции,
на фиг.11 – схематичное изображение выполненного согласно изобретению датчика люминесценции с внешним источником света,
на фиг.12 – схематичное изображение части еще одного выполненного согласно изобретению датчика люминесценции и
на фиг.13 – схематичное изображение детекторной части согласно изобретению датчика люминесценции.
Предлагаемые в изобретении устройства могут использоваться в устройствах всех типов, осуществляющих проверку оптического излучения, прежде всего люминесцентного излучения. Ниже в качестве предпочтительного, но не ограничивающего объем изобретения варианта его применения рассматривается проверка банкнот в устройствах, которые могут использоваться для обработки банкнот, например, для их подсчета, и/или сортировки, и/или приема в качестве платежного средства, и/или выдачи банкнот.
На фиг.1 в качестве примера представлено подобное устройство 1 для сортировки банкнот. При этом устройство 1 для сортировки банкнот имеет в корпусе 2 загрузочный карман или лоток 3 для банкнот BN, в который обрабатываемые банкноты BN могут быть уложены снаружи или вручную, или автоматически, например пачки банкнот, при необходимости после предшествующего удаления бандеролей. Банкноты BN, уложенные в загрузочный карман 3, поштучно отделяются от стопки листоотделяющим устройством 4 и перемещаются транспортировочным устройством 5 через измерительное устройство 6. При этом измерительное устройство 6 может иметь один или несколько сенсорных модулей, собранных в общем корпусе или размещенных в отдельных корпусах. При этом сенсорные модули могут использоваться, например, для проверки подлинности, и/или состояния, и/или номинала проверяемых банкнот BN. После прохождения через измерительное устройство 6 в зависимости от результатов проверки, полученных измерительным устройством 6, и от заданных критериев сортировки проверенные банкноты BN рассортировываются с помощью стрелок 7 и соответствующих укладчиков 8 со спиральными отделениями в приемные лотки или карманы 9, из которых они могут извлекаться вручную либо транспортироваться автоматически, при необходимости после их предварительного обандероливания или упаковывания. Кроме того, можно предусмотреть шреддер 10 для уничтожения банкнот BN, классифицированных как подлинные и уже непригодные для дальнейшего обращения. При этом для управления устройством 1 для сортировки банкнот используется компьютеризованный блок 11 управления.
Как уже указано выше, измерительное устройство 6 может иметь различные сенсорные модули. При этом измерительное устройство 6 отличается, в частности, наличием сенсорного модуля 12 для проверки люминесцентного излучения (люминесценции), в дальнейшем кратко называемого датчиком 12 люминесценции. На фиг.2 в разрезе сечения схематично показаны внутренняя конструкция и компоновка оптических компонентов особо компактного датчика 12 люминесценции, выполненного по одному из вариантов осуществления настоящего изобретения. Кроме того, на фиг.3 в виде сверху показана часть этих компонентов, расположенных внутри датчика 12 люминесценции. Этот датчик 12 люминесценции имеет особенно компактное исполнение и оптимизирован в плане достижения высокого отношения “сигнал-шум”.
В частности, датчик 12 люминесценции имеет в общем корпусе 13 один или несколько источников 14 света для возбуждения люминесцентного излучения, а также детектор 30, предпочтительно спектрометр 30, для регистрации разложенного в спектр люминесцентного излучения. Корпус 13 закрыт таким образом, чтобы исключить несанкционированный доступ к находящимся в корпусе 13 компонентам без его повреждения.
Источник 14 света может представлять собой, например, светодиод, однако в предпочтительном варианте он является источником лазерного излучения, таким как лазерный диод 14. Лазерный диод 14 может излучать на одной или нескольких разных длинах волн либо в одном или нескольких диапазонах длин волн. При использовании излучения с несколькими разными длинами волн или в нескольких диапазонах длин волн можно также предусмотреть размещение в одном и том же корпусе или в отдельных предназначенных для источников света корпусах, т.е. в отдельных модулях, нескольких источников 14 света, выполненных с возможностью излучения света с разными длинами волн или в разных диапазонах длин волн, причем такие источники могут быть расположены, например, рядом друг с другом и излучать свет, распространяющийся предпочтительно параллельно и проецируемый на одно и то же место или на соседние места банкноты BN.
Если источники 14 света могут излучать на нескольких разных длинах волн в разных диапазонах длин волн, то отдельные длины волн или диапазоны длин волн могут задействоваться избирательно.
Ниже со ссылкой на фиг.4 описан еще один вариант осуществления изобретения.
Излучаемый лазерным диодом 14 свет направляется проекционной оптикой 15-17 на проверяемую банкноту. Проекционная оптика включает в себя коллиматорную линзу 15, отклоняющее зеркало в качестве светоделителя 16, прежде всего дихроичного светоделителя 16, отклоняющего испускаемый лазерным диодом 14 и сформированный коллиматорной линзой 15 лазерный луч на 90°, а также конденсорную линзу 17 с большим углом раствора, направляющую отклоненный лазерный луч через фронтальное стекло 18 на проверяемую банкноту BN, транспортируемую мимо транспортировочной системой 5 в направлении Т транспортировки, предпочтительно перпендикулярно ей, и тем самым возбуждающую люминесцентное излучение банкноты BN.
Далее спектрометр 30 регистрирует исходящее от освещенной банкноты BN люминесцентное излучение, ориентированное предпочтительно также перпендикулярно поверхности банкноты, т.е. соосно лучу светового возбуждения. В результате по сравнению с освещением под острым углом, например, согласно DE 2366274 С2, освещение банкноты под прямым углом понижает чувствительность к помехам, связанным с допусками на положение транспортируемых мимо банкнот BN и оказывающим отрицательное влияние на результаты измерений.
При этом оптика, необходимая для направления люминесцентного излучения на фоточувствительный детекторный блок 21, также включает в себя фронтальное стекло 18, конденсорную линзу 17 и зеркало 16, по меньшей мере частично прозрачное для измеряемого люминесцентного излучения. Кроме того, оптика имеет далее дополнительную конденсорную линзу 19 с большим углом раствора, следующий за ней светофильтр 20, не пропускающий свет, длина волны которого соответствует длине волны, на которой излучает источник 14 света, и другой не подлежащий измерению свет с другими длинами волн, и отклоняющее зеркало 23. Отклоняющее зеркало 23 предназначено для изменения направления хода лучей измеряемого люминесцентного излучения и перенаправления измеряемого люминесцентного излучения на отображающую решетку 24 или на иной прибор для разложения в спектр. Для получения как можно более компактной конструкции отклоняющее зеркало устанавливается предпочтительно параллельно или практически параллельно плоскости изображений спектрометра (под углом<15°). При этом отображающая решетка 24 имеет выполняющий рассеивающий длины волн элемент с полым зеркалом 26, проецирующим люминесцентное излучение, предпочтительно первого порядка или минус первого порядка, на детекторный блок 21. Очевидно, что может также проецироваться излучение более высоких порядков. Детекторный блок 21 имеет предпочтительно детекторную линейку 22, состоящую из нескольких расположенных в ряд фоточувствительных пикселей, т.е. точек или элементов изображения, описанных ниже, например, со ссылкой на фиг.6 или 7.
Входная щель спектрометра 30 обозначена на фиг.2 позицией AS. Входная щель AS может быть расположена в корпусе 13 в виде диафрагмы AS, размещенной на пути прохождения светового луча. Правда, возможен вариант, когда на этом месте расположена не диафрагма, а лишь “виртуальная” входная щель AS, определяемая следом освещения банкноты BN источником 14 света. Последний вариант дает более высокую интенсивность света, но также может характеризоваться нежелательной повышенной чувствительностью к внешнему освещению или к рассеянному свету.
Согласно следующему варианту отклоняющее зеркало 23 устанавливается относительно отображающей решетки 24 таким образом, чтобы входная щель AS проецировалась на участок отклоняющего зеркала 23. Поскольку тем самым
сечение луча отклоняемого излучения на отклоняющем зеркале 23 оказывается особенно малым, само отклоняющее зеркало 23 также может быть выполнено особенно малых размеров. Если отклоняющее зеркало 23 представляет собой компонент детекторного блока 21, то тем самым отклоняющее зеркало 23 может быть установлено не только сверху, как показано на фиг.2, но и рядом с фоточувствительными участками детекторного блока 21.
Особая идея настоящего изобретения состоит в том, что источник 14 света создает на проверяемой банкноте BN для возбуждения люминесцентного излучения продолговатый в направлении Т транспортировки вытянутый освещенный участок 35.
Преимущество этого варианта состоит в том, что имеющиеся в бумаге банкнот BN обычно лишь в очень малых концентрациях люминесцирующие, прежде всего фосфоресцирующие, защитные вещества подвергаются накачке на вытянутом в направлении транспортировки освещенном участке при прохождении банкноты мимо датчика 12 люминесценции в течение более продолжительного периода времени, что обеспечивает, в частности, повышение интенсивности послесвечения фосфоресцирующих защитных веществ.
На фиг.5 показан соответствующий моментальный снимок. Под продолговатым освещенным участком 35, вытянутым в направлении Т транспортировки, можно понимать то, что освещающее излучение в заданный момент времени освещает площадь или участок поверхности любой формы, прежде всего прямоугольный след на банкноте, размер которого в направлении Т транспортировки значительно больше размера в направлении, перпендикулярном направлению Т транспортировки. В предпочтительном варианте протяженность освещаемого участка 35 в направлении Т транспортировки превышает его протяженность в направлении, перпендикулярном направлению Т транспортировки, по меньшей мере в два, наиболее предпочтительно по меньшей мере в три, четыре раза или в пять раз.
На фиг.5 другой штриховкой выделено также поле 36 зрения, т.е. входная прорезь 36 спектрометра 30, или тот участок банкноты BN, который отображается на спектрометр 30 в заданный момент времени в соответствии с размерами входной щели AS. Следует отметить, что длина и ширина входной прорези 36 спектрометра 30 предпочтительно меньше соответствующих размеров освещенного участка 35, создаваемого лазерным диодом 14. При соблюдении этого условия можно задавать большие допуски по юстировке для отдельных компонентов датчика.
Кроме того, на моментальном снимке, показанном на фиг.5, представлен случай, когда освещаемый участок 35 по сравнению с полем 36 зрения вытянут существенно дальше в направлении Т транспортировки, чем навстречу направлению Т транспортировки. Особое преимущество такого исполнения расположения освещаемого участка 35 состоит в возможности обеспечивать более выраженный эффект накачки. Очевидно, что альтернативно можно также предусмотреть лишь частичное перекрытие освещаемого участка 35 и поля 36 зрения в направлении Т транспортировки. Однако, если поле 36 зрения расположено симметрично, т.е. посередине освещаемого участка 35, то датчик 6 люминесценции может быть установлен как в устройствах 1, в которых банкноты BN транспортируются в указанном направлении Т, так и в устройствах 1, в которых банкноты BN транспортируются в противоположном направлении – Т.
Согласно еще одной особой идее настоящего изобретения используются разные детекторные блоки 21, 27, предназначенные для регистрации люминесцентного излучения, в частности люминесцентного излучения, исходящего от прибора 24 для разложения в спектр, т.е., например, от отображающей решетки 24. Так, например, на следующем детекторном блоке 27 или перед ним можно предусмотреть, например, светофильтр для измерений только на одной или нескольких длинах волн, соответственно в диапазонах длин волн, при этом измеряемые спектральные диапазоны разных детекторных блоков 21, 27 предпочтительно отличаются друг от друга и перекрываются, например, лишь частично или вовсе не перекрываются. Необходимо отметить, что можно также использовать несколько дополнительных детекторных блоков 27, осуществляющих измерения характеристик излучения с разными длинами волн, соответственно в разных диапазонах длин волн. Несколько дополнительных детекторных блоков 27 могут отстоять друг от друга в пространстве или же могут располагаться в виде сэндвич-структур, описанных в указанной лишь в качестве примера публикации DE 10127837 А1.
Если детекторный блок 21, т.е. в конкретном варианте детекторная линейка 22, рассчитан на измерение люминесцентного излучения банкноты BN со спектральным разрешением, то с помощью по меньшей мере одного дополнительного детекторного блока 27 можно соответственно осуществлять по меньшей мере еще одно измерение люминесцентного излучения, такое как дополнительно или альтернативно измерение широкополосного излучения нулевого порядка на спектрометре 30 без спектрального разрешения и/или характеристики затухания люминесцентного излучения.
Кроме того, дополнительный детекторный блок 27 может быть также рассчитан на проверку еще одного оптического свойства по меньшей мере одного защитного вещества банкноты BN. Эту задачу можно решать, например, путем осуществления указанных измерений на других длинах волн, соответственно в других диапазонах длин волн. В предпочтительном варианте дополнительный детекторный блок 27 может быть также рассчитан на проверку следующего защитного вещества банкноты BN. Так, например, детекторная линейка 22 может быть рассчитана на измерение оптических свойств одного защитного вещества банкноты BN, а дополнительный детекторный блок 27 может быть рассчитан на измерение другого защитного вещества банкноты BN, прежде всего также в другом спектральном диапазоне в отличие от детекторной линейки 22. В предпочтительном варианте детекторы 22, 27 имеют светофильтры для подавления нежелательного рассеянного света или света более высокого порядка при проведении измерения.
Как показано на фиг.3, этот дополнительный детекторный блок 27 может быть расположен в перевернутом положении относительно отображающей решетки 24 и детекторной линейки 22 прежде всего в том случае, когда он рассчитан на измерение нулевого порядка спектрометра 30 во избежание влияния помехового обратного отражения на полое зеркало 26. В этом случае можно дополнительно использовать поглощающую излучение световую ловушку, такую, например, как окрашенная черной краской поверхность в конце пути луча излучения, исходящего от дополнительного детекторного блока 27.
Кроме того, для калибровки и проверки функционального состояния датчика 12 люминесценции можно предусмотреть контрольный образец 32, имеющий одно или несколько люминесцирующих защитных веществ, которые могут иметь идентичный или иной химический состав по сравнению с проверяемыми люминесцирующими защитными веществами в банкнотах BN. Как показано на фиг.2, этот контрольный образец 32 может быть встроен в сам корпус 13, выполнен, например, в виде пленки 32, закрепленной на дополнительном источнике света (светодиод 31), и расположен напротив лазерного диода 14 с другой стороны светоделителя 16. В другом варианте контрольный образец 32 может представлять собой, например, также отдельную деталь, расположенную между светодиодом 31 и зеркальным экером или светоделителем 16. Для калибровки, например, в промежутках времени между двумя циклами измерения свойств банкнот датчиком 12 люминесценции контрольный образец 32 можно возбуждать, освещая его светодиодом 31, для получения определенного люминесцентного излучения, отображаемого вследствие паразитного отражения от дихроичного светоделителя 16 на детекторную линейку 22 и далее подвергаемого обработке.
При этом для калибровки интенсивности спектрометра 30 люминесцирующие защитные вещества контрольного образца 32 могут излучать предпочтительно широкополосное излучение, например, по всему регистрируемому спектрометром 30 спектральному диапазону. Очевидно, что люминесцирующие защитные вещества контрольного образца 32 могут альтернативно или дополнительно излучать также определенную характеристическую спектральную сигнатуру с узкополосными пиками с целью обеспечивать калибровку по длинам волн. Однако существует также возможность использовать для юстировки спектрометра 30 только дополнительный источник 31 света без контрольного образца 32.
Поэтому альтернативно или дополнительно контрольный образец 32 может быть также установлен вне корпуса 13, прежде всего с противоположной стороны от проверяемой банкноты BN и интегрирован, например, в расположенный напротив элемент, такой как пластина 28.
Вне корпуса 13 может быть предусмотрен дополнительный детекторный блок 33 как отдельный блок или блок, интегрированный в пластину 28. Дополнительный детекторный блок 33 может представлять собой, например, один или несколько фотоэлементов для измерения характеристик проходящего через фронтальное стекло 18 и при определенных условиях через банкноту BN излучения лазерного диода 14 и/или люминесцентного излучения банкноты BN. В этом случае пластина 28 может перемещаться в направляющей в направлении Р, благодаря чему по выбору можно помещать либо контрольный образец 32, либо фотоячейку 33 по ходу освещающего излучения лазерного диода 14.
Пластина 28 соединяется с корпусом 13 предпочтительно обозначенным пунктирными линиями соединительным элементом 55, расположенным вне плоскости транспортировки банкнот BN. При этом в показанной на фиг.2 и горизонтально ориентированной плоскости поперечного сечения располагается примерно U-образная фигура, образованная корпусом 13, соединительным элементом или плоскостью 55 и пластиной 28. Преимущество такого размещения пластины 28, в том числе и в другом варианте без контрольного образца 32 и фотоячейки 33, состоит в наличии светозащиты от нежелательного выхода лазерного излучения лазерного диода 14. Если пластина 28 выполнена отсоединяемой от корпуса 13 для обеспечения обслуживания или для устранения затора, то можно предусмотреть отключение лазерного диода 14 при отсоединенной или снятой пластине 28.
На фиг.4 схематично в поперечном сечении показан выполненный по другому варианту и исключительно компактный датчик 6 люминесценции, который может быть помещен в устройство для сортировки банкнот по фиг.1. Детали и узлы, аналогичные деталям и узлам, показанным на фиг.2, обозначены теми же самыми позициями.
Компоновка оптических компонентов в датчике 6 люминесценции, показанном на фиг.4, отличается от компоновки оптических компонентов в датчике 6 люминесценции, показанном на фиг.2, прежде всего тем, что в нем может отсутствовать отклоняющее зеркало 23. При этом следует обратить внимание на то, что датчик 6 люминесценции по фиг.4 не имеет дополнительных детекторных блоков 31, 33, хотя их наличие также не исключается. При этом дихроичный светоделитель 16 обеспечивает отклонение направления распространения не освещающего, а люминесцентного излучения.
Кроме того, источник 14 света имеет два расположенных относительно друг друга под прямым углом лазерных диода 51, 52, излучающих свет с разными длинами волн, при этом излучение отдельных лазерных диодов 51, 52 может вводиться, например, дополнительным дихроичным светоделителем 53, благодаря чему могут освещаться один и тот же освещаемый участок 35 или перекрывающиеся, или отстоящие друг от друга освещаемые участки 35 на банкноте BN. В предпочтительном варианте в зависимости от характеристик проверяемой банкноты по выбору можно активировать или один или другой лазерный диод 51, 52 либо оба лазерных диода 51, 52 одновременно или попеременно для испускания излучения.
Показанные на чертеже хорошо различимые фоточувствительные детекторные элементы, т.е. детекторная линейка 22, располагаются асимметрично на подложке, что более подробно рассмотрено ниже со ссылкой на фиг.7.
Более того, датчик 6 люминесценции имеет расположенный предпочтительно в самом корпусе 13 блок 50 управления, предназначенный для обработки сигналов результатов измерений спектрометра 30, и/или для управления отдельными компонентами датчика 6 люминесценции по мощности.
Ниже со ссылкой на фиг.6 и 7 рассматриваются два разных варианта выполнения применяемых в датчике 12 люминесценции детекторных линеек 22. При этом на фиг.6 в виде фрагмента показана обычная детекторная линейка 22, обычно имеющая более ста расположенных рядом друг с другом фоточувствительных элементов изображения, для краткости называемых пикселями 40 (из которых на фиг.6 показаны только первые семь левых пикселей 40), имеющими одинаковые размеры и отстоящими друг от друга на одном и том же расстоянии или заделанными в подложку 41, ширина которой примерно соответствует протяженности пикселей 40 в этом же (поперечном) направлении.
Однако в предпочтительном варианте в отличие от представленной выше детекторной линейки применяется модифицированная детекторная линейка 22, имеющая заметно меньшее количество пикселей 40, отличающихся меньшей собственной площадью и пониженной долей не обладающих фоточувствительностью участков, как это наглядно показано, например, на фиг.7. Преимущество подобной модифицированной детекторной линейки 22 состоит в том, что ее отличает заметно большее отношение “сигнал-шум” по сравнению с обычной детекторной линейкой 22, показанной на фиг.6. В предпочтительном варианте модифицированные детекторные линейки 22 конструктивно выполнены таким образом, чтобы они имели лишь от 10 до 32, наиболее предпочтительно от 10 до 20 отдельных пикселей 40 в подложке 41 или на ней. Размеры отдельных пикселей 40 могут составлять по меньшей мере 0,5×0,5 мм, предпочтительно 0,5×1 мм, наиболее предпочтительно 1×1 мм. Согласно варианту, показанному на фиг.7, детекторная линейка 22 имеет, например, двенадцать пикселей 40 длиной (высотой) 2 мм и шириной 1 мм, при этом ширина не обладающего фоточувствительностью участка 41 между соседними пикселями 40 составляет примерно 50 мкм.
Кроме того, можно также предусмотреть выполнение отдельных пикселей 40 разных размеров, прежде всего разных в направлении дисперсии измеряемого люминесцентного излучения, как это показано на фиг.7. Поскольку обычно обрабатывается излучение не со всеми длинами волн спектра, а лишь целенаправленно излучение с отдельными длинами волн, соответственно в определенных диапазонах длин волн, пиксели 40 могут быть рассчитаны при их создании соответственно на обрабатываемое излучение с определенными длинами (в определенных диапазонах длин) волн.
В зависимости от регистрируемого спектрального диапазона длин волн в указанных выше случаях детекторную линейку 22 можно изготавливать из разных материалов. Для регистрации характеристик люминесценции в ультрафиолетовом или видимом диапазоне спектра используются детекторы, изготовленные из кремния и обладающие чувствительностью ниже примерно 1100 нм, а для измерения в инфракрасном диапазоне спектра наиболее пригодна индий-галлий-арсенидовая (InGaAs) детекторная линейка 22, обладающая чувствительностью выше 900 нм. В предпочтительном варианте индий-галлий-арсенидовая детекторная линейка 22 располагается непосредственно на кремниевой подложке 42, имеющей, наиболее предпочтительно изготовленный по кремниевой технологии усилительный каскад для усиления аналоговых сигналов от пикселей 40 индий-галлий-арсенидовой детекторной линейки 22. Тем самым обеспечивается создание также наиболее компактной конструкции с короткими путями прохождения сигналов и повышенным отношением “сигнал-шум”.
При этом детекторная линейка 22, имеющая меньшее количество пикселей 40 (например, линейка, показанная на фиг.7), предпочтительно регистрирует только излучение в относительно узком спектральном диапазоне, меньшем 500 нм, наиболее предпочтительно меньшем или примерно равном 300 нм. Кроме того, можно предусмотреть использование детекторной линейки 22, имеющей по меньшей мере один пиксель 40, обладающий фоточувствительностью вне измеряемого спектра люминесценции банкнот BN, с целью обеспечить возможность нормирования, такого как нахождение базисной линии при обработке измеренного спектра люминесценции.
Отображающая решетка 24 предпочтительно имеет более чем примерно 300, наиболее предпочтительно более чем примерно 500 линий на миллиметр, т.е. дифракционных элементов, чтобы обеспечить достаточное рассеяние люминесцентного излучения на детекторный элемент 21 несмотря на компактную конструкцию предлагаемых в изобретении датчиков 6 люминесценции. При этом расстояние между отображающей решеткой 24 и детекторным элементом 21 может составлять предпочтительно менее чем примерно 70 мм, наиболее предпочтительно менее чем примерно 50 мм.
При этом считывание отдельных пикселей 40 детекторной линейки 22 может осуществляться, например, последовательно с использованием сдвигового регистра. Однако в предпочтительном варианте предусмотрено параллельное считывание отдельных пикселей 40 и/или групп пикселей детекторной линейки 22. Согласно варианту, показанному на фиг.9, три левых пикселя 40 считываются соответственно по отдельности, при этом измеренный сигнал каждого пикселя 40 усиливается взаимодействующим с ним собственным усилительным каскадом 45, каждый из которых может представлять собой, например, компонент кремниевой подложки 42 согласно фиг.7, и подается во взаимодействующий с соответствующим пикселем функционально связанный с ним аналого-цифровой преобразователь 46. Сигналы от обоих правых пикселей, схематично показанных на фиг.9, также сначала усиливаются отдельными усилительными каскадами 45, затем направляются в общий мультиплексор 47, в состав которого может также входить при определенных условиях устройство выборки и хранения, и после этого подаются в общий аналого-цифровой преобразователь 46, соединенный с мультиплексором 47.
Обеспеченная таким образом возможность параллельного считывания нескольких пикселей 40, соответственно групп пикселей, позволяет получать короткую продолжительность интегрирования и осуществлять 20 синхронизированное измерение характеристик банкноты BN. Эта мера вносит также вклад в повышение отношения “сигнал-шум”.
Согласно следующей независимой идее настоящего изобретения предусматривается интеграция компонентов проекционной оптики, предназначенной для обеспечения люминесцентного излучения, с компонентами 25 детектора 30. В конкретном варианте отклоняющее зеркало 23 может быть связано непосредственно с детекторным блоком 21 для отклонения регистрируемого люминесцентного излучения в направлении спектрометра 30, как это показано, например, на фиг.2.
На фиг.7 показан модифицированный вариант, согласно которому 30 отклоняющее зеркало 23 помещено непосредственно на общий носитель с детекторной линейкой 22, т.е. в конкретном варианте на кремниевую подложку 42. В соответствии с другим вариантом отклоняющее зеркало 23 может быть также помещено, например, на покровное стекло детекторного блока 21.
Кроме того, под отклоняющим зеркалом 23 может располагаться еще один фотодетектор, такой как фотоячейка 56. Этот предпочтительный вариант показан в качестве примера на фиг.8, на котором показан вид в сечении плоскостью 1-1 на фиг.7. В этом случае помещенное на фотоячейку 56 отклоняющее зеркало 23 выполнено по меньшей мере частично прозрачным для измеряемых фотоячейкой 56 длин волн. В свою очередь фотоячейка 56 может применяться для калибровки и/или для обработки других свойств или характеристик люминесцентного излучения.
Как наглядно показано на фиг.4, в предпочтительном варианте детекторную линейку 22 можно разместить асимметрично на носителе, т.е. на кремниевой подложке 42, не только для обеспечения компактности конструкции датчика люминесценции, как это наглядно показано на фиг.4, но и для размещения дополнительных оптических компонентов 23, 56.
Как указано выше, вследствие обычно ожидаемых при проверке банкнот BN лишь исключительно низких уровней интенсивности сигналов люминесцентного излучения требуется калибровка датчика 12 люминесценции в процессе его работы, т.е. в конкретном варианте, например, в паузах между двумя циклами измерения или проверки банкнот датчиком 12 люминесценции. Одна из уже описанных возможных мер предусматривает применение контрольных образцов 32.
Согласно другой идее изобретения калибровку можно также осуществлять путем активной механической регулировки положения оптических компонентов датчика 12 люминесценции, при этом регулировку можно осуществлять в зависимости от результатов измерения, полученных датчиком 12 люминесценции, например, с использованием внешнего блока 11 управления или предпочтительно внутреннего блока 50 управления.
Так, например, благодаря исполнительному элементу 25 узел отображающей решетки 24 может быть установлен с возможностью его перемещения в направлении S. Очевидно, что благодаря другим не показанным компонентам можно осуществлять механическую регулировку положения других оптических компонентов, таких, например, как детектор 21, который можно перемещать при активном регулировании, например, в направлении, указанном стрелкой D на фиг.2. Регулировку оптических компонентов можно также осуществлять более чем в одном направлении.
Тем самым, например, в процессе работы датчика 12 люминесценции можно обрабатывать результаты измерений, полученные датчиком 12 люминесценции, и при наличии отклонений измеренных величин (полученных, например, детекторной линейкой 22, дополнительным детекторным блоком 27 или фотоячейкой 33) или полученных на их основе величин от определенных контрольных величин, соответственно от допустимых пределов можно осуществлять активную механическую регулировку положения отдельных или нескольких из оптических компонентов датчика 12 люминесценции с целью повысить уровень сигналов и компенсировать нежелательные изменения, обусловленные, например, колебаниями температуры или процессами старения оптических компонентов, имеющими место в результате нагрева при освещении или при работе электроники. Эти факторы наиболее важны для детекторного блока 21 с малым количеством пикселей 40.
Для повышения срока службы источников света датчика 12 люминесценции можно также предусмотреть включение на полную мощность, например, лазерного диода 14 лишь в том случае, когда банкнота BN оказывается непосредственно в зоне измерительного окошка, т.е. фронтального стекла 18.
Очевидно, что наряду с уже описанными выше вариантами возможны и другие варианты или их модификации.
Выше со ссылкой на фиг.2 и 4 были описаны варианты, согласно которым отображающая решетка 24 имеет вогнутую поверхность, однако в соответствии с другим вариантом можно также использовать плоскую решетку. Исполнение подобного датчика 12 люминесценции показано, например, на фиг.10. Испускаемое проверяемой банкнотой BN прошедшее через входное окошко или фронтальное стекло 18 излучение попадает и в этом случае через коллимирующую линзу 17 на светоделитель 16, который поворачивает свет на 90°, через линзу 19 и светофильтр 20 подавления определенного излучения на первое сферическое коллимирующее зеркало 70. Этим зеркалом 70 излучение направляется на плоскую решетку 71. Затем свет, разложенный этой решеткой в спектр, направляется вторым сферическим коллимирующим зеркалом 72 и цилиндрической линзой 73 на детекторный блок 21.
Датчик 12 люминесценции, показанный на фиг.10, отличается также тем, что свет подсветки вводится через световод. В конкретном варианте свет, генерируемый источником 68 лазерного излучения, направляется по световоду 69 через оптику 66 формирования луча, светоделитель 16, коллимирующую линзу 17 и входное окошко или фронтальное стекло 18 на проверяемую банкноту. Поскольку световоды 69 отличаются гибкостью и способны деформироваться и благодаря этому ход лучей освещения может иметь (практически) любую форму, становится возможным закреплять, например, источник света в корпусе 13, в наибольшей степени сохраняя его компактность.
Так, в частности, при применении подобных световодов источник света можно закрепить вне корпуса 13 датчика 12 люминесценции. Преимущество этого разделения в пространстве состоит в том, что излучаемое источником 68 света тепло оказывает заметно меньшее отрицательное влияние на работу и юстировку прочих находящихся в корпусе 13 оптических компонентов и прежде всего также обладающих высокой чувствительностью детекторов 21. На фиг.11 схематично проиллюстрирован соответствующий пример, согласно которому источник 68 вводит свет в световод 69, входящий в корпус 13 датчика 12 люминесценции. Корпус 13 может быть выполнен, например, таким же образом, что и корпус, показанный на фиг.10, но отличается лишь тем, что в результате источник 68 света находится вне корпуса 13 и, следовательно, световод 69 также проходит вне корпуса 13.
Еще одна особенность введения света, например, согласно фиг.11, состоит в том, что световод 69, соединяющий источник 69 света и корпус 13, свернут по спирали в средней части 70, схематично показанной на фиг.11 в виде в поперечном сечении. Когда источник 68 вводит свет в световод 69, в нем имеет место целый ряд полных отражений. Вследствие этого происходит пространственная гомогенизация поперечного сечения луча введенного лазерного излучения источника 68. Преимущество этой гомогенизации состоит в том, что имеют место меньшие колебания интенсивности освещения при проверке ценного документа и тем самым можно обеспечить воспроизводимые результаты проверки. Для этого световод не требуется свертывать по спирали в одной плоскости. Более существенным является только то, что световод имеет определенную длину. Так, например, длина световода 69, изготовленного из волокна диаметром от 50 до 200 мкм, составляет предпочтительно от 1 до 20 м.
Согласно изобретению возможен также вариант, в соответствии с которым проверяемая банкнота освещается исключительно с использованием расположенных вне корпуса 13 оптических компонентов, а датчик 12 люминесценции имеет внутри корпуса 13 лишь те оптические компоненты, которые необходимы для регистрации излучения, испускаемого освещенной банкнотой.
Для стабилизации освещающего луча можно также использовать, например, так называемый лазер с распределенной обратной связью, отличающийся тем, что в его резонатор встроена дополнительная решетка, или так называемый лазер с распределенным отражателем Брэгга, отличающийся наличием дополнительной решетки вне его резонатора.
Несмотря на то, что выше были рассмотрены, например, предпочтительные варианты проверки с использованием дифракционного спектрометра, т.е. спектрометра 30 с отображающей решеткой 24, имеется возможность выполнять проверку также без дифракционного спектрометра и использовать для этой цели, например, спектрометр 30 с призмой для спектрального светорассеяния или осуществлять измерение с использованием разных светофильтров для отфильтровывания люминесцентного излучения с разными регистрируемыми длинами волн, соответственно излучения в определенных диапазонах длин волн. Эти решения можно использовать прежде всего также применительно к многодорожечному или высокочувствительному измерению.
Пример выполнения датчика 1 люминесценции без дифракционного спектрометра показан на фиг.12. При этом на фиг.12 схематично показана лишь детекторная часть датчика люминесценции. Все другие компоненты, такие, например, как корпус, освещение и проекционная оптика, не показаны на чертеже для сохранения его наглядности. Согласно этому показанному на фиг.12 варианту исходящий от проверяемой банкноты BN луч выборочно отклоняется поворачиваемым вокруг оси 58 поворота отклоняющим зеркалом 57 на отдельные детекторы 59, чувствительные к излучению с разными длинами волн, соответственно к излучению в разных диапазонах длин волн. Эту выборочность можно обеспечить, во-первых, путем выбора детекторных поверхностей детекторов 59, фоточувствительных к излучению в разных диапазонах длин волн. Очевидно, что, как показано, например, на фиг.12, можно также устанавливать перед детекторами 59 и предпочтительно также крепить к ним самим светофильтры 60, рассчитанные на разные диапазоны длин волн.
Равным образом можно применять так называемую головку с разными светофильтрами. Путем поворота головки ее отдельные разные светофильтры пересекают друг за другом последующий световой луч, испускаемый проверяемой банкнотой BN и проецируемый на детектор.
На фиг.13 исключительно схематично показан выполненный еще по одному варианту детектор 61. При этом детектор имеет на подложке 62 ряд или матрицу однотипных фоточувствительных пикселей 63. На детекторе 61 над пикселем 63 установлен светофильтр 64, имеющий в указанном стрелкой направлении градиент длин волн. Сказанное означает, что, если смотреть в направлении по стрелке, на разных местах светофильтра 64 отфильтровывается излучение с разными длинами волн. Преимущество применения подобного градиентного светофильтра 64 состоит в том, что проверяемый свет может проецироваться непосредственно на детектор 61, и можно отказаться от применения элементов, рассеивающих свет по длинам волн, таких как решетка 24, или отклоняющее зеркало 23, 57. Тем самым можно в наибольшей степени упростить конструкцию датчика 1 люминесценции и свести к минимуму количество деталей и узлов, входящих в состав этой конструкции.
Кроме того, преимущество, связанное, например, с активной оптической регулировкой отдельных компонентов, относится не только к датчику люминесценции, выполненному по наиболее предпочтительному варианту, но и к датчикам, выполненным по другим вариантам, прежде всего вариантам, предусматривающим применение других оптических датчиков. Кроме того, преимущество, например, спектрометра специального исполнения может также проявляется в том случае, когда сам датчик люминесценции не имеет никакого источника света для возбуждения люминесцентного излучения.
Кроме того, предлагаемая в изобретении система может быть также выполнена таким образом, чтобы результаты измерений свойств банкноты BN датчиком 12 люминесценции все еще обрабатывались в период времени, когда одновременно уже регистрируются результаты измерений свойств последующей банкноты BN. Очевидно, что обработка результатов измерений свойств предыдущей банкноты BN должна проводиться настолько быстро, чтобы обеспечивать все еще достаточно высокую скорость переключения отдельных стрелок 7 транспортировочного узла 5 для направления предыдущей банкноты BN соответственно в предназначенный для нее приемный лоток 9.
Следовательно, предлагаемые в изобретении устройства и способы обеспечивают простую и надежную проверку и распознавание люминесцирующих ценных документов. При этом проверка может осуществляться, например, таким образом, что от источника 14 света в течение определенного временного интервала 0-tР для возбуждения защитного вещества подается свет, характеризующийся первой длиной волны и заданной интенсивностью. Под воздействием света от источника 14 возбуждается защитное вещество проверяемой и проходящей мимо фронтального стекла 18 в направлении Т банкноты BN, в результате чего защитное вещество испускает излучение люминесценции, характеризующееся второй длиной волны. Интенсивность испускаемого люминесцентного излучения повышается во временном интервале 0-tР возбуждения в соответствии с определенной закономерностью. Характер нарастания и спада интенсивности испускаемого люминесцентного излучения зависит от состава использованного защитного вещества и от характеристик источника 14 возбуждающего света, т.е. его интенсивности и длины волны, соответственно от распределения по длинам волн. По окончании возбуждения в момент времени tР начинается снижение интенсивности испускаемого люминесцентного излучения в соответствии с определенной закономерностью.
С помощью спектрометра 30 регистрируется и обрабатывается люминесцентное излучение, испускаемое банкнотами BN перпендикулярно их поверхности, т.е. параллельно возбуждающему свету. Путем обработки сигнала, полученного детекторным блоком 21 в определенный момент или в ряде определенных моментов времени t2, t3, можно выполнить наиболее надежную проверку с целью определить, является ли проверяемая банкнота BN подлинной, поскольку только применяемое в банкноте BN защитное вещество или комбинация применяемых защитных веществ обладает подобной характеристикой затухания. Проверку характеристики затухания можно осуществлять путем описанного выше сравнения интенсивности люминесцентного излучения в один или в ряде определенных моментов времени с заданными значениями интенсивности для подлинных банкнот BN. Кроме того, можно предусмотреть сравнение изменения во времени интенсивности люминесценции с заданным изменением во времени интенсивностей люминесценции для известных банкнот BN.
Формула изобретения
1. Устройство (1) для проверки люминесцирующих ценных документов (BN), содержащее источник (14, 51, 52, 68) света для возбуждения люминесцентного излучения и датчик (12) люминесценции для регистрации исходящего от ценного документа (BN) люминесцентного излучения со спектральным разрешением, причем источник (14, 51, 52, 68) света создает на ценном документе (BN), транспортируемом мимо датчика (12) люминесценции в направлении (Т) транспортировки, освещенный участок (35), проходящий в направлении (Т) транспортировки, отличающееся тем, что протяженность освещенного участка (35) в направлении (Т) транспортировки по меньшей мере в два раза превышает его протяженность в направлении, перпендикулярном направлению (Т) транспортировки.
2. Устройство (1) по п.1, отличающееся тем, что протяженность освещенного участка (35) в направлении (Т) транспортировки по меньшей мере в три, предпочтительно в четыре раза или наиболее предпочтительно по меньшей мере в пять раз превышает его протяженность в направлении, перпендикулярном направлению (Т) транспортировки.
3. Устройство (1) по п.1 или 2, отличающееся тем, что поле (36) зрения датчика (12) люминесценции вытянуто в направлении (Т) транспортировки ценного документа (BN), транспортируемого мимо датчика (12) люминесценции.
4. Устройство (1) по п.3, отличающееся тем, что в заданный момент времени поле (36) зрения и освещенный участок (35) на ценном документе (BN) по меньшей мере частично или полностью перекрываются друг с другом.
5. Устройство (1) по п.3, отличающееся тем, что длина и/или ширина поля (36) зрения датчика люминесценции меньше соответствующих размеров освещенного участка (35), создаваемого источником (14, 51, 52, 68) света.
6. Устройство (1) по п.5, отличающееся тем, что в заданный момент времени поле (36) зрения и освещенный участок (35) на ценном документе (BN) по меньшей мере частично или полностью перекрываются друг с другом.
7. Устройство (1) по п.1 или 2, отличающееся тем, что датчик (12) люминесценции имеет один или несколько источников (14, 51, 52, 68) света, излучающих на разных длинах волн, предпочтительно с избирательным задействованием отдельных длин волн.
8. Устройство (1) по п.1 или 2, отличающееся тем, что датчик (12) люминесценции имеет по меньшей мере одну детекторную линейку (22) с малым количеством пикселей (40), составляющим предпочтительно от 10 до 32 пикселей (40), наиболее предпочтительно от 10 до 20 пикселей (40).
9. Устройство (1) по п.1 или 2, отличающееся тем, что датчик (12) люминесценции имеет по меньшей мере один детекторный элемент (40) для измерения излучения вне спектра люминесценции ценных документов (BN).
10. Устройство (1) по п.1 или 2, отличающееся тем, что датчик (12) люминесценции имеет по меньшей мере одну детекторную линейку (22) с пикселями (40) разных размеров, прежде всего разных в направлении дисперсии измеряемого люминесцентного излучения.
11. Устройство (1) по п.1 или 2, отличающееся тем, что датчик (12) люминесценции имеет индий-галлий-арсенидовую детекторную линейку (22) на кремниевой подложке (42), предпочтительно имеющей один или несколько усилительных каскадов (45) для усиления аналоговых измерительных сигналов от пикселей (40) индий-галлий-арсенидовой детекторной линейки (22).
12. Устройство (1) по п.1 или 2, отличающееся тем, что детекторный блок (21) датчика (6) люминесценции регистрирует излучение в спектральном диапазоне, меньшем 500 нм, предпочтительно меньшем или примерно равном 300 нм, и/или отображающая решетка (24) датчика (6) люминесценции имеет более чем примерно 300 линий на миллиметр, предпочтительно более чем примерно 500 линий на миллиметр, и/или расстояние между отображающей решеткой (24) и детекторным блоком (21) составляет менее чем примерно 70 мм, предпочтительно менее чем примерно 50 мм.
13. Устройство (1) по п.1 или 2, отличающееся тем, что источник (14) света, и/или датчик (12) люминесценции, и/или блок (50) управления для обработки сигналов результатов измерений датчика (6) люминесценции и/или для управления компонентами датчика (6) люминесценции по мощности собраны в общем корпусе (13) и/или в отдельных корпусах (13, 68).
14. Устройство (1) по п.1 или 2, отличающееся тем, что источник (14) света освещает проверяемый ценный документ (BN) перпендикулярно его поверхности, а датчик (12) люминесценции регистрирует исходящее от ценного документа (BN) люминесцентное излучение перпендикулярно поверхности документа, и/или генерируемое источником (68) света излучение направляется на проверяемый ценный документ по световоду (69).
15. Устройство (1) по п.1 или 2, отличающееся тем, что датчик (12) люминесценции имеет отклоняющее зеркало (23) для изменения направления хода лучей измеряемого люминесцентного излучения и/или для перенаправления измеряемого люминесцентного излучения на другой оптический блок, такой как прибор (24) для разложения в спектр.
16. Устройство (1) по п.1 или 2, отличающееся тем, что датчик (12) люминесценции имеет фотодетектор (56) с расположенным на его поверхности или над ней отклоняющим зеркалом (23), по меньшей мере частично прозрачным для измеряемых фотодетектором (56) длин волн.
17. Устройство (1) по п.1 или 2, отличающееся тем, что датчик (12) люминесценции имеет светофильтр (60, 64), прежде всего градиентный светофильтр (64), расположенный перед фотодетектором (56, 59, 63) по ходу лучей измеряемого излучения.
18. Устройство (1) по п.1 или 2, отличающееся тем, что датчик (12) люминесценции имеет компонент (21), в состав которого входят как фоточувствительный детекторный блок (22) для регистрации люминесцентного излучения, так и компоненты (23) для отображения люминесцентного излучения на фоточувствительный детекторный блок (22).
19. Устройство (1) по п.1 или 2, отличающееся тем, что датчик (12) люминесценции имеет детекторную линейку (22), асимметрично расположенную на подложке (42).
20. Устройство (1) по п.1 или 2, отличающееся тем, что датчик (12) люминесценции имеет несколько детекторных блоков (21, 27), предназначенных для регистрации разных характеристик люминесцентного излучения и предпочтительно измеряющих излучение в разных спектральных диапазонах и/или с разным спектральным разрешением.
21. Устройство (1) по п.1 или 2, отличающееся тем, что разные детекторные блоки (21, 27) предназначены для проверки разных защитных веществ ценного документа (BN).
22. Устройство (1) по п.1 или 2, отличающееся тем, что один детекторный блок (21) предназначен для измерения люминесцентного излучения со спектральным разрешением, а другой детекторный блок (27) – для измерения люминесцентного излучения без спектрального разрешения.
23. Устройство (1) по п.1 или 2, отличающееся тем, что один детекторный блок (21) предназначен для измерения люминесцентного излучения с интегрированием по времени, а другой детекторный блок (27) – для измерения люминесцентного излучения с временным разрешением.
24. Устройство (1) по п.1 или 2, отличающееся тем, что один детекторный блок (27) предназначен для измерения нулевого порядка разложенного в спектр люминесцентного излучения, а другой детекторный блок (21) – для измерения другого порядка разложенного в спектр люминесцентного излучения.
25. Устройство (1) по п.1 или 2, отличающееся тем, что детекторный блок (27) расположен перевернутым относительно прибора (24) для разложения в спектр во избежание обратного отражения в направлении прибора (24).
26. Устройство (1) по п.1 или 2, отличающееся тем, что датчик (12) люминесценции имеет контрольный образец (32) с люминесцирующим защитным веществом.
27. Устройство (1) по п.1 или 2, отличающееся тем, что датчик (12) люминесценции имеет дополнительный источник (31) света для освещения контрольного образца (32), снабженного люминесцирующим защитным веществом.
28. Устройство (1) по п.1 или 2, отличающееся тем, что датчик (12) люминесценции имеет средства (25) для активной механической регулировки положения его оптических компонентов (21, 24).
29. Устройство (1) по п.1 или 2, отличающееся тем, что активная механическая регулировка положения оптических компонентов (21, 24) датчика (12) люминесценции осуществляется блоком (11, 50) управления в зависимости от полученных датчиком (12) люминесценции результатов измерений.
30. Устройство (1) по п.1 или 2, отличающееся тем, что результаты измерений, полученные датчиком (12) люминесценции в отношении одного ценного документа (BN), обрабатываются одновременно с получением результатов измерений в отношении следующего ценного документа (BN).
31. Устройство (1) по п.1 или 2, отличающееся тем, что предусмотрена возможность параллельного считывания отдельных пикселей (40) и/или групп пикселей детекторной линейки (22).
32. Устройство (1) по п.1 или 2, отличающееся тем, что отдельные пиксели (40) и/или группы пикселей детекторной линейки имеют по одному собственному усилительному каскаду (45) и расположенному за ним аналого-цифровому преобразователю (46).
33. Способ проверки люминесцирующих ценных документов (BN) с помощью датчика (12) люминесценции, при осуществлении которого проверяемый ценный документ (BN) освещают для возбуждения люминесцентного излучения и исходящее от ценного документа (BN) люминесцентное излучение регистрируют со спектральным разрешением, при этом на проверяемом ценном документе (BN), транспортируемом мимо датчика (12) люминесценции в направлении (Т), освещают участок (35), проходящий в направлении (Т) транспортировки, отличающийся тем, что протяженность освещенного участка (35) в направлении (Т) транспортировки по меньшей мере в два раза превышает его протяженность в направлении, перпендикулярном направлению (Т) транспортировки.
РИСУНКИ
|
|