|
|
(21), (22) Заявка: 2008103269/28, 29.06.2005
(24) Дата начала отсчета срока действия патента:
29.06.2005
(43) Дата публикации заявки: 10.08.2009
(46) Опубликовано: 10.12.2009
(56) Список документов, цитированных в отчете о поиске:
US 2003/0136185 A1, 24.07.2003. US 5654502 A, 05.08.1997. US 6032539 A, 07.03.2000. RU 2002120181 A, 20.02.2004. US 4977915 A, 18.12.1990.
(85) Дата перевода заявки PCT на национальную фазу:
29.01.2008
(86) Заявка PCT:
US 2005/023667 20050629
(87) Публикация PCT:
WO 2007/005024 20070111
Адрес для переписки:
129090, Москва, ул.Б.Спасская, 25, стр.3, ООО “Юридическая фирма Городисский и Партнеры”, пат.пов. А.В.Мицу, рег. 364
|
(72) Автор(ы):
РАСКИ Джои Д. (US)
(73) Патентообладатель(и):
МАЙКРО МОУШН, ИНК. (US)
|
(54) СПОСОБ И УСТРОЙСТВО ДЛЯ ОПРЕДЕЛЕНИЯ ПЛОТНОСТИ ОДНОГО КОМПОНЕНТА В МНОГОКОМПОНЕНТНОМ ПОТОКЕ ТЕКУЧЕЙ СРЕДЫ
(57) Реферат:
Изобретение предназначено для измерения многокомпонентного потока смеси, выходящего из скважины. Поток жидкой текучей среды, состоящей из первого компонента (нефти) и второго компонента (воды), направляют в первый трубопровод (108), где его разделяют на два потока с использованием силы тяжести. С помощью второго трубопровода (110), соединенного с первым трубопроводом, непрерывно отбирают пробу воды от жидкости, протекающей в трубопроводе (108), и измеряют плотность пробы во втором трубопроводе массовым расходомером Кориолиса (116). Изобретение обеспечивает повышение точности измерения при одновременном снижении трудоемкости. 4 н. и 15 з.п. ф-лы, 4 ил.
1. ОБЛАСТЬ ТЕХНИКИ, К КОТОРОЙ ОТНОСИТСЯ ИЗОБРЕТЕНИЕ
Настоящее изобретение относится к области скважинных измерений параметров потока текучей среды, и конкретно к вычислителям для потока нефти.
2. ОПИСАНИЕ ПРЕДШЕСТВУЮЩЕГО УРОВНЯ ТЕХНИКИ
Газовые и нефтяные скважины могут иметь многофазный поток, выходящий из оборудования устья скважины. Необходимы измерения полного потока из устья скважины. Для измерения полного потока обычно отделяют поток газа (газовую фазу) от потока жидкости (жидкой фазы), и потоки газа и жидкости измеряют отдельно. Потоки газа и жидкости могут измеряться посредством двух различных массовых расходомеров Кориолиса. Поток жидкости обычно содержит нефть и воду. Для точного измерения количества нефти в потоке жидкости необходимо определить количество воды в потоке жидкости. Для определения количества воды в потоке должна быть определена плотность воды. В настоящее время плотность воды определяется путем периодического взятия пробы воды, выходящей из оборудования устья скважины, и определения ее плотности с использованием ареометра. Такой способ раскрыт в публикации патентной заявки США 2003/0136185 от 24.07.2003. Для осуществлении данного способа система содержит вихревой сепаратор для приема многофазного потока. В данном сепараторе жидкость отделяется от газа. Сепаратор содержит водоотделитель, расположенный в жидкостной зоне для периодического получения пробы воды в жидкой фазе. Плотность воды в водоотделителе может быть определена с использованием гидрометра. Данный способ имеет множество проблем. Одна проблема состоит в том, что плотность воды может изменяться во времени. Если плотность воды изменяется, а используется старое измерение плотности, вычисление количества нефти в потоке становится неточным. Неточность представляет более сложную проблему в потоках с высоким содержанием воды, чем в потоках с низким содержанием воды. Одним способом сведения неточностей к минимуму является частое измерение плотности воды. Однако процесс извлечения пробы из системы и проверки плотности может быть трудоемким и связан с затратами рабочей силы и времени.
Следовательно, существует потребность в наличии усовершенствованных системы и способа определения количества нефти в потоке.
КРАТКОЕ ОПИСАНИЕ СУЩНОСТИ ИЗОБРЕТЕНИЯ
Согласно настоящему изобретению предложены способ и устройство для определения плотности одного компонента в многокомпонентном потоке текучей среды в трубопроводе. Многокомпонентный поток текучей среды разделяется на два потока, причем первый поток является, по существу, потоком всего первого компонента. Плотность второго потока измеряется.
АСПЕКТЫ ИЗОБРЕТЕНИЯ
Один аспект настоящего изобретения относится к способу для определения плотности одного из компонентов в многокомпонентном потоке, включающему направление в трубопровод потока жидкости, состоящей из, по меньшей мере, первого компонента и второго компонента, отличающемуся тем, что разделяют поток жидкости на первый поток и второй поток, причем расход потока в первом потоке превышает расход потока во втором потоке, и первый поток содержит, по существу, весь первый материал, и измеряют плотность жидкости во втором потоке.
Первый компонент может быть нефтью.
Второй компонент может быть водой.
Второй компонент может иметь большую плотность, чем первый материал.
Предпочтительно измеряют температуру жидкости во втором потоке.
Предпочтительно измеряют полный поток компонента через трубопровод и определяют количество первого компонента в трубопроводе частично на основании плотности жидкости во втором потоке.
Предпочтительно используется сила тяжести для отделения, по существу, всего первого компонента в первый поток.
Другой аспект настоящего изобретения содержит способ определения плотности одного из компонентов в многокомпонентном потоке, включающий направление в трубопровод потока жидкости, состоящей из, по меньшей мере, нефти и воды, отличающийся тем, что непрерывно отделяют пробу воды от текущей в трубопроводе жидкости и измеряют плотность воды.
Предпочтительно плотность воды измеряют с использованием массового расходомера Кориолиса.
Предпочтительно измерение плотности воды осуществляют непрерывно.
Предпочтительно определяют количество протекающей в трубопроводе нефти частично на основании измеренной плотности воды.
Предпочтительно используют плотность воды для определения содержания воды в жидкости.
Следующий аспект настоящего изобретения относится к устройству для определения плотности одного из компонентов в многокомпонентном потоке, содержащему первый трубопровод для жидкости, состоящей из, по меньшей мере, первого компонента и второго компонента, отличающемуся тем, что имеет второй трубопровод, соединенный с первым трубопроводом и выполненный с возможностью отбора пробы второго компонента из жидкости, первый массовый расходомер Кориолиса, соединенный со вторым трубопроводом и выполненный с возможностью измерения плотности пробы второго компонента во втором трубопроводе.
Предпочтительно устройство дополнительно содержит резервуар сепаратора, имеющий верхнюю часть и нижнюю часть, причем первый трубопровод проходит в резервуар сепаратора, и второй трубопровод соединен с нижней частью резервуара сепаратора.
Предпочтительно устройство дополнительно содержит второй массовый расходомер Кориолиса, присоединенный к первому трубопроводу и выполненный с возможностью измерения плотности жидкости в первом трубопроводе, и процессор, соединенный с первым и вторым расходомерами Кориолиса и выполненный с возможностью определения соотношения первого компонента и второго компонента в жидкости в трубопроводе частично на основании результата измерения плотности первым расходомером Кориолиса.
Предпочтительно первый трубопровод имеет первый диаметр, и второй трубопровод имеет второй диаметр, меньший, чем первый диаметр.
Предпочтительно второй диаметр меньше, чем 1/10 первого диаметра.
Предпочтительно первый трубопровод имеет первый расход потока и второй трубопровод имеет второй расход потока, который меньше первого расхода потока.
В другом аспекте изобретение относится к устройству для определения плотности одного из компонентов в многокомпонентном потоке, содержащему трубопровод, содержащий текущую жидкость, состоящую из, по меньшей мере, первого компонента и второго материала, отличающемуся тем, что имеет средство для разделения текущей жидкости на первый поток и второй поток, причем расход потока в первом потоке превышает расход потока во втором потоке, и первый поток содержит по существу весь первый материал, и средство для измерения плотности компонента во втором потоке.
КРАТКОЕ ОПИСАНИЕ ЧЕРТЕЖЕЙ
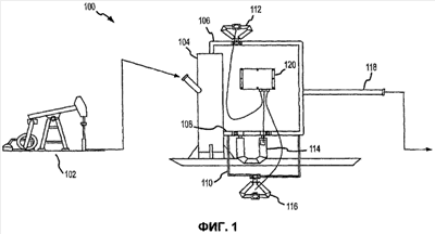
Фиг.1 изображает блок-схему системы для измерения нефти и газа согласно варианту осуществления изобретения.
Фиг.2 – вид водоотделителя в другом варианте осуществления изобретения.
Фиг.3 – вид водоотделителя, использующего резервуар сепаратора согласно варианту осуществления изобретения.
Фиг.4 – блок-схему способа определения плотности одного из компонентов в многокомпонентном потоке жидкости согласно варианту осуществления изобретения.
ПОДРОБНОЕ ОПИСАНИЕ ПРЕДПОЧТИТЕЛЬНОГО ВАРИАНТА ОСУЩЕСТВЛЕНИЯ
Фиг.1-3 и нижеследующее описание представляют конкретные примеры, иллюстрирующие способы создания и использования предпочтительного варианта осуществления изобретения. Для указания изобретательских принципов некоторые традиционные аспекты были упрощены или опущены. Исходя из этих примеров понятны модернизации, которые находятся в объеме изобретения. Понятно, что описанные ниже признаки могут комбинироваться различным образом для получения многих модификаций изобретения. В результате изобретение не является ограниченным конкретными описанными ниже примерами, а только формулой изобретения и ее эквивалентами.
На фиг.1 показана блок-схема системы 100 для измерения нефти и газа согласно варианту осуществления изобретения. Система 100 соединена с оборудованием 102 устья скважины и содержит сепаратор 104, выпускную трубу 108 для жидкости, выпускную трубу 106 для газа, водоотделитель 110, расходомеры 116, 114, 112, выпускную трубу 118 системы и компьютера 120 для нефти.
При использовании оборудование 102 устья скважины выпускает многофазный поток, который может содержать газ, нефть, воду и наносы, например, ил или песок. Многофазный поток направляют на сепаратор 104, где газ отделяется от жидкости. Сепаратор 104 может быть сепаратором любого типа, включая газожидкостный цилиндрический циклонный сепаратор. Выпускная труба 106 для газа выводит газ из верхней части сепаратора 104. Расходомер 112 измеряет количество газа, проходящего через выпускную трубу 106 для газа. Расходомер 112 может быть расходомером любого типа, включая турбинный расходомер, массовый расходомер Кориолиса или тому подобное. Жидкость выводится из сепаратора 104 посредством выпускной трубы 108 для жидкости. Жидкость, текущая в выпускной трубе 108, может содержать нефть и воду. Водоотделитель 110 выполнен с возможностью отделения малого потока воды из выпускной трубы 108. Расходомер 114 измеряет поток жидкости в выпускной трубе 108. В одном варианте осуществления изобретения расходомер 114 является массовым расходомером Кориолиса. Если расходомер 114 является расходомером Кориолиса, он может использоваться для измерения плотности жидкости, протекающей через выпускную трубу 108. Значение содержания воды в жидкости в выпускной трубе 108 может быть определено с использованием значения измеренной плотности жидкости и уравнения 1

где (смеси) является плотностью жидкости, (нефти) является плотностью нефти в жидкости, и (воды) является плотностью воды в жидкости. Плотность нефти может быть введенной пользователем или измеренной отдельно. Уравнение 1 зависит от плотности воды в жидкости. Плотность воды может изменяться в зависимости от минерализации.
Расходомер 116 измеряет поток воды в водоотделитель 110. Расходомер 116 является расходомером Кориолиса. Расходомер 116 также измеряет плотность воды в водоотделителе 110. Поток воды из водоотделителя 110 может быть повторно введен в выпускную трубу 108 после расходомера 114 (как показано) или может быть повторно введен перед расходомером 114 (не показано). Когда поток воды из водоотделителя 110 повторно вводится в выпускную трубу 108 прежде расходомера 114, то для измерения потока не требуется использовать расходомер 116, его можно использовать для измерения плотности компонента в водоотделителе 110. Компьютер 120 для нефти управляет расходомерами 112, 114, 116 для определения полного потока через систему. В одном примерном варианте осуществления выходы для газа и жидкости могут быть повторно объединены в одну выпускную трубу 118 системы. В других вариантах осуществления изобретения газ и жидкости могут направляться на раздельные пункты назначения через раздельные системы трубопроводов (не показано).
Компьютер 120 для нефти осуществляет контроль потока через расходомеры 112, 114, 118. Жидкость в выпускной трубе 108 содержит смесь нефти и воды. Для определения количества нефти, протекающей через выпускную трубу 108, должно быть определено количество воды. Для определения количества воды, протекающей через выпускную трубу 108, должна быть определена плотность воды. Могут использоваться расходомеры Кориолиса для измерения плотности материала, проходящего через измерительный прибор, а также количество материала, проходящего через измерительный прибор. Водоотделитель 110 выполнен с возможностью отделения потока текучей среды, по существу, не имеющего нефти или других углеводородов, от основного потока текучих сред в выпускной трубе 108. Протекающий в водоотделителе поток текучей среды может состоять из воды, осадка и других растворимых в воде материалов, например соли. Изменение в минерализации воды может изменять плотность воды. Расходомер 116 Кориолиса используется для измерения плотности текучей среды, протекающей в водоотделителе 110. Измеренная плотность затем подается назад в блок вычисления количества протекающей в выпускной трубе 108 нефти, определяемого согласно уравнению содержания воды.
Водоотделитель 110 может быть выполнен несколькими способами для отделения потока текучей среды, по существу, не содержащей нефть или более легкие жидкости, от основного потока текучей среды в выпускной трубе 108. В одном варианте осуществления изобретения выпускная труба 108 является горизонтальной трубой, имеющей достаточную длину по отношению к скорости потока для обеспечения прохождения углеводородов подниматься в верхнюю часть выпускной трубы. Водоотделитель 110 соединен с нижней частью выпускной трубы 108, отбирая только часть более тяжелой текучей среды из выпускной трубы. Водоотделитель 110 может иметь меньший диаметр, чем выпускная труба 108, так что поток в водоотделителе является ограниченным. В одном варианте осуществления изобретения водоотделитель 110 имеет размер, соответствующий 110 от диаметра выпускной трубы 108. Требуется, чтобы только малый поток или проба более тяжелой текучей среды, протекающей в выпускной трубе 108, отбирались в водоотделитель 110. В некоторых случаях наибольшая часть более тяжелой текучей среды остается в выпускной трубе 108.
На фиг.2 показан другой вариант выполнения водоотделителя. Водоотделитель содержит резервуар 222 сепаратора и отделительную трубу 210. Выпускная труба 208 выходит в резервуар 222 сепаратора.
Выпускная труба выходит из резервуара 222 сепаратора в верхней части резервуара 222 сепаратора или вблизи нее. Отделительная труба 210 выходит в нижней части резервуара 222 сепаратора или вблизи нее. Резервуар сепаратора имеет объем, обеспечивающий достаточное время удержания для расслоения жидкости внутри резервуара. Отделительная труба 210 может иметь диаметр меньше, чем диаметр выпускной трубы 208, так что поток в отделительную трубу 210 является ограниченным. Только малый поток или проба более тяжелой текучей среды, втекающей в резервуар 222 сепаратора, требует отбора в отделительную трубу 210. Во многих случаях наибольшая часть более тяжелых текучих сред выходит из резервуара 222 сепаратора через выпускную трубу 208.
На фиг.3 показан еще один вариант выполнения водоотделителя. Он содержит трубу 334 сепаратора и отделительную трубу 310. Выпускная труба 308 содержит трубу 334 сепаратора, проходящую из нижней части выпускной трубы 308. Труба 334 сепаратора может иметь меньший диаметр, чем выпускная труба 308. Труба 334 проходит ниже выпускной трубы 308 на близком расстоянии перед повторным соединением с выпускной трубой 308. Отделительная труба 310 соединена с трубой 334 в нижней ее части. Только малый поток или проба более тяжелой текучей среды, протекающей в трубе 334, требуется для отбора в отделительную трубу 310. Отделительная труба 310 может иметь такой же размер, как и труба 324 сепаратора, или может быть меньше по размеру, чем труба 324 сепаратора. Могут использоваться другие конструкции для отделения малой пробы из многофазной жидкости, протекающей в выпускной трубе, чтобы получить преимущества данного изобретения.
Поскольку плотность протекающей в многофазном потоке воды может измеряться непрерывно, изменения минерализации в воде можно компенсировать в реальном масштабе времени. Это уменьшит неопределенность в измерениях содержания воды. Данное изобретение не ограничивается измерением плотности воды в потоке нефти и воды. Изобретение может использоваться в любом смешанном потоке, где компоненты могут быть отделены во время течения. Могут быть разработаны отделительные части трубопровода для отделения любой более тяжелой жидкости от более легкой жидкости.
На фиг.4 показана блок-схема способа определения плотности одного из компонентов в многокомпонентном потоке. На этапе 402 поток, содержащий, по меньшей мере, первый компонент и второй материал, направляют в трубопровод. На этапе 404 поток жидкости разделяют на первый поток и второй поток, при этом первый поток содержит, по существу, весь первый материал. На этапе 406 измеряют плотность жидкости во втором потоке.
Формула изобретения
1. Способ определения плотности одного из компонентов в многокомпонентном потоке, включающий направление в трубопровод потока жидкости, состоящей из, по меньшей мере, первого компонента и второго компонента, отличающийся тем, что разделяют поток жидкости на первый поток и второй поток, причем расход потока в первом потоке превышает расход потока во втором потоке, и первый поток содержит по существу весь первый компонент, и измеряют плотность жидкости во втором потоке.
2. Способ по п.1, отличающийся тем, что первый компонент является нефтью.
3. Способ по п.1, отличающийся тем, что второй компонент является водой.
4. Способ по п.1, отличающийся тем, что второй компонент имеет большую плотность, чем первый компонент.
5. Способ по п.1, дополнительно отличающийся тем, что измеряют температуру жидкости во втором потоке.
6. Способ по п.1, дополнительно отличающийся тем, что измеряют полный поток компонента через трубопровод и определяют количество первого компонента в трубопроводе частично на основании плотности жидкости во втором потоке.
7. Способ по п.1, отличающийся тем, что используют силу тяжести для отделения по существу всего первого компонента в первый поток.
8. Способ определения плотности одного из компонентов в многокомпонентном потоке, включающий направление в трубопровод потока жидкости, состоящей из, по меньшей мере, нефти и воды, отличающийся тем, что непрерывно отделяют пробу воды от жидкости, протекающей в трубопроводе, и измеряют плотность воды.
9. Способ по п.8, отличающийся тем, что измеряют плотность воды с использованием массового расходомера Кориолиса.
10. Способ по п.8, отличающийся тем, что измеряют плотность воды непрерывно.
11. Способ по п.8, дополнительно отличающийся тем, что определяют количество нефти, протекающей в трубопроводе, частично на основании измеренной плотности воды.
12. Способ по п.8, дополнительно отличающийся тем, что используют плотность воды для определения содержание воды в жидкости.
13. Устройство для определения плотности одного из компонентов в многокомпонентном потоке, содержащее первый трубопровод (108) для жидкости, состоящей из, по меньшей мере, первого компонента и второго компонента, отличающееся тем, что имеет второй трубопровод (110), соединенный с первым трубопроводом и выполненный с возможностью отбора пробы второго компонента из жидкости, первый массовый расходомер Кориолиса (116),. соединенный со вторым трубопроводом и выполненный с возможностью измерения плотности пробы второго компонента во втором трубопроводе.
14. Устройство по п.13, отличающееся тем, что содержит резервуар (222) сепаратора, имеющий верхнюю часть и нижнюю часть, первый трубопровод (208) проходит в резервуар, и второй трубопровод (210) соединен с нижней частью резервуара.
15. Устройство по п.13, отличающееся тем, что содержит второй массовый расходомер Кориолиса (114), соединенный с первым трубопроводом (110) и выполненный с возможностью измерения плотности жидкости, протекающей в первом трубопроводе, и процессор (120), соединенный с первым и вторым массовыми расходомерами Кориолиса и выполненный с возможностью определения отношения первого компонента и второго компонента в жидкости в трубопроводе частично на основании результата измерения плотности первым массовым расходомером Кориолиса.
16. Устройство по п.13, отличающееся тем, что первый трубопровод имеет первый диаметр и второй трубопровод имеет второй диаметр, меньший, чем первый диаметр.
17. Устройство по п.16, отличающееся тем, что второй диаметр меньше, чем 1/10 первого диаметра.
18. Устройство по п.13, отличающееся тем, что первый трубопровод имеет первый расход потока и второй трубопровод имеет второй расход потока, который меньше первого расхода потока.
19. Устройство для определения плотности одного из компонентов в многокомпонентном потоке, содержащее трубопровод для текущей жидкости, состоящей из, по меньшей мере, первого компонента и второго компонента, отличающееся тем, что имеет средство для разделения текущей жидкости на первый поток и второй поток, причем расход потока в первом потоке превышает расход потока во втором потоке, и первый поток содержит по существу весь первый компонент, и средство измерения плотности компонента во втором потоке.
РИСУНКИ
|
|