|
|
(21), (22) Заявка: 2008102822/11, 24.01.2008
(24) Дата начала отсчета срока действия патента:
24.01.2008
(43) Дата публикации заявки: 27.07.2009
(46) Опубликовано: 10.12.2009
(56) Список документов, цитированных в отчете о поиске:
RU 2220892 С2, 10.01.2004. JP 2003231587 А, 19.08.2003. US 5626253 А, 06.05.1997.
Адрес для переписки:
620027, г.Екатеринбург, пер. Красный, 12, ООО “ЦПУ-Екатеринбург”, Директору Т.Г. Прянчиковой
|
(73) Патентообладатель(и):
Закрытое акционерное общество “Машиностроительная компания “Технэкс” (RU)
|
(54) БУНКЕРНОЕ УСТРОЙСТВО
(57) Реферат:
Изобретение относится к машиностроению, в частности к емкостям для сыпучих продуктов. Бункерное устройство содержит корпус (1) и выполненное в форме опорного кольца дно (2), разделенные между собой щелевым отверстием. На дне по центру установлен конус-рассекатель (4). Подвижный кольцевой затвор (5) опущен ниже кромки дна (2), перекрывая щелевое отверстие, и снабжен приводом. По периметру подвижного кольцевого затвора (5) на его поверхности равномерно выполнены наклонные пазы, в каждом из которых установлен закрепленный на корпусе ролик, а по низу выполнены равномерно расположенные вырезы, каждый из которых оснащен подвижной заслонкой. Вырезы могут иметь прямоугольную, треугольную или иную форму. Привод может быть выполнен, например, в виде двух пневмоцилиндров, установленных диаметрально противоположно относительно подвижного кольцевого затвора, штоки которых соединены с затвором. Дно (2) с помощью опор закреплено на разгрузочной воронке, расположенной под дном. Изобретение направлено на получение оптимального соотношения степени охлаждения гранул и количества их истечения из бункера за счет плавной регулировки величины щелевых отверстий. 2 з.п. ф-лы, 2 ил.
Изобретение относится к области машиностроения и предназначено для охлаждения и равномерного выпуска гранулированных продуктов.
Известно бункерное устройство, содержащее корпус, дно, а также желоб, транспортер, расположенный по периметру дна в желобе, и заслонки, установленные внутри корпуса с возможностью их сближения к центру (п. РФ 2115612, МПК B65G 65/34, B65D 88/64, оп. 20.07.1998 г.).
Указанное устройство имеет сложную конструкцию, снижающую его надежность, и не исключает сводообразование, что затрудняет опорожнение полости бункера.
Известен дозатор для сыпучего материала, содержащий цилиндрический корпус с разгрузочным отверстием в его днище, ротор, размещенный в полости корпуса, лопасти которого жестко закреплены на приводном центральном валу, и козырек, установленный над ротором, перекрывающий просвет разгрузочного отверстия, выполненного в виде радиальной щели, снабженной регулируемой заслонкой (а.с. СССР 1318500, МПК B65G 65/34, оп. 23.06.1987 г.).
Известный дозатор имеет невысокую надежность выгрузки дозированного материала из-за значительных сил трения по периметру разгрузочного отверстия.
Наиболее близким по технической сущности к заявляемому техническому решению является бункерное устройство, содержащее корпус и дно, разделенные между собой по периметру щелевым отверстием, закрываемым кольцевым затвором, установленным снаружи по периметру корпуса и снабженным приводом с возможностью вертикального перемещения вдоль корпуса, а также установленный на дне по центру конус-рассекатель, направляющие для предотвращения просыпи, разгрузочная воронка и транспортер под дном (п. РФ 2146219, МПК B65G 65/34, оп. 10.03.2000 г.).
Такая конструкция позволяет исключить сводообразование за счет одновременного освобождения значительных площадей щелевого отверстия, а отсутствие в полости корпуса подвижных элементов повышает надежность устройства.
Однако данная конструкция при использовании ее в качестве охладителя гранул не обеспечивает равномерное охлаждение гранул, а также точную равномерную выгрузку гранул, находящихся в бункере, и получение оптимального соотношения степени охлаждения гранул, находящихся в бункере, и количества их истечения через щелевое отверстие.
Задачей, на решение которой направлено заявляемое устройство, является получение оптимального соотношения степени охлаждения гранул и количества их истечения из бункера за счет плавной регулировки величины щелевых отверстий, открываемых кольцевым затвором.
Поставленная задача решается следующим образом.
В бункерном устройстве, содержащем корпус и дно, разделенные между собой по периметру щелевым отверстием, перекрываемым подвижным кольцевым затвором, выполненным в виде пояса, установленным снаружи по периметру корпуса и снабженным приводом, конус-рассекатель, установленный на дне по его центру, и размещенная под дном разгрузочная воронка, согласно заявляемому техническому решению по низу кольцевого затвора ниже уровня дна выполнены вырезы, равномерно распределенные по всему периметру, а по окружности кольцевого затвора на его боковой поверхности равномерно расположены наклонные пазы, в каждом из которых установлен закрепленный на корпусе ролик.
При этом каждый вырез снабжен подвижной заслонкой.
Причем дно выполнено в форме опорного кольца, закрепленного на разгрузочной воронке.
Выполнение наклонных пазов равномерно по периметру подвижного затвора и установка в каждом наклонном пазу ролика, закрепленного на корпусе, обеспечивают плавное перемещение подвижного затвора вдоль корпуса по винтовой линии с образованием щелевых отверстий, величина которых благодаря вырезам, выполненным по низу кольцевого затвора, и подвижным заслонкам плавно регулируется в широких пределах, а выполнение дна в форме опорного кольца, закрепленного на разгрузочной воронке, позволяет равномерно охлаждать гранулы, что в совокупности обеспечивает оптимальное соотношение степени охлаждения гранул и количества их истечения через щелевое отверстие.
Наличие отличительных от прототипа существенных признаков позволяет признать заявляемое устройство новым.
Из уровня техники не выявлены технические решения, совпадающие с отличительными признаками заявляемого устройства, поэтому заявляемое устройство соответствует критерию изобретательского уровня.
Возможность использования заявляемого устройства в промышленности позволяет сделать вывод о его соответствии критерию промышленной применимости.
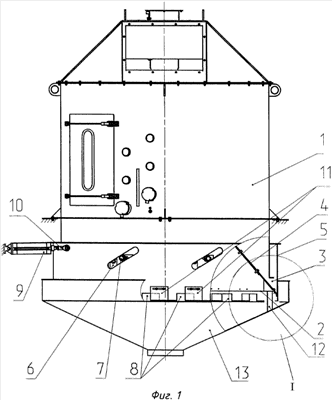
На фиг.1 схематично представлено заявляемое бункерное устройство, общий вид; на фиг.2 – узел I на фиг.1.
Бункерное устройство содержит корпус 1, дно 2, выполненное в форме опорного кольца, разделенные между собой щелевым отверстием 3. На дне 2 по центру установлен конус-рассекатель 4. Кольцевой затвор 5 опущен ниже кромки дна 2, перекрывая щелевое отверстие 3. Кольцевой затвор 5 снабжен приводом. Равномерно по периметру кольцевого затвора 5 выполнены наклонные пазы 6, в каждом из которых установлен ролик 7, закрепленный на корпусе 1, а по низу подвижного затвора 5 выполнены равномерно расположенные вырезы 8. Привод может быть выполнен, например, в виде двух пневмоцилиндров 9, установленных диаметрально противоположно относительно подвижного затвора 5, штоки 10 которых соединены с подвижным затвором 5. Каждый вырез 8 оснащен подвижной в горизонтальной плоскости заслонкой 11. Вырезы 8 могут иметь, например, прямоугольную, или треугольную, или иную форму. Дно 2 в виде опорного кольца с помощью опор 12 закреплено на разгрузочной воронке 13, расположенной под дном 2.
При разгрузке бункерного устройства штоки 10 пневмоцилиндров 9 выдвигаются и передают движение на подвижный затвор 5, который при этом проворачивается на роликах 7 вокруг корпуса 1, и благодаря наклонным пазам 6 происходит перемещение кольцевого затвора 5 вдоль корпуса 1 по винтовой линии и постепенное открывание вырезов 8. Благодаря выполнению дна 2 в форме опорного кольца гранулированный продукт, находящийся в бункерном устройстве, равномерно охлаждается потоком воздуха, подаваемого снизу, и высыпается. При этом в корпусе 1 происходит разрушение опор свода, не разрушая гранулы продукта и не допуская контакта металлических кромок друг с другом, исключая искрообразование. При втягивании штоков 10 пневмоцилиндров 9 кольцевой затвор 5 проворачивается на роликах 7 вокруг корпуса 1 и благодаря наклонным пазам 6 происходит движение подвижного затвора 5 вниз по винтовой линии, при котором щелевое отверстие 3 постепенно закрывается. Щелевое отверстие 3 по всему периметру используется при завершении работы для полной разгрузки.
При использовании бункерного устройства в охладителе гранул в зависимости от требуемой температуры продукта на выходе можно регулировать время прохождения гранул в бункере для их охлаждения, увеличивая или уменьшая степень перекрытия вырезов 8 заслонками 11, увеличивая или уменьшая тем самым скорость истечения продукта из бункера.
Благодаря постепенному открыванию вырезов 8 за счет перемещения кольцевого затвора 5 по винтовой линии относительно корпуса 1, выполнению дна 2 в форме опорного кольца, а также возможности регулирования степени открытия вырезов 8 заслонками 11 получают оптимальное соотношение степени охлаждения гранул и количества их истечения из бункера.
Формула изобретения
1. Бункерное устройство, содержащее корпус и дно, разделенные между собой по периметру щелевым отверстием, перекрываемым подвижным кольцевым затвором, выполненным в виде пояса, установленным снаружи по периметру корпуса и снабженным приводом, установленный на дне по центру конус-рассекатель и размещенная под дном разгрузочная воронка, отличающееся тем, что по низу кольцевого затвора, ниже уровня дна, выполнены вырезы, равномерно распределенные по всему периметру, а по окружности кольцевого затвора на его боковой поверхности выполнены равномерно расположенные наклонные пазы, в каждом из которых установлен ролик, закрепленный на корпусе.
2. Бункерное устройство по п.1, отличающееся тем, что каждый вырез подвижного кольцевого затвора снабжен подвижной заслонкой.
3. Бункерное устройство по п.1, отличающееся тем, что дно выполнено в форме опорного кольца, закрепленного на разгрузочной воронке.
РИСУНКИ
|
|