Патент на изобретение №2375290

Published by on




РОССИЙСКАЯ ФЕДЕРАЦИЯ



ФЕДЕРАЛЬНАЯ СЛУЖБА
ПО ИНТЕЛЛЕКТУАЛЬНОЙ СОБСТВЕННОСТИ,
ПАТЕНТАМ И ТОВАРНЫМ ЗНАКАМ
(19) RU (11) 2375290 (13) C1
(51) МПК

B65G51/03 (2006.01)

(12) ОПИСАНИЕ ИЗОБРЕТЕНИЯ К ПАТЕНТУ

Статус: по данным на 17.09.2010 – действует

(21), (22) Заявка: 2008124120/11, 16.06.2008

(24) Дата начала отсчета срока действия патента:

16.06.2008

(46) Опубликовано: 10.12.2009

(56) Список документов, цитированных в отчете о
поиске:
SU 856945 А, 23.08.1981. SU 887372 А, 07.12.1981. US 4165132 А, 21.08.1979.

Адрес для переписки:

394613, г.Воронеж, ул. Тимирязева, 8, ВГЛТА, патентный отдел

(72) Автор(ы):

Мурзинов Валерий Леонидович (RU),
Мурзинов Павел Валерьевич (RU),
Мурзинов Юрий Валерьевич (RU)

(73) Патентообладатель(и):

Государственное образовательное учреждение высшего профессионального образования “Воронежская государственная лесотехническая академия” (RU)

(54) ПНЕВМОКОНВЕЙЕР СО СТРУЙНЫМ УПРАВЛЕНИЕМ

(57) Реферат:

Изобретение относится к производственным системам транспортирования на воздушной подушке изделий при реализации различных технологических процессов. Пневмоконвейер содержит пневматическую камеру и расположенную над ней несущую поверхность, в которой выполнены перпендикулярно продольной ее осевой линии щелевые отверстия, сообщенные с пневматической камерой. Несущая поверхность пневмоконвейера снабжена центральным рядом прямоугольных карманов. В дне каждого из карманов выполнено щелевое отверстие, параллельно которому в противоположных стенках прямоугольного кармана выполнены каналы управления. Изобретение обеспечивает упрощение конструкции устройства, устранение подвижных механических элементов и повышение надежности ее работы. 5 ил.

Изобретение относится к производственным системам транспортирования на воздушной подушке изделий при реализации различных технологических процессов. Может быть использовано на предприятиях с повышенными требованиями к качеству внешней поверхности изделий, на взрывопожароопасных предприятиях, а также в гибких автоматизированных производствах.

Наиболее близким техническим решением является пневмоконвейер (А.С. 856945, М. Кл3. В65G 51/00, 23.08.1981 в бюл. 31), содержащий пневматическую камеру и несущую поверхность, в которой выполнены перпендикулярно продольной ее осевой линии щелевые отверстия, сообщенные с пневматической камерой.

Недостатками этой конструкции является то, что несущая поверхность снабжена подвижной пластиной, для перемещения которой необходим дополнительный механизм. Это делает конструкцию сложной и снижает надежность ее работы.

Технической задачей предлагаемого изобретения является упрощение конструкции устройства, устранение подвижных механических элементов и повышение надежности ее работы.

Поставленная задача достигается тем, что пневмоконвейер со струйным управлением, содержащий пневматическую камеру и расположенную над ней несущую поверхность, в которой выполнены перпендикулярно продольной ее осевой линии щелевые отверстия, сообщенные с пневматической камерой, согласно изобретению имеет несущую поверхность, снабженную центральным рядом прямоугольных карманов, в дне каждого из которых выполнено щелевое отверстие, параллельно которому в противоположных стенках прямоугольного кармана выполнены каналы управления.

Технический результат от применения предлагаемого изобретения обусловлен тем, что в конструкции предлагаемого устройства отсутствуют подвижные механические элементы, что упрощает конструкцию и повышает надежность ее работы. Для управления струйными потоками в предлагаемом устройстве используются принципы, реализуемые в струйной автоматике, работа которой основана на различных аэродинамических эффектах, например, таком как эффект Коанда.

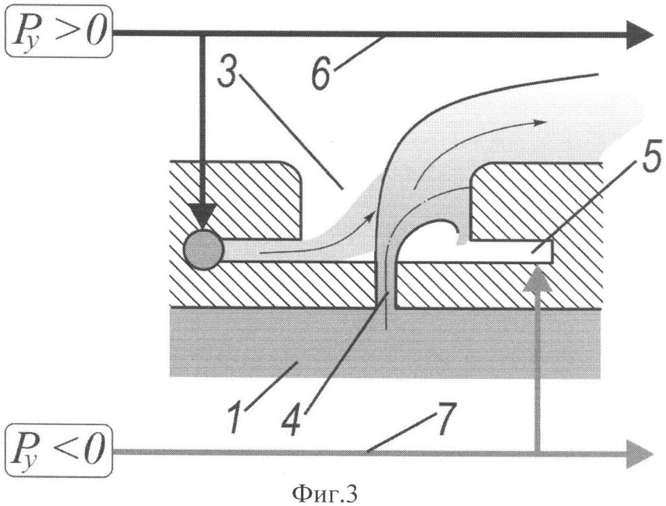
Общий вид предлагаемого устройства представлен на чертеже, где на фиг.1 показан внешний вид устройства; на фиг.2 – чертеж устройства в двух проекциях с сечениями; на фиг.3, фиг.4, фиг.5 – положение струйного потока в кармане при различных величинах управляющих сигналов.

Пневмоконвейер со струйным управлением имеет пневматическую камеру 1 и расположенную над ней несущую поверхность 2 с центральным рядом прямоугольных карманов 3. В дне каждого кармана 3 выполнено щелевое отверстие 4, параллельно которому в противоположных стенках этих карманов располагаются каналы управления 5. Левые каналы управления 5 относительно щелевого отверстия 4 объединены магистралью управления 6, а правые – магистралью управления 7. Транспортируемое изделие 8 располагается на несущей поверхности 2 на воздушной подушке.

Устройство работает следующим образом. В пневматической камере 1 создается избыточное давление воздуха, которое заставляет воздух проходить через щелевые отверстия 4 и формировать плоские струи. Эти струи создают воздушную подушку под транспортируемым изделием 8. Для обеспечения направленного движения изделия 8 вдоль несущей поверхности 2 осуществляется наклон струй с помощью подачи управляющего пневматического сигнала в магистрали управления 6 и 7. Величина давления Ру пневматического сигнала управления определяет направление отклонения струй. Например, изделие 8 необходимо транспортировать вправо. Для этого в каждом кармане струя должна быть отклонена вправо, как это показано на фиг.3. Механизм отклонения заключается в следующем. В магистрали управления 6 создается избыточное давление Ру>0, а магистраль управления 7 перекрывается. Плоская струя, формируемая щелевым отверстием 4, за счет своей эжектирующей способности стремится создать вакуум в кармане 3. Но в полости кармана 3 слева от струи вакуум образоваться не сможет, так как сюда подается пневматический сигнал в виде воздушного потока с избыточным давлением Ру>0. В полости кармана 3 справа от струи вакуум образуется достаточно быстро, и струя под действием перепада давления отклонится вправо, «прилипнув» к стенке кармана 3 (фиг.3). Такое положение струй в каждом кармане 3 будет сохраняться до тех пор, пока не изменятся управляющие пневматические сигналы, подаваемые в магистрали управления 6 и 7.

При подаче управляющего пневматического сигнала с избыточным давлением Ру>0 в магистраль управления 7 и перекрытия магистрали управления 6 струя в кармане 3 отклониться влево (фиг.4). При подаче управляющего пневматического сигнала с избыточным давлением Ру>0 одновременно в магистрали управления 6 и 7 будет получено вертикальное положение струи в кармане 3 (фиг.5).

Используя пневматические управляющие сигналы можно обеспечить в предлагаемом устройстве для транспортируемых изделий 8 ускоренное движение, замедление, равномерное движение и реверс.

Формула изобретения

Пневмоконвейер со струйным управлением, содержащий пневматическую камеру и расположенную над ней несущую поверхность, в которой выполнены перпендикулярно продольной ее осевой линии щелевые отверстия, сообщенные с пневматической камерой, отличающийся тем, что несущая поверхность снабжена центральным рядом прямоугольных карманов, в дне каждого из которых выполнено щелевое отверстие, параллельно которому в противоположных стенках прямоугольного кармана выполнены каналы управления.

РИСУНКИ

Categories: BD_2375000-2375999