|
|
(21), (22) Заявка: 2008129310/11, 17.07.2008
(24) Дата начала отсчета срока действия патента:
17.07.2008
(46) Опубликовано: 10.12.2009
(56) Список документов, цитированных в отчете о поиске:
Крылов В.И. и др. Тормозное оборудование железнодорожного подвижного состава. Справочник. – М.: Транспорт, 1989, с.437-452. RU 94026064 A1, 20.10.1996. US 5215168 A, 01.06.1993. US 6148966 A, 21.11.2000. RU 2083399 C1, 10.07.1997.
Адрес для переписки:
107996, Москва, ул. 3-я Мытищинская, 10, ОАО “ВНИИЖТ”, ЦИС
|
(72) Автор(ы):
Глушко Марат Иванович (RU)
(73) Патентообладатель(и):
Открытое акционерное общество “Научно-исследовательский институт железнодорожного транспорта” (RU)
|
(54) СПОСОБ ТОРМОЖЕНИЯ КОЛЕСНОГО ТРАНСПОРТНОГО СРЕДСТВА
(57) Реферат:
Изобретение относится к области машиностроения, в частности к способам торможения колесных транспортных средств. Способ заключается во фрикционном воздействии тормозной колодки на катящееся колесо или вращающуюся поверхность, связанную с колесом транспортного средства. Тормозная сила, реализуемая в зоне сцепления колеса транспортного средства с контактной поверхностью, инициируется силой сцепления при качении тормозной колодки, выполненной в виде колеса, по колесу транспортного средства или по вращающейся поверхности, связанной с колесом транспортного средства, в режиме принудительного проскальзывания, вызываемого различием скоростей в зоне контакта. Достигается повышение эффективности торможения и уменьшение износа тормозной фрикционной пары “колодка-колесо” или “накладка-диск”. 1 ил.
Изобретение относится к фрикционным тормозным устройствам, воздействующим на колесо или поверхность, связанную с колесом транспортного средства, и предназначенным для регулирования скорости движения.
Известны фрикционные тормозные устройства, например, подвижного состава железных дорог, которые реализуют фрикционное взаимодействие путем прижатия тормозной колодки к ободу колеса (см. В.И.Крылов, В.В.Крылов. Автоматические тормоза подвижного состава. М., Транспорт. 1977. С.6).
В известных тормозных устройствах фрикционное взаимодействие между колодкой и ободом колеса или накладкой и специальным диском происходит при скорости вращения колеса, соответствующей скорости движения подвижного состава.
Под действием тормозного момента от фрикционной пары колодка-колесо или накладка-диск инициируется сила сцепления между колесом и рельсом, которая реализуется в режиме качения колесной пары. Для безопасного качения колесной пары требуется выполнять определенное соотношение между тормозной силой и силой сцепления (там же, с.10). Граничные условия безопасного качения колесной пары состоят в том, чтобы сила трения между колодками и колесами не превышала силы сцепления колес с рельсами. При нарушении этого условия колесная пара перестает вращаться, и реализация тангенциальной силы между колесами и рельсами переходит из режима сцепления при качении в режим полного скольжения колес по рельсам (заклинивания), что приводит к повреждению поверхности катания колес (ползунам). Недостатком применяемого способа торможения является реализация тормозной силы за счет трения тормозной колодки и колеса при вращении колеса, соответствующем скорости движения транспортного средства, что понижает тормозную эффективность вследствие реализации пониженного коэффициента трения и приводит к интенсивному изнашиванию поверхностей трения вследствие значительного разогрева.
Целью предлагаемого изобретения является устранение интенсивного изнашивания поверхностей трения колодки и колеса при реализации тормозной силы транспортного средства.
Поставленная цель достигается тем, что для торможения колесного транспортного средства путем воздействия тормозной колодки на колесо или вращающуюся поверхность, связанную с колесом, тормозная сила инициируется силой сцепления при качении тормозной колодки в виде колеса по колесу транспортного средства или по вращающейся поверхности (например, диска), связанной с колесом, за счет принудительного проскальзывания, вызываемого различием скоростей в зоне контакта.
Известно, что качение заторможенной колесной пары в режиме сцепления под действием тангенциальной нагрузки сопровождается относительным проскальзыванием поверхностей трения в зоне контакта колеса с рельсом (см. например, Глушко М.И. Реализация тангенциальных сил в зоне контакта колеса с рельсом. Тр. ВНИИЖТ. 1983. Вып. 664. C.31-41). Таким образом, тормозная сила в месте контакта колеса с рельсом реализуется в режиме качения колеса. При этом средняя скорость скольжения в зоне контакта колеса с рельсом, которая определяет темп изнашиваемости, при безопасном качении может составлять около 2% от скорости движения.
Для снижения темпа изнашиваемости тормозной колодки и колеса предлагается реализовать тормозную силу колодки в режиме сцепления аналогично сцеплению колеса транспортного средства с дорожной колеей. Для этого достаточно выполнить тормозную колодку в виде колеса и обеспечить передачу ему качения по колесу транспортного средства или поверхности, связанной с колесом транспортного средства, с проскальзыванием, относительная величина которого соответствует относительной величине проскальзывания колеса при качении, например, по рельсу в режиме торможения. Проскальзывание тормозной колодки в виде колеса относительно колеса транспортного средства или вращающейся поверхности, связанной с колесом транспортного средства (например, диска), создает тормозную силу, которая реализуется в процессе сцепления колесной пары с рельсом (дорожной колеей). Проскальзывание задается расположением тормозной колодки в виде колеса так, что оно взаимодействует с фрикционной опорной поверхностью при различной скорости вращения, распределенной по ширине обода колеса.
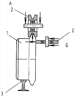
В качестве примера реализации предлагаемого способа торможения колесного транспортного средства на чертеже приводится схема фрикционного взаимодействия колеса 1 транспортного средства и тормозной колодки 2, выполненной в виде колеса. Вариант А с параллельным расположением оси колодки относительно оси колесной пары предусматривает взаимодействие коническими контурными поверхностями. Вследствие различного расположения контактных поверхностей относительно центров вращения колеса и колодки происходит проскальзывание в зоне контакта, вызываемое различием скоростей в зоне контакта, при котором возникает тормозная сила между колодкой и колесом, а также сила сцепления между колесом и рельсом 3. При этом передача сил фрикционного взаимодействия происходит в режиме качения тормозной колодки по колесу транспортного средства и колеса транспортного средства, например, по головке рельса.
Вариант Б с параллельным расположением диска колодки относительно оси колесной пары транспортного средства предусматривает реализацию проскальзывания за счет различия скорости вращения по радиальному направлению колеса и окружной скорости по линии контактирования обода колодки в виде колеса. Вариант Б соответствует схеме взаимодействия фрикционной пары “диск-накладка” дискового тормоза.
Таким образом, предлагаемый способ торможения колесного транспортного средства позволяет реализовать тормозную силу в процессе сцепления при качении колеса, например, по рельсу, а тормозную силу создавать как силу сцепления за счет принудительного проскальзывания, вызываемого различием скоростей в зоне контакта при качении тормозной колодки в форме колеса по колесу транспортного средства.
Так как устойчивая реализация сцепления может происходить при величине действительного относительного проскальзывания до 2%, то трение в зоне контакта тормозной колодки в форме колеса с колесом транспортного средства или вращающейся поверхностью, связанной с колесом транспортного средства, будет происходить в пределах скорости, составляющей около 2% от скорости движения или скорости трения в контактной зоне обычной тормозной колодки.
Формула изобретения
Способ торможения колесного транспортного средства путем фрикционного воздействия тормозной колодки на катящееся колесо или вращающуюся поверхность, связанную с колесом транспортного средства, отличающийся тем, что тормозная сила, реализуемая в зоне сцепления колеса транспортного средства с контактной поверхностью, инициируется силой сцепления при качении тормозной колодки, выполненной в виде колеса, по колесу транспортного средства или по вращающейся поверхности, связанной с колесом транспортного средства, в режиме принудительного проскальзывания, вызываемого различием скоростей в зоне контакта.
РИСУНКИ
|
|