|
|
(21), (22) Заявка: 2008131367/11, 29.07.2008
(24) Дата начала отсчета срока действия патента:
29.07.2008
(46) Опубликовано: 10.12.2009
(56) Список документов, цитированных в отчете о поиске:
RU 2207250 С2, 27.06.2003. SU 1685755 A1, 23.10.1991. SU 1775319 A1, 15.11.1992. DE 2406206 A1, 14.08.1975.
Адрес для переписки:
644046, г.Омск, пр-кт Маркса, 35, ГОУ ВПО Омский государственный университет путей сообщения
|
(72) Автор(ы):
Шилер Валерий Викторович (RU), Шилер Александр Валерьевич (RU), Белоглазова Елена Анатольевна (RU), Горохов Арсений Анатольевич (RU), Моисеенок Евгений Михайлович (RU), Плосков Антон Валерьевич (RU), Саркенов Советхан Сатжанович (RU)
(73) Патентообладатель(и):
Государственное образовательное учреждение высшего профессионального образования Омский государственный университет путей сообщения (RU)
|
(54) КОЛЕСО РЕЛЬСОВОГО ТРАНСПОРТНОГО СРЕДСТВА
(57) Реферат:
Изобретение относится к рельсовому транспорту, в том числе может применяться для железнодорожного подвижного состава, мостовых подъемных кранов и монорельсовых дорог. Колесо содержит упорный диск и ступицу, которая установлена на оси посредством подшипников, подрессоренный бандаж, закрепленный на ступице упругой прослойкой, при этом пространство между посадочными поверхностями подрессоренного бандажа и ступицы выполнено профилированным. В конструкцию подрессоренного бандажа колеса колесной пары введено кинематическое устройство тягового привода, зубчатое колесо которого жестко установлено на ступице подрессоренного бандажа, а вал шестерни редуктора посредством компенсирующего устройства связан с валом тягового двигателя, который подвешен на тележке. Технический результат – повышение безопасности движения и комфортности внутри экипажа. 1 ил.
Изобретение относится к рельсовому транспорту, в том числе может применяться для железнодорожного подвижного состава, мостовых подъемных кранов и монорельсовых дорог.
Известны колеса колесных пар рельсовых транспортных средств, содержащие упругие элементы, гасящие вибрации, вызываемые перемещением по рельсовой колее, например “Упругое колесо рельсового транспортного средства” по авторскому свидетельству СССР 1775319, МКИ 7 В60В 9/12; “Колесо рельсового транспортного средства” по авторскому свидетельству СССР 1685755, МКИ 7 В60В 9/12. За прототип на основании наибольшего совпадения принято “Колесо рельсового транспортного средства” по авторскому свидетельству РФ 2207250, МКИ 7 В60В 9/12, конструкция которого имеет бандаж, ступицу, упорный диск, упругий элемент и подшипники.
Недостатком этих решений является отсутствие тягового привода в подрессоренном бандаже колеса колесной пары, необходимого для приведения в движение рельсового экипажа.
Цель предлагаемого изобретения состоит в повышении безопасности движения и комфортности внутри экипажа в процессе реализации сил тяги.
Указанная цель достигается за счет оснащения индивидуальным тяговым приводом подрессоренного бандажа колеса колесной пары.
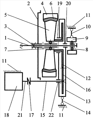
На чертеже (вид сверху) представлена кинематическая схема предлагаемого изобретения. Колесо с подрессоренным бандажом (в дальнейшем по тексту бандаж) колесной пары рельсового транспортного средства имеет несколько сочлененных между собой деталей. На ось колесной пары 1 жестко установлен упорный диск 2. Жесткая установка обеспечена посадкой с “натягом” и кольцевым уступом 3 на оси, играющим роль упора. Бандаж 4 выполнен тонкостенным из упругого материала, преимущественно стали. Бандаж 4 закреплен на ступице 5 посредством прослойки 6 из упругого эластичного материала, например резины. Постоянство положения бандажа 4 относительно ступицы 5 поддерживается профилированными посадочными поверхностями между ними. Ступица 5 закреплена на подшипнике 7, установленном на оси 1 колесной пары, концы которой опираются на буксовые подшипники 8. Букса 9 посредством поводка 10 шарнирно соединена с рамой тележки 11. На ступице 5 жестко установлено зубчатое колесо 12 тягового редуктора 13. Корпус тягового редуктора 13 удерживается в рабочем положении шарнирными опорами: одна из них 19 – на ступице зубчатого колеса 12, вторая опора 20 – на оси колесной пары 1, а третьей точкой подвески корпуса тягового редуктора 13 является шарнирная опора 14, закрепленная на тележке 11. Зубчатая шестерня 16 установлена на валу 15, который вращается в подшипнике 22. Вал 15 посредством поперечного компенсирующего устройства 17 связан с валом 21 тягового двигателя 18, который закреплен на тележке 11.
Бандаж 4, оснащенный тяговым приводом, работает следующим образом. Тонкостенный бандаж 4 за счет деформации прослойки 6 упруго преодолевает стыки и неровности рельсовой колеи. Постоянство положения бандажа 4 относительно ступицы 5 поддерживается профилированными посадочными поверхностями между ними. Снижение ударных воздействий благотворно сказывается на долговечности пути и экипажа, кроме того, уменьшается уровень шума при движении. Сферические поверхности сопряжения бандажа и ступицы обеспечивают их взаимную самоустановку в статике и динамике. Жесткая установка упорного диска 2 на оси 1 колесной пары совместно с упорным диском второго колеса, выполненным симметрично относительно продольной оси колесной пары, ограничивают смещения колеса и колесной пары относительно рельсов рельсовой колеи, с которыми они контактируют боковыми поверхностями. Бандаж 4 со ступицей 5 совершают независимое вращение относительно упорного диска 2 благодаря подшипнику 7, что уменьшает сопротивление качению, особенно на кривых участках пути. Цилиндрическая поверхность катания бандажа 4 создает меньшие осевые усилия, чем типовые конические.
В режиме тяги момент сил от тягового двигателя 18 передается через вал 21, компенсатор 17, вал 15, шестерню 16, зубчатое колесо 12, ступицу 5, прослойку 6 и бандаж 4, который опирается в точке контакта на поверхность катания рельса, где формируется тяговое усилие в продольном направлении движения. Это тяговое усилие через посредство оси колесной пары 1, подшипник 8, буксу 9, поводок 10 приводит в движение тележку 11.
При прохождении колесом неровностей поверхности катания рельса возникают относительные перемещения между валом шестерни 15 и валом 21 тягового двигателя 18. Эти относительные перемещения компенсирует компенсирующее устройство 17.
Требуемый технический результат достигается тем, что в конструкцию каждого подрессоренного бандажа колесной пары вводится индивидуальный тяговый привод. В результате, в режиме тяги бандажи колес имеют независимое вращение, что устраняет дополнительное проскальзывание между контактирующими поверхностями катания рельсовых нитей с бандажами и упорными дисками колес в колесной паре при прохождении кривых участков пути. Устранение дополнительного проскальзывания в точке контакта подрессоренного бандажа и рельсовой нити увеличивает использование сцепного веса экипажа в режиме тяги и рекуперативного торможения, что приводит к снижению вероятности возникновения боксования или юза. Кроме этого наличие индивидуальных тяговых приводов дает возможность регулировать силу тяги каждого бандажа в зависимости как от его износа, так и поверхности катания рельса. За счет возможности формирования между двумя подрессоренными бандажами колесной пары разности величин моментов сил появляется возможность регулировать направление движения колесной пары и тележки при прохождении кривых участков пути и стрелочных переводов, что уменьшает дополнительное проскальзывание в режиме тяги и рекуперативного торможения при движении в кривых участках пути.
Повышение комфортности, безопасности движения внутри экипажа и увеличение ресурса подрессоренных бандажей колес колесной пары достигается за счет раздельного регулирования тяговых моментов, формируемых индивидуальными приводами подрессоренных бандажей в колесной паре, а также уменьшением динамических нагрузок и боксования подрессоренных бандажей в режиме тяги, вызывающих акустические возмущения не только ударного характера вверх-вниз и вправо-влево, но и “скрежета”,
Формула изобретения
Колесо колесной пары рельсового транспортного средства, содержащее упорный диск и ступицу, которая установлена на оси посредством подшипников, подрессоренный бандаж, закрепленный на ступице упругой прослойкой, при этом пространство между посадочными поверхностями подрессоренного бандажа и ступицы выполнено профилированным, отличающееся тем, что в конструкцию подрессоренного бандажа колеса колесной пары введено кинематическое устройство тягового привода, зубчатое колесо которого жестко установлено на ступице подрессоренного бандажа, а вал шестерни редуктора посредством компенсирующего устройства связан с валом тягового двигателя, который подвешен на тележке.
РИСУНКИ
|
|