|
|
(21), (22) Заявка: 2008131366/11, 29.07.2008
(24) Дата начала отсчета срока действия патента:
29.07.2008
(46) Опубликовано: 10.12.2009
(56) Список документов, цитированных в отчете о поиске:
RU 2207250 С2, 27.06.2003. SU 1685755 A1, 23.10.1991. SU 1775319 A1, 15.11.1992. DE 2406206 A1, 14.08.1975.
Адрес для переписки:
644046, г.Омск, пр-кт Маркса, 35, ГОУ ВПО Омский государственный университет путей сообщения
|
(72) Автор(ы):
Галиев Ильхам Исламович (RU), Шилер Валерий Викторович (RU), Васякин Михаил Васильевич (RU), Климович Максим Андреевич (RU), Швецов Семен Васильевич (RU), Шилер Александр Валерьевич (RU)
(73) Патентообладатель(и):
Государственное образовательное учреждение высшего профессионального образования Омский государственный университет путей сообщения (RU)
|
(54) КОЛЕСО РЕЛЬСОВОГО ТРАНСПОРТНОГО СРЕДСТВА
(57) Реферат:
Изобретение относится к рельсовому транспорту, в том числе может применяться для железнодорожного подвижного состава, мостовых подъемных кранов и монорельсовых дорог. Предложено устройство для повышения ресурса колес тягового транспортного средства, безопасности движения и комфортности в процессе реализации сил тяги и торможения. Колесо колесной пары, оборудованное независимо вращающимся подрессоренным бандажом, дополнено индивидуальным силовым приводом, состоящим из тягового привода и дискового тормоза. Технический результат – повышение комфортности и безопасности движения экипажа. 1 ил.
Изобретение относится к рельсовому транспорту, в том числе может применяться для железнодорожного подвижного состава, мостовых подъемных кранов и монорельсовых дорог.
Известны колеса рельсовых транспортных средств, содержащие упругие элементы, гасящие вибрации, вызываемые перемещением по рельсовой колее, например “Упругое колесо рельсового транспортного средства” по авторскому свидетельству СССР 1775319, МКИ 7 В60В 9/12; “Колесо рельсового транспортного средства” по авторскому свидетельству СССР 1685755, МКИ 7 В60В 9/12. За прототип на основании наибольшего совпадения принято “Колесо рельсового транспортного средства” по авторскому свидетельству РФ 2207250, МКИ 7 В60В 9/12, конструкция которого имеет подрессоренный бандаж, ступицу, упорный диск, упругий элемент и подшипники.
Недостатком этих решений является отсутствие силового привода у подрессоренного и независимо вращающегося бандажа колеса колесной пары рельсового экипажа.
Цель предлагаемого изобретения состоит в повышении комфортности и безопасности движения экипажей, оснащенных подрессоренными и независимо вращающимися бандажами колес колесной пары в режиме тяги и торможения.
Суть изобретения состоит в том, что подрессоренный и независимо вращающийся бандаж колеса колесной пары оборудован индивидуальным силовым приводом, состоящим из тягового привода и дискового тормоза.
Технический результат – увеличение ресурса колес тягового транспортного средства, повышение безопасности движения и комфортности в режиме тяги и торможения.
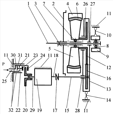
На чертеже (вид сверху) представлена кинематическая схема предлагаемого изобретения. Колесо колесной пары рельсового транспортного средства имеет несколько сочлененных между собой деталей. На ось колесной пары 1 жестко установлен упорный диск 2. Жесткая установка обеспечена посадкой с “натягом” и кольцевым уступом 3 на оси, играющим роль упора. Подрессоренный бандаж 4 выполнен тонкостенным из упругого материала, преимущественно стали. Бандаж 4 закреплен на ступице 5 посредством прослойки 6 из упругого эластичного материала, например резины. Постоянство положения бандажа 4 относительно ступицы 5 поддерживается профилированными посадочными поверхностями между ними. Ступица 5 закреплена на подшипнике 7, установленном на оси 1 колесной пары, концы которой опираются на буксовые подшипники 8. Букса 9 посредством поводка 10 соединена с рамой тележки 11.
Тяговый привод состоит из зубчатого колеса 12, жестко установленного на ступице 5. Корпус редуктора 13 удерживается в рабочем положении шарнирными опорами 26 и 27, а также шарнирной подвеской редуктора 14, закрепленной на тележке 11. Зубчатая шестерня 16 установлена на валу 15, который вращается в подшипнике 28, установленном в корпусе редуктора 13. Вал 15 связан с валом 18 тягового двигателя 19 посредством компенсирующего устройства 17. Тяговый двигатель жестко закреплен на тележке 11.
Силовой привод дискового тормоза состоит из тормозного диска 20, который жестко закреплен на втором конце вала 29 тягового двигателя 19. Суппорт 21 тормозного привода выполнен в виде скобы и установлен в телескопическом шарнире 32, жестко закрепленном на раме 11. В корпусе суппорта 21 с одной стороны установлен тормозной цилиндр 30 с поршнем 31, на штоке 22 которого закреплена тормозная накладка 23. Вторая накладка 24 установлена на противоположной стороне суппорта 21. Корпус цилиндра 30 имеет входной канал 25, через который подается рабочее давление Р.
Колесо работает следующим образом. Тонкостенный бандаж 4 закреплен на ступице посредством прослойки из упругого эластичного материала, например резины, и упруго преодолевает стыки и неровности рельсовой колеи. Снижение ударных воздействий благотворно сказывается на долговечности пути и экипажа, кроме того, уменьшается уровень шума при движении. Упругие деформации бандажа компенсируются эластичной прослойкой 6. Сферические поверхности сопряжения бандажа и ступицы обеспечивают их взаимную самоустановку в статике и динамике. Жесткая установка упорного диска 2 на оси 1 колесной пары совместно с упорным диском второго колеса колесной пары, выполненным симметрично относительно продольной оси колесной пары, ограничивают смещение колесной пары относительно рельсов, с которыми они контактируют боковыми поверхностями. Бандаж 4 со ступицей 5 имеют возможность независимого вращения от упорного диска 2 благодаря подшипнику 7, что уменьшает сопротивление качению, особенно на кривых участках пути. Поверхность катания бандажа 4 имеет цилиндрическую форму. Такая поверхность создает меньшие осевые усилия, чем типовые конические.
В режиме тяги тяговый момент от двигателя 19 передается через вал двигателя 18, и далее на компенсатор 17, вал шестерни 15, шестерню 16, зубчатое колесо 12, ступицу 5, прослойку 6 и бандаж 4, который опирается на рельс. В результате в точке контакта бандажа и рельса формируется тяговое усилие, которое приводит в поступательное движение подрессоренный бандаж и соответственно всю конструкцию колеса. В свою очередь, тяговое усилие колеса передается на ось колесной пары 1, подшипник 8, буксу 9, поводок 10, на тележку 11 и в результате приводит в продольное движение экипаж.
При торможении с использованием тягового двигателя тормозное усилие передается по перечисленной выше цепочке элементов конструкции тягового привода подрессоренного бандажа, что и тяговый момент, только в обратном направлении.
При прохождении подрессоренным бандажом неровностей на поверхности катания рельса возникают относительные перемещения между осью колесной пары 1 и тележкой 11 и, следовательно, между валом шестерни 15 и валом тягового двигателя 18. Эти относительные перемещения компенсирует компенсирующее устройство 17.
При торможении с использованием дискового тормоза элементы системы индивидуального привода подрессоренного бандажа действуют в следующей последовательности. Через входное отверстие 25 в тормозной цилиндр 30 под давлением Р подается рабочее тело в виде сжатого воздуха или жидкости. Под действием давления происходят относительные перемещения поршня 31 и цилиндра 30 совместно с суппортом 21 за счет возможного его осевого движения в телескопическом шарнире 32. В результате сила давления на поршень и дно цилиндра 30 через шток 22 и суппорт 21 производит одинаковое и одновременное силовое нажатие накладок 23 и 24 на тормозной диск 20. Вследствие перечисленных процессов формируется на тормозном диске 20 тормозной момент сил. Силовой момент торможения передается с тормозного диска 20 на конец вала 29 двигателя 19 и далее через вал 18, на компенсатор 17, вал шестерни 15, шестерню 16, зубчатое колесо 12, ступицу 5, прослойку 6, бандаж 4. В результате в точке контакта бандажа и рельса формируется тормозное усилие, с помощью которого можно реализовать полное прекращение вращательного движения колесной пары и соответственно поступательного движения экипажа. Тогда как при торможении тяговым двигателем эффективное торможение возможно только до определенного значения скорости движения экипажа, но не до полной остановки.
Увеличение ресурса подрессоренных бандажей колес тягового транспортного средства, безопасности движения и комфортности обеспечивается введением в конструкцию колеса индивидуального привода подрессоренного бандажа, состоящего из тягового привода и дискового тормоза. В результате обеспечивается независимое вращение подрессоренных бандажей колесной пары в режиме тяги и торможения, что устраняет дополнительное проскальзывание между контактирующими поверхностями катания системы «гибкий бандаж – рельс». Устранение дополнительного проскальзывания в точке контакта подрессоренного бандажа и рельсовой нити увеличивает использование коэффициента сцепления в режиме тяги и торможения, что приводит к снижению вероятности возникновения боксования или юза. Кроме этого, индивидуальный силовой привод подрессоренного бандажа, состоящий из тягового привода и дискового тормоза, дает возможность регулирования силы тяги и торможения на каждом подрессоренном бандаже в колесной паре в зависимости от состояния поверхностей катания подрессоренного бандажа и рельсовой нити, что дополнительно уменьшает вероятность возникновения буксования или юза в режиме тяги и торможения. При формировании разности между тяговыми или тормозными усилиями подрессоренных бандажей колесной пары появляется возможность регулировать направление движения колесной пары при прохождении кривых участков пути и стрелочных переводов.
Безопасность и комфортность внутри экипажа в процессе движения достигается за счет регулирования тяговых и тормозных усилий подрессоренных бандажей колес колесной пары. Это дает возможность уменьшить дополнительные неравномерные и нерегулируемые нагрузки, возникающие между подрессоренным бандажом, рельсом и упорным диском из-за различия их скоростей вращения.
Комфортность внутри экипажа и вне него достигается уменьшением сил от дополнительного проскальзывания, вызывающих акустические возмущения не только ударного характера вверх-вниз и вправо-влево, но и “скрежета” между упорным диском и рельсом из-за различия их скоростей вращения.
Формула изобретения
Колесо рельсового транспортного средства, содержащее упорный диск и ступицу, которая установлена на оси посредством подшипников, подрессоренный бандаж, закрепленный на ступице упругой прослойкой, при этом пространство между посадочными поверхностями подрессоренного бандажа и ступицы выполнено профилированным, отличающееся тем, что каждый подрессоренный бандаж колесной пары оборудован индивидуальным силовым приводом, который состоит из тягового привода и устройства торможения, и формирует на поверхности катания подрессоренного бандажа силы тяги и торможения.
РИСУНКИ
|
|