|
|
(21), (22) Заявка: 2008131364/11, 29.07.2008
(24) Дата начала отсчета срока действия патента:
29.07.2008
(46) Опубликовано: 10.12.2009
(56) Список документов, цитированных в отчете о поиске:
RU 2207250 С2, 27.06.2003. SU 1685755 A1, 23.10.1991. SU 1775319 A1, 15.11.1992. DE 2406206 A1, 14.08.1975.
Адрес для переписки:
644046, г.Омск, пр-кт Маркса, 35, ГОУ ВПО Омский государственный университет путей сообщения
|
(72) Автор(ы):
Шилер Валерий Викторович (RU), Белоглазова Наталья Анатольевна (RU), Горбунов Петр Иванович (RU), Горохов Арсений Анатольевич (RU), Гуреев Александр Николаевич (RU), Нехаев Виктор Алексеевич (RU), Шилер Александр Валерьевич (RU)
(73) Патентообладатель(и):
Государственное образовательное учреждение высшего профессионального образования Омский государственный университет путей сообщения (RU)
|
(54) КОЛЕСО РЕЛЬСОВОГО ТРАНСПОРТНОГО СРЕДСТВА
(57) Реферат:
Изобретение относится к рельсовому транспорту, в том числе может применяться для железнодорожного подвижного состава до мостовых подъемных кранов и монорельсовых дорог. Колесо содержит упорный диск и ступицу, которая установлена на оси посредством подшипников, бандаж, закрепленный на ступице упругой прослойкой, при этом пространство между посадочными поверхностями бандажа и ступицы выполнено профилированным. Колесо дополнено двумя одинаковыми боковыми амортизаторами подрессоренного бандажа, действующими в горизонтально-поперечном направлении. Один из них установлен по периметру между торцовыми поверхностями подрессоренного бандажа и бурта ступицы, второй амортизатор установлен на торцовой поверхности упорного диска и оснащен упорным кольцом, которое посредством дистанционного кольца установлено с зазором к соответствующей торцовой поверхности подрессоренного бандажа. Технический результат – повышение безопасности движения и комфортности рельсового экипажа. 1 ил.
Изобретение относится к рельсовому транспорту, в том числе может применяться для железнодорожного подвижного состава, мостовых подъемных кранов и монорельсовых дорог.
Известны колеса рельсовых транспортных средств, содержащие упругие элементы, гасящие вибрации, вызываемые перемещением по рельсовой колее, например “Упругое колесо рельсового транспортного средства” по авторскому свидетельству СССР 1775319, МКИ 7 В60В 9/12; “Колесо рельсового транспортного средства” по авторскому свидетельству СССР 1685755, МКИ 7 В60В 9/12. За прототип на основании наибольшего совпадения принято “Колесо рельсового транспортного средства” по авторскому свидетельству РФ 2207250, МКИ 7 В60В 9/12, конструкция которого имеет подрессоренный бандаж, ступицу, упорный диск, упругий элемент, ось колесной пары и подшипники.
Недостатком этих решений являются значительные горизонтально-поперечные перемещения подрессоренного бандажа относительно ступицы, которые возникают при наличии горизонтальных отступлений рельсовых нитей.
Цель предлагаемого изобретения состоит в повышении комфортности и безопасности движения внутри экипажа в горизонтально-поперечном направлении.
Суть изобретения заключается в увеличении жесткости подрессоривания бандажа в горизонтально-поперечном направлении. Это достигается тем, что по обоим торцам подрессоренного бандажа (в дальнейшем по тексту просто бандаж) установлены одинаковые по жесткости боковые упругие амортизаторы, которые ограничивают амплитуду его горизонтально-поперечных перемещений относительно ступицы.
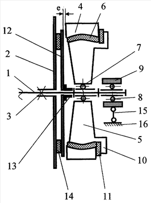
На чертеже представлена кинематическая схема предлагаемого изобретения.
Колесо рельсового транспортного средства имеет несколько сочлененных между собой деталей. На ось колесной пары 1 жестко установлен упорный диск 2. Жесткая установка обеспечена посадкой с “натягом” и кольцевым уступом 3 на оси, играющим роль упора. Бандаж 4 выполнен тонкостенным из упругого материала, преимущественно стали. Бандаж 4 закреплен на ступице 5 посредством прослойки 6 из упругого эластичного материала, например резины. Постоянство положения бандажа 4 относительно ступицы 5 поддерживается профилированными посадочными поверхностями между ними. Ступица 5 установлена на подшипниках 7, установленных на оси 1 колесной пары, концы которой опираются на буксовые подшипники 8. Положение оси 1 задается буксой 9, которая соединена шарнирным поводком 15 с тележкой экипажа 16.
Ступица 5 выполнена с буртом 10. По всему периметру между буртом 10 и бандажом 4 установлен амортизатор 11, который изготовлен из упругого материала, например резины. На упорном диске 2 со стороны бандажа 4 закреплен второй амортизатор 14, на котором установлено упорное кольцо 12. При отсутствии горизонтально-поперечной нагрузки дистанционное кольцо 13 обеспечивает в требуемых пределах величину зазора е между упорным кольцом 12 и соответствующей торцовой поверхностью бандажа 4.
Колесо работает следующим образом. Тонкостенный бандаж 4 закреплен на ступице посредством прослойки из упругого эластичного материала, например резины, и упруго преодолевает стыки и неровности рельсовой колеи. Снижение ударных воздействий благотворно сказывается на долговечности пути и экипажа, кроме того, уменьшается уровень шума при движении. Упругие деформации бандажа компенсируются эластичной прослойкой 6. Сферические поверхности сопряжения бандажа и ступицы обеспечивают их взаимную самоустановку в статике и динамике. Жесткая установка упорного диска 2 на оси 1 колесной пары совместно со вторым упорным диском колесной пары, установленным симметрично относительно продольной оси симметрии колесной пары, ограничивает смещение колес колесной пары относительно рельсов. Упорный диск 2 контактирует с головкой рельса боковой поверхностью. В процессе движения тележки 16 положение оси колесной пары 1 относительно тележки 16 задается шарнирным поводком 15, буксой 9 с подшипником 8.
Бандаж 4 со ступицей 5 имеют возможность независимого вращения относительно упорного диска 2 благодаря подшипнику 7, что уменьшает сопротивление качению, особенно на кривых участках пути. Поверхность катания бандажа 4 имеет цилиндрическую форму. Такая поверхность создает меньшие осевые усилия, чем типовые конические.
При воздействии на бандаж 4 горизонтально-поперечных сил, направленных в сторону бурта 10, торцовая поверхность бандажа смещается за счет деформации сдвига прослойки 6 и сжимает амортизатор 11, который формирует дополнительную силу реакции, удерживающую бандаж 4 в заданном положении. При воздействии на бандаж 4 горизонтальных сил в направлении упорного диска 2 за счет деформации сдвига прослойки 6 бандаж 4 преодолевает зазор е и входит в соприкосновение с упорным кольцом 12, перемещение которого приводит к деформации сжатия амортизатора 14, закрепленного на упорном диске 2. В результате, как и в первом случае, но в другом направлении, появляется дополнительная реакция, которая удерживает бандаж 4 в заданном положении. При этом бандаж 4 и упорный диск 2 при вращении имеют возможность проскальзывания относительно друг друга, которое сопровождается трением между соответствующими торцовыми поверхностями упорного кольца 12 и бандажа 4. Величина этого трения значительно меньше сил, которые возникают при наличии жесткой связи между упорным диском 2 и бандажом 4. При отсутствии горизонтально-поперечных сил бандаж 4 свободно вращается относительно упорного кольца 12 за счет наличия открытого зазора е между соответствующими торцовыми поверхностями бандажа 4 и упорного кольца 12.
Технический результат – повышение безопасности и устойчивости движения подрессоренного бандажа в горизонтально-поперечном направлении, а также комфортности внутри экипажа.
Безопасность движения повышается за счет введения в конструкцию колеса боковых амортизаторов для бандажа, что обеспечивает устойчивое его движение по рельсу, снижение горизонтально-поперечных сил, которые при определенном их значении способствуют наползанию упорного диска на поверхность катания рельса и сходу колеса колесной пары с рельса. Комфортность в процессе движения внутри экипажа достигается уменьшением его горизонтальных колебаний за счет уменьшения амплитуды горизонтально-поперечных перемещений подрессоренного бандажа относительно ступицы колеса.
Формула изобретения
Колесо рельсового транспортного средства, содержащее упорный диск и ступицу, которая установлена на оси посредством подшипников, бандаж, закрепленный на ступице упругой прослойкой, при этом пространство между посадочными поверхностями бандажа и ступицы выполнено профилированным, отличающееся тем, что оно дополнено двумя одинаковыми боковыми амортизаторами подрессоренного бандажа, действующими в горизонтально-поперечном направлении, один из них установлен по периметру между торцовыми поверхностями подрессоренного бандажа и бурта ступицы, второй амортизатор установлен на торцовой поверхности упорного диска и оснащен упорным кольцом, которое посредством дистанционного кольца установлено с зазором к соответствующей торцовой поверхности подрессоренного бандажа.
РИСУНКИ
|
|